|
|
(21), (22) Заявка: 2005119166/09, 18.11.2003
(24) Дата начала отсчета срока действия патента:
18.11.2003
(30) Конвенционный приоритет:
19.11.2002 ES P200202792
(43) Дата публикации заявки: 20.01.2006
(46) Опубликовано: 27.05.2008
(56) Список документов, цитированных в отчете о поиске:
ЕР 1093142 А1, 18.04.2001. SU 764002 A1, 15.09.1980. ЕР 1093143 A1, 18.04.2001. US 2002140533 A1, 03.10.2002.
(85) Дата перевода заявки PCT на национальную фазу:
20.06.2005
(86) Заявка PCT:
ES 03/00583 (18.11.2003)
(87) Публикация PCT:
WO 2004/046019 (03.06.2004)
Адрес для переписки:
129010, Москва, ул. Б. Спасская, 25, стр.3, ООО “Юридическая фирма Городисский и Партнеры”, пат.пов. Ю.Д.Кузнецову, рег.№ 595
|
(72) Автор(ы):
МОНТАНЬЯ СИЛЬВЕСТРЕ Хосеп (ES)
(73) Патентообладатель(и):
БАОЛАБ МИКРОСИСТЕМС С.Л. (ES)
|
(54) МИНИАТЮРНОЕ РЕЛЕ И СООТВЕТСТВУЮЩИЕ ВАРИАНТЫ ЕГО ИСПОЛЬЗОВАНИЯ
(57) Реферат:
Устройство относится к области электротехники и может быть использовано при изготовлении миниатюрных реле. Техническим результатом является увеличение срока службы и повышение надежности работы при уменьшении габаритов миниатюрного реле. Реле содержит первую зону, обращенную ко второй зоне, первую конденсаторную пластину (3), вторую конденсаторную пластину (9), расположенную во второй зоне и имеющую размер, который меньше размера первой пластины или равен ему, промежуточное пространство (25) между двумя зонами, проводящий элемент (7), расположенный в промежуточном пространстве (25), механически независимый от примыкающих стенок и способный независимо перемещаться в промежуточном пространстве (25) как вдоль, так и поперек, в зависимости от напряжений, прилагаемых между двумя пластинами, и точки (15, 17) контакта электрической цепи, в которых проводящий элемент (7) замыкает электрическую цепь посредством вхождения в контакт с точками (15, 17) контакта. Такие реле могут использоваться, например, в качестве акселерометров, акселерометров в пневмоподушках безопасности и в наклонометрах. 5 н. и 21 з.п. ф-лы, 18 ил.
Область техники
Настоящее изобретение относится к миниатюрному реле. Изобретение также относится к различным вариантам использования миниатюрных реле, согласно изобретению.
Предшествующий уровень техники
В настоящее время существуют различные альтернативные варианты изготовления миниатюрных реле, в частности, в контексте технологий, известных как технология MEMS (микроэлектромеханические системы), микросистемы и/или микромашины. В принципе, их можно классифицировать по типу силы или приводного механизма, которые в них используют для перемещения контактного электрода. Таким образом, существуют электростатические, магнитные, тепловые и пьезоэлектрические реле. Каждое из них имеет преимущества и недостатки. Однако технические приемы миниатюризации требуют использования напряжений активации и поверхностей, которые имеют как можно меньшие величины. Реле, известные в данной области техники, связаны с несколькими проблемами, препятствующими их усовершенствованию в этом отношении.
Способ уменьшения напряжения активации (возбуждения) состоит именно в увеличении площадей поверхности реле, что затрудняет миниатюризацию, кроме того, что это ведет к возникновению деформаций, уменьшающих полезный срок службы и надежность реле. В электростатических реле другим решением для уменьшения напряжения активации (возбуждения) является значительное уменьшение пространства между электродами или использование очень тонких электродов или специальных материалов, в результате чего механическая сила восстановления исходного положения очень мала. Однако это предполагает проблемы залипания, поскольку капиллярные силы очень велики, что, таким образом, также уменьшает полезный срок службы и надежность этих реле. Использование высоких напряжений активации также дает негативные эффекты, такие как ионизация компонентов, ускоренный износ вследствие сильного механического притягивания и электрического шума, который генерирует реле.
Электростатические реле также имеют существенный недостаток, касающийся надежности, вследствие явления, известного как “втягивание”, и состоящий в том, что когда достигнут заданный порог, контактный электрод движется с увеличивающимся ускорением относительно другого свободного электрода. Это происходит вследствие того, что когда реле замыкается, конденсатор, который обеспечивает электростатическую силу для замыкания, сильно увеличивает емкость (которая могла бы возрастать до бесконечности, если бы не было заблаговременно задано прекращение). Вследствие этого происходит значительный износ электродов из-за генерируемого сильного электрического поля и ударного воздействия, вызванного ускорением, которое сообщается движущемуся электроду.
Реле с использованием теплового, магнитного и пьезоэлектрического принципов требуют специальных материалов и процессов микрообработки, таким образом интеграция в более сложные микроэлектромеханические устройства или интеграция с электронными схемами затруднена и/или дорога. Кроме того, реле с использованием теплового принципа является медленнодействующим (то есть схема имеет продолжительное время размыкания и замыкания) и потребляет большое количество энергии. Реле с использованием магнитного принципа вызывает генерирование электромагнитного шума, который значительно затрудняет наличие близких электронных схем и требует больших максимальных токов для переключения.
В данном описании под термином “реле” следует понимать любое устройство, пригодное для размыкания и замыкания, по меньшей мере, одной электрической цепи, в котором действия по размыканию и замыканию, по меньшей мере, одной электрической цепи осуществляются при помощи электромагнитного сигнала.
В настоящем описании и формуле изобретения выражение “точка контакта” использовано для обозначения контактных поверхностей, на которых создается электрический контакт (или может создаваться). В этом отношении их не следует понимать как точки в геометрическом смысле, поскольку они являются трехмерными элементами, но в электрическом смысле, скорее как точки в электрической цепи.
Краткое изложение существа изобретения
Задачей настоящего изобретения является преодоление указанных выше недостатков путем создания миниатюрного реле, характеризующегося тем, что оно содержит
первую зону, обращенную ко второй зоне,
первую конденсаторную пластину,
вторую конденсаторную пластину, расположенную во второй зоне, причем вторая пластина меньше первой пластины или имеет такой же размер,
промежуточное пространство, находящееся между первой зоной и второй зоной,
проводящий элемент, расположенный в промежуточном пространстве, причем проводящий элемент механически независим от первой зоны и второй зоны и пригоден для перемещения через промежуточное пространство в зависимости от напряжений в первой и второй конденсаторных пластинах,
первую точку контакта электрической цепи, вторую точку контакта электрической цепи, причем первая и вторая точки контакта образуют первые стопоры, при этом проводящий элемент может входить в контакт с первыми стопорами и замыкает электрическую цепь при вхождении в контакт с первыми стопорами.
Фактически, в реле, согласно изобретению, проводящий элемент, который является элементом, предназначенным для размыкания и замыкания внешней электрической цепи (первой точки контакта и второй точки контакта), представляет собой отдельную часть, способную свободно перемещаться. То есть для осуществления одного из движений реле не используется сила упругости материала. Это позволяет применять множество различных решений, каждое из которых обеспечивает необходимость очень малых напряжений активации и допускает очень малые размеры реле. Проводящий элемент расположен в промежуточном пространстве. Промежуточное пространство ограничено первой и второй зонами и боковыми стенками, которые предотвращают выпадение проводящего элемента из промежуточного пространства. Когда к первой и второй конденсаторным пластинам прилагают напряжение, в проводящем элементе наводятся распределенные заряды, генерирующие электростатические силы, которые, в свою очередь, перемещают проводящий элемент вдоль промежуточного пространства. Благодаря разным конструкциям, которые будут подробно описаны ниже, этот эффект может быть использован разными путями.
Кроме того, реле, согласно изобретению, также хорошо решает указанную выше проблему “втягивания”.
Другим дополнительным преимуществом реле, согласно изобретению, является следующее: в обычных электростатических реле, если проводящий элемент залипает в определенном положении (что в значительной степени, наряду с другими факторами, зависит от влажности), нет возможности освободить его (за исключением использования внешнего воздействия, например его сушки) вследствие того факта, что сила восстановления исходного состояния является силой упругости и всегда постоянна (в зависимости только от положения) и не может быть увеличена. В противоположность этому, если проводящий элемент залипает в реле, согласно изобретению, всегда имеется возможность освободить его путем увеличения напряжения.
Геометрия промежуточного пространства и расположение конденсаторных пластин позволяют получить реле нескольких типов с многими вариантами применения и способами работы.
Перемещение проводящего элемента может осуществляться следующим образом:
первая возможность состоит в том, что проводящий элемент перемещается вдоль промежуточного пространства поступательно, то есть по существу прямолинейно (конечно, исключая возможные сотрясения или колебания и/или движения, вызванные незапланированными и нежелательными внешними силами) между первой и второй зонами;
вторая возможность состоит в том, что проводящий элемент имеет по существу зафиксированный конец, вокруг которого он может поворачиваться. Ось вращения может служить точкой контакта для внешней электрической цепи, и свободный конец проводящего элемента может перемещаться между первой и второй зонами и создавать или не создавать контакт с другой точкой контакта в зависимости от его положения. Как будет указано ниже, этот подход дает ряд определенных преимуществ;
третья возможность состоит в том, что проводящий элемент перемещается вдоль промежуточного пространства, совершая движение, которое комбинирует поступательное движение между первой и второй зонами, вызываемое генерируемыми электростатическими силами, и движение, перпендикулярное первому движению, вызываемое кориолисовой силой. Это решение будет описано более подробно ниже.
Предпочтительно, первая точка контакта находится между второй зоной и проводящим элементом. Это позволяет осуществить ряд решений, описанных ниже.
Предпочтительный вариант осуществления изобретения может быть получен, когда первая пластина находится во второй зоне. В альтернативном варианте реле может быть устроено так, чтобы первая пластина находилась в первой зоне. В первом случае получают реле, в котором большее напряжение активации и которое срабатывает быстрее. Во втором случае реле срабатывает медленнее, что означает, что удары, испытываемые проводящим элементом и стопорами, смягчены, и потребление энергии уменьшено. Можно делать выбор одной или другой из альтернатив в зависимости от конкретных требований в каждом случае.
Предпочтительный вариант осуществления изобретения может быть получен, когда вторая точка контакта также находится во второй зоне. В этом варианте проводящий элемент совершает по существу прямолинейное движение. Когда проводящий элемент входит в контакт с первыми стопорами, то есть с первой и второй точками контакта электрической цепи, электрическая цепь замыкается, и разомкнуть электрическую цепь можно при помощи сил других типов, указанных ниже. Для повторного замыкания электрической цепи достаточно приложить напряжение между первой и второй конденсаторными пластинами. Это вызывает притягивание проводящего элемента в направлении второй зоны и повторное введение в контакт первой и второй точек контакта.
В случае расположения первой конденсаторной пластины в первой зоне и второй конденсаторной пластины во второй зоне, способом получения необходимой силы для размыкания цепи, упомянутого в предшествующем абзаце, является добавление третьей конденсаторной пластины, расположенной во второй зоне, причем третья конденсаторная пластина меньше первой конденсаторной пластины или имеет такой же размер, при этом вторая и третья конденсаторные пластины совместно больше первой конденсаторной пластины. При таком устройстве первая конденсаторная пластина находится с одной стороны от промежуточного пространства, а вторая и третья конденсаторные пластины находятся с другой стороны от промежуточного пространства и расположены вблизи друг друга. Таким образом можно вызывать движение проводящего элемента в обоих направлениях при помощи электростатических сил и, кроме того, можно гарантировать замыкание внешней электрической цепи, даже если проводящий элемент остается под напряжением, в принципе неизвестным, которое будет вызвано замкнутой внешней цепью.
Другой предпочтительный вариант осуществления изобретения получают, когда реле дополнительно содержит третью конденсаторную пластину, расположенную во второй зоне, и четвертую конденсаторную пластину, расположенную в первой зоне. Причем первая конденсаторная пластина и вторая конденсаторная пластина имеют одинаковый размер, и третья конденсаторная пластина и четвертая конденсаторная пластина также имеют одинаковый размер. Таким образом, если необходимо, чтобы проводящий элемент двигался в направлении второй зоны, можно приложить напряжение к первой и четвертой конденсаторным пластинам, с одной стороны, и ко второй или к третьей конденсаторным пластинам, с другой стороны. В случае, когда проводящий элемент будет двигаться к месту, где расположена наименьшая конденсаторная пластина, он будет двигаться ко второй зоне. Аналогично, можно вызывать движение проводящего элемента к первой зоне посредством приложения напряжения ко второй и третьей конденсаторным пластинам и к первой или четвертой конденсаторным пластинам. Преимущество этого решения, по сравнению с более простым решением с тремя конденсаторными пластинами, состоит в том, что реле полностью симметрично, то есть достигается абсолютно одинаковое поведение реле независимо от того, движется ли проводящий элемент ко второй зоне или к первой зоне. Предпочтительно, первая, вторая, третья и четвертая конденсаторные пластины одинаковы относительно друг друга, поскольку обычно удобно, чтобы конструкция реле была симметрична в нескольких отношениях. С одной стороны, существует симметрия первой и второй зон, как отмечено выше. С другой стороны, необходимо сохранять симметрии других типов для исключения других проблем, например, таких как проблемы вращения или качания проводящего элемента, которые будут пояснены ниже. В этом отношении особенно предпочтительно, чтобы реле дополнительно содержало пятую конденсаторную пластину, расположенную в первой зоне, и шестую конденсаторную пластину, расположенную во второй зоне, причем чтобы пятая конденсаторная пластина и шестая конденсаторная пластина имели одинаковый размер. С одной стороны, увеличение количества конденсаторных пластин дает преимущество лучшего компенсирования изменений производственного процесса. С другой стороны, несколько разных пластин могут активироваться независимо также с точки зрения напряжения, прилагаемого в момент активации. Все шесть конденсаторных пластин могут быть одинаковыми или, в альтернативном варианте, три пластины на одной стороне могут иметь разные размеры относительно друг друга. Это дает возможность минимизировать напряжения активации. Реле, которое имеет три или более конденсаторных пластин в каждой зоне, позволяет получить следующие преимущества:
реле может работать симметрично в обоих направлениях;
реле имеет конструкцию, которая позволяет минимизировать напряжение активации при неизменных общих размерах реле, поскольку при наличии двух активных пластин в одной зоне и одной активной пластины в другой зоне всегда можно иметь индивидуальные площади поверхностей;
реле позволяет минимизировать потребление тока и энергии, а также смягчать работу реле;
реле может гарантировать размыкание и замыкание реле независимо от напряжения, передаваемого внешней электрической цепью проводящему элементу, когда они входят в контакт;
в частности, если реле имеет шесть конденсаторных пластин в каждой зоне, оно может также удовлетворять требованию центральной симметрии, что, как будет видно ниже, является другим существенным преимуществом. Таким образом, получают другой предпочтительный вариант осуществления изобретения, когда реле содержит шесть конденсаторных пластин, расположенных в первой зоне, и шесть конденсаторных пластин, расположенных во второй зоне. Однако наличие шести конденсаторных пластин в каждой зоне не является абсолютно необходимым для достижения центральной симметрии, что можно достигнуть также при наличии трех конденсаторных пластин в каждой зоне, хотя в этом случае придется отказаться от минимизации потребления тока и энергии и оптимизации “мягкой” работы реле. В целом, увеличение количества конденсаторных пластин в каждой зоне дает большую гибкость и многосторонность конструкции, хотя предусматривает уменьшение изменений, свойственных при производстве, поскольку изменения при изготовлении каждой из пластин будут требовать компенсации посредством изменений остальных пластин.
Однако не следует не принимать в расчет то, что в некоторых случаях может быть полезно осознанно вызывать существование моментов сил для принудительного выполнения проводящим элементом поворота в дополнение к поступательному движению. Например, может быть предпочтительно преодолевать возможное залипание или трение проводящего элемента относительно неподвижных стенок.
Предпочтительно, реле содержит второй стопор (или количество вторых стопоров аналогично количеству первых стопоров) между первой зоной и проводящим элементом. Таким образом достигают геометрической симметрии между первой зоной и второй зоной. Проводящий элемент перемещается в направлении второй зоны до тех пор, пока не войдет в контакт с первыми стопорами и не замкнет внешнюю электрическую цепь. Проводящий элемент перемещается в направлении первой зоны до тех пор, пока не войдет в контакт со вторым стопором (стопорами). Таким образом, перемещение, совершаемое проводящим элементом, является симметричным.
Другой предпочтительный вариант осуществления изобретения получают, когда реле содержит третью точку контакта, находящуюся между первой зоной и проводящим элементом, причем третья точка контакта образует второй стопор таким образом, что проводящий элемент замыкает вторую электрическую цепь, когда он входит в контакт со второй точкой контакта и с третьей точкой контакта. В этом случае реле работает как коммутатор, попеременно соединяющий вторую точку контакта с первой точкой контакта и с третьей точкой контакта.
Наиболее предпочтительный вариант осуществления указанного выше примера будет получен, когда проводящий элемент содержит полую цилиндрическую часть, которая образует ось и во внутреннем пространстве которой расположена вторая точка контакта, и плоскую часть, которая отступает от одной стороны радиально полой цилиндрической части и которая имеет протяженность в направлении оси, причем плоская часть имеет высоту, измеренную в направлении оси, которая меньше высоты цилиндрической части, измеренной в направлении оси. Этот конкретный случай одновременно соответствует условию осуществления проводящим элементом вращательного движения вокруг одного из его концов (см. указанную выше “вторую возможность”). Кроме того, цилиндрическая часть является частью, которая опирается на опорные поверхности (по одной на каждом конце цилиндра и проходящие между первой зоной и второй зоной), тогда как плоская часть представляет собой консольный элемент относительно цилиндрической части, поскольку она имеет меньшую высоту. Таким образом, плоская часть не входит в контакт со стенками или неподвижными поверхностями (за исключением первой и третьей точек контакта), благодаря чему залипание и силы трения уменьшаются. Что касается второй точки контакта, она расположена во внутренней части цилиндрической части и служит осью вращения, а также второй точкой контакта. Таким образом, устанавливается электрическое соединение между первой и второй точками контакта или между третьей и второй точками контакта. Полая цилиндрическая часть образует цилиндрическую полость, которая в любом случае имеет поверхность, изогнутую относительно второй точки контакта, что уменьшает риски залипания и возникновения сил трения.
Другой особенно предпочтительный вариант осуществления указанного выше примера получают, когда проводящий элемент содержит полую часть в форме параллелепипеда, которая определяет ось и внутри которой расположена вторая точка контакта, и плоскую часть, которая отступает от одной стороны в радиальном направлении полой части в форме параллелепипеда и которая имеет протяженность в направлении указанной оси, причем плоская часть имеет высоту, измеренную в направлении указанной оси, которая меньше высоты указанной части в форме параллелепипеда, измеренной в направлении указанной оси. Фактически, этот вариант подобен указанному выше, но в котором часть в форме параллелепипеда образует полость в форме параллелепипеда. Это решение может быть особенно предпочтительным в случае с очень малыми размерами реле, поскольку в этом случае разрешающая способность процесса производства (в частности, в фотолитографических процессах) требует использования прямых линий. В обоих случаях следует подчеркнуть, что определяющей геометрией является геометрия внутренней полости и что возможны несколько различных комбинаций:
оси (второй точки контакта), имеющей прямоугольное сечение, и полости, имеющей прямоугольное сечение;
оси, имеющей круглое сечение, и полости, имеющей круглое сечение;
оси, имеющей круглое сечение, и полости, имеющей прямоугольное сечение, и наоборот; хотя первые две комбинации наиболее предпочтительны.
Логически, в случае с прямоугольными сечениями должен быть достаточный зазор между осью и параллелепипедной частью для возможности вращения проводящего элемента вокруг оси. Подобным образом, в случае с круглыми сечениями может существовать значительный зазор между осью и цилиндрической частью, в результате чего реальным движением, осуществляемым проводящим элементом, является комбинация поворота вокруг оси и поступательного движения между первой и второй зонами. Дополнительно следует отметить, что также возможен вариант, когда второй стопор не входит в электрическое соединение с какой-либо электрической цепью. В этом случае будет получено реле, которое может размыкать и замыкать только одну электрическую цепь, но в котором проводящий элемент перемещается посредством поворота (или посредством поворота в комбинации с поступательным движением).
Другой предпочтительный вариант осуществления изобретения будет получен, когда реле содержит третью и четвертую точки контакта, расположенные между первой зоной и проводящим элементом, причем третья и четвертая точки контакта образуют вторые стопоры, при этом проводящий элемент замыкает вторую электрическую цепь, когда он входит в контакт с третьей и четвертой точками контакта. В этом случае реле может попеременно соединять две электрические цепи.
Предпочтительно, каждый из узлов конденсаторных пластин, расположенных в первой зоне и второй зоне, расположен центрально симметрично относительно центра симметрии, причем указанный центр симметрии совмещен с центром масс-проводящего элемента. Каждый из узлов конденсаторных пластин, расположенный в каждой из зон, генерирует силовое поле, воздействующее на проводящий элемент. Если сила, создаваемая этим силовым полем, имеет не нулевой момент относительно центра масс-проводящего элемента, проводящий элемент будет не только совершать поступательное движение, но будет также совершать вращение вокруг его центра масс. В этом случае желательно, чтобы узлы пластин каждой зоны имели центральную симметрию в случае, когда это вращение не является предпочтительным, или можно было бы предпочтительно иметь центральную асимметрию, чтобы вызывать вращение проводящего элемента относительно центра масс, например, для преодоления сил трения и/или залипания.
Как уже было отмечено, проводящий элемент обычно физически заключен в промежуточном пространстве между первой зоной, второй зоной и боковыми стенками. Предпочтительно, между боковыми стенками и проводящим элементом существует зазор, достаточно небольшой, чтобы геометрически предотвратить одновременное вхождение в контакт проводящего элемента с точкой контакта группы, сформированной третьей и четвертой точками контакта. То есть предотвращается занятие проводящим элементом поперечного положения в промежуточном пространстве, в котором он соединяет первую электрическую цепь и вторую электрическую цепь.
Для исключения заедания и больших сил трения желательно, чтобы проводящий элемент имел закругленные внешние поверхности, предпочтительно, чтобы он был цилиндрическим или сферическим. Решение со сферической конфигурацией минимизирует силы трения и заедание во всех направлениях, тогда как цилиндрическая конфигурация с основаниями цилиндра, обращенными к первой и второй зонам, позволяет достигать уменьшения сил трения относительно боковых стенок при наличии больших поверхностей, обращенных к конденсаторным пластинам, и эффективна с точки зрения генерирования электростатических сил. Второе решение также обеспечивает получение больших поверхностей контакта с точками контакта, что уменьшает электрическое сопротивление, которое создается в подключаемой электрической цепи.
Подобным образом, когда проводящий элемент имеет верхнюю поверхность и нижнюю поверхность, которые перпендикулярны направлению движения проводящего элемента, и, по меньшей мере, одну боковую поверхность, предпочтительно, чтобы боковая поверхность имела небольшие выступы. Эти выступы позволят дополнительно уменьшить заедание и уменьшить силы трения между боковой поверхностью и боковыми стенками промежуточного пространства.
Предпочтительно, проводящий элемент выполняют полым. Это позволяет уменьшить массу и, таким образом, уменьшить инерцию.
В случае, когда реле имеет две конденсаторные пластины (первую пластину и вторую пластину), расположенные во второй зоне, предпочтительно, чтобы первая конденсаторная пластина и вторая конденсаторная пластина имели одинаковую площадь поверхности, поскольку таким образом получают минимальное напряжение активации для той же суммарной площади поверхности устройства.
В случае, когда реле имеет две конденсаторные пластины (первую пластину и вторую пластину), и первая пластина находится в первой зоне, тогда как вторая пластина находится во второй зоне, предпочтительно, чтобы первая конденсаторная пластина имела площадь поверхности, которая равна удвоенной площади поверхности второй конденсаторной пластины, поскольку таким образом получают минимальное напряжение активации для той же суммарной площади поверхности устройства.
В другом предпочтительном варианте выполнения реле, согласно изобретению, одна из конденсаторных пластин одновременно служит в качестве конденсаторной пластины и точки контакта (и, таким образом, стопора). Это устройство допускает подключение другой точки контакта (внешней электрической цепи) при фиксированном напряжении (обычно напряжении постоянного тока или земли) или при сохранении ее высокого полного сопротивления.
Изобретение также относится к предпочтительным вариантам использования реле. Кроме использования в качестве электрического переключателя и в качестве электрического коммутатора, реле, согласно изобретению, может быть использовано в качестве датчика различных физических величин. В таких случаях физическая величина, которую требуется измерять, прилагает силу для размыкания электрической цепи, и при помощи заданного напряжения, прилагаемого к конденсаторным пластинам, генерируется сила, которая противодействует первой, и внешняя электрическая цепь вновь замыкается (или наоборот). То есть необходимо прилагать напряжение для поддержания разомкнутого состояния электрической цепи, тогда как физическая величина, которую необходимо измерять, стремится замкнуть цепь. Определение требуемого напряжения позволяет определить физическую величину, которую требуется измерять. В целом, миниатюризация допускает включение в устройство нескольких датчиков одновременно, что повышает надежность соответствующего определения. Повышение надежности происходит благодаря возможности измерения этими разными датчиками одной величины и последующего вычисления среднего значения. Особенно предпочтительный альтернативный вариант получают посредством выполнения реле с электрическими контактами в обеих зонах, то есть с тремя или четырьмя контактами в сумме, поскольку в этом случае можно измерять исследуемую физическую величину по времени, истекшему между прерыванием контакта с электрическим контактом (контактами) в одной зоне и установлением электрического контакта с электрическим контактом (контактами) в другой зоне при постоянном напряжении (или даже изменении напряжения, как дополнительного параметра, который следует принимать во внимание). Ниже приведены различные конкретные примеры.
Акселерометр. Сила, возникающая в результате внешнего ускорения, перемещает проводящий элемент, размыкающий электрическую цепь. Напряжение, прилагаемое к конденсаторным пластинам, создает противодействующую силу. Когда цепь вновь замыкается, может быть определено требуемое для этого напряжение и, таким образом, ускорение, которому подвергается проводящий элемент. Это может также происходить наоборот, как было указано выше, то есть внешнее ускорение может быть таковым, что замыкает цепь. Миниатюризация дает возможность получения различных датчиков, ориентированных в трех координатах. Конкретными примерами могут быть пневмоподушки безопасности и наклономеры.
Датчик давления. Если электрический элемент разделяет две камеры, подвергаемые воздействию разных давлений (давлению, которое необходимо определить, и контрольному давлению), давление воздуха или любой непроводящей текучей среды, прилагаемое к одной из поверхностей проводящего элемента, будет стремиться размыкать (или замыкать) электрическую цепь. Напряжение, необходимое для повторного достижения замыкания (размыкания) цепи, составляет меру давления указанной текучей среды или, в конкретном случае, разности давлений между давлением указанной текучей среды и давлением в контрольной камере. Конкретным примером датчика такого типа может быть микрофон.
Датчик расхода. Если проводящий элемент имеет отверстие, через которое может проходить поток текучей среды, или если он имеет часть, которая погружена в поток текучей среды, реле, согласно изобретению, может использоваться в качестве датчика расхода. Как и в предшествующих примерах, посредством приложения заданного напряжения к конденсаторным пластинам можно противодействовать силе, генерируемой физической величиной, которую необходимо измерять, и в этом случае можно измерять гидравлическую или аэродинамическую силу, генерируемую потоком текучей среды. Как и в приведенном выше примере, касающемся датчика давления, текучая среда, однако, не может быть электропроводной.
Датчик температуры. В данном случае следует принимать во внимание то, что время, которое требуется для переключения реле, обычно зависит от внешнего ускорения, прилагаемого напряжения и коэффициентов площади поверхности конденсаторных пластин. Если эти пластины выполнены из материалов, имеющих разные коэффициенты теплового расширения, коэффициенты площади поверхности конденсаторный пластин будут изменяться с изменением температуры. В таком случае существует взаимосвязь между временем переключения и температурой, относящейся к заданному напряжению, прилагаемому к пластинам. Аналогично, минимальное напряжение, необходимое для переключения реле, будет зависеть от температуры.
Акустические варианты (громкоговорители). При столкновении со стопорами или с конденсаторными пластинами, которые его притягивают, проводящий элемент будет производить шум. Посредством координации значительного количества реле, которые могут быть интегрированы в одном чипе, можно собрать вместе разные акустические волны в фазе и, таким образом, создать слышимую результирующую акустическую волну. Слышимая акустическая волна будет в высокой степени направленной. Это может давать преимущество, когда ее требуется создать из ненаправленных волн. В альтернативном варианте реле могут быть распределены и/или активированы в разных направлениях и/или со сдвигом по фазе по времени для получения многонаправленной волны. Можно также управлять направленностью посредством точного управления моментом, с которым активизируется каждое реле, то есть посредством управления относительными временными сдвигами фаз между реле. Таким образом можно динамично изменять направленность акустической волны, чтобы она была направлена в соответствии с требованиями, без необходимости изменения геометрического распределения реле. Наличие электрических контактов обеспечивает определение точного момента, когда происходит столкновение проводящего элемента с соответствующими стопорами.
Детекторы кориолисовых сил (обычно известные как гиростаты). Эти детекторы определяют частоту вращения объекта посредством определения кориолисовой силы. Для этого необходимо реле, имеющее конденсаторные пластины, расположенные в первой зоне и во второй зоне, и точки контакта, расположенные на оси, перпендикулярной оси первой зоны и второй зоны. Проводящий элемент должен совершать непрерывное движение от одного конца к другому, чтобы он всегда имел заданную скорость, которая будет зависеть от напряжения, прилагаемого к пластинам конденсатора. Если существует скорость вращения, перпендикулярная плоскости, формируемой осью движения (осью первой зоны и второй зоны) и точками контакта, проводящий элемент будет испытывать кориолисово ускорение, которое будет перпендикулярно оси первой и второй зон. Это означает, что проводящий элемент касается точек контакта на одной стороне (или противоположной стороне, в зависимости от направления вращения), если напряжение, прилагаемое к конденсаторным пластинам, и, таким образом, скорость, с которой движется проводящий элемент, достаточно высоки. При касании точек контакта внешняя цепь будет замкнута, что подтверждает, что получены необходимые для этого условия. Значение внешнего вращения будет, таким образом, соотноситься со значением напряжения, прилагаемого к пластинам конденсатора, и направление вращения может быть известно на основе того, какая из двух пар контактов короткозамкнута, принимая во внимание, что направление вращения соответствует в этот момент положению проводящего элемента. Датчики такого типа могут быть расположены одновременно в трех перпендикулярных направлениях, что позволяет определять любое вращение в пространстве.
Газовый датчик. В случае, если проводящий элемент выполнен из материала, способного вступать в реакцию с молекулами заданного газа и/или абсорбировать их (или в случае, если такой материал включен в проводящий элемент), получают проводящий элемент, имеющий переменную массу в зависимости от концентрации указанного газа. Это изменение массы влияет на напряжение активации, а также на время для перемещения из одного конца в другой. Таким образом может быть определена концентрация газа.
В целом, в отношении всех указанных выше датчиков можно определять соответствующую величину посредством определения в каждом случае минимального напряжения, необходимого для переключения реле, или определения времени переключения для фиксированного прилагаемого напряжения. Обычно проще определять время переключения, поскольку оно может быть увеличено очень просто с использованием цифровой технологии, тогда как генерирование переменных напряжений предполагает использование аналоговых схем. Однако при определении напряжения, которое переключает реле, существует преимущество, состоящее в том, что требуется значительно менее частое переключение реле, что уменьшает износ и увеличивает долговременную надежность и срок службы.
Другим возможным вариантом применения реле, согласно изобретению, является использование в качестве датчика магнитного поля. Для этого реле должно оставаться в замкнутом положении, то есть когда проводящий элемент замыкает первую внешнюю электрическую цепь, и ток определенной силы проходит через проводящий элемент. Если на реле воздействует магнитное поле, проводящий элемент будет подвергаться воздействию магнитной силы и при надлежащем направлении эта магнитная сила будет стремиться размыкать электрическую цепь. Посредством определения напряжения, необходимого для поддержания замкнутого состояния электрической цепи, и принимая во внимание другие параметры (геометрию и массу проводящего элемента, силу проходящего через него тока и т.д.), можно определять пространственный компонент магнитного поля в данном направлении. Если применяют множество датчиков, ориентированных в пространстве таким образом, что все пространственные компоненты магнитного поля могут быть определены, может быть определено все магнитное поле. Если реле имеет электрические точки контакта как в первой зоне, так и во второй зоне таким образом, что могут быть замкнуты две внешние электрические цепи, то при помощи одного реле может быть определен пространственный компонент магнитного поля независимо от его направления. Это объясняется тем, что если проводящий элемент находится в одной зоне, магнитное поле будет стремиться прижимать его к точкам контакта, а не отсоединять его, тогда как при расположении проводящего элемента в противоположной зоне магнитное поле будет стремиться отделять его от точек контакта, в результате чего возможно определение. Знание того, какая из электрических цепей была использована для указанного определения, дает определение направления. Следует отметить, что при использовании реле в качестве датчика магнитного поля электрическая цепь должна быть замкнута, и через проводящий элемент должен проходить достаточно большой электрический ток, чтобы он испытывал соответствующую магнитную силу. Фактически, когда магнитное поле размыкает электрическую цепь, электрический ток не проходит через проводящий элемент и магнитная сила исчезнет, при этом проводящий элемент опять войдет в контакт с точками электрического контакта, поскольку электростатическое поле будет оставаться действующим. Таким образом, пройдет некоторое время до того, как будет восстановлен электрический ток, и на проводящий элемент будет вновь воздействовать магнитная сила. Для отличия магнитной силы, которую испытывает проводящий элемент, от других внешних ускорений датчик магнитного поля должен содержать несколько реле, часть которых выявляет магнитную силу, как указано выше, а другая часть – для измерения ускорений, как описано выше. Посредством компенсации результатов, полученных для каждого компонента, может быть определено реальное значение магнитного поля. В альтернативном варианте, одно и то же реле может осуществлять считывания значений магнитного поля (посредством пропускания тока через проводящий элемент), перемежающиеся со считываниями ускорения (когда ток не проходит через проводящий элемент).
Краткое описание чертежей
В дальнейшем изобретение поясняется нижеследующим описанием предпочтительных вариантов осуществления изобретения со ссылками на прилагаемые чертежи, на которых:
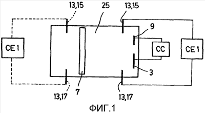
фиг.1 изображает упрощенную схему реле с двумя конденсаторными пластинами во второй зоне, согласно изобретению;
фиг.2 – упрощенную схему реле с двумя конденсаторными пластинами, расположенными по одной в каждой его зоне, согласно изобретению;
фиг.3 – упрощенную схему реле с тремя конденсаторными пластинами, согласно изобретению;
фиг.4 – общий вид первого варианта выполнения реле со снятой крышкой, согласно изобретению;
фиг.5 – вид сверху реле, показанного на фиг.4, согласно изобретению;
фиг.6 – общий вид второго варианта выполнения реле, согласно изобретению;
фиг.7 – общий вид реле, показанного на фиг.6, с которого удалены элементы верхнего конца, согласно изобретению;
фиг.8 – общий вид нижних элементов реле, показанного на фиг. 6, согласно изобретению;
фиг.9 – общий вид (третий вариант) выполнения реле со снятой крышкой, согласно изобретению;
фиг.10 – общий вид цилиндрической части реле, показанного на фиг.9, согласно изобретению;
фиг.11 – общий вид четвертого варианта выполнения реле, согласно изобретению;
фиг.12 – общий вид пятого варианта выполнения реле, согласно изобретению;
фиг.13 – вид сверху шестого варианта выполнения реле, согласно изобретению;
фиг.14 – общий вид седьмого варианта выполнения реле, согласно изобретению;
фиг.15 – общий вид восьмого варианта выполнения реле снизу без подложки, согласно изобретению;
фиг.16 – общий вид сферы, полученной посредством поверхностной микрообработки, согласно изобретению;
фиг.17 – общий вид девятого варианта выполнения реле, согласно изобретению;
фиг.18 – вид сверху без крышки десятого варианта выполнения реле, согласно изобретению.
Подробное описание предпочтительных вариантов осуществления изобретения
Предпочтительные варианты осуществления изобретения, показанные на чертежах, включают комбинацию нескольких альтернатив и указанных выше возможных вариантов.
На фиг.1 показан первый базовый режим работы реле, согласно изобретению. Реле содержит промежуточное пространство 25, в котором расположен проводящий элемент 7, который может свободно перемещаться вдоль этого промежуточного пространства 25, поскольку физически он является отдельной частью, которая не соединена со стенками, ограничивающими промежуточное пространство 25. Реле содержит первую зону, находящуюся слева на фиг.1, и вторую зону, находящуюся справа на фиг.1. Во второй зоне расположены первая конденсаторная пластина 3 и вторая пластина 9 конденсатора. В примере, показанном на фиг.1, пластины 3 и 9 конденсатора имеют разные площади поверхности, хотя они могут быть одинаковыми относительно друг друга. Первая конденсаторная пластина 3 и вторая конденсаторная пластина 9 соединены со схемой СС управления. При приложении напряжения между первой конденсаторной пластиной 3 и второй конденсаторной пластиной 9 проводящий элемент всегда притягивается вправо на фиг.1, в направлении конденсаторных пластин 3 и 9. Проводящий элемент 7 будет перемещаться вправо, пока он не будет остановлен первыми стопорами 13, которые определяют первую точку 15 контакта и вторую точку 17 контакта первой внешней электрической цепи СЕ1, в результате чего первая внешняя электрическая цепь СЕ1 замыкается.
На фиг.2 показан второй базовый режим работы для реле, согласно изобретению. Реле также содержит промежуточное пространство 25, в котором расположен проводящий элемент 7, который может свободно перемещаться вдоль этого промежуточного пространства 25, первую зону, находящуюся слева на фиг.2, и вторую зону, находящуюся справа на фиг.2. Во второй зоне расположена вторая конденсаторная пластина 9, а в первой зоне расположена первая конденсаторная пластина 3. Первая конденсаторная пластина 3 и вторая конденсаторная пластина 9 соединены со схемой СС управления. При приложении напряжения между первой конденсаторной пластиной 3 и второй конденсаторной пластиной 9 проводящий элемент всегда притягивается вправо на фиг.2, в направлении меньшей конденсаторной пластины, то есть в направлении второй конденсаторной пластины 9. То, что в примере на фиг.2 конденсаторные пластины 3 и 9 имеют разные площади поверхностей абсолютно необходимо, поскольку, если бы они имели одинаковые площади поверхностей, проводящий элемент не перемещался бы ни в одном из направлений. Проводящий элемент 7 будет перемещаться вправо, пока он не будет остановлен первыми стопорами 13, которые являются первой точкой 15 контакта и второй точкой 17 контакта первой внешней электрической цепи СЕ1, в результате чего первая внешняя электрическая цепь СЕ1 замыкается. Слева расположены вторые стопоры 19, которые в этом случае не выполняют какой-либо электрической функции, но которые останавливают проводящий элемент 7 и не допускают его вхождение в контакт с первой конденсаторной пластиной 3. В этом случае стопоры 19 могут быть удалены, поскольку вхождение в контакт проводящего элемента 7 с первой конденсаторной пластиной 3 не представляет особой проблемы. Это связано с тем, что на этой стороне расположена только одна конденсаторная пластина, но если бы их было больше одной и если бы они были подключены к разным полюсам, то стопоры были бы необходимы для исключения короткого замыкания.
Конфигурации реле, показанные на фиг.1 и 2, пригодны для использования в качестве датчиков, в которых измеряемая величина проявляет усилие, противодействующее электростатической силе, возбуждаемой в проводящем элементе 7. Как показано, в обоих случаях измеряемая величина должна проявлять усилие, стремящееся разомкнуть электрическую цепь СЕ1, тогда как электростатическая сила будет стремиться замкнуть ее. Однако реле может быть приспособлено для работы в прямо противоположном отношении: таким образом, чтобы измеряемая величина стремилась замыкать электрическую цепь СЕ1, тогда как электростатическая сила стремилась бы размыкать ее. В этом случае, первые стопоры 13 должны были бы располагаться слева на фиг.1 и 2 совместно с соответствующей электрической цепью СЕ1. На фиг.1 эта возможная компоновка показана пунктирной линией. Если стопоры располагают с обеих сторон, то датчик может определять величину в обоих направлениях, хотя алгоритм пришлось бы изменить от тенденции к замыканию к тенденции к размыканию, когда выявлено изменение направления, что могло бы происходить, когда не достигается замыкание/размыкание минимальным напряжением, которое равно нулю. Следует напомнить, что полярность прилагаемого напряжения не влияет на направление движения проводящего элемента 7.
Для перемещения проводящего элемента 7 в обоих направлениях при помощи электростатических сил необходимо наличие третьей конденсаторной пластины 11 (фиг.3). Поскольку проводящий элемент 7 всегда будет перемещаться в направлении, где расположена самая меньшая конденсаторная пластина, в этом случае, необходимо, чтобы третья конденсаторная пластина 11 была меньше первой конденсаторной пластины 3, но чтобы сумма площадей поверхностей второй конденсаторной пластины 9 и третьей конденсаторной пластины 11 была больше площади первой конденсаторной пластины 3. Таким образом, при активации первой конденсаторной пластины 3 и второй конденсаторной пластины 9 при подключении их к разным полюсам, но не третьей конденсаторной пластины 11, которая будет оставаться в состоянии высокого полного сопротивления, проводящий элемент 7 может перемещаться вправо, тогда как при активации трех конденсаторных пластин 3, 9 и 11 проводящий элемент 7 может двигаться влево. В последнем случае, на вторую конденсаторную пластину 9 и третью конденсаторную пластину 11 подают одинаковое напряжение, а на первую конденсаторную пластину 3 подают другое напряжение. Реле (фиг.3) содержит дополнительно внешнюю электрическую цепь СЕ2, соединенную со вторыми стопорами 19 таким образом, что вторые стопоры 19 образуют третью точку 21 контакта и четвертую точку 23 контакта.
В случае, если две конденсаторные пластины размещены в первой и второй зонах, движение проводящему элементу 7 может сообщаться двумя разными путями:
приложением напряжения между двумя конденсаторными пластинами одной зоны таким образом, что они притягивают проводящий элемент (показано на фиг.1),
приложением напряжения между одной конденсаторной пластиной одной зоны и пластиной (обеими пластинами) другой зоны таким образом, что проводящий элемент 7 притягивается в направлении зоны, в которой электрически заряженная площадь поверхности конденсатора является наименьшей (показано на фиг.2).
На фиг.4 и 5 показано реле, изготовленное по технологии EFAB. Эта технология изготовления микромеханизма посредством осаждения слоя известна специалистам в данной области техники и она допускает изготовление нескольких слоев и предоставляет большие возможности для изготовления трехмерных конструкций. Реле закреплено на подложке 1, которая служит основой и которая на нескольких из прилагаемых чертежей не показана для упрощения. Реле имеет первую конденсаторную пластину 3 и четвертую конденсаторную пластину 5, расположенные слева (фиг.5) от проводящего элемента 7, а также вторую конденсаторную пластину 9 и третью конденсаторную пластину 11, расположенные справа от проводящего элемента 7. Реле также имеет два первых стопора 13, которые являются первой точкой 15 контакта и второй точкой 17 контакта, и два вторых стопора 19, которые являются третьей точкой 21 контакта и четвертой точкой 23 контакта. Реле закрыто в его верхней части (крышка не показана) для лучшего понимания внутренних деталей.
Реле перемещается слева направо и наоборот в промежуточном пространстве 25. Первые стопоры 13 и вторые стопоры 19 расположены ближе к проводящему элементу 7, чем конденсаторные пластины 3, 5, 9 и 11. Таким образом, проводящий элемент 7 может двигаться слева направо, замыкая соответствующие электрические цепи, не сталкиваясь с конденсаторными пластинами 3, 5, 9 и 11 и их соответствующими схемами управления.
Проводящий элемент 7 имеет полое внутреннее пространство 27.
Существует зазор между проводящим элементом 7 и стенками, которые формируют промежуточное пространство 25 (то есть первыми стопорами 13, вторыми стопорами 19, конденсаторными пластинами 3, 5, 9 и 11 и двумя боковыми стенками 29), который достаточно небольшой для предотвращения поворота проводящего элемента 7 вдоль оси, перпендикулярной плоскости чертежа, в достаточной степени для введения в контакт первой точки 15 контакта с третьей точкой 21 контакта или второй точки 17 контакта с четвертой точкой 23 контакта. Однако зазор изображен не в соответствующем масштабе для большей наглядности.
На фиг.6-8 показан другой вариант реле для изготовления по технологии EFAB. В этом случае проводящий элемент 7 перемещается по вертикали. Использование той или иной альтернативы движения в реле зависит от критериев конструкции. Технология изготовления состоит в осаждении нескольких слоев. На всех чертежах вертикальные размеры преувеличены, т.е. в реальности устройства значительно более плоские. Если желательно получить большие конденсаторные поверхности, было бы предпочтительно конструировать реле в форме, подобной показанной на фиг.6-8 (вертикальное реле), тогда как реле в форме, подобной показанной на фиг.4 и 5 (горизонтальное реле), более пригодно, если желательно иметь меньшее количество слоев. В случае использования некоторых специфических технологий (таких как технологии, обычно известные как polyMUMPS, Dalsa, SUMMIT, Tronic’s, Qinetiq’s и т.д.), количество слоев всегда будет ограничено. Преимуществом вертикального реле является то, что получают большие поверхности при меньшей площади чипа, и это предполагает значительно меньшие напряжения активации (с использованием такой же площади чипа).
Концептуально, реле на фиг.6-8 подобно реле, показанному на фиг.4 и 5, и содержит первую конденсаторную пластину 3 и четвертую конденсаторную пластину 5, расположенные в нижней части (фиг.8), а также вторые стопоры 19, которые представляют собой третью точку 21 контакта и четвертую точку 23 контакта. Вторые стопоры 19 выше конденсаторных пластин, при этом проводящий элемент 7 может опираться на вторые стопоры 19 без вхождения в контакт с первой и четвертой конденсаторными пластинами 3, 5. На верхнем конце (фиг.6) расположены вторая конденсаторная пластина 9, третья конденсаторная пластина 11 и два первых стопора 13, которые представляют собой первую точку 15 контакта и вторую точку 17 контакта. В этом случае зазор между проводящим элементом 7 и боковыми стенками 29 также достаточно мал для исключения установления контакта между первой точкой 15 контакта с третьей точкой 21 контакта или установления контакта между второй точкой 17 контакта и четвертой точкой 23 контакта.
Реле на фиг.9 и 10 является примером реле, в котором движение проводящего элемента 7 представляет собой по существу поворот вокруг одного из его концов. Это реле имеет первую конденсаторную пластину 3, вторую конденсаторную пластину 9, третью конденсаторную пластину 11 и четвертую конденсаторную пластину 5, причем все они закреплены на подложке 1. Кроме того, первая точка 15 контакта и третья точка 21 контакта обращены друг к другу. Расстояние между первой точкой 15 контакта и третьей точкой 21 контакта меньше расстояния между пластинами конденсатора. Проводящий элемент 7 имеет полую цилиндрическую часть 31, в которой полость также цилиндрическая. Во внутреннем пространстве цилиндрической полости расположена вторая точка 17 контакта, имеющая цилиндрическое сечение.
Таким образом, проводящий элемент 7 устанавливает электрический контакт между первой точкой 15 контакта и второй точкой 17 контакта или между третьей точкой 21 контакта и второй точкой 17 контакта. Движение, осуществляемое проводящим элементом 7, по существу представляет собой поворот вокруг оси, образуемой цилиндрической частью 31. Зазор между второй точкой 17 контакта и цилиндрической частью 31 на фиг.9 показан в увеличенном виде, однако определенно, что существует некоторый зазор, в результате чего движение, осуществляемое проводящим элементом 7, не является только поворотом, но реально комбинацией поворота и перемещения.
От цилиндрической части 31 выступает плоская часть 33, которая имеет меньшую высоту, чем цилиндрическая часть 31, измеренную в направлении оси цилиндрической части 31. На фиг.10 показан вид цилиндрической части 31 и плоской части 33 почти в профиль. Таким образом исключается вхождение в контакт плоской части 33 с подложкой 1, что уменьшает силы трения и заедание.
При замене параллелепипедной части на цилиндрическую часть 31 и замене второй точки 17 контакта, имеющей круглое сечение, на имеющую квадратное сечение, если зазор достаточен, можно конструировать реле, которое концептуально эквивалентно реле, показанному на фиг.9 и 10.
Если бы в реле, показанном на фиг.9 и 10, первая точка 15 контакта и/или третья точка 21 контакта были исключены, то точками контакта и стопорами служили бы только конденсаторные пластины (третья конденсаторная пластина 11 и четвертая конденсаторная пластина 5). Посредством выбора пригодных напряжений, при которых должны работать конденсаторные пластины, можно достигнуть того, что это напряжение всегда будет напряжением постоянного тока или земли. Другой возможностью могло бы быть то, что третья точка 21 контакта не имеет электрического соединения с какой-либо электрической цепью. В таком случае, третья точка контакта была бы только стопором, и когда проводящий элемент 7 вводит в контакт вторую точку 17 контакта с третьей точкой 21 контакта, вторая точка 17 контакта может быть в состоянии высокого полного сопротивления в цепи.
Реле на фиг.11 предназначено для изготовления по технологии polyMUMPS. Эта технология известна специалистам в данной области техники и отличается поверхностной микрообработкой с наличием трех структурных слоев и двух расходуемых слоев. Однако концептуально оно подобно реле, показанному на фиг.9 и 10, хотя существуют некоторые отличия. Таким образом, в реле, показанном на фиг.11, первая конденсаторная пластина 3 аналогична третьей конденсаторной пластине 11, но отличается от второй конденсаторной пластины 9 и от четвертой конденсаторной пластины 5, которые одинаковы и меньше предшествующих. Что касается второй точки 17 контакта, она имеет расширение на ее верхнем конце, которое обеспечивает удерживание проводящего элемента 7 в промежуточном пространстве 25. Вторая точка 17 контакта, показанная на фиг.9 и 10, также может быть снабжена расширением такого типа. Также следует отметить, что в этом реле расстояние между первой точкой 15 контакта и третьей точкой 21 контакта равно расстоянию между конденсаторными пластинами. Учитывая то, что движение проводящего элемента 7 является вращательным движением вокруг второй точки 17 контакта, противоположный конец проводящего элемента описывает дугу таким образом, что он входит в контакт с первой или третьей точками 15, 21 контакта до того, как плоская часть 33 касается конденсаторных пластин.
На фиг.12 показано другое реле для изготовления по технологии polyMUMPS. Это реле подобно реле, показанному на фиг.4 и 5, хотя оно имеет дополнительно пятую конденсаторную пластину 35 и шестую конденсаторную пластину 37.
На фиг.13 показано реле, эквивалентное показанному на фиг.4 и 5, но имеющее шесть конденсаторных пластин в первой зоне и шесть конденсаторных пластин во второй зоне. Кроме того, следует отметить наличие верхней крышки, которая исключает выпадение проводящего элемента 7.
На фиг.14 и 15 показано реле, в котором проводящий элемент 7 имеет цилиндрическую форму. В реле, показанном на фиг.14, боковые стенки 29, которые окружают проводящий элемент, имеют форму параллелепипеда, тогда как в реле, показанном на фиг.15, боковые стенки 29, которые окружают проводящий элемент 7, имеют цилиндрическую форму. На фиг.16 показана сфера, изготовленная посредством микрообработки поверхности, при этом следует отметить, что она сформирована множеством цилиндрических дисков разных диаметров. Реле со сферическим проводящим элементом 7, таким как показанный на фиг.16, может быть концептуально подобным реле, показанному на фиг.14 или 15, с заменой цилиндрического проводящего элемента 7 сферическим элементом. Однако следует принимать во внимание некоторые геометрические корректировки в устройстве конденсаторных пластин и точек контакта на верхнем конце для исключения сначала вхождения в контакт сферического проводящего элемента 7 с конденсаторными пластинами, а не с точками контакта или, в возможном случае, с соответствующими стопорами.
На фиг.17 показан вариант выполнения реле, показанного на фиг.4 и 5. В этом случае проводящий элемент 7 имеет выступы 39 на его боковых поверхностях 41.
На фиг.18 показан вариант выполнения реле, соответствующего изобретению, предназначенный для использования в качестве детектора кориолисовых сил (гиростата). В этом случае можно отметить, что реле имеет первую конденсаторную пластину 3 и четвертую конденсаторную пластину 5, расположенные слева (в соответствии с фиг.18) от проводящего элемента 7, и вторую конденсаторную пластину 9 и третью конденсаторную пластину 11, расположенные справа от проводящего элемента 7. Реле также имеет два первых стопора 13, которые являются первой точкой 15 контакта и второй точкой 17 контакта в верхней части фиг. 18, и два вторых стопора 19, которые являются третьей точкой 21 контакта и четвертой точкой 23 контакта в нижней части фиг. 18. Проводящий элемент 7 перемещается зигзагообразно между конденсаторными пластинами в результате приложения между ними напряжений. Если реле подвергается воздействию кориолисовых сил, проводящий элемент 7 будет двигаться в боковом направлении, то есть вверх или вниз в соответствии с фиг.18 (предполагая, что вращательное движение перпендикулярно плоскости чертежа). При вхождении в контакт с первой точкой 15 контакта и со второй точкой 17 контакта (или с третьей точкой 21 контакта и с четвертой точкой 23 контакта) и в зависимости от скорости, с которой осуществляется зигзагообразное движение (и в зависимости от геометрических параметров и масс реле), может быть определена кориолисова сила и, следовательно, скорость вращения. Реле также имеет третьи стопоры 43 и четвертые стопоры 45, которые могут быть (дополнительно или возможно) также электрическими контактами. Таким образом, конечное перемещение при каждом зигзагообразном движении обнаруживается посредством замыкания соответствующей электрической цепи, которая используется в связи со схемой управления реле. В альтернативном варианте, положение проводящего элемента 7 может определяться другими процедурами, известными специалисту в данной области техники.
Формула изобретения
1. Миниатюрное реле, отличающееся тем, что содержит первую конденсаторную пластину (3), вторую конденсаторную пластину (9), обращенную к указанной первой конденсаторной пластине (3), причем вторая пластина меньше первой пластины или имеет такой же размер поверхности конденсаторной пластины, промежуточное пространство (25), проводящий элемент (7), расположенный в указанном промежуточном пространстве (25), причем проводящий элемент (7) является независимой частью, способной осуществлять свободное перемещение вдоль промежуточного пространства (25) и поперек промежуточного пространства (25) от первого конца промежуточного пространства (25), образующего первую зону, до второго конца промежуточного пространства (25), образующего вторую зону, и наоборот, причем движение зависит от напряжений в первой и второй конденсаторных пластинах, при этом первая конденсаторная пластина расположена в первой зоне, и вторая конденсаторная пластина расположена во второй зоне, третью конденсаторную пластину (11), расположенную во второй зоне и имеющую меньший размер поверхности конденсаторной пластины, чем первая конденсаторная пластина (3), или равный ему, при этом вторая и третья конденсаторные пластины совместно имеют больший размер поверхности, чем размер поверхности первой конденсаторной пластины (3), первую точку (15) контакта электрической цепи, вторую точку (17) контакта указанной электрической цепи, которые образуют первые стопоры (13), при этом проводящий элемент (7) может входить в контакт с первыми стопорами (13), и предназначен для замыкания электрической цепи, когда он входит в контакт с первыми стопорами (13), при этом замыкание внешней электрической цепи гарантировано, даже если проводящий элемент остается под напряжением, в принципе неизвестным, которое может быть вызвано замкнутой внешней цепью.
2. Реле по п.1, отличающееся тем, что первая точка (15) контакта размещена между второй зоной и проводящим элементом (7).
3. Реле по любому из пп.1 или 2, отличающееся тем, что вторая точка (17) контакта также размещена во второй зоне.
4. Реле по п.1, отличающееся тем, что дополнительно содержит четвертую конденсаторную пластину (5), расположенную в первой зоне, причем первая конденсаторная пластина (3) и вторая конденсаторная пластина (9) имеют одинаковый размер поверхности, и третья конденсаторная пластина (11) и четвертая конденсаторная пластина (5) имеют одинаковый размер поверхности.
5. Реле по п.4, отличающееся тем, что первая, вторая, третья и четвертая конденсаторные пластины имеют одинаковый размер поверхности.
6. Реле по п.4, отличающееся тем, что дополнительно содержит пятую конденсаторную пластину (35), расположенную в первой зоне, и шестую конденсаторную пластину (37), расположенную во второй зоне, причем пятая конденсаторная пластина (35) и шестая конденсаторная пластина (37) имеют одинаковый размер поверхности.
7. Реле по п.6, отличающееся тем, что содержит шесть конденсаторных пластин, расположенных в первой зоне, и шесть конденсаторных пластин, расположенных во второй зоне.
8. Реле по п.1, отличающееся тем, что содержит второй стопор, расположенный между первой зоной и проводящим элементом (7).
9. Реле по п.1, отличающееся тем, что содержит третью точку (21) контакта, находящуюся между первой зоной и проводящим элементом (7), причем третья точка (21) контакта образует второй стопор таким образом, что проводящий элемент (7) замыкает вторую электрическую цепь, когда он входит в контакт со второй точкой (17) контакта и третьей точкой (21) контакта.
10. Реле по п.9, отличающееся тем, что проводящий элемент (7) содержит полую цилиндрическую часть (31), которая образует ось и внутри которой расположена вторая точка (17) контакта, и плоскую часть (33), которая отступает от одной стороны в радиальном направлении полой цилиндрической части (31) и которая имеет протяженность в направлении оси, причем плоская часть (33) имеет высоту, измеренную в направлении указанной оси, которая меньше высоты цилиндрической части (33), измеренной в направлении оси.
11. Реле по п.9, отличающееся тем, что проводящий элемент (7) содержит полую часть в форме параллелепипеда, которая образует ось и внутри которой расположена вторая точка (17) контакта, и плоскую часть (33), которая отступает от одной стороны в радиальном направлении полой части (31) в форме параллелепипеда и имеет протяженность в направлении указанной оси, причем плоская часть (33) имеет высоту, измеренную в направлении оси, которая меньше высоты части в форме параллелепипеда, измеренной в направлении оси.
12. Реле по п.1, отличающееся тем, что содержит третью точку (21) контакта и четвертую точку (23) контакта, находящиеся между первой зоной и проводящим элементом (7), причем третья точка (21) контакта и четвертая точка (23) контакта образуют вторые стопоры (19) таким образом, что проводящий элемент (7) замыкает вторую электрическую цепь, когда он входит в контакт с третьей точкой (21) контакта и четвертой точкой (23) контакта.
13. Реле по п.1, отличающееся тем, что каждый из узлов конденсаторных пластин, расположенных в каждой из первой и второй зон, имеет центральную симметрию относительно центра симметрии, который совмещен с центром масс проводящего элемента (7).
14. Реле по п.1, отличающееся тем, что узел конденсаторных пластин, расположенный в каждой из первой и второй зон, имеет центральную симметрию для генерирования момента сил относительно центра масс проводящего элемента (7).
15. Реле по п.12, отличающееся тем, что между первой зоной и второй зоной проходят две боковые стенки (29), между которыми и проводящим элементом (7) имеется зазор, который достаточно мал для предотвращения одновременного вхождения в контакт проводящего элемента (7) с точкой контакта группы, сформированной первой и второй точками (15, 17) контакта, и с точкой контакта группы, сформированной третьей и четвертой точками (21, 23) контакта.
16. Реле по п.1, отличающееся тем, что проводящий элемент (7) имеет закругленные внешние поверхности.
17. Реле по п.16, отличающееся тем, что проводящий элемент (7) имеет цилиндрическую форму.
18. Реле по п.16, отличающееся тем, что проводящий элемент (7) имеет сферическую форму.
19. Реле по п.1, отличающееся тем, что проводящий элемент (7) имеет верхнюю поверхность и нижнюю поверхность, причем верхняя и нижняя поверхности перпендикулярны направлению движения проводящего элемента (7), и, по меньшей мере одну боковую поверхность, которая имеет небольшие выступы.
20. Реле по п.1, отличающееся тем, что проводящий элемент (7) полый.
21. Реле по п.1, отличающееся тем, что первая пластина (3) конденсатора имеет площадь поверхности, которая равна площади поверхности второй пластины (9) конденсатора или в два раза превышает ее.
22. Реле по п.1, отличающееся тем, что одна из пластин (3, 5, 9, 11, 35, 37) конденсатора одновременно является одной из указанных точек (15, 17, 21, 23) контакта.
23. Использование миниатюрного реле по любому из пп.1-22 в качестве акселерометра.
24. Использование миниатюрного реле по любому из пп.1-22 в качестве акселерометра в пневмоподушках безопасности.
25. Использование миниатюрного реле по любому из пп.1-22 в качестве наклономера.
26. Использование миниатюрного реле по любому из пп.1-22 в качестве газового датчика, в котором проводящий элемент выполнен из материала, способного вступать в реакцию с молекулами заданного газа или абсорбировать их.
РИСУНКИ
|
|