|
|
(21), (22) Заявка: 2006128812/06, 08.08.2006
(24) Дата начала отсчета срока действия патента:
08.08.2006
(46) Опубликовано: 27.05.2008
(56) Список документов, цитированных в отчете о поиске:
RU 2192052 C1, 27.10.2002. RU 2096840 C1, 20.11.1997. RU 2065211 C1, 10.08.1996. US 3984282 A, 05.10.1976. US 5149493 A, 22.09.1992.
Адрес для переписки:
603600, г.Нижний Новгород, ул. Минина, 24, НГТУ, ОИС
|
(72) Автор(ы):
Безносов Александр Викторович (RU), Молодцов Антон Анатольевич (RU), Бокова Татьяна Александровна (RU), Новожилова Ольга Олеговна (RU)
(73) Патентообладатель(и):
Государственное образовательное учреждение высшего профессионального образования Нижегородский государственный технический университет (ГОУВПО НГТУ) (RU)
|
(54) ЯДЕРНАЯ ЭНЕРГЕТИЧЕСКАЯ УСТАНОВКА
(57) Реферат:
Устройство предназначено для использования в ядерной технике в реакторных установках с жидкометаллическим охлаждением. В ядерной энергетической установке, содержащей реактор с жидкометаллическим свинцовым теплоносителем или его сплавами, с размещенными под свободным уровнем активной зоной, парогенераторами, средствами циркуляции и систему защитного газа, по периметру активной зоны установлены трубки Фильда. Центральные каналы последних через запорно-регулирующий клапан сообщены с водяным объемом расположенной выше реактора емкости. К верхней части емкости подключены охлаждаемые воздухом теплообменные трубы, соединенные верхним коллектором с предохранительным клапаном. Верхний коллектор сообщен с внешними кольцевыми каналами трубок Фильда. Устройство позволит исключить возможность перегрева и разрушения активной зоны реактора при прекращении отвода тепла от активной зоны при неработающих средствах циркуляции теплоносителя и парогенераторах. 2 з.п. ф-лы, 1 ил.
Изобретение относится к ядерной технике и может быть использовано в реакторных установках с жидкометаллическим охлаждением.
Известна ядерная энергетическая установка, содержащая реактор с жидкометаллическим свинцовым теплоносителем или его сплавами с размещенными под свободным уровнем теплоносителя активной зоной, парогенераторами, средствами циркуляции и систему защитного газа (патент на изобретение №2192052, G21C 9/016, опубл.27.10.2002).
Недостатком данного технического решения применительно к установкам с жидкометаллическим теплоносителем является возможность перегрева и разрушения активной зоны реактора при прекращении отвода тепла остаточных тепловыделений при неработающих средствах циркуляции теплоносителя и парогенераторах.
Задачи, решаемые изобретением, – совершенствование конструкции и режимов эксплуатации ядерной энергетической установки и обеспечение ее безопасности.
Технический результат – исключение возможности перегрева и разрушения активной зоны реактора при прекращении отвода тепла от активной зоны реактора при неработающих средствах циркуляции теплоносителя и парогенераторах.
Таким образом, в любом аварийном состоянии ядерной энергетической установки, при котором теплоноситель находится выше обреза тяговых труб, обеспечивается надежный отвод тепла от активной зоны реактора, обеспечивая его безопасность.
Технический результат достигается тем, что ядерная энергетическая установка, содержащая реактор с жидкометаллическим свинцовым теплоносителем или его сплавами, с размещенными под свободным уровнем активной зоной, парогенераторами, средствами циркуляции и систему защитного газа, снабжена установленными по периметру активной зоны трубками Фильда, центральные каналы которых через запорно-регулирующий клапан сообщены с водяным объемом расположенной выше реактора емкости, к верхней части которой подключены охлаждаемые воздухом теплообменные трубы, объединенные верхним коллектором с предохранительным клапаном, а верхний коллектор сообщен с внешними кольцевыми каналами трубок Фильда.
Технический результат достигается тем, что над активной зоной установлены тяговые трубы с более высокими трубами в центральной зоне.
Технический результат достигается тем, что золотник запорно-регулирующего клапана соединен с механизмом его перемещения, корпус которого сообщен с полостью емкости с возможностью закрывания запорно-регулирующего клапана при давлении в емкости, соответствующей температуре насыщения воды, равной или превышающей температуру замерзания жидкометаллического теплоносителя.
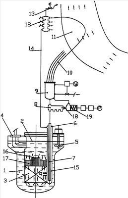
На чертеже представлена схема ядерной энергетической установки, реализующей предлагаемое техническое решение. В ядерном реакторе 1 с жидкометаллическим свинцовым теплоносителем или его сплавами под его свободным уровнем 2 размещены активная зона 3, парогенераторы 4 и средства циркуляции 5. По периметру активной зоны 3 установлены трубки Фильда 6, центральные каналы 7 которых через запорно-регулирующий клапан 8 сообщены с водяным объемом емкости 9, расположенной выше реактора 1. К верхней части емкости 9 подключены охлаждаемые воздухом теплообменные трубы 10, расположенные в воздушной шахте (трубе) 11. Теплообменные трубы 10 объединены верхним коллектором 12, на котором установлен предохранительный клапан 13. Нижняя часть верхнего коллектора 12 сообщена трубопроводами 14 с внешними кольцевыми каналами 15 трубок Фильда 6. Над активной зоной установлены тяговые трубы 16 и 17, причем высота центральных труб 16 больше высоты периферийных труб 17. Золотник 18 запорно-регулирующего клапана 8 соединен с механизмом его перемещения 19, сообщенным с полостью емкости 9.
Работа ядерной энергетической установки в режиме отвода тепла от активной зоны реактора при неработающих средствах циркуляции и парогенераторах осуществляется следующим образом.
При неработающих средствах циркуляции и парогенераторах тепло от активной зоны 3 реактора 1 в аварийных режимах, а также в нормальном режиме, режимах пуска и расхолаживания передается теплоносителю. Нерабочее состояние средств циркуляции (насосов) 5 и парогенераторов 4 формирует сигнал на ввод в действие из состояния «закрыто» в состояние «регулятор» запорно-регулирующего клапана 8, открывая его в первоначальный момент. При этом вода из емкости 9 через клапан 8 поступает во внутренние каналы 7 трубок Фильда 6, установленных по периметру активной зоны 3. Вода подогревается в каналах 7 и поступает во внешние кольцевые каналы 15 трубок Фильда 6, где охлаждает теплоноситель в периферии активной зоны 3. Поскольку температура в центральной части активной зоны 3 и в центральных тяговых трубах 16 выше, чем температура в периферийных тяговых трубах 17 и на периферии активной зоны 3, то за счет разности плотностей формируется движущий напор естественной циркуляции. Развивается циркуляция теплоносителя в активной зоне 3 с подъемным участком в центре и с опускным на периферии, не допуская перегрева активной зоны. Отбирая тепло жидкометаллического теплоносителя через стенку трубки Фильда 6, вода испаряется в кольцевом зазоре и по трубопроводам 14 поднимается и поступает в коллектор 12. Из коллектора 12 пар поступает в теплообменные трубы 10, где передает тепло воздуху, конденсируется и стекает в емкость 9. При необходимости производится подпитка емкости 9 конденсатом. В том случае, если мощность тепловыделений в активной зоне 3 реактора 1 существенно превышает мощность, отводимую в воздушной шахте 11 теплообменными трубами, то происходит срабатывание предохранительных клапанов 13 и отводит пар, образующийся в трубках Фильда 6, в атмосферу. При этом механизм перемещения 19 перемещает золотник 18 запорно-регулирующего клапана 8, обеспечивая максимальный расход воды в трубки Фильда 6 из емкости 9 под статическим перепадом столба воды. При уменьшении количества тепла, выделяющегося в активной зоне 3, предохранительный клапан 13 закрывается, снижается давление в емкости 9 и полостях труб системы, включая трубки Фильда 6. При этом механизм перемещения 19 перемещает золотник 18, поддерживая давление в емкости 9 при величине, превышающей величину, соответствующую температуре насыщения, равную температуре замерзания жидкометаллического теплоносителя. При дальнейшем уменьшении тепловыделений в активной зоне 3 золотник 18 запорно-регулирующего клапана 8 перемещается, прекращая поступление конденсата из емкости 9 в трубки Фильда 6. При этом, если величина тепловыделений в активной зоне 3 реактора 1 превышает величину тепла, отводимого естественным путем от корпуса реактора и других элементов контура, возрастает давление в емкости 9 и механизм перемещения 19 перемещает золотник 18 на «открытие» и система переходит в дискретный периодический режим отвода тепла через теплообменные трубы 10 в воздушной шахте 11. Установка при этом находится в стояночном режиме.
При последующем вводе реактора 1 на энергетический уровень мощности запорно-регулирующий клапан 8 переводится в положение «закрыто», вводятся в работу средства циркуляции (насосы) 5 и парогенераторы 4.
Применение предлагаемого технического решения позволит:
– исключить возможность перегрева и разрушения активной зоны реактора при неработающих средствах циркуляции и парогенераторах за счет пассивных средств;
– обеспечить при необходимости расхолаживание реактора в стояночный режим при нормальной работе ядерной энергетической установки и минимальном расходе энергии на собственные нужды;
– обеспечить при необходимости стояночный режим работы установки и начальный этап ввода реактора на мощность при нормальной работе установки и минимальном расходе энергии на собственные нужды.
Формула изобретения
1. Ядерная энергетическая установка, содержащая реактор с жидкометаллическим свинцовым теплоносителем или его сплавами, с размещенными под свободным уровнем активной зоной, парогенераторами, средствами циркуляции и систему защитного газа, отличающаяся тем, что по периметру активной зоны установлены трубки Фильда, центральные каналы которых через запорно-регулирующий клапан сообщены с водяным объемом расположенной выше реактора емкости, к верхней части которой подключены охлаждаемые воздухом теплообменные трубы, объединенные верхним коллектором с предохранительным клапаном, а верхний коллектор сообщен с внешними кольцевыми каналами трубок Фильда.
2. Ядерная энергетическая установка по п.1, отличающаяся тем, что над активной зоной установлены тяговые трубы с более высокими трубами в центральной зоне.
3. Ядерная энергетическая установка по п.1, отличающаяся тем, что золотник запорно-регулирующего клапана соединен с механизмом его перемещения, корпус которого сообщен с полостью емкости, с возможностью закрывания запорно-регулирующего клапана при давлении в емкости, соответствующей температуре насыщения воды, равной или превышающей температуру замерзания жидкометаллического теплоносителя.
РИСУНКИ
MM4A – Досрочное прекращение действия патента СССР или патента Российской Федерации на изобретение из-за неуплаты в установленный срок пошлины за поддержание патента в силе
Дата прекращения действия патента: 09.08.2008
Извещение опубликовано: 10.07.2010 БИ: 19/2010
|
|