|
|
(21), (22) Заявка: 2006128211/09, 11.02.2005
(24) Дата начала отсчета срока действия патента:
11.02.2005
(30) Конвенционный приоритет:
11.02.2004 KR 10-2004-0008966 07.02.2005 KR 10-2005-0011263
(46) Опубликовано: 20.05.2008
(56) Список документов, цитированных в отчете о поиске:
KR 2001-0092177 А, 24.10.2001. US 5600189 А, 04.02.1997. US 6218921 В1, 17.04.2001. RU 2178215 С1, 10.01.2002. RU 7544 U1, 16.08.1998. RU 2145746 С1, 20.02.2000.
(85) Дата перевода заявки PCT на национальную фазу:
11.09.2006
(86) Заявка PCT:
KR 2005/000388 (11.02.2005)
(87) Публикация PCT:
WO 2005/078754 (25.08.2005)
Адрес для переписки:
191186, Санкт-Петербург, а/я 230, “АРС-ПАТЕНТ”, пат.пов. М.В.Хмаре, рег. № 771
|
(72) Автор(ы):
КАНГ Джонг-Хо (KR), ДЖЕОНГ Хюн-Ке (KR)
(73) Патентообладатель(и):
СЕУЛ НЭЙШНЕЛ ЮНИВЕРСИТИ ИНДАСТРИ ФАУНДЕЙШЕН (KR)
|
(54) ЭЛЕКТРОМАГНИТНЫЙ ПРИВОД И ПРЕРЫВАТЕЛЬ ЦЕПИ, СОДЕРЖАЩИЙ ЭТОТ ПРИВОД
(57) Реферат:
Изобретение относится к области электротехники. Привод содержит полый внутренний кожух и наружный кожух, выполненные из магнитного материала. Наружный кожух расположен концентрично относительно внутреннего кожуха и на радиальном расстоянии от него. Внутренний и наружный постоянные магниты, прилегающие к наружной поверхности внутреннего кожуха и к внутренней поверхности наружного кожуха, соответственно, и установленные с обеспечением заданного промежутка между указанными магнитами, соленоид, установленный с возможностью линейного перемещения в осевом направлении между внутренним и наружным постоянными магнитами, и немагнитный подвижный элемент, имеющий конец, на котором закреплен соленоид, и установленный с возможностью линейного перемещения в осевом направлении между внутренним и наружным постоянными магнитами под действием электромагнитных сил отталкивания, создаваемых в результате взаимодействия между магнитными полями внутреннего и наружного постоянных магнитов и током, протекающим в соленоиде. Выключатель содержит привод и изоляционно-приводную штангу, соединенную с другим концом подвижного элемента и линейно перемещаемую подвижным элементом для выполнения операций замыкания и размыкания. 6 н. и 23 з.п. ф-лы, 21 ил.
Область техники, к которой относится изобретение
Настоящее изобретение относится к приводу и прерывателю цепи (выключателю), применяемым в энергосистемах, а точнее к приводу, использующему электромагнитную силу отталкивания, способному развивать максимальную скорость и усилие срабатывания при малых размерах и массе, и к выключателю, успешно применяемому для высоких и сверхвысоких напряжений и обладающему великолепными разрывными характеристиками при использовании привода, также пригодного для выключателей низкого напряжения.
Уровень техники
Прерыватели цепи или выключатели устанавливаются, главным образом, на передающем конце и на приемном конце линий электропередачи. Выключатель замыкает и размыкает цепь тока в нормальном режиме при отсутствии неисправностей, но он также разрывает цепь тока в случае аварии, например короткого замыкания, защищая таким образом систему и различные силовые устройства (нагрузку).
Выключатели делятся на вакуумные, масляные и газовые в зависимости от того, что используется в качестве изолирующей и/или дугогасящей среды.
Когда выключатель разрывает ток короткого замыкания, он должен погасить дугу, возникающую между двумя контактами выключателя. В зависимости от способа гашения дуги газовые выключатели делятся на выключатели с автопневматическим, вращательным, терморасширительным и гибридным типом гашения дуги.
На фиг.1 и 2 показан пример газового выключателя с автопневматическим гашением дуги.
В газовом выключателе с автопневматическим гашением дуги в качестве дугогасящего и изоляционного газа используется газ SF6 (гексафторид серы, именуемый далее дугогасящим газом), применяемый, главным образом, в выключателях сверхвысокого напряжения (обычно 72,5 кВ и выше).
Как показано на фиг.1 и 2, газовый выключатель с автопневматическим гашением дуги имеет разрывную секцию 10 для разрыва тока короткого замыкания и привод 50 для приведения в действие разрывной части 10.
Разрывная секция 10 состоит из неподвижного элемента и подвижного элемента и заключена в сосуде, заполненном газом SF6.
Неподвижный элемент разрывной части 10 состоит из неподвижного дугогасящего контакта 11, неподвижного главного контакта 12, изоляционного кожуха 13, неподвижного поршня 14, опорного элемента 15 и опорного изолятора 16.
Подвижный элемент разрывной части 10 состоит из подвижного дугогасящего контакта 21, подвижного главного контакта 22, изоляционного сопла 23, распылительного цилиндра 24 и изоляционно-приводной штанги 25.
Приводная штанга 51 привода 50 соединена с изоляционно-приводной штангой 25. Кроме того, подвижный дугогасящий контакт 21, подвижный главный контакт 22, изоляционное сопло 23 и распылительный цилиндр 24 соединены в единую конструкцию с изоляционно-приводной штангой 25.
Соответственно, когда срабатывает привод 50, изоляционно-приводная штанга 25 перемещается приводной штангой 51. При этом когда изоляционно-приводная штанга 25 перемещается, то вместе с ней перемещаются подвижный дугогасящий контакт 21, подвижный главный контакт 22, изоляционное сопло 23 и распылительный цилиндр 24, выполняя операцию замыкания (для пропускания тока) и операцию размыкания (для прерывания тока).
В частном случае, при нормальных условиях поддерживается замкнутое положение, и через выключатель протекает нормальный ток, как показано на фиг.1.
Если же в энергосистеме происходит авария, и в цепи протекает ток короткого замыкания, в несколько раз (например, в 10 раз) превышающий нормальный ток, то ток короткого замыкания вызывает срабатывание привода 50. Тогда, как показано на фиг.2, привод 50 втягивает приводную штангу 51, которая в свою очередь тянет за собой изоляционно-приводную штангу 25. Соответственно, подвижный дугогасящий контакт 21 отделяется от неподвижного дугогасящего контакта 11, а подвижный главный контакт 22 от неподвижного главного контакта 12.
Одновременно распылительный цилиндр 24 перемещается навстречу неподвижному поршню 14, вследствие чего дугогасящий газ в распылительном цилиндре 24 сжимается. Сжатый дугогасящий газ проходит через отверстие 17 и проток и выбрасывается по направлению стрелок на фиг.2, быстро гася плазму дуги, образовавшейся между неподвижным дугогасящим контактом 11 и подвижным дугогасящим контактом 21, и прерывая ток (разомкнутое состояние).
В вышеописанном выключателе операция размыкания должна происходить с большой скоростью, чтобы прервать ток короткого замыкания и быстро восстановить изоляцию между электродами. Однако поскольку дуга не полностью гаснет даже при увеличении длины хода (SL) из-за плазмы дуги, то дугогасящий газ должен выбрасываться, как описано выше. Соответственно, привод 50 должен развивать усилие, требующееся для сжатия дугогасящего газа, т.е. усилие, необходимое для перемещения распыляющего цилиндра 24 навстречу поршню 14. Иными словами, поскольку чтобы увеличить скорость размыкания, нужно значительно увеличить приводное усилие, привод 50 должен развивать большее усилие и скорость.
Например, выключатель для линий электропередачи высокого и сверхвысокого напряжения (типично 365 кВ и более) имеет длину хода (SL) около 250 мм и нуждается в силе и скорости, достаточных для выполнения операций в предельно короткое время, например 35 мс.
Выключатели тока для высоких и сверхвысоких напряжений обычно оборудуются гидравлическими или пневматическими приводами. Однако стоимость таких приводов составляет около 1/3 стоимости всего выключателя, и корейская промышленность большей частью зависит от их импорта. Кроме того, недостаток гидравлических и пневматических приводов состоит в утечке рабочей среды при изменении окружающей температуры. К тому же, поскольку привод состоит из многих частей, он не сможет работать, даже если только одна часть выйдет из строя.
Соответственно, во всем мире ведутся работы над созданием привода, способного заменить гидравлические и пневматические приводы. В результате этих исследовательских работ стали применяться такие приводы, как пружинный привод (со спиральной пружиной), электродвигательный привод (представляющий собой систему преобразования вращательного движения в линейное с использованием электродвигателя) и привод с постоянным магнитом (РМА).
Так как пружинный привод представляет собой систему, в которой энергия получается посредством высвобождения в нужный момент энергии сжатой пружины, стоимость изготовления такого привода невелика. Однако из-за того, что упругая сила пружины непостоянна, надежность работы такого привода низка. В соответствии с этим применение пружинного привода в выключателях высокого и сверхвысокого напряжения, которые должны выбрасывать дугогасящий газ, и в которых, несмотря на это, вероятность отказа выключателя очень велика, затруднительно.
Электродвигательный привод недорог по сравнению с гидравлическим и пневматическим приводом. Однако он все-таки дорог, и с его помощью трудно развить большое усилие. Соответственно, хотя электродвигательный привод может быть применен для низких напряжений, он не обладает характеристиками, достаточными для работы при высоких и сверхвысоких напряжениях.
Привод РМА перемещает подвижный элемент, используя энергию магнитного поля, содержащуюся в постоянном магните, и электромагнитную энергию магнитного поля, создаваемого током, протекающим в соленоиде. Соответственно, он имеет очень простую конструкцию и хорошие эксплуатационные свойства, должен работать стабильно и устойчиво, так что в последнее время нашел значительное применение в качестве привода для низковольтных выключателей.
Однако, поскольку привод РМА представляет собой систему, приводимую в действие энергией магнитного поля постоянного магнита и энергией магнитного поля, создаваемого током, протекающим в соленоиде, магнитопровод для магнитного поля должен быть выполнен из магнитного материала (железный сердечник), а перемещаемый подвижный элемент также должен быть выполнен из магнитного материала. Соответственно, если привод должен развивать большую мощность для получения большей разрывной способности, то потребуется генерация более сильных магнитных полей и увеличение объема магнитного материала настолько, чтобы магнитные поля не насыщались (состояние магнитного насыщения наступает тогда, когда магнитный материал намагничивается до такой степени, что он перестает намагничиваться даже при увеличении протекающего тока, и усилие достигает определенного предела и не увеличивается более даже при непрерывном увеличении тока). Поэтому увеличиваются габариты привода. Далее, поскольку магнитная индукция, создаваемая постоянным магнитом и током в соленоиде, обратно пропорциональна квадрату длины немагнитного промежутка, то это обстоятельство ограничивает возможность применения привода РМА в выключателях высокого и сверхвысокого напряжения, в которых промежуток между контактными точками разрывной секции велик. Например, если привод РМА применяется для низковольтного выключателя с величиной хода около 20 мм, оптимальные габариты привода составляют 200×250×100 мм (ширина × длина × толщина), а его вес составит 10 кг и даже больше. Соответственно, если привод РМА использовать для высоковольтного выключателя, то его габариты и масса увеличатся и станут значительно больше, чем у гидравлического или пневматического привода. Соответственно увеличится и стоимость изготовления такого привода. Поэтому привод РМА не применяется в выключателях высокого и сверхвысокого напряжения.
Раскрытие изобретения
Техническая задача
Соответственно, настоящее изобретение направлено на решение вышеуказанной проблемы, свойственной известным решениям. Задача изобретения состоит в создании привода, использующего электромагнитную силу, способного развивать максимальную скорость и усилие срабатывания при малых размерах и массе, и выключателя, успешно применяемого для высоких и сверхвысоких напряжений, обладающего великолепными разрывными характеристиками при использовании привода, также применимого для выключателей низкого напряжения.
Техническое решение
Для решения этой задачи согласно первому варианту реализации изобретения предложен привод, содержащий полый внутренний кожух, выполненный из магнитного материала; наружный кожух, выполненный из магнитного материала и установленный концентрично с внутренним кожухом на радиальном расстоянии снаружи от внутреннего кожуха; внутренний и наружный постоянные магниты, прилегающие к наружной поверхности внутреннего кожуха и к внутренней поверхности наружного кожуха, соответственно, и расположенные с обеспечением заданного промежутка между указанными магнитами; соленоид, установленный с возможностью линейного перемещения в осевом направлении между внутренним и наружным постоянными магнитами; и немагнитный подвижный элемент, имеющий конец, на котором закреплен соленоид, и установленный с возможностью линейного перемещения в осевом направлении между внутренним и наружным постоянными магнитами под действием электромагнитных сил отталкивания, создаваемых магнитными полями внутреннего и наружного постоянных магнитов и протекающим в соленоиде током.
Согласно первому варианту реализации изобретения конструкция привода, при которой подвижным элементом управляют силы, создаваемые магнитным полем постоянных магнитов и электрическим полем тока в соленоиде, обеспечивает высокие скорости и усилия привода даже при небольших габаритах и массе.
Согласно первому варианту реализации изобретения немагнитный подвижный элемент содержит подвижное кольцо, имеющее конец, на котором закреплен соленоид, и установленное с возможностью линейного перемещения в осевом направлении между внутренним и наружным постоянными магнитами; и подвижный шток, установленный с возможностью линейного перемещения во внутреннем кожухе в осевом направлении посредством подвижного кольца, прикрепленного к концу указанного штока.
Согласно первому варианту реализации изобретения внутренний и наружный постоянные магниты выполнены в виде сверхпроводящих магнитов.
Согласно первому варианту реализации изобретения привод содержит первую и вторую концевые пластины из магнитного материала, замыкающие оба конца внутреннего и наружного кожуха для обеспечения беспрепятственного прохождения магнитного потока.
Изобретение также предлагает выключатель, содержащий полый внутренний кожух, выполненный из магнитного материала; наружный кожух, выполненный из магнитного материала и установленный концентрично с внутренним кожухом на радиальном расстоянии снаружи от внутреннего кожуха; внутренний и наружный постоянные магниты, прилегающие к наружной поверхности внутреннего кожуха и к внутренней поверхности наружного кожуха соответственно и установленные с обеспечением заданного промежутка между указанными магнитами; соленоид, установленный с возможностью линейного перемещения в осевом направлении между внутренним и наружным постоянными магнитами; немагнитный подвижный элемент, имеющий конец, на котором закреплен соленоид, и установленный с возможностью линейного перемещения в осевом направлении между внутренним и наружным постоянными магнитами под действием электромагнитных сил отталкивания, создаваемых магнитными полями внутреннего и наружного постоянных магнитов и протекающим в соленоиде током; и изоляционно-приводную штангу, соединенную с другим концом подвижного элемента и линейно перемещаемую подвижным элементом для выполнения операций замыкания и размыкания.
В предлагаемом в изобретении выключателе в качестве внутреннего и наружного постоянных магнитов могут быть применены сверхпроводящие магниты.
В предлагаемом в изобретении выключателе немагнитный подвижный элемент может содержать подвижное кольцо, имеющее конец, на котором закреплен соленоид, и установленное с возможностью линейного перемещения в осевом направлении между внутренним и наружным постоянными магнитами; и подвижный шток, установленный с возможностью линейного перемещения во внутреннем кожухе, прикрепленный одним концом к подвижному кольцу, а другим концом – к изоляционно-приводной штанге, причем указанный шток линейно перемещается в осевом направлении посредством подвижного кольца, с перемещением изоляционно-приводной штанги.
Согласно одному варианту реализации изобретения выключатель может далее содержать первую и вторую концевые пластины из магнитного материала, замыкающие оба конца внутреннего и наружного кожуха для обеспечения беспрепятственного прохождения магнитного потока.
Согласно одному варианту реализации изобретения выключатель может далее содержать амортизирующие средства, расположенные вблизи участка, находящегося в конце траектории размыкающего движения подвижного элемента, и поглощающие силу удара.
Согласно предпочтительному варианту реализации изобретения амортизирующие средства выполнены в виде спиральной пружины сжатия.
Согласно второму варианту реализации изобретения предлагается привод, содержащий корпус, выполненный из магнитного материала, в котором образована кольцевая камера; кольцевые внутренний и наружный постоянные магниты, концентрически установленные с радиальным промежутком между ними в указанной камере корпуса; и подвижный элемент с кольцевым соленоидом, установленный с возможностью линейного перемещения в осевом направлении между внутренним и наружным постоянными магнитами и линейно перемещаемый в осевом направлении между внутренним и наружным постоянными магнитами под действием электромагнитных сил отталкивания, создаваемых магнитными полями внутреннего и наружного постоянных магнитов и протекающим в соленоиде током.
Согласно второму варианту реализации изобретения на обоих концах внутреннего и наружного постоянных магнитов могут быть предусмотрены первые кольцевые внутренний и наружный дополнительные постоянные магниты и вторые кольцевые внутренний и наружный дополнительные постоянные магниты соответственно, а подвижный элемент объединен с соленоидом посредством размещения первого и второго магнитных колец на обоих концах соленоида соответственно.
Согласно одному варианту реализации изобретения полярности первых внутреннего и наружного дополнительных постоянных магнитов и вторых внутреннего и наружного дополнительных постоянных магнитов направлены противоположно полярностям внутреннего и наружного постоянных магнитов.
Согласно одному варианту реализации изобретения в качестве внутреннего и наружного постоянных магнитов могут быть применены сверхпроводящие магниты.
Согласно второму варианту реализации изобретения соленоид и первые и вторые магнитные кольца заключены в изоляционный корпус для объединения с ним.
Согласно одному варианту реализации изобретения изоляционный корпус предпочтительно выполнен из пластика.
Согласно второму варианту реализации изобретения оба конца подвижного элемента оснащены первым и вторым амортизирующими средствами для предотвращения ударов концов подвижного элемента о корпус в конце траектории осевого перемещения подвижного элемента.
Согласно одному варианту реализации изобретения первое и второе амортизирующие средства выполнены в виде спиральных пружин сжатия.
В альтернативном варианте первое и второе амортизирующие средства выполнены в виде спиральных пружин сжатия и расположены между внутренним и наружным постоянными магнитами.
Согласно второму варианту реализации изобретения к одному концу подвижного элемента присоединен ряд немагнитных стержней, на концах которых установлен опорный элемент для соединения с приводным компонентом.
Согласно другому варианту реализации изобретения предлагается выключатель с приводом по второму варианту, содержащий изоляционно-приводную штангу, присоединенную к подвижному элементу для обеспечения ее линейного перемещения посредством подвижного элемента привода, тем самым выполнения операций размыкания и замыкания.
Согласно третьему варианту реализации изобретения предлагается привод, содержащий ряд приводимых в действие электромагнитной силой исполнительных частей, установленных в корпусе из магнитного материала, причем каждая из исполнительных частей содержит кольцевые внутренний и наружный постоянные магниты, концентрически установленные с радиальным промежутком между указанными магнитами; подвижный элемент с кольцевым соленоидом, установленный с возможностью линейного перемещения в осевом направлении между внутренним и наружным постоянными магнитами и линейно перемещаемый в осевом направлении между внутренним и наружным постоянными магнитами под действием электромагнитных сил отталкивания, создаваемых магнитными полями внутреннего и наружного постоянных магнитов и протекающим в соленоиде током; ряд стержней, присоединенных к подвижным элементам; и несущий элемент, соединяющий концы стержней.
Согласно третьему варианту реализации изобретения на обоих концах внутреннего и наружного постоянных магнитов предусмотрены первые кольцевые внутренний и наружный дополнительные постоянные магниты и вторые кольцевые внутренний и наружный дополнительные постоянные магниты соответственно, а подвижный элемент объединен с соленоидом посредством размещения первого и второго магнитных колец на обоих концах соленоида соответственно.
Согласно одному варианту реализации изобретения в качестве внутреннего и наружного постоянных магнитов могут быть применены сверхпроводящие магниты.
Согласно еще одному варианту реализации изобретения предлагается выключатель с приводом по третьему варианту изобретения, содержащий изоляционно-приводную штангу, присоединенную к несущему элементу для обеспечения ее линейного перемещения посредством подвижных элементов, тем самым выполнения операций размыкания и замыкания.
Краткое описание чертежей
Вышеописанные и прочие цели, особенности и преимущества настоящего изобретения станут более ясными из нижеследующего подробного описания в сочетании с прилагаемыми чертежами, а именно:
фиг.1 – разрез известного выключателя с автопневматическим гашением дуги в замкнутом состоянии;
фиг.2 – увеличенный вид разрывной секции, изображенной на фиг.1, в состоянии гашения дуги;
фиг.3 – разрез привода в соответствии с первым предпочтительным вариантом реализации изобретения;
фиг.4 – разрез фиг.3 в плоскости А-А;
фиг.5-7 – последовательные изображения выключателя с приводом по первому варианту реализации изобретения при переключении из замкнутого положения в разомкнутое положение с переходом через положение гашения дуги;
фиг.8 – трехмерное изображение в разрезе конструкции привода согласно второму предпочтительному варианту реализации изобретения;
фиг.9 и 10 – виды деталей, показывающие конструкцию элементов привода согласно второму варианту реализации изобретения;
фиг.11 – разрез выключателя, оснащенного приводом в соответствии со вторым вариантом реализации изобретения;
фиг.12-15 – разрезы, изображающие последовательные этапы работы привода согласно второму варианту реализации изобретения;
фиг.16 и 17 – графики, изображающие характеристики силы, действующей на подвижный элемент, и тока, когда привод согласно второму варианту реализации изобретения оснащен только внутренним и наружным постоянными магнитами без первого и второго магнитных колец и дополнительных постоянных магнитов;
фиг.18 и 19 – графики, изображающие характеристики силы и тока, когда привод согласно второму варианту реализации изобретения оснащен также первым и вторым магнитными кольцами и дополнительными постоянными магнитами; и
фиг.20 и 21 – вид в плане и трехмерное изображение в разрезе электромагнитного привода согласно третьему варианту реализации изобретения соответственно.
Осуществление изобретения
Ниже описываются предпочтительные варианты реализации изобретения со ссылками на прилагаемые чертежи. В нижеследующем описании настоящего изобретения подробное описание известных функций и конструкций, используемых в нем, будет опущено, если оно будет затемнять сущность предлагаемого изобретения.
Пример 1
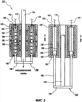
На фиг.3 и 4 изображен привод в соответствии с первым предпочтительным вариантом реализации изобретения. На фиг.3 конструкция привода представлена в разрезе, а на фиг.4 изображен разрез в плоскости А-А по фиг.3.
На фиг.3 справа привод показан в состоянии перед срабатыванием (т.е. при замкнутом состоянии), а слева – в состоянии после срабатывания (т.е. при разомкнутом состоянии).
Как показано на фиг.3 и 4, привод 100 в соответствии с изобретением является электромагнитным приводом и состоит из внутреннего кожуха 110, наружного кожуха 120, внутреннего и наружного постоянных магнитов 130, 132, соленоида 140 и подвижного элемента 150.
Внутренний и наружный кожухи 110, 120 выполнены из магнитного материала и расположены концентрически с заданным радиальным промежутком между ними.
Внутренний постоянный магнит 130 прилегает к наружной поверхности внутреннего кожуха 110, а наружный постоянный магнит 132 прилегает к внутренней поверхности наружного кожуха 120. Соответственно, внутренний и наружный постоянные магниты 130, 132 разделены между собой заданным радиальным промежутком.
Соленоид 140 может линейно перемещаться в осевом направлении между внутренним и наружным постоянными магнитами 130, 132. Ток в соленоид 140 поступает по питающей линии 142.
Подвижный элемент 150 выполнен из немагнитного материала, и соленоид 140 установлен на его конце. Поэтому подвижный элемент 150 линейно перемещается в осевом направлении между внутренним и наружным постоянными магнитами 130, 132 в результате взаимодействия магнитного поля, создаваемого внутренним и наружным постоянными магнитами 130, 132 и электрического поля, создаваемого соленоидом 140, когда в соленоид 140 подается ток.
В варианте, изображенном на фиг.3 и 4 подвижный элемент 150 содержит подвижное кольцо 152 и подвижный шток 154.
Более конкретно, подвижное кольцо 152 может линейно перемещаться в осевом направлении между внутренним и наружным постоянными магнитами 130, 132. Соленоид 140 расположен на конце подвижного кольца 152. Соответственно, когда в соленоид 140 подается ток, подвижное кольцо 152 линейно перемещается в осевом направлении вместе с соленоидом 140.
Подвижный шток 154 может линейно перемещаться в середине внутреннего кожуха 110. В то же время один конец подвижного штока 154 связан с подвижным кольцом 152. Поэтому подвижный шток 154 линейно перемещается в осевом направлении вместе с подвижным кольцом 152.
В варианте реализации изобретения, показанном на фиг.3, подвижное кольцо 152 и подвижный шток 154 объединены в общую конструкцию соединительными стержнями 156 и соединительной пластиной 158.
Несколько соединительных стержней 156 отходят от подвижного кольца 152, а соединительная пластина 158 соединена с концами соединительных стержней 156.
Подвижный шток 154 отходит от центра соединительной пластины 158 и входит при своем линейном перемещении во внутренний кожух 110.
С обоих концов внутреннего и наружного кожухов 110, 120 в промежутках между ними расположены первая и вторая концевые пластины 160, 162. Концевые пластины 160, 162 выполнены из магнитного материала и предназначены для замыкания внутреннего и наружного кожухов 110, 120 с обеих сторон, обеспечивая тем самым возможность беспрепятственного прохождения магнитного потока между внутренним и наружным кожухами 110, 120. При этом соединительные стержни 156 проходят сквозь вторую концевую пластину 162 и соединяются с соединительной пластиной 158.
Привод вышеописанной конструкции представляет собой электромагнитный привод (EMFA), в котором подвижный элемент 150 линейно перемещается под действием сил, возникающих согласно правилу левой руки в результате взаимодействия между магнитным полем постоянных магнитов 130, 132 и током, протекающим в соленоиде 140.
Как показано на левом чертеже на фиг.3, когда в катушку соленоида 140 подается ток, то в результате взаимодействия между магнитным полем постоянных магнитов 130, 132 и электрическим полем тока в соленоиде 140 возникает сила, которая перемещает соленоид 140 в осевом направлении. В результате соленоид 140 перемещается в осевом направлении вместе с подвижным элементом 150.
Более конкретно, когда ток в катушке соленоида 140 течет в направлении, показанном на фиг.3 слева, к соленоиду 140 приложена сила, направленная вниз, в результате чего соленоид 140 и подвижное кольцо 152 перемещаются вниз.
Когда подвижное кольцо 152 движется вниз, и соединительные стержни 156, присоединенные к подвижному кольцу 152, движутся вниз вместе с ним, возникает состояние, изображенное на фиг.3 справа.
В приводе 100 вышеописанной конструкции сила, действующая в осевом направлении, создается при протекании тока в катушке соленоида 140, расположенного в пространстве, образованном магнитным полем постоянных магнитов 130, 132, перпендикулярно к магнитному полю.
Как указывалось выше, поскольку обычный привод РМА, соответствующий уровню техники, является системой перемещения подвижного элемента силами, создаваемыми магнитным полем постоянного магнита и магнитным полем тока, протекающего в соленоиде, магнитопровод, по которому замыкаются магнитные поля, должен быть выполнен из магнитного материала, и подвижный элемент также должен быть выполнен из магнитного материала.
Соответственно, чтобы увеличить усилие привода, в соленоид нужно подать больший ток. Однако из-за насыщения магнитного материала нельзя достичь заданного усилия или увеличить его, даже если неограниченно увеличивать силу тока. Вдобавок, поскольку для решения проблемы нужно увеличивать размеры магнитопровода, привод становится слишком большим. Далее, поскольку магнитная индукция, создаваемая постоянным магнитом и током в соленоиде, обратно пропорциональна квадрату длины немагнитного промежутка, это ограничивает возможность применения привода РМА в выключателях высокого и сверхвысокого напряжения, в которых промежуток между контактными точками разрывной секции велик.
В приводе же, предлагаемом в изобретении, ток течет в направлении, перпендикулярном к направлению магнитного поля, и в соответствии с правилом левой руки на подвижный элемент действует сила F= (J×B)du, где J – плотность тока, В – магнитная индукция.
Магнитное поле, создаваемое постоянным магнитом в известном приводе, сталкивается с проблемой насыщения магнитного материала, описанной выше, а магнитная индукция сильно снижается с увеличением длины немагнитного промежутка. В то же время в приводе 100, предлагаемом в изобретении, в ситуации, когда магнитное поле создается постоянными магнитами в области, прилегающей к соленоиду 140, а вектор плотности тока в соленоиде 140 перпендикулярен к направлению магнитного поля, и используется электромагнитная отталкивающая сила в соответствии с правилом левой руки, ток, протекающий в соленоиде 140, непосредственно преобразуется в силу. Соответственно, при увеличении тока в соленоиде 140 усилие увеличивается в такой же степени.
Соответственно, поскольку привод 100, предлагаемый в изобретении, приводится в действие электромагнитной силой отталкивания, создаваемой взаимодействием внешней магнитной индукции и тока в соленоиде 140, а не электромагнитной силой, создаваемой магнитным полем тока соленоида 140 в немагнитном промежутке, можно получить большее усилие на приводе просто за счет увеличения числа витков в соленоиде 140 или увеличения тока, не опасаясь насыщения магнитного материала под действием электромагнитных сил, что позволит радикально уменьшить габариты и вес привода. Иными словами, можно получить значительно большее усилие на приводе при тех же габаритах и массе.
Между тем, в промежутке между подвижным элементом и железным сердечником (статором) в известном из уровня техники приводе РМА должна быть обеспечена достаточная магнитная индукция. Поскольку магнитная индукция обратно пропорциональна квадрату длины немагнитного промежутка, то для создания требуемой магнитной индукции нужно увеличивать ток в катушке. Соответственно, возрастет индуктивность, т.е. начальная скорость срабатывания станет недопустимо мала. В то же время в приводе 100, предлагаемом в изобретении, начальная скорость срабатывания очень велика, поскольку электромагнитная сила отталкивания от внешнего магнитного поля возникает в тот самый момент, когда в соленоид 140 подается ток.
На фиг.5-7 представлен предпочтительный вариант конструкции выключателя, предлагаемого в изобретении, в котором использован вышеописанный привод, причем на фиг.5 выключатель показан в замкнутом состоянии, на фиг.6 – в состоянии гашения дуги, а на фиг.7 – в окончательно разомкнутом состоянии.
На чертежах конструктивные элементы, совпадающие с соответствующими элементами фиг.1-4, обозначены теми же номерами, а совпадающие объяснения будут опущены.
Как показано на фиг.5-7, в предлагаемом согласно изобретению выключателе изоляционно-приводная штанга 25 соединена с концом подвижного элемента 150 привода 100. Поэтому изоляционно-приводная штанга 25 перемещается в осевом направлении при перемещении подвижного элемента 150, осуществляя при этом операции замыкания и размыкания.
Конкретно, один конец изоляционно-приводной штанги 25 соединен с концом подвижного штока 154 подвижного элемента 150 осью 170.
В выключателе в данном варианте конец изоляционно-приводной штанги 25 может соединяться с концом подвижного штока 154 подвижного элемента 150 непосредственно, как показано на фиг.5-7, или через соединительный механизм.
В выключателе в данном варианте амортизатор 180 предпочтительно располагается в области, находящейся в конце хода размыкания подвижного элемента 150. Амортизатор 180 служит для поглощения или смягчения удара в результате столкновения подвижного кольца 152 подвижного элемента 150 со второй концевой пластиной 162, когда подвижный элемент 150 движется в направлении размыкания. Как показано на фигурах, амортизатор 180 может представлять собой спиральную пружину сжатия.
Выключатель, сконструированный описанным выше образом, оснащен приводом 100 в соответствии с первым вариантом реализации изобретения. Поскольку операция размыкания выключателя уже рассмотрена подробно со ссылками на фиг.1 и 2, а работа привода 100 была описана со ссылками на фиг.3 и 4, совпадающие объяснения будут опущены.
Сначала, когда в энергосистеме происходит авария, и в замкнутом выключателе, изображенном на фиг.5, протекает ток короткого замыкания, в несколько раз превышающий нормальное значение тока, этот ток проходит через соленоид 140 привода 100. Затем, как показано на фиг.6, когда соленоид 140 и подвижный элемент 150 начинают двигаться, они тянут за собой изоляционно-приводную штангу 25. При этом подвижный дугогасящий контакт 21 отходит от неподвижного дугогасящего контакта 11, а подвижный главный контакт 22 отходит от неподвижного главного контакта 12. Одновременно распылительный цилиндр 24 перемещается навстречу неподвижному поршню 14, вследствие чего дугогасящий газ в распылительном цилиндре 24 сжимается. Сжатый дугогасящий газ проходит через отверстие 17 и проток 18, гася плазму дуги, образовавшейся между неподвижным дугогасящим контактом 11 и подвижным дугогасящим контактом 21.
После этого, когда подвижный элемент 150 отходит дальше, отводя за собой изоляционно-приводную штангу 25, возникает полностью разомкнутое состояние, изображенное на фиг.7.
При этом в конце движения подвижного элемента 150 конец подвижного элемента 150 наталкивается на амортизатор 180, поглощающий силу удара. Соответственно, поскольку скорость движения подвижного элемента 150 на последнем этапе операции размыкания снижается, подвижное кольцо 152 подвижного элемента 150 не сталкивается со второй концевой пластиной 162.
Как уже говорилось выше, требуются достаточно большие усилия и высокие скорости, чтобы прервать ток короткого замыкания и быстро восстановить изоляцию между электродами. В частности, для выключателей высокого и сверхвысокого напряжения с высокой разрывной мощностью требуется привод, развивающий очень большое усилие.
В выключателе, предлагаемом в изобретении, нет необходимости учитывать насыщение магнитного материала, поскольку в нем используется привод 100, основанный на принципе электромагнитной отталкивающей силы. Соответственно, поскольку можно увеличивать приводное усилие просто за счет увеличения числа витков соленоида 140 или увеличения силы тока, можно получить значительно большее усилие на приводе при тех же габаритах и весе привода. Поэтому предлагаемый в изобретении привод имеет очень высокую начальную скорость.
Таким образом, выключатель с приводом 100, предлагаемый в изобретении, может иметь великолепные эксплуатационные характеристики в сетях с напряжением 365 кВ и выше в качестве выключателя для высоких и сверхвысоких напряжений, при которых было бы затруднительно применить привод, известный из уровня техники. В частности, выключатель, предлагаемый в изобретении, может иметь великолепные эксплуатационные характеристики в качестве газового выключателя, который должен развивать энергию также для сжатия дугогасящего газа, и в качестве газового выключателя с автопневматическим гашением дуги.
Далее, поскольку размер и действующее усилие предлагаемого в изобретении выключателя можно увеличивать или уменьшать, изменяя число витков катушки соленоида и т.п., то такой выключатель можно применять в качестве выключателя малого веса и размера для низкого напряжения, так же как и в качестве выключателя для высоких и сверхвысоких напряжений.
Хотя в вышеприведенном изложении в качестве примера был описан изображенный на чертежах выключатель с автопневматическим типом гашения дуги, привод, предлагаемый в изобретении, может быть применен в большинстве выключателей, там, где требуются большие усилия и высокие скорости, например, в вакуумных выключателях, масляных выключателях, в выключателях с терморасширительным и гибридным типом гашения дуги и т.д. с очень высокой эффективностью.
Пример 2
На фиг.8-10 показан привод, соответствующий второму варианту реализации изобретения. Привод, соответствующий второму варианту представляет собой модификацию электромагнитного привода, соответствующего первому варианту реализации изобретения.
Как показано на фиг.8, привод 200, соответствующий второму варианту, состоит из магнитного корпуса 210, охватывающего расположенную внутри него кольцевую камеру 211, кольцевого внутреннего постоянного магнита 220 и кольцевого наружного постоянного магнита 230, концентрически установленных с заданным радиальным промежутком между ними в камере 211 корпуса 210, и кольцевого подвижного элемента 240 с кольцевым соленоидом 241, который может линейно перемещаться в осевом направлении между внутренним и наружным постоянными магнитами 220, 230.
Подвижный элемент 240 с кольцевым соленоидом 241 линейно перемещается в осевом направлении между внутренним и наружным постоянными магнитами 220, 230 под действием сил, создаваемых магнитными полями внутреннего и наружного постоянных магнитов 220, 230 и электрическим полем тока в соленоиде 241, когда в соленоид 241 подан ток.
В предпочтительном варианте, чтобы установить внутренний и наружный постоянные магниты 220, 230 и подвижный элемент 240, корпус 210 разделен на первый корпус 210а и второй корпус 210b, соединенные между собой,
В этом варианте на обеих сторонах соленоида 241 подвижного элемента 240 могут быть установлены первое магнитное кольцо 242 и второе магнитное кольцо 243, объединенные с соленоидом 241. Объединение соленоида 241 и первого и второго магнитных колец 242, 243 может быть осуществлено путем заключения соленоида 241 и первого и второго магнитных колец 242, 243 в изолирующий корпус 244. Размеры (длины) первого и второго магнитных колец 242, 243 могут различаться между собой в зависимости от удерживающей силы приводимого в движение тела. Например, длины могут быть различны вследствие различия между удерживающей силой, требующейся для длительного удержания выключателя в замкнутом состоянии, и удерживающей силой, требующейся для длительного удержания выключателя в разомкнутом состоянии.
Первые кольцевые внутренний и наружный дополнительные постоянные магниты 251, 252 и вторые кольцевые внутренний и наружный дополнительные постоянные магниты 255, 256 могут быть соответственно предусмотрены с обеих сторон внутреннего и наружного постоянных магнитов 220, 230, соответственно, для первого и второго магнитных колец 242, 243.
Полярности первых внутреннего и наружного дополнительных постоянных магнитов 251, 252 и вторых внутреннего и наружного дополнительных постоянных магнитов 255, 256 должны быть направлены противоположно полярностям внутреннего постоянного магнита 220 и наружного постоянного магнита 230. Таким образом, магнитные силовые линии между первыми внутренним и наружным дополнительными постоянными магнитами 251, 252 и магнитные силовые линии между вторыми внутренним и наружным дополнительными постоянными магнитами 255, 256 направлены навстречу магнитным силовым линиям между внутренним постоянным магнитом 220 и наружным постоянным магнитом 230. Благодаря этому, когда подвижный элемент 240 движется вверх по фиг.8, первое магнитное кольцо 242 удерживается магнитными силами около первых внутреннего и наружного дополнительных постоянных магнитов 251, 252, так что направленное вверх движение подвижного элемента 240 будет непрерывно продолжаться даже в случае прерывания подачи тока в соленоид 241. Аналогично, когда подвижный элемент 240 движется вниз по фиг.8, второе магнитное кольцо 243 удерживается магнитными силами около вторых внутреннего и наружного дополнительных постоянных магнитов 255, 256, так что направленное вниз движение подвижного элемента 240 будет непрерывно продолжаться даже в случае прерывания подачи тока в соленоид 241.
К одной стороне подвижного элемента 240 (верхней стороне на фиг.8) прикреплено несколько немагнитных стержней 271. На концах немагнитных стержней 271 может быть установлен несущий элемент 281. На несущем элементе 281 имеется соединительная деталь 281а, в которой образовано отверстие 281b. Соединительная деталь 281а прикреплена к приводному компоненту, такому как выключатель, через отверстие 281b.
К другой стороне подвижного элемента 240 (нижней стороне на фиг.8) может быть также прикреплено несколько немагнитных стержней 272. Немагнитные стержни 272 могут быть соединены с несущим элементом 282.
Чтобы конец подвижного элемента не ударился о корпус 210 в конце траектории осевого перемещения подвижного элемента 240, с обеих сторон подвижного элемента 240 могут быть предусмотрены первый и второй амортизаторы 261, 262. В данном варианте первый и второй амортизаторы 261, 262 представляют собой спиральные пружины сжатия и расположены между внутренним и наружным постоянными магнитами 220, 230. Первый и второй амортизаторы 261, 262 не обязательно должны быть такими, какие представлены на фиг.8. Например, снаружи привода 100 может быть установлен гидравлический или пневматический амортизатор. Кроме того, амортизаторы могут быть расположены с наружной стороны корпуса 210, а не с внутренней, как показано на фиг.8.
На фиг.9 и 10 представлены детальные виды конструктивных элементов, показанных на фиг.8.
На фиг.9 представлены конкретные формы корпуса 210, внутреннего и наружного постоянных магнитов 220, 230, первых внутреннего и наружного дополнительных постоянных магнитов 251, 252 и вторых внутреннего и наружного дополнительных постоянных магнитов 255, 256. Внутри корпуса 210 образована кольцевая камера 211. Соответственно, камера 211 имеет внутреннюю стенку 211а и наружную стенку 211b. Чтобы образовать кольцевую камеру 211 и смонтировать в корпусе 210 наружный и внутренний постоянные магниты 220, 230 и подвижный элемент 240, корпус 210 может быть разделен на первый корпус 210а и второй корпус 210b. В нижней части второго корпуса 210b может быть предусмотрена удлиненная канавка 212 для установки второго амортизатора 262. Удлиненная канавка 212 предусматривается при большой длине второго амортизатора 262. С обеих сторон корпуса 210 образовано несколько сквозных отверстий 213 для пропуска стержней 271.
Полярности внутреннего и наружного постоянных магнитов 220, 230 выбраны так, что их магнитные силовые линии направлены по стрелке, т.е. радиально внутрь. Полярности первых внутреннего и наружного дополнительных постоянных магнитов 251, 252 и вторых внутреннего и наружного дополнительных постоянных магнитов 255, 256 противоположны полярностям внутреннего постоянного магнита 220 и наружного постоянного магнита 230. Хотя внутренний и наружный постоянные магниты 220, 230, первые внутренний и наружный дополнительные постоянные магниты 251, 252 и вторые внутренний и наружный дополнительные постоянные магниты 255, 256 изображены на фигурах в виде непрерывных колец, они могут быть разделены в радиальном направлении.
На фиг.10 подробно представлены первый и второй амортизаторы 261, 262. Как указывалось выше, конструкция подвижного элемента 240 такова, что соленоид 241 и первое и второе магнитные кольца 242, 243 объединены в изолирующем корпусе 244. Изолирующий корпус 244 может быть выполнен из пластика. В этом случае соленоид 241 и первое и второе магнитные кольца 242, 243 могут быть просто герметизированы в корпусе 244 литьем под давлением, используя метод включения. На обеих сторонах подвижного элемента 240 предусмотрены углубления 245 для установки стержней 271. Стержни 271 могут закрепляться в углублениях 245, например, с помощью резьбы. При этом если первый и второй амортизаторы 261, 262 выполнены в виде пружин сжатия и установлены в корпусе 210, то пружины сжатия 261, 262 могут устанавливаться так, чтобы они окружали немагнитные стержни 271, 272 по наружному контуру. На несущем элементе 281, прикрепленном к концам стержней 271, расположена соединительная деталь 281а. Приводной шток 290 прикреплен к соединительной детали 281а с помощью оси 291, вставленной в отверстие 281b. Приводной шток 290 соединен с ведомой частью, например выключателем, так что она перемещает ведомую часть при осевом перемещении подвижного элемента 240.
На фиг.11 показан выключатель с приводом 200 по второму варианту реализации изобретения. Конструкция выключателя, изображенного на фиг.11, такова, что изменены только выключатель и привод, описанные со ссылками на фиг.5-7, а остальные части остались теми же самыми. На фиг.11 выключатель представлен в замкнутом состоянии.
Как показано на фиг.11, в выключателе, соответствующем данному варианту, изоляционно-приводная штанга 25 выключателя соединена с приводным штоком 290 осью 170, а приводной шток 290 присоединен к несущему элементу 281 привода 200. Соответственно, изоляционно-приводная штанга 25 перемещается в осевом направлении при движении несущего элемента 281, выполняя при этом операции замыкания и размыкания. Несущий элемент 281 присоединен к подвижному элементу 240 и перемещается при осевом движении подвижного элемента 240. Конкретно, один конец изоляционно-приводной штанги 25 присоединен к соединительной детали 281а несущего элемента 280 осью 291.
На фиг.12-15 представлены в последовательности операции, выполняемые приводом 200, соответствующим второму варианту реализации изобретения. Пояснения будут даны в предположении, что привод 200 применен в выключателе, представленном на фиг.11.
На фиг.12 подвижный элемент 240 перемещен вверх к первым внутреннему и наружному дополнительным постоянным магнитам 251, 252 в крайнее верхнее положение. Соответственно, несущий элемент 281 также перемещен вверх в крайнее положение, переведя приводной шток 290 (не показан) в положение, при котором он удерживает выключатель в замкнутом состоянии. Стрелка (m1) указывает направление магнитных силовых линий внутреннего и наружного постоянных магнитов 220, 230, стрелка (m2) указывает направление магнитных силовых линий вторых внутреннего и наружного дополнительных постоянных магнитов 255, 256, а стрелка (m3) указывает направление магнитных силовых линий первых внутреннего и наружного дополнительных постоянных магнитов 251, 252. Когда подвижный элемент 240 перемещен вверх, удерживая выключатель в замкнутом состоянии, соленоид 241 подвижного элемента 240 обесточен. Первое магнитное кольцо 242 подвижного элемента 240 служит магнитопроводом для магнитных силовых линий, создаваемых внутренним и наружным постоянными магнитами 220, 230 и первыми внутренним и наружным дополнительными постоянными магнитами 251, 252. Одновременно, поскольку первое магнитное кольцо 242 уже приближено к первым внутреннему и наружному дополнительным постоянным магнитам 251, 252, силы (магнитные силы) магнитного поля первых внутреннего и наружного дополнительных постоянных магнитов 251, 252 действуют на первое магнитное кольцо 242. Эти силы действуют, как удерживающие силы на первое магнитное кольцо 242, благодаря чему подвижный элемент 240 стационарно удерживается в верхнем положении. Соответственно, выключатель может стационарно оставаться в замкнутом положении. В то же время перемещению подвижного элемента 240 вверх выше заданного предела препятствует первый амортизатор 261, который останавливает его в точке, в которой удерживающие силы первых внутреннего и наружного дополнительных постоянных магнитов 251, 252 уравновешены упругой возвращающей силой первого амортизатора 261.
Когда в энергосистеме происходит авария, в соленоид 241 подается ток, чтобы разомкнуть выключатель. При этом отталкивающая (осевая) сила, возникшая в результате взаимодействия магнитных полей внутреннего и наружного постоянных магнитов 220, 230 и тока в соленоиде 241, действует так, что соленоид 241 движется вниз. Иными словами, вниз движется подвижный элемент 240. При этом в катушку соленоида 241 подается ток, достаточно большой, чтобы преодолеть силы, удерживающие первое магнитное кольцо 242 около первых внутреннего и наружного дополнительных постоянных магнитов 251, 252 при замкнутом положении выключателя.
Когда подвижный элемент 240 опускается вниз, в положение, изображенное на фиг.13, он может продолжать свое движение вниз, поскольку сила отталкивания, действующая на соленоид 241, и направленная вдоль оси сила инерции движения подвижного элемента 240 намного превосходят силу, тянущую первое магнитное кольцо 242 вверх. Кроме того, второе магнитное кольцо 243 приближается ко вторым внутреннему и наружному дополнительным постоянным магнитам 255, 256, образуя магнитопровод для магнитных силовых линий, создаваемых внутренним и наружным постоянными магнитами 220, 230 и вторыми внутренним и наружным дополнительными постоянными магнитами 255, 256. Соответственно, сила, с которой вторые внутренний и наружный дополнительные постоянные магниты 255, 256 притягивают вниз второе магнитное кольцо 243, постепенно увеличивается, и подвижный элемент 240 под действием возрастающей силы, направленной вниз, ускоряется. В этот момент времени усилие на приводе 200 максимально. Соответственно, система должна быть предпочтительно рассчитана так, чтобы этот момент совпадал с моментом времени, когда выталкивающая сила газа (сила, толкающая распылительный цилиндр 24 навстречу неподвижному поршню 14 на фиг.6) в контактных частях выключателя максимальна.
Когда подвижный элемент 240, все время ускоряясь, достигает положения, изображенного на фиг.13, ток в катушке соленоида 241 резко выключается. В результате подвижный элемент 240 продолжает движение только под действием силы инерции и силы, с которой вторые внутренний и наружный дополнительные постоянные магниты 255, 256 притягивают вниз второе магнитное кольцо 243.
Когда подвижный элемент 240, двигаясь вниз, достигает положения, изображенного на фиг.14, вторые внутренний и наружный дополнительные постоянные магниты 255, 256 толкают второе магнитное кольцо 243 навстречу направлению движения (т.е. вверх). Иными словами, когда второе магнитное кольцо 243 подвижного элемента 240 пройдет через осевую среднюю точку вторых внутреннего и наружного дополнительных постоянных магнитов 255, 256, начнет действовать сила, направленная навстречу движению подвижного элемента 240, и, таким образом, тормозящая подвижный элемент 240. Поскольку в этот момент времени операция размыкания контактов выключателя уже завершилась, то чем больше сила торможения, тем меньше вероятность соударения нижней стороны подвижного элемента 240 с корпусом 210. Соответственно, может быть достигнуто механическое равновесие. Однако поскольку подвижный элемент 240 фактически движется с большой скоростью, 6 м/с и выше, имеется опасность того, что подвижный элемент 240 минует вторые внутренний и наружный дополнительные постоянные магниты 255, 256 и столкнется с корпусом 210. В этом случае подвижный элемент 240 может быть надежно заторможен вторым амортизатором 262.
В конце движения подвижного элемента 240 вниз сила, с которой второй амортизатор 262 и вторые внутренний и наружный дополнительные постоянные магниты 255, 256 выталкивают подвижный элемент 240 в обратном направлении, как правило, превышает силу удержания второго магнитного кольца 243 вторыми внутренним и наружным дополнительными постоянными магнитами 255, 256.
Поэтому, как показано на фиг.15, подвижный элемент 240 движется вверх под действием возвращающей силы второго амортизатора 262. И, наконец, подвижный элемент 240 останавливается в точке, в которой возвращающая сила второго амортизатора 262 уравновешивается силой удержания второго магнитного кольца 243 вторыми внутренним и наружным дополнительными постоянными магнитами 255, 256. Этот момент соответствует окончанию операции размыкания выключателя.
На фиг.16-21 приведены результаты моделирования применения электромагнитного привода 200 согласно второму варианту реализации изобретения в выключателе.
На фиг.16 и 17 приведены характеристики силы, действующей на подвижный элемент 240, и тока для случая, когда привод по второму варианту реализации изобретения имеет только внутренний и наружный постоянные магниты 220, 230, но не имеет первого и второго магнитных колец 242, 243 и дополнительных постоянных магнитов 251, 252 и 255, 256. Хотя ток продолжает увеличиваться, сила, действующая на подвижный элемент 240, увеличивается только на начальной стадии, а затем резко падает. В то же время выталкивающая сила газа выключателя достигает максимума в точке, в которой движение подвижного элемента 240 почти закончилось. Соответственно, применение модели привода без первого и второго магнитных колец 242, 243 и дополнительных постоянных магнитов 251, 252 и 255, 256 для выключателей сверхвысокого напряжения может оказаться затруднительным.
На фиг.18 и 19 представлены характеристики силы, действующей на подвижный элемент 240, когда привод имеет первое и второе магнитные кольца 242, 243 и дополнительные постоянные магниты 251, 252 и 255, 256. Характеристики, показанные на фиг.18 и 19, относятся к случаю, когда дополнительные постоянные магниты 251, 252 и 255, 256 установлены с верхней и нижней стороны внутреннего и наружного постоянных магнитов 220, 230, а первое и второе магнитные кольца 242, 243 установлены на верхней и нижней сторонах соленоида 241. В этом случае можно исключить явление, при котором усилие уменьшается во время движения подвижного элемента 240, как это имеет место на фиг.16 и 17.
На фиг.18 кривая, соединяющая точки четырехугольной формы, изображает выталкивающую силу газа выключателя, кривая, соединяющая точки треугольной формы изображает электромагнитную силу чистого привода (тяга привода), а линия, соединяющая точки, имеющие форму ромбов, изображает чистое усилие привода после преодоления выталкивающей силы газа выключателя и срабатывания. Скорость подвижного элемента становится большой, только когда электромагнитная сила чистого привода превышает отталкивающую силу газа. Как показано на фиг.16 и 17, электромагнитная сила увеличивается на начальном этапе движения подвижного элемента, а затем убывает. В то же время на фиг.18 можно видеть, что электромагнитная сила слегка уменьшается при проходе начального этапа, а затем снова увеличивается на позднем этапе. Это значит, что момент времени, когда сила снова увеличивается, – это тот момент, когда магнитное кольцо подвижного элемента приблизилось к дополнительным постоянным магнитам. Соответственно, сила, действующая на подвижный элемент, увеличивается, так что результирующая скорость подвижного элемента продолжает увеличиваться, не уменьшаясь.
На фиг.18 электромагнитная сила меньше выталкивающей силы газа в области К. Однако, поскольку сила инерции подвижного элемента в области К очень велика, скорость подвижного элемента снижается ненамного, как следует из графика перемещения на фиг.19, и подвижный элемент еще может двигаться с высокой скоростью. Например, для того, чтобы выталкивающая сила газа не превышала электромагнитную силу чистого привода, нужна предпочтительно оптимизированная конструкция выключателя. Однако, поскольку максимально значение выталкивающей силы газа все время меняется, вышеописанная проблема не имеет большого значения, только если сила инерции подвижного элемента достаточно велика.
Пример 3
На фиг.20 и 21 показаны электромагнитные силы, действующие на привод 300, соответствующий третьему варианту реализации изобретения. Привод 300, соответствующий третьему варианту, представляет собой несколько приводов 200 (четыре), соответствующих второму варианту, установленных в одном корпусе 310. Иными словами, несколько составляющих приводов 300а, 300b, 300с, 300а может быть установлено в корпусе 310, выполненном из магнитного материала. Каждый из составляющих приводов 300а, 300b, 300с, 300а содержит внутренний и наружный постоянные магниты 220, 230, подвижный элемент 240с соленоидом и первым и вторым магнитными кольцами, первые и вторые внутренние и наружные дополнительные постоянные магниты 251, 252 и 255, 256 и первый и второй амортизаторы 261, 262 подобно приводу из второго варианта реализации изобретения. Каждый подвижный элемент 240 соединен с несколькими стержнями 271, 272, которые прикреплены к несущим элементам 321, 322. Верхний несущий элемент 321 имеет соединительную деталь 321а для соединения с выключателем. Привод 300, соответствующий третьему варианту, является предпочтительной конструкцией, когда число приводов необходимо увеличить для увеличения разрывной мощности выключателя.
Между тем, в приводах по первому, второму и третьему вариантам и выключателях, соединенных с приводами, можно максимизировать эффективность привода путем увеличения магнитной индукции за счет применения сверхпроводящего магнита (или сверхпроводящего объемного магнита). Поскольку приводы, предлагаемые в изобретении, используют электромагнитную отталкивающую силу, создаваемую за счет взаимодействия магнитной индукции постоянного магнита и тока соленоида, усилие и скорость могут быть увеличены, если вместо существующего постоянного магнита применить сверхпроводящий магнит, так как при этом магнитная индукция увеличивается.

Как можно видеть из этого уравнения, энергия магнитного поля (Е) пропорциональна квадрату магнитной индукции (В). Типичное значение магнитной индукции постоянного магнита на основе неодима (Nd), обладающего относительно высокой магнитной индукцией среди обычных постоянных магнитов, составляет 1,2 Тл (Тесла), тогда как магнитная индукция разработанных в настоящее время сверхпроводящих магнитов (или сверхпроводящих объемных магнитов) составляет около 3-12 Тл, что намного больше, чем у обычных постоянных магнитов. Если применить сверхпроводящий магнит с магнитной индукцией около 3 Тл, то магнитная индукция окажется приблизительно в три раза больше, чем у обычного постоянного магнита, магнитная индукция которого составляет около 1 Тл, а энергия магнитного поля увеличится в 9 раз. Соответственно, при том же токе в 9 раз увеличится и усилие. Таким образом, можно увеличить эффективность, заменив обычный постоянный магнит сверхпроводящим магнитом. Однако при использовании сил взаимодействия между главными постоянными магнитами (внутренним и наружным постоянными магнитами) и дополнительными постоянными магнитами (первыми и вторыми внутренними и наружными дополнительными постоянными магнитами) для создания выталкивающей силы газа в приводе по третьему варианту возникает проблема, связанная с использованием сверхпроводящих магнитов, как в качестве главных, так и в качестве дополнительных постоянных магнитов. Хотя сверхпроводящий магнит создает постоянную магнитную индукцию подобно обычному постоянному магниту, однако магнитное поле, образующееся снаружи, не входит внутрь сверхпроводящего магнита из-за его сверхпроводящих свойств (эффект Мейсснера). Поэтому, согласно изобретению, сверхпроводящий магнит используется в качестве главного постоянного магнита, а обычный постоянный магнит – в качестве дополнительного постоянного магнита с тем, чтобы наружный магнитный поток мог замыкаться через обычный постоянный магнит. Соответственно, можно получить большую силу, если расположить магнитное кольцо приводной части на границе сверхпроводящего и обычного постоянного магнита.
Промышленная применимость
Как указывалось выше, благодаря изобретению, поскольку привод выполнен так, что на подвижный элемент действует электромагнитная отталкивающая сила, создаваемая в результате взаимодействия между магнитным полем постоянного магнита и током в соленоиде, можно получить большие значения силы привода даже при малых размерах и массе.
Кроме того, поскольку в выключателе, предлагаемом в изобретении, операция замыкания выполняется с большим усилием и с высокой скоростью, выключатель может быть с успехом применен как в качестве низковольтного выключателя, так и в качестве выключателя для высоких и сверхвысоких напряжений.
Хотя изобретение представлено и описано со ссылками на некоторые предпочтительные варианты его реализации, специалисту в данной области техники должно быть ясно, что могут быть выполнены различные изменения в форме и деталях без нарушения смысла и объема изобретения, определенного в прилагаемой формуле.
Формула изобретения
1. Электромагнитный привод, содержащий полый внутренний кожух, выполненный из магнитного материала, наружный кожух, выполненный из магнитного материала и установленный концентрично с внутренним кожухом на радиальном расстоянии снаружи от внутреннего кожуха, внутренний и наружный постоянные магниты, прилегающие к наружной поверхности внутреннего кожуха и к внутренней поверхности наружного кожуха, соответственно, и расположенные с обеспечением заданного промежутка между указанными магнитами, соленоид, установленный с возможностью линейного перемещения в осевом направлении между внутренним и наружным постоянными магнитами, и немагнитный подвижный элемент, имеющий конец, на котором закреплен соленоид, и установленный с возможностью линейного перемещения в осевом направлении между внутренним и наружным постоянными магнитами под действием электромагнитных сил отталкивания, создаваемых магнитными полями внутреннего и наружного постоянных магнитов и протекающим в соленоиде током.
2. Электромагнитный привод по п.1, отличающийся тем, что немагнитный подвижный элемент содержит подвижное кольцо, имеющее конец, на котором закреплен соленоид, и установленное с возможностью линейного перемещения в осевом направлении между внутренним и наружным постоянными магнитами, и подвижный шток, установленный с возможностью линейного перемещения во внутреннем кожухе в осевом направлении посредством подвижного кольца, прикрепленного к концу указанного штока.
3. Электромагнитный привод по п.1, отличающийся тем, что внутренний и наружный постоянные магниты выполнены в виде сверхпроводящих магнитов.
4. Электромагнитный привод по п.1, отличающийся тем, что он содержит первую и вторую концевые пластины из магнитного материала, замыкающие оба конца внутреннего и наружного кожуха для обеспечения беспрепятственного прохождения магнитного потока.
5. Выключатель, содержащий полый внутренний кожух, выполненный из магнитного материала, наружный кожух, выполненный из магнитного материала и установленный концентрично с внутренним кожухом на радиальном расстоянии снаружи от внутреннего кожуха, внутренний и наружный постоянные магниты, прилегающие к наружной поверхности внутреннего кожуха и к внутренней поверхности наружного кожуха, соответственно, и установленные с обеспечением заданного промежутка между указанными магнитами, соленоид, установленный с возможностью линейного перемещения в осевом направлении между внутренним и наружным постоянными магнитами, немагнитный подвижный элемент, имеющий конец, на котором закреплен соленоид, и установленный с возможностью линейного перемещения в осевом направлении между внутренним и наружным постоянными магнитами под действием электромагнитных сил отталкивания, создаваемых магнитными полями внутреннего и наружного постоянных магнитов и протекающим в соленоиде током, и изоляционно-приводную штангу, соединенную с другим концом подвижного элемента и линейно перемещаемую подвижным элементом для выполнения операций замыкания и размыкания.
6. Выключатель по п.5, отличающийся тем, что внутренний и наружный постоянные магниты выполнены в виде сверхпроводящих магнитов.
7. Выключатель по п.5, отличающийся тем, что немагнитный подвижный элемент содержит подвижное кольцо, имеющее конец, на котором закреплен соленоид, и установленное с возможностью линейного перемещения в осевом направлении между внутренним и наружным постоянными магнитами, и подвижный шток, установленный с возможностью линейного перемещения во внутреннем кожухе, прикрепленный одним концом к подвижному кольцу, а другим концом – к изоляционно-приводной штанге, причем указанный шток линейно перемещается в осевом направлении посредством подвижного кольца, с перемещением изоляционно-приводной штанги.
8. Выключатель по п.5, отличающийся тем, что он содержит первую и вторую концевые пластины из магнитного материала, замыкающие оба конца внутреннего и наружного кожуха для обеспечения беспрепятственного прохождения магнитного потока.
9. Выключатель по п.5, отличающийся тем, что он содержит амортизирующие средства, расположенные вблизи участка, находящегося в конце траектории размыкающего движения подвижного элемента, и поглощающие силу удара.
10. Выключатель по п.9, отличающийся тем, что амортизирующие средства выполнены в виде спиральной пружины сжатия.
11. Электромагнитный привод, содержащий корпус, выполненный из магнитного материала, в котором образована кольцевая камера, кольцевые внутренний и наружный постоянные магниты, концентрически установленные с радиальным промежутком между ними в указанной камере корпуса, и подвижный элемент с кольцевым соленоидом, установленный с возможностью линейного перемещения в осевом направлении между внутренним и наружным постоянными магнитами и линейно перемещаемый в осевом направлении между внутренним и наружным постоянными магнитами под действием электромагнитных сил отталкивания, создаваемых магнитными полями внутреннего и наружного постоянных магнитов и протекающим в соленоиде током.
12. Электромагнитный привод по п.11, отличающийся тем, что на обоих концах внутреннего и наружного постоянных магнитов предусмотрены первые кольцевые внутренний и наружный дополнительные постоянные магниты и вторые кольцевые внутренний и наружный дополнительные постоянные магниты, соответственно, а подвижный элемент объединен с соленоидом посредством размещения первого и второго магнитных колец на обоих концах соленоида, соответственно.
13. Электромагнитный привод по п.12, отличающийся тем, что полярности первых внутреннего и наружного дополнительных постоянных магнитов и вторых внутреннего и наружного дополнительных постоянных магнитов направлены противоположно полярностям внутреннего и наружного постоянных магнитов.
14. Электромагнитный привод по п.12 или 13, отличающийся тем, что внутренний и наружный постоянные магниты выполнены в виде сверхпроводящих магнитов.
15. Электромагнитный привод по п.12, отличающийся тем, что соленоид и первые и вторые магнитные кольца заключены в изоляционный корпус для объединения с ним.
16. Электромагнитный привод по п.15, отличающийся тем, что изоляционный корпус выполнен из пластика.
17. Электромагнитный привод по п.11, отличающийся тем, что оба конца подвижного элемента оснащены первым и вторым амортизирующими средствами для предотвращения ударов концов подвижного элемента о корпус в конце траектории осевого перемещения подвижного элемента.
18. Электромагнитный привод по п.17, отличающийся тем, что первое и второе амортизирующие средства выполнены в виде спиральных пружин сжатия.
19. Электромагнитный привод по п.17, отличающийся тем, что первое и второе амортизирующие средства выполнены в виде спиральных пружин сжатия и расположены между внутренним и наружным постоянными магнитами.
20. Электромагнитный привод по п.11, отличающийся тем, что к одному концу подвижного элемента присоединен ряд немагнитных стержней, на концах которых установлен опорный элемент для соединения с приводным компонентом.
21. Выключатель, содержащий корпус, выполненный из магнитного материала, в котором образована кольцевая камера, кольцевые внутренний и наружный постоянные магниты, концентрически установленные с радиальным промежутком между ними в указанной камере корпуса, и подвижный элемент с кольцевым соленоидом, установленный с возможностью линейного перемещения в осевом направлении между внутренним и наружным постоянными магнитами и линейно перемещаемый в осевом направлении между внутренним и наружным постоянными магнитами под действием электромагнитных сил отталкивания, создаваемых магнитными полями внутреннего и наружного постоянных магнитов и протекающим в соленоиде током, и изоляционно-приводную штангу, присоединенную к подвижному элементу для обеспечения ее линейного перемещения посредством подвижного элемента, тем самым выполнения операций размыкания и замыкания.
22. Выключатель по п.21, отличающийся тем, что на обоих концах внутреннего и наружного постоянных магнитов предусмотрены первые кольцевые внутренний и наружный дополнительные постоянные магниты и вторые кольцевые внутренний и наружный дополнительные постоянные магниты, соответственно, а подвижный элемент объединен с соленоидом посредством размещения первого и второго магнитных колец на обоих концах соленоида, соответственно.
23. Выключатель по п.22, отличающийся тем, что внутренний и наружный постоянные магниты выполнены в виде сверхпроводящих магнитов.
24. Электромагнитный привод, содержащий ряд приводимых в действие электромагнитной силой исполнительных частей, установленных в корпусе из магнитного материала, причем каждая из исполнительных частей содержит кольцевые внутренний и наружный постоянные магниты, концентрически установленные с радиальным промежутком между указанными магнитами, подвижный элемент с кольцевым соленоидом, установленный с возможностью линейного перемещения в осевом направлении между внутренним и наружным постоянными магнитами и линейно перемещаемый в осевом направлении между внутренним и наружным постоянными магнитами под действием электромагнитных сил отталкивания, создаваемых магнитными полями внутреннего и наружного постоянных магнитов и протекающим в соленоиде током, ряд стержней, присоединенных к подвижным элементам, и несущий элемент, соединяющий концы стержней.
25. Электромагнитный привод по п.24, отличающийся тем, что на обоих концах внутреннего и наружного постоянных магнитов предусмотрены первые кольцевые внутренний и наружный дополнительные постоянные магниты и вторые кольцевые внутренний и наружный дополнительные постоянные магниты, соответственно, а подвижный элемент объединен с соленоидом посредством размещения первого и второго магнитных колец на обоих концах соленоида, соответственно.
26. Электромагнитный привод по п.25, отличающийся тем, что внутренний и наружный постоянные магниты выполнены в виде сверхпроводящих магнитов.
27. Выключатель, содержащий ряд приводимых в действие электромагнитной силой исполнительных частей, установленных в корпусе из магнитного материала, причем каждая из исполнительных частей содержит кольцевые внутренний и наружный постоянные магниты, концентрически установленные с радиальным промежутком между указанными магнитами, подвижный элемент с кольцевым соленоидом, установленный с возможностью линейного перемещения в осевом направлении между внутренним и наружным постоянными магнитами и линейно перемещаемый в осевом направлении между внутренним и наружным постоянными магнитами под действием электромагнитных сил отталкивания, создаваемых магнитными полями внутреннего и наружного постоянных магнитов и протекающим в соленоиде током, ряд стержней, присоединенных к подвижным элементам, несущий элемент, соединяющий концы стержней, и изоляционно-приводную штангу, присоединенную к несущему элементу для обеспечения ее линейного перемещения посредством подвижных элементов, тем самым выполнения операций размыкания и замыкания.
28. Выключатель по п.27, отличающийся тем, что на обоих концах внутреннего и наружного постоянных магнитов предусмотрены первые кольцевые внутренний и наружный дополнительные постоянные магниты и вторые кольцевые внутренний и наружный дополнительные постоянные магниты, соответственно, а подвижный элемент объединен с соленоидом посредством размещения первого и второго магнитных колец на обоих концах соленоида, соответственно.
29. Выключатель по п.28, отличающийся тем, что внутренний и наружный постоянные магниты выполнены в виде сверхпроводящих магнитов.
Приоритет по пунктам:
11.02.2004 по пп.1, 2, 4, 5, 7-10,
07.02.2005 по пп.3, 6, 11-29.
РИСУНКИ
PC4A – Регистрация договора об уступке патента СССР или патента Российской Федерации на изобретение
Прежний патентообладатель:
СЕУЛ НЭЙШНЕЛ ЮНИВЕРСИТИ ИНДАСТРИ ФАУНДЕЙШЕН (KR)
(73) Патентообладатель:
ЭМАТЕК ИНК. (KR)
Договор № РД0045621 зарегистрирован 16.01.2009
Извещение опубликовано: 27.02.2009 БИ: 06/2009
|
|