|
|
(21), (22) Заявка: 2004123973/09, 12.09.2003
(24) Дата начала отсчета срока действия патента:
12.09.2003
(30) Конвенционный приоритет:
13.09.2002 (пп.1, 5-13) FR 0211387 25.02.2003 (пп.2-4) FR 0302258
(43) Дата публикации заявки: 20.01.2006
(46) Опубликовано: 20.05.2008
(56) Список документов, цитированных в отчете о поиске:
FR 2782821 A1, 03.03.2000. RU 2158204 C1, 27.10.2000. FR 2801707 A1, 01.06.2001. WO 01/18748 A1, 15.03.2001. US 6441736 А, 27.08.2002. Конструкционные материалы./ Гл. ред. А.Т.Туманов. – М.: Советская энциклопедия, 1963, Т.1, с.151, т.3, с.10, 482-483.
(85) Дата перевода заявки PCT на национальную фазу:
05.08.2004
(86) Заявка PCT:
FR 03/02701 (12.09.2003)
(87) Публикация PCT:
WO 2004/025553 (25.03.2004)
Адрес для переписки:
129010, Москва, ул. Б. Спасская, 25, стр.3, ООО “Юридическая фирма Городисский и Партнеры”, пат.пов. Ю.Д.Кузнецову, рег.№ 595
|
(72) Автор(ы):
КАЙЯНАКИС Жорж (FR), БЕНАТО Пьер (FR), АЛОП Кристоф (FR)
(73) Патентообладатель(и):
АСК С.А. (FR)
|
(54) СПОСОБ ИЗГОТОВЛЕНИЯ БЕСКОНТАКТНОЙ ИЛИ КОНТАКТНОЙ/БЕСКОНТАКТНОЙ ГИБРИДНОЙ КАРТОЧКИ СО ВСТРОЕННОЙ ИНТЕГРАЛЬНОЙ СХЕМОЙ (ИС) С ПОВЫШЕННОЙ СТЕПЕНЬЮ РОВНОСТИ
(57) Реферат:
Изобретение относится к способу изготовления бесконтактной или контактной/бесконтактной гибридной карточки со встроенной ИС, содержащей антенную опору, два тела карточки и электронный модуль или ИС, связанную с антенной. Технический результат – устранение рельефов полученной после ламинирования карточки за счет применения способа, позволяющего обеспечить совершенно ровную антенную опору для бесконтактных или контактных/бесконтактных гибридных карточек со встроенной ИС. Достигается тем, что способ также включает в себя первый этап ламинирования, заключающийся в том, что сплавляют два листа термопласта на каждой стороне антенной опоры при температуре, достаточной, чтобы материал листов размягчился и стал полностью текучим для устранения различий толщины относительно опоры; и второй этап ламинирования, выполняемый после срока, соответствующего времени, необходимому для того, чтобы листы термопласта отвердели; при этом указанный второй этап заключается в сплавлении горячим прессованием двух пластмассовых слоев (составляющих тела карточки) на пластифицированных и ровных поверхностях имеющей единообразную толщину антенной опоры, пластифицированной указанными листами термопласта. 12 з.п. ф-лы, 8 ил.
Область техники
Изобретение относится к способам изготовления контактной/бесконтактной гибридной платы со встроенной ИС микросхемами, и в частности – к способу изготовления контактной или контактной/бесконтактной гибридной карточки со встроенной ИС микросхемами с повышенной степенью ровности.
Уровень техники
Бесконтактная карточка со встроенной ИС является системой, применение которой возрастает в различных областях. Так, в области транспорта она стала средством производства платежа. Тоже относится и к электронным кошелькам. Многие компании также разработали средства для идентифицирования своего персонала с помощью бесконтактных карточек со встроенной ИС.
Обмен информацией между контактной/бесконтактной гибридной карточкой или бесконтактной карточкой и соответствующим считывающим устройством обеспечивается за счет дистанционного электромагнитного взаимодействия между антенной, смонтированной в бесконтактной карточке, и второй антенной, находящейся в считывающем устройстве, или при непосредственном контакте со считывающим устройством. Для разработки, запоминания и обработки информации карточка имеет электронный модуль, связанный с антенной. Антенна расположена на опоре, расположенной между двумя телами карточки, на внешней стороне которой напечатана графика, относящаяся к последующему использованию карточки. Опора антенны является пластмассовой диэлектрической опорой или опорой из такого волокнистого материала, как бумага. Способ изготовления контактной/бесконтактной гибридной карточки состоит из трех следующих основных этапов:
– выполнение антенны на пластмассовой опоре путем химического травления меди или алюминия или на бумажной опоре трафаретной печатью;
– тепловое ламинирование под давлением нижнего и верхнего пластмассовых слоев тел корпуса карточки, внешние стороны которых предварительно напечатаны на антенной опоре;
– установка и подключение электронного модуля.
При изготовлении с использованием антенной опоры из волокнистого материала и антенны, выполненной трафаретной печатью на антенной опоре, тела карточки выполняются из двух или трех пластмассовых слоев, при этом два основных слоя имеют разные точки Вика (Vicat) (температура, при которой ПВХ переходит из жесткого состояния в каучукообразное). Внешний жесткий ПВХ-слой имеет более высокую точку Вика (Vicat), чем внутренний слой. Внутренний слой, в котором точка Вика (Vicat) ниже, чем во внешнем слое, контактирует с антенной опорой.
Этап ламинирования заключается в укладке разных ПВХ-слоев, составляющих тела карточки и антенной опоры. Эту многослойную конструкцию затем помещают в ламинирующий пресс. Многослойную конструкцию затем подвергают тепловой обработке при температуре 150°С. Одновременно с этим указанную конструкцию подвергают прессованию, в результате которого разные слои сплавляются. В результате объединенного воздействия тепла и давления внешний ПВХ-слой размягчается и при этом внутренний слой ПВХ с более низкой точкой Вика сжимается. Таким образом смягченный ПВХ внутреннего слоя тела карточки, который контактирует с антенной, включает в свою массу трафаретно напечатанную краску, из которой выполнена антенна, и смягченный ПВХ двух внутренних слоев обоих тел карточки снова входит в контакт посредством полых вырезов, заранее выполненных в антенной опоре.
Указанный выше способ не обеспечивает должный внешний вид готовой карточки. Действительно, во время смягчения внутреннего слоя тел карточки внешний слой размягчается и его форма приходит в соответствие – путем деформирования в меньшей степени, чем деформация внутреннего слоя ПВХ – с формой рельефов антенной опоры, обусловленных толщиной антенны и полыми вырезами.
Полученная после ламинирвоания карточка не имеет совершенной ровности и имеет рельефы. Разумеется, эти микронные рельефы невооруженному глазу не видны, но проявляются, когда внешняя поверхность внешнего слоя тела карточки напечатана с изменением оттенка цвета отпечатанной графики. При использовании тел напечатанных карточек во время ламинирования тел карточки на антенной опоре лишняя толщина, обусловленная наличием антенны, является причиной того, что отпечатываемые точки отделяются друг от друга интервалом, что приводит к возникновению более светлого оттенка цвета; а вырезы антенной опоры, в которую втекает ПВХ внутренних слоев тел карточки, обусловливают приближение друг к другу отпечатываемых точек друг к другу, в результате чего цвет получает более темный оттенок. Внешний вид карточки из-за этого обстоятельства становится неединообразным.
Этот недостаток также имеет место в способе изготовления бесконтактных карточек, использующих пластмассовую антенную опору, на которой антенну выполняют путем химического травления. Разумеется, согласно этому способу после ламинирования отпечаток медных межсоединений виден на телах отпечатанной карточки и неровность карточки даже на микронном уровне видна пользователю как деформация графики.
Не сказываясь на работе карточки, этот недостаток внешнего вида готовой карточки может быть указан пользователями, которые придают большое значение критериям внешнего вида.
Сущность изобретения
Задача настоящего изобретения заключается в устранения этого главного недостатка за счет применения обладающего изобретательским уровнем способа, позволяющего обеспечить совершенно ровную антенную опору для бесконтактных или контактных/бесконтактных гибридных карточек со встроенной ИС.
Поэтому настоящее изобретение относится к способу изготовления бесконтактной карточки со встроенной ИС или контактной/бесконтактной гибридной карточки со встроенной ИС, содержащей: антенную опору, два тела карточки по обеим сторонам антенной опоры и электронный модуль или интегральную схему (ИС), связанную с антенной. Способ отличается тем, что включает в себя:
Первый этап ламинирования, который заключается в сплавлении на каждой стороне антенной опоры двух однородных листов термопласта путем прессования при температуре, достаточной для того, чтобы материал, из которого выполнены листы, размягчился и стал полностью текучим для устранения каких-либо различий в толщине антенной опоры, и формирования пластифицированной антенной опоры, имеющей ровные поверхности; и
Второй этап ламинирования, который осуществляют после некоторого периода времени, соответствующего времени, необходимому для того, чтобы листы термопластика затвердели; причем второй этап заключается в сплавлении с помощью горячего прессования двух пластмассовых слоев, составляющих тело карточки, на пластифицированных и ровных поверхностях имеющей единообразную по толщине антенную опору, пластифицированную листами термопласта.
Описание чертежей
Цели, задачи и характеристики изобретения станут более очевидными при изучении приводимого ниже описания, с обращением к прилагаемым чертежам, на которых:
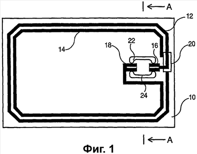
Фиг. 1 изображает антенную опору контактной/бесконтактной гибридной карточки со встроенной ИС;
Фиг. 2 представляет сечение антенной опоры, показанной на Фиг. 1, по оси А-А, согласно Фиг. 1;
Фиг. 3 представляет сечение пластифицированной антенной опоры контактной/бесконтактной гибридной карточки со встроенной ИС;
Фиг. 4 представляет сечение контактной/бесконтактной гибридной карточки со встроенной ИС согласно изобретению;
Фиг. 5 изображает антенную опору бесконтактной карточки со встроенной ИС;
Фиг. 6 представляет сечение антенной опоры, по оси В-В согласно Фиг. 5;
Фиг. 7 представляет сечение пластифицированной антенной опоры бесконтактной карточки со встроенной ИС;
Фиг. 8 представляет сечение бесконтактной карточки со встроенной ИС согласно настоящему изобретению.
Предпочтительный вариант реализации изобретения
Согласно предпочтительному варианту осуществления изобретения, иллюстрируемого на Фиг. 1: антенная опора выполнена из волокнистого материала, такого как бумага, и имеет толщину около 90 мкм. Изготовление карточки со встроенной ИС согласно изобретению заключается, во-первых, в изготовлении антенны на ее опоре 10. Антенна состоит из двух контуров 12 и 14, выполненных из трафаретно-напечатанной полимерной проводящей краски, содержащей проводящие элементы, такие как серебро, медь или углерод. Один из концов каждого контура соединен с одной из контактных площадок антенны, которые также являются трафаретно-напечатанными; при этом контур 12 связан с площадкой 16 и контур 14 – с площадкой 18. Контуры являются взаимосвязанными посредством электрического моста, более известного под названием «перехода» (не показан). Изолирующая полоска 20 диэлектрической краски трафаретно напечатана между переходом и контуром 12. Электронный модуль, содержащий ИС, вставлен в карточку на последнем этапе изготовления контактной/бесконтактной гибридной карточки со встроенной ИС. По сравнению с обычной конструкцией антенны в карточках со встроенной ИС по стандарту ISO в данном случае конструкция антенны является обратной. Именно эта конфигурация обеспечивает возможность изготовления контактной/бесконтактной гибридной карточки со встроенной ИС с полостью, вмещающей модуль, который углублен в тело карточки напротив поверхности опоры с трафаретной печатью, т.е. в теле карточки, которое контактирует с поверхностью опоры, не имеющей трафаретной печати – согласно подробному описанию способа изготовления контактной/бесконтактной гибридной карточки со встроенной ИС по патенту FR 2801707.
Поэтому, если опору повернуть вокруг (при этом контактные площадки будут слева), то контактные площадки 16 и 18 модуля снова окажутся в стандартном местоположении для карточек с размером по стандарту ISO. Бумажная антенная опора может содержать вырезы или полости 22 и 24 для повышения сопротивляемости модуля.
Антенная опора 10 имеет вырезы и/или полости и рельефы по той причине, что антенна состоит из трафаретно напечатанных краской контуров. Поэтому обе поверхности антенной опоры 10 неровные, и в частности – поверхность, на которой трафаретным способом напечатана антенна.
Фиг. 2, 3 и 4 иллюстрируют способ изготовления контактной/бесконтактной гибридной карточки со встроенной ИС согласно изобретению. Сечение антенной опоры 10 гибридной карточки со встроенной ИС показано на Фиг. 2. Первый этап способа согласно изобретению заключается в ламинировании двух термопластных слоев или листов на антенной опоре 10. Этот этап является первой фазой ламинирования разных составляющих слоев карточки и показан на сечении Фиг. 3. Этот первый этап ламинирования заключается в сплавлении горячим прессованием двух однородных листов 32 и 34 из термопласта толщиной 100 мкм на каждой стороне антенной опоры 10. Температура и давление достигают приблизительных значений 180°С и 250 бар соответственно. Во время этой первой фазы ламинирования температура должна быть достаточной, чтобы материал листов 32 и 34 размягчился и стал полностью текучим для заполнения углублений 22 и 24 и других возможных вырезов в опоре 100, чтобы заключить в себе рельефы антенной опоры, которые, например, обусловлены наличием контуров 12 и 14. То есть рельефы антенной опоры 10 заключаются в массу термопласта, тем самым образуя пластифицированную антенную опору 30, приблизительная толщина которой равна 220 мкм. Возможные вырезы, предварительно выполненные на антенной опоре, также обеспечивают возможность сплавления вместе обоих листов термопласта 32 и 34. Сформированная таким образом пластифицированная антенная опора 30 устраняет различия в толщине относительно первоначальной антенной опоры 10.
Вторая фаза ламинирования различных составляющих слоев карточки заключается в ламинировании двух тел карточки на каждой стороне пластифицированной антенной опоры 30 – согласно Фиг. 4. Этот второй этап, выполняемый после некоторого периода времени, соответствующего времени, необходимому для затвердения листов термопласта 32 и 34, заключается в сплавлении горячим прессованием двух слоев 36 и 38 термопласта толщиной около 260 мкм, в результате чего выполняются тела карточки на пластифицированных и ровных поверхностях опоры 30. Оба тела 36 и 38 карточки имеют предварительно напечатанную на них индивидуальную графику на их внешней стороне. Поскольку пластифицированная антенная опора 30 имеет единообразную толщину, поэтому этот этап более напоминает соединение склеиванием, а не сплавление. Поэтому необходимые на этой фазе давление и температура гораздо меньшие, чем в обычном способе. Температуры и давления, необходимые для этого этапа ламинирования, составляют лишь соответственно 120°С и 150 бар. При этом снижена также длительность циклов прессования и нагревания.
В случае контактной/бесконтактной гибридной карточки со встроенной ИС последний этап изготовления ее (не показан) заключается в выполнении зенкованием полости 37, вмещающей модуль, сформированный интегральной схемой и двухсторонней схемой. Зенкование также обеспечивает возможность того, чтобы контактные площадки отстояли от антенны с модулем. Чтобы не повредить трафаретную печать антенны, углубление выполняют в теле карточки, которое находится напротив поверхности антенной опоры, имеющей трафаретную печать, т.е. в теле карточки, которая контактирует с той поверхностью опоры, на которой антенна не напечатана трафаретным способом. При осуществлении зенкования антенная опора заглубляется до нанесения краски. Поскольку она устанавливается как одно целое в ПВХ внутреннего слоя тела карточки, она не подвергается таким повреждениям, как трещины или разрывы. В случае гибридной карточки со встроенной ИС с размерами согласно стандарту ISO, для которых местоположение ИС на карточке стандартное, осуществление обратной трафаретной печати антенны на опоре и выполнение зенкования полости в теле карточки, контактирующем с поверхностью опоры, не имеющей трафаретной печати, позволяет установить модуль в стандартном местоположении, при этом сохраняя целостность трафаретно-напечатанной антенны.
Модуль закрепляется с помощью адгезива. Используются два разных адгезива. Первый адгезив является проводящим, позволяющим подключение модуля к площадкам антенны. Этот адгезив наиболее предпочтительно содержит серебро. Второй используемый адгезив герметизирует модуль в карточке. Согласно предпочтительному осуществлению используется цианоакрилатный клей. Также можно использовать пленку «горячего плавления», которую располагают под модулем перед тем, как тот будет вставлен в карточку.
Если данное изобретение используется для бесконтактной карточки со встроенной ИС, антенная опора 40 выглядит, как показано на Фиг. 5; и в этом случае конструкция антенны не является обратной. Как и в предыдущем случае антенна состоит из двух контуров 42 и 44 из трафаретно-напечатанной краски на опоре 40. В противоположность контактным/бесконтактным гибридным карточкам со встроенной ИС бесконтактные карточки со встроенной ИС не имеют электронного модуля, поверхность которого видима на поверхности карточки; и электронный модуль или ИС 50 встроены в карточку. Электронный модуль или ИС 50 установлены на антенной опоре 40 и непосредственно соединены с контактными площадками 36 и 38 антенны, и таким образом можно выполнить слой проводящего адгезива, обеспечивающего омические контакты. В случае электронного модуля его можно поместить в углублении опоры 40 (не показано). Омическое соединение можно обеспечить с помощью проводящего адгезива или без него – простым контактом. Антенная опора 40 может также содержать два углубления 52 и 54, которые предпочтительно сформированы после трафаретной печати антенны. Эти два углубления используются для повышения механической прочности электронного модуля или ИС 50.
Антенная опора 40 имеет вырезы и/или полости и рельефы, поскольку антенна состоит из трафаретно напечатанных краской контуров. Поэтому обе поверхности антенной опоры 40 не являются ровными, в частности не является ровной сторона, на которой трафаретно напечатана антенна. Помимо этого, антенная опора 40 только бесконтактной карточки со встроенной ИС имеет заметный рельеф по причине наличия электронного модуля или ИС 50 согласно Фиг. 6, где показано сечение антенной опоры 40 бесконтактной карточки со встроенной ИС по оси В-В Фиг. 5.
Этапы способа согласно изобретению применительно к бесконтактной карточке со встроенной ИС аналогичны этапам способа для контактной/бесконтактной гибридной карточки со встроенной ИС. Но вариант способа согласно изобретению применим к бесконтактным карточкам со встроенной ИС, имеющим электронный модуль или ИС 50, и целесообразно применим для бесконтактной карточки 50 со встроенной ИС, имеющей ИС 50, подключенную непосредственно к антенне – подробно показано на Фиг. 6, 7 и 8.
Сечение антенной опоры 40 бесконтактной карточки со встроенной ИС показано на Фиг. 6. Первый этап способа согласно изобретению заключается в ламинировании двух слоев или листов термопласта на антенной опоре 40. Этот этап является первой фазой ламинирования различных составляющих слоев карточки и показан на Фиг. 6. Этот первый этап ламинирования заключается в сплавлении горячим прессованием двух однородных листов 62 и 64 термопласта на каждой стороне антенной опоры 40. Температура и давление составляют около 180°С и 250 бар соответственно. Лист термопласта 62, который наносится на поверхность антенной опоры, вмещающей электронный модуль или ИС 50, перфорирован сквозной полостью 56, и его толщина превышает толщину электронного модуля или ИС 50. Полость 56 находится на листе 62 термопласта, в результате чего электронный модуль или ИС 50 находится внутри, когда лист 62 помещают на опору 40 перед ламинированием, и поэтому электронный модуль или ИС 50 не контактирует с листом 62. Полость 56 предпочтительно круглая. В случае ИС 50 толщиной 180 мкм и поверхностью 1,5 мм2, непосредственно соединенной с антенной, толщина слоя 62 термопласта равна 200 мкм и диаметр полости 56 равен 3 мм.
Следовательно, на первом этапе ламинирования давление прикладывают к листу 62 или 64 термопласту, а не к ИС 50, и поэтому он не подвергается какому-либо повреждающему его напряжению. Температура должна быть достаточной, чтобы материал листов 62 и 64 размягчился и стал полностью текучим для заполнения углублений 52 и 54 и других возможных вырезов в опоре 40 и в полости 56, чтобы заключить в себе рельефы антенной опоры, например те, которые обусловлены наличием контуров 42 и 44 антенны.
Таким образом, рельефы антенной опоры 40 включаются внутри массы термопласта, при этом формируя пластифицированную антенную опору 60 толщиной около 400 мкм. Возможно также предварительно выполнить вырезы на антенной опоре, которые обеспечивают более лучшее сплавление вместе обоих листов 62 и 64 термопласта. Сформированная таким образом пластифицированная антенная опора 60 устраняет различия толщины, имеющиеся в первоначальной антенной опоре 40.
Вторая фаза ламинирования различных составляющих слоев карточки заключается в ламинировании двух тел карточки на каждой стороне пластифицированной антенной опоры 60 – Фиг. 8. Этот второй этап, выполняемый по прошествии некоторого времени, соответствующего времени, необходимому для затвердения листов 62 и 64 термопласта, заключается в сплавлении вместе горячим прессованием двух слоев 66 и 68 термопласта толщиной около 160 мкм для образования тел карточки на пластифицированных и ровных поверхностях опоры 60. Оба тела 66 и 68 карточки предварительно отпечатаны индивидуальной графикой на их внешней поверхности. Поскольку пластифицированная антенная опора 60 имеет единообразную толщину, поэтому этот этап более похож на адгезивное соединение, чем на сплавление. Поэтому необходимые в этой фазе давление и температура гораздо меньшие, чем в обычном способе. Температуры и давления, необходимые для этого этапа ламинирования, составляют лишь приблизительно 120°С и 150 бар соответственно. При этом снижена также длительность циклов прессования и нагревания.
В случае бесконтактной карточки со встроенной ИС согласно Фиг. 5, 6, 7 и 8 этот этап является последним этапом изготовления карточки.
Согласно варианту способа данного изобретения применительно к бесконтактной карточке со встроенной ИС лист 64 термопласта, наносимый на поверхность антенной опоры, противоположной поверхности, которая вмещает в себе электронный модуль или ИС 50, может также быть перфорирован полостью 58. Полость 58 расположена на листе 64 термопласта и поэтому налагается на местоположение электронного модуля или ИС 50. В этом случае во время первого этапа ламинирования ИС полностью защищена от какого-либо напряжения, вызываемого давлением, прилагаемым к листам 62 и 64 термопласта.
Второй вариант способа согласно данному изобретению применим для бесконтактной карточки со встроенной ИС в случае, когда полость 56 слишком велика для ее наполнения материалом листа 62 термопласта во время первого этапа ламинирования. В этом случае антенная опора 60, получаемая после первого этапа ламинирования, содержит пустоту из-за наличия полости 56 и поэтому не является ровной. Поэтому опора 60 может вмещать в себе в местоположении полости 56 эпоксидную смолу для защиты электронного модуля или ИС 50, обеспечивая совершенно ровную пластифицированную антенную опору 60.
Термопласт, используемый для составляющих слоев тел карточек, наиболее предпочтительно выполнен из поливинилхлорида, но также может быть сложным полиэфиром (полиэтилентерефталат, полиэтиленгликоль), полипропиленом, поликарбонатом или акрилонитрилбутадиенстиролом.
Нужно отметить, что антенна, выполненная из металлических контуров на пластмассовой опоре, такой как сложный полиэфир или полиамид, или на опоре из эпоксидного стекла, также является рельефной по отношению к своей опоре. Поэтому изобретение относится к любому типу антенной опоры, в частности к опорам, антенна которых выглядит рельефной. Антенная опора должна быть выполнена из материала, размеры которого остаются стабильными независимо от температуры; в частности из материала, выдерживающего температуры около 180°С без деформаций и изменений.
Формула изобретения
1. Способ изготовления бесконтактной или контактной/бесконтактной гибридной карточки со встроенной интегральной схемой (ИС), содержащей антенную опору, два тела карточки по обеим сторонам указанной антенной опоры, и электронный модуль или интегральную схему, связанную с антенной, отличающийся тем, что также включает в себя: первый этап ламинирования, заключающийся в том, что сплавляют два однородных листа (32, 34 или 62, 64) термопласта на каждой стороне указанной антенной опоры (30 или 40) путем прессования при температуре, обеспечивающей, чтобы материал листов размягчился и стал полностью текучим для устранения различий в толщине относительно антенной опоры, и для формирования пластифицированной антенной опоры (30 или 60), имеющей ровные поверхности, и второй этап ламинирования, осуществляемый после периода времени, соответствующего времени, необходимому для того, чтобы указанные листы (32, 34 или 62, 64) термопласта отвердели; при этом указанный второй этап заключается в сплавлении горячим прессованием двух пластмассовых слоев (36, 38 или 66, 68), формирующих тела карточки, с получением пластифицированных и ровных поверхностей антенной опоры (30 или 60), с единообразной толщиной, которая пластифицирована указанными листами термопласта.
2. Способ изготовления карточки со встроенной ИС по п.1, отличающийся тем, что в случае наличия бесконтактной карточки со встроенной ИС, указанный лист (62) термопласта, наносится на поверхность указанной антенной опоры (40), вмещающей в себе электронный модуль или ИС (50), перфорирован сквозной полостью (56) и его толщина превышает толщину ИС; причем указанная полость (56) расположена таким образом, что указанный электронный модуль или ИС (50) находится внутри полости, при этом указанный лист (62) помещают на указанной опоре (40) перед первым этапом ламинирования, и электронный модуль или ИС (50) не контактируют с указанным листом (62).
3. Способ изготовления карточки по п.2, отличающийся тем, что указанный лист (64) термопласта, наносится на поверхность антенной опоры, противоположную стороне, вмещающей ИС, перфорирован сквозной полостью (58); причем полость (58) расположена на указанном листе (64) термопласта таким образом, что она налагается на местоположение электронного модуля или ИС (50).
4. Способ изготовления карточки по п.2, отличающийся тем, что указанная опора (60), может вмещать, в местоположение полости (56), эпоксидную смолу для защиты электронного модуля или ИС (50), и обеспечивает совершенно ровную пластифицированную антенную опору (60).
5. Способ изготовления карточки по одному из пп.1-4, отличающийся тем, что указанная антенная опора (10 или 40) выполнена из материала, размеры которого остаются стабильными независимо от температуры, и в частности – из материала, выдерживающего температуры около 180°С без деформаций или изменений.
6. Способ изготовления карточки по п.5, отличающийся тем, что указанная антенная опора выполнена из пластмассы, как например сложный полиэфир или полиамид.
7. Способ изготовления карточки по п.5, отличающийся тем, что указанная антенная опора выполнена из эпоксидного стекла.
8. Способ изготовления карточки по п.5, отличающийся тем, что указанная антенная опора (10 или 40) выполнена из такого волокнистого материала, как бумага.
9. Способ изготовления карточки по п.8, отличающийся тем, что этап изготовления антенны заключается в трафаретной печати контуров из проводящей полимерной краски на указанной опоре из волокнистого материала, и в тепловой обработке для отверждения указанной краски.
10. Способ изготовления карточки по п.9, отличающийся тем, что на этапе изготовления антенны вырезы (22, 24 или 52, 54) полости выполнены в антенной опоре (10 или 40) с возможностью осуществления сплавления вместе обоих слоев (32, 34 или 62, 64) термопласта во время первого этапа ламинирования.
11. Способ изготовления карточки по п.1, отличающийся тем, что на указанных телах (36, 38 или 66, 68) карточки, ламинированных на каждой стороне указанной пластифицированной антенной опоры (50 или 60), предварительно напечатана индивидуальная графика карточки.
12. Способ изготовления карточки по п.1, отличающийся тем, что во время этапа ламинирования тел карточки на указанной пластифицированной антенной опоре (50 или 60) третий пластмассовый лист или слой лака, действующий в качестве покрытия, наносят на каждое из тел карточки.
13. Способ изготовления карточки по п.1, отличающийся тем, что термопласт, из которого выполнены тела карточки, выполнен из поливинилхлорида, сложного полиэфира (полиэтилентерефталат, полиэтиленгликоль), полипропилена, поликарбоната или акрилонитрилбутадиенстирола.
РИСУНКИ
|
|