|
|
(21), (22) Заявка: 2006135980/28, 12.10.2006
(24) Дата начала отсчета срока действия патента:
12.10.2006
(46) Опубликовано: 20.05.2008
(56) Список документов, цитированных в отчете о поиске:
US 6466184 B1, 15.10.2002. RU 2111627 C1, 20.05.1998. RU 2219588 C1, 20.12.2003. EP 0758778 A2, 19.02.1997.
Адрес для переписки:
115409, Москва, ул. Кантемировская, 18, корп.5, кв.931, Г.И. Максимочкину
|
(72) Автор(ы):
Максимочкин Геннадий Иванович (RU), Пасечник Сергей Вениаминович (RU), Кравчук Александр Степанович (RU), Цветков Валентин Алексеевич (RU), Максимочкин Александр Геннадьевич (RU), Лукин Александр Владимирович (RU)
(73) Патентообладатель(и):
Максимочкин Геннадий Иванович (RU)
|
(54) ОБЪЕМНЫЙ ДИСПЛЕЙ
(57) Реферат:
Использование: для воспроизведения трехмерного изображения объектов. Сущность заключается в том, что с помощью термоэлектрических элементов, размещенных в насыщенном растворе жидкого кристалла в изотропной жидкости, регистра памяти, содержащего информацию о координатах элементов трехмерного изображения, генератора импульсов тока и коммутаторов последовательно охлаждают капли жидкого кристалла в насыщенном растворе, находящиеся в окрестности определенных термоэлектрических элементов, координаты которых соответствуют координатам трехмерного изображения. Элементы трехмерного изображения формируются в виде облака капель жидкого кристалла в нематической фазе, видимого в рассеянном свете. Цветовые оттенки устанавливаются подбором глубины импульсного охлаждения. Технический результат: повышение точности воспроизведения трехмерного изображения. 1 ил.
Изобретение относится к средствам визуализации и может быть использовано для воспроизведения трехмерного изображения объектов при проведении экспериментов в физике, в медицинской практике и т.п.
Известен дисплей для воспроизведения трехмерного изображения в пространстве, содержащий оптически связанные источник и рассеивающее устройство из трех экранов, установленных с возможностью вращения относительно источника излучения [1]. В нем ряд двухмерных изображений, проецируемых на подвижные экраны, вследствие инерции зрения сливаются в восприятии человека в объемное изображение; формирование цветов осуществляется за счет покрытия экранов люминофорами.
У известного устройства есть существенный недостаток, связанный с движением экранов, так как возникающие при этом вибрации и деформации элементов устройства ухудшают точность воспроизведения трехмерного изображения.
Наиболее близко по технической сущности и достигаемому эффекту к предлагаемому техническому решению другое известное устройство – объемный дисплей, содержащий оптически связанные источник светового излучения, прозрачную для светового излучения емкость, размещенный в последней микронеоднородный материал с управляемыми характеристиками рассеяния света и блок регулирования температуры в емкости [2]. В этом устройстве источник светового излучения выполнен в виде двух лазеров, лучи которых пересекаются последовательно в заданных точках внутри емкости; микронеоднородный материал – люминесцентная газовая смесь, имеющая определенный энергетический порог возбуждения для падающего светового потока и излучающая свет другой определенной длины волны. Элементы трехмерного изображения формируются в точках пересечения двух лазерных лучей, суммарная интенсивность которых превышает указанный порог возбуждения.
Недостаток известного устройства – низкая точность воспроизведения трехмерного изображения, связанная с изменением коэффициента преломления газовой смеси в окрестности сформированных элементов изображения, что приводит к неконтролируемым смещениям лазерных лучей при формировании ряда следующих элементов.
Цель изобретения – повышение точности воспроизведения трехмерного изображения.
Цель достигается тем, что объемный дисплей, содержащий оптически связанные источник светового излучения, прозрачную для светового излучения емкость, размещенный в последней микронеоднородный материал с регулируемыми характеристиками рассеяния света и блок регулирования температуры в емкости, снабжен последовательно соединенными генератором импульсов и трехканальным регистром памяти, подключенными к выходу генератора импульсов последовательно соединенными источником тока, выполненным с двумя симметричными выходами, и N-канальным коммутатором, вход управления которого соединен с первым выходом трехканального регистра памяти; N блоками сканирования, каждый из которых выполнен из М-канального коммутатора, вход управления которого соединен со вторым выходом трехканального регистра памяти; К-канальным коммутатором, вход управления которого соединен с третьим выходом трехканального регистра памяти, а вход соединен со вторым симметричным выходом источника тока; М групп по К термоэлектрических элементов, входы которых в каждой группе соединены между собой последовательно проводниками и с соответствующим номеру группы выходом М-канального коммутатора, а выходы термоэлектрических элементов с одинаковым порядковым номером из каждой группы соединены проводниками последовательно между собой и с соответствующим выходом К-канального коммутатора; термоэлектрические элементы в N блоках сканирования размещены в емкости с равными интервалами между соседними элементами, а микронеоднородный материал выполнен из насыщенного раствора жидкого кристалла в изотропной жидкости. Элемент трехмерного изображения в объемном дисплее представляет собой облачко капель жидкого кристалла, находящегося в нематической фазе.
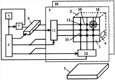
На чертеже представлена блок-схема объемного дисплея.
Объемный дисплей содержит оптически связанные источник 1 светового излучения, прозрачную для светового излучения емкость 2, размещенный в последней микронеоднородный материал 3 с регулируемыми характеристиками рассеяния света и блок 4 регулирования температуры в емкости 2; последовательно соединенные генератор 5 импульсов и трехканальный регистр 6 памяти, подключенные к выходу генератора 5 импульсов последовательно соединенные источник 7 тока, выполненный с двумя симметричным выходами, и N-канальный коммутатор 8, вход управления которого соединен с первым выходом трехканального регистра 6 памяти; N блоков 9…10 сканирования, каждый из которых выполнен из М-канального коммутатора 11, вход управления которого соединен с вторым выходом трехканального регистра 6 памяти; К-канального коммутатора 12, вход управления которого соединен с третьим выходом трехканального регистра 6 памяти, а вход соединен с вторым симметричным выходом источника 7 тока; М групп по К термоэлектрических элементов 13 (элементы Пельте), входы которых в каждой группе соединены между собой последовательно проводниками 15 и с соответствующим номеру группы выходом М-канального коммутатора 11, а выходы термоэлектрических элементов 13 с одинаковым порядковым номером из каждой группы соединены проводниками 15 последовательно между собой и с соответствующим выходом К-канального коммутатора 12; термоэлектрические элементы 13 в N блоках 9…10 сканирования размещены в емкости 2 с равными интервалами между соседними элементами, а микронеоднородный материал 3 выполнен из насыщенного раствора жидкого кристалла в изотропной жидкости, 16 – элемент трехмерного изображения в объемном дисплее, представляющий собой облачко капель жидкого кристалла.
Объемный дисплей работает следующим образом.
В исходном состоянии (в отсутствие отображаемых элементов изображения) емкость 2, микронеоднородный материал – насыщенный раствор жидкого кристалла 3 и размещенные в емкости 2 термоэлектрические элементы 13 с проводниками 14, 15 незначительно рассеивают проходящее через емкость световое излучение от источника 1. Величина рассеяния света в исходном состоянии может быть минимизирована выбором интервала между соседними термоэлектрическими элементами 13 значительно больше, чем собственные размеры термоэлементов, и выбором изотропной жидкости и жидкого кристалла (в изотропной фазе) с близкими коэффициентами преломления для светового излучения от источника 1. В исходном состоянии насыщенный раствор жидкого кристалла в изотропной жидкости содержит взвесь мельчайших капель жидкого кристалла, размеры которых зависят от температуры. С помощью блока 4 регулирования температуры в емкости 2 устанавливают и поддерживают температуру, при которой капли жидкого кристалла находятся в изотропном состоянии, а их размеры много меньше длины волны оптического излучения. Элемент объемного изображения формируется при прохождении импульса тока через заданный термоэлектрический элемент в виде облачка, состоящего из капель жидкого кристалла. Импульс тока приводит к кратковременному охлаждению одной из поверхностей термоэлектрического элемента. Вблизи охлажденной поверхности капли жидкого кристалла охлаждаются, переходят в нематическую фазу и увеличиваются в размерах. При достижении каплями размеров, соизмеримых с длиной волны падающего на них света, элемент объемного изображения становится видимым в рассеянных лучах при наблюдении через боковые поверхности емкости 2. По завершении импульса тока через определенное время происходит обратный процесс нагревания и уменьшения размеров капель жидкого кристалла в окрестности рассматриваемого термоэлектрического элемента и переход капель в исходное изотропное состояние с малым рассеянием света. Выделение тепла на противоположной поверхности термоэлектрического элемента компенсируется блоком 4 регулирования температуры в емкости 2.
Изменение цвета рассеянного от элемента объемного изображения излучения от голубого до красного оттенка достигается за счет выбора длительности охлаждения, например, путем подачи одного, двух и т.д. импульсов тока на определенный термоэлектрический элемент. С ростом капель при их охлаждении в рассеянном излучении формируются цветовые оттенки в диапазоне от голубого до красного.
Более подробно, в соответствии с чертежом, по сигналам генератора 5 импульсов запускается источник 7 тока и трехканальный регистр 6 памяти устанавливает в двоичном коде: на первом выходе адрес одного из блоков сканирования (соответствующего координате Z), на втором и третьем выходах – адреса проводников 14 и 15, соответствующих координатам Х и Y. Через термоэлектрический элемент 13, установленный в точке пересечения проводников 14 и 15, проходит импульс тока. Температура на одной из его поверхностей уменьшается, что приводит к формированию вблизи указанной поверхности элемента трехмерного изображения в виде облачка капель жидкого кристалла в нематической фазе, видимого в рассеянном свете. Повторением описанной процедуры заданное в регистре 6 памяти число раз достигается рост капель жидкого кристалла до размеров, обеспечивающих требуемый цветовой оттенок элемента трехмерного изображения. Аналогично последовательно формируются другие элементы трехмерного изображения.
Использование изобретения обеспечивает преимущества, заключающиеся в повышении точности воспроизведения трехмерного изображения. Положительный эффект достигается за счет жесткой привязки координат формируемых элементов изображения к известным координатам термоэлектрических элементов в предлагаемом устройстве.
Источники информации
1. Патент РФ, №2111627, кл. Н04N 9/31, G09G 3/06, 1996.
2. Патент США, №6466184, кл. 345/6, 2002 (прототип).
Формула изобретения
Объемный дисплей, содержащий оптически связанные источник светового излучения, прозрачную для светового излучения емкость, размещенный в последней микронеоднородный материал с регулируемыми характеристиками рассеяния света и блок регулирования температуры в емкости, отличающийся тем, что он снабжен последовательно соединенными генератором импульсов и трехканальным регистром памяти, подключенными к выходу генератора импульсов и последовательно соединенными источником тока, выполненным с двумя симметричными выходами, и N-канальным коммутатором, вход управления которого соединен с первым выходом трехканального регистра памяти, N блоками сканирования, каждый из которых выполнен из М-канального коммутатора, вход управления которого соединен со вторым выходом трехканального регистра памяти, К-канального коммутатора, вход управления которого соединен с третьим выходом трехканального регистра памяти, а вход соединен со вторым симметричным выходом источника тока, М групп по К термоэлектрических элементов, входы которых, в каждой группе, соединены между собой последовательно проводниками и с соответствующим номеру группы выходом М-канального коммутатора, а выходы термоэлектрических элементов с одинаковым порядковым номером из каждой группы соединены проводниками последовательно между собой и с соответствующим выходом К-канального коммутатора, термоэлектрические элементы в N блоках сканирования размещены в емкости с равными интервалами между соседними элементами, а микронеоднородный материал выполнен из насыщенного раствора жидкого кристалла в изотропной жидкости.
РИСУНКИ
|
|