|
|
(21), (22) Заявка: 2006132115/28, 07.09.2006
(24) Дата начала отсчета срока действия патента:
07.09.2006
(46) Опубликовано: 20.05.2008
(56) Список документов, цитированных в отчете о поиске:
RU 2273872 C1, 10.04.2006. RU 2055371 C1, 27.02.1996. RU 2020522 C1, 30.09.1994. WO 03/027621 A2, 03.04.2003.
Адрес для переписки:
170042, г.Тверь, ул. Шмидта, 5, кв.43, С.В. Буцеву
|
(72) Автор(ы):
Буцев Сергей Васильевич (RU), Король Олег Владимирович (RU)
(73) Патентообладатель(и):
Буцев Сергей Васильевич (RU), Король Олег Владимирович (RU)
|
(54) УСТРОЙСТВО АКТИВНОЙ АДАПТИВНОЙ ОПТИКО-ЭЛЕКТРОННОЙ СИСТЕМЫ УПРАВЛЕНИЯ ТЕЛЕСКОПОМ
(57) Реферат:
Изобретение относится к устройствам управления фазой световой волны. Устройство активной адаптивной оптико-электронной системы управления телескопом содержит устройство формирования опорного точечного источника, оптически связанные с ним двухкоординатное зеркало общих наклонов волнового фронта, вторичное и главное зеркала, которые оптически связаны с деформируемым зеркальным корректором, светоделителем и фокальной плоскостью изображения, а также соединенный со светоделителем своим входом датчик волнового фронта, устройство оценивания (фильтрации) наклонов волнового фронта, восстановитель фазы, устройства формирования оптимальных сигналов управления. Дополнительно введено устройство адаптации к изменению характеристик наклонов волнового фронта, которое своим входом соединено с выходом датчика волнового фронта, а выходом со входом устройства оценивания (фильтрации) наклонов волнового фронта. Технический результат – повышение точности коррекции искажений волнового фронта и получение наилучшего в данных условиях наблюдения качества изображения объекта. 3 ил.
Изобретение относится к устройствам управления фазой световой волны и служит для получения наилучшего в данных условиях наблюдения качества изображения объекта за счет воздействия на характеристики (коррекцию фазы) волнового фронта (ВФ) излучения.
Известно устройство адаптивной оптико-электронной системы (АОЭС) управления телескопом /Устройство адаптивной оптико-электронной системы управления телескопом. – Патент №2224272 от 20.02.2004 г./, предназначенное для компенсации искажений ВФ (общего наклона, дефокусировки и остаточных локальных искажений), обусловленных атмосферой и оптическим трактом телескопа. Данное устройство содержит главное зеркало; вторичное зеркало; двухкоординатное зеркало общих наклонов волнового фронта; деформируемый зеркальный корректор; управляющее устройство; восстановитель фазы; датчик волнового фронта (ДВФ); светоделитель; фокальную плоскость изображения в телескопе; устройство формирования оптимальных сигналов управления; устройство оценивания (фильтрации) наклонов волнового фронта; устройство управления вторичным зеркалом. Устройство работает следующим образом: световой сигнал от телескопа поступает через коллиматор на двухкоординатное зеркало общих наклонов ВФ, далее на деформируемый зеркальный корректор, откуда после светоделителя на ДВФ гартмановского типа, где происходит измерение значений градиентов фазы (наклонов) ВФ в двух ортогональных направлениях. Измеренные значения наклонов ВФ поступают на устройство оценивания (фильтрации) наклонов ВФ на базе систолической структуры из процессорных элементов, осуществляющих параллельную обработку измеренных значений наклонов ВФ. Далее производится операция восстановления фазы путем пространственного интегрирования данных измерений наклонов ВФ в восстановителе фазы. По выработанным в нем электрическим сигналам, соответствующим фазе восстановленного ВФ, вырабатываются оптимальные управляющие напряжения в устройстве формирования оптимальных сигналов управления, построенном на базе систолической структуры из процессорных элементов. Данные управляющие напряжения подаются на устройство управления вторичным зеркалом телескопа, которое осуществляет управление данным зеркалом путем его перемещения вдоль оптической оси телескопа, и на управляющее устройство, осуществляющее управление двухкоординатным зеркалом общих наклонов ВФ (путем наклона его в двух ортогональных плоскостях) и деформируемым зеркальным корректором со многими степенями свободы, установленным в плоскости, сопряженной с плоскостью главного зеркала путем смещения элементарных зон (участков) его зеркальной поверхности для обеспечения коррекции искажений ВФ.
Прототипом изобретения по технической сущности является устройство активной АОЭС управления телескопом, предназначенное для компенсации искажений ВФ (общего наклона, дефокусировки и остаточных локальных искажений), представленное на фиг.1 /Устройство активной адаптивной оптико-электронной системы управления телескопом. Патент №2273872 от 10.04.2006 г./. Устройство содержит главное зеркало (1); вторичное зеркало (2); двухкоординатное зеркало общих наклонов волнового фронта (3); деформируемый зеркальный корректор (4); управляющее устройство (5); восстановитель фазы (6); датчик волнового фронта (7); светоделитель (8); фокальную плоскость изображения в телескопе (9); устройство формирования оптимальных сигналов управления (10); устройство оценивания (фильтрации) наклонов волнового фронта (11); устройство управления вторичным зеркалом (12); устройство формирования опорного точечного источника (13). Устройство работает следующим образом: световой сигнал от устройства формирования опорного точечного источника (13), построенного на базе когерентного источника излучения, проходя двухкоординатное зеркало общих наклонов (3), вторичное (2) и главное (1) зеркала телескопа отражается от лоцируемого объекта, либо за счет обратного релеевского рассеяния в атмосфере создает опорный точечный источник (звезду), находящийся в одной изопланарной области с лоцируемым объектом, и возвращается обратно в телескоп. Далее световой сигнал от телескопа (1, 2) поступает через коллиматор на двухкоординатное зеркало общих наклонов ВФ (3), далее на деформируемый зеркальный корректор (4), откуда после светоделителя (8) на ДВФ гартмановского типа (7), где происходит измерение значений градиентов фазы (наклонов) ВФ. Измеренные значения наклонов ВФ поступают на устройство оценивания (фильтрации) наклонов ВФ (11) на базе систолической структуры из процессорных элементов, осуществляющих параллельную обработку измеренных значений наклонов ВФ. По сигналам с данного устройства осуществляется восстановление ВФ в восстановителе фазы (6), по выработанным в нем электрическим сигналам, соответствующим фазе восстановленного ВФ, вырабатываются оптимальные управляющие напряжения в устройстве формирования оптимальных сигналов управления (10), построенном на базе систолической структуры из процессорных элементов. Оптимальные управляющие напряжения подаются на устройство управления вторичным зеркалом телескопа (12) в составе усилителя напряжения и электромеханического привода, вырабатывающего электрические сигналы, посредством которых винтовым исполнительным механизмом, вращающимся от электродвигателя, осуществляется перемещение вторичного зеркала вдоль оптической оси, и на управляющее устройство (5), осуществляющее управление двухкоординатным зеркалом общих наклонов ВФ (путем наклона его в двух ортогональных плоскостях) и деформируемым зеркальным корректором (4) со многими степенями свободы, установленным в плоскости, сопряженной с плоскостью главного зеркала путем смещения элементарных зон (участков) его зеркальной поверхности. При этом неискаженное изображение лоцируемого объекта формируется (регистрируется) в фокальной плоскости телескопа (9).
Общим недостатком данных устройств является то что, они могут обеспечивать потенциальную точность оценивания (фильтрации) искажений ВФ и, как следствие, точность коррекции искажений ВФ лишь при условии совпадения характеристик (фазы) случайных искажений ВФ с теми характеристиками, при которых функционирует устройство оценивания (фильтрации) ВФ. В том случае, если характеристики реальных искажений ВФ отличаются от тех, на которые настроено устройство оценивания (фильтрации) искажений ВФ, будут возникать ошибки, приводящие к снижению точности восстановления ВФ и, как следствие, снижению точности коррекции искажений ВФ и возможности получения качественного (неискаженного) изображения лоцируемого объекта.
Задачей настоящего изобретения является повышение точности коррекции искажений ВФ, обусловленных оптическими неоднородностями атмосферы и оптического тракта телескопа, в интересах улучшения качества формируемых телескопом изображений лоцируемых объектов.
В основу изобретения положена задача создания устройства, обеспечивающего коррекцию искажений ВФ, обусловленных оптическими неоднородностями атмосферы и оптическим трактом телескопа, в интересах получения качественных (неискаженных) изображений лоцируемых объектов. Данный результат достигается автоматическим воздействием на характеристики (фазу) ВФ излучения, приходящего от наблюдаемого объекта, за счет повышения точности коррекции искажений ВФ вследствие получения возможности более точного измерения искажений ВФ, в условиях наличия неопределенности их характеристик, и, как следствие, этого более точного восстановления фазы ВФ и управления комбинированным корректором ВФ в составе двухкоординатного зеркала общих наклонов ВФ, деформируемого зеркального корректора и вторичного зеркала.
Для достижения поставленной задачи в предлагаемом устройстве активной АОЭС дополнительно вводится устройство адаптации к изменению характеристик наклонов ВФ на базе специального электронно-вычислительного устройства, состоящего из систолического множества процессорных элементов /Никонов В.В., Кравцов С.Г., Самошин В.Н. Систолическая обработка информации: Элементная база и алгоритмы. – Зарубежная радиоэлектроника, 1987, №7, с.34-51/, функционирующего на основе адаптивных алгоритмов, приведенных, например в /Буцев С.В. Алгоритмы функционирования адаптивной оптической системы фазового сопряжения. – Квантовая электроника, 1996, №8, с.753-758/.
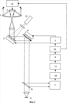
На фиг.2 представлена схема предлагаемого устройства активной АОЭС управления телескопом. Устройство содержит главное зеркало (1); вторичное зеркало (2); двухкоординатное зеркало общих наклонов волнового фронта (3); деформируемый зеркальный корректор (4); управляющее устройство (5); восстановитель фазы (6); датчик волнового фронта (7); светоделитель (8); фокальную плоскость изображения в телескопе (9); устройство формирования оптимальных сигналов управления (10); устройство оценивания (фильтрации) наклонов волнового фронта (11); устройство управления вторичным зеркалом (12); устройство формирования опорного точечного источника (13); устройство адаптации к изменению характеристик наклонов ВФ (14).
Предлагаемое устройство активной АОЭС управления телескопом работает следующим образом. Световой сигнал от устройства формирования опорного точечного источника, построенного на базе когерентного источника излучения, проходя двухкоординатное зеркало общих наклонов (3), вторичное (2) и главное (1) зеркала телескопа, отражается от лоцируемого объекта, либо за счет обратного релеевского рассеяния в атмосфере создает опорный точечный источник (звезду), находящийся в одной изопланарной области с лоцируемым объектом, и возвращается обратно в телескоп. Далее световой сигнал от телескопа (1, 2) поступает через коллиматор на двухкоординатное зеркало общих наклонов ВФ (3), далее на деформируемый зеркальный корректор (4), откуда после светоделителя (8) на ДВФ гартмановского типа (7), где происходит измерение значений градиентов фазы (наклонов) ВФ. Измеренные значения наклонов ВФ поступают на устройство адаптации к изменению характеристик наклонов ВФ (14), аналогичное устройству, приведенному в /Никонов В.В., Кравцов С.Г., Самошин В.Н. Систолическая обработка информации: Элементная база и алгоритмы. – Зарубежная радиоэлектроника, 1987, №7, с.34-51/, на базе систолической структуры из процессорных элементов, осуществляющих параллельную обработку измеренных значений наклонов ВФ на основе адаптивных алгоритмов, аналогичных приведенным в /Буцев С.В. Алгоритмы функционирования адаптивной оптической системы фазового сопряжения. – Квантовая электроника, 1996, №8, с.753-758/. По сигналам с данного устройства осуществляется оценивание (фильтрация) наклонов ВФ в устройстве оценивания (фильтрации) наклонов ВФ (11) и на их основе затем осуществляется восстановление ВФ в восстановителе фазы (6). По выработанным в нем электрическим сигналам, соответствующим фазе восстановленного ВФ, вырабатываются оптимальные управляющие напряжения в устройстве формирования оптимальных сигналов управления (10), построенном на базе систолической структуры из процессорных элементов. Оптимальные управляющие напряжения подаются на устройство управления вторичным зеркалом телескопа (12) в составе усилителя напряжения и электромеханического привода, вырабатывающего электрические сигналы, посредством которых винтовым исполнительным механизмом, вращающимся от электродвигателя, осуществляется перемещение вторичного зеркала вдоль оптической оси, и на управляющее устройство (5), осуществляющее управление двухкоординатным зеркалом общих наклонов ВФ (путем наклона его в двух ортогональных плоскостях) и деформируемым зеркальным корректором (4) со многими степенями свободы, установленным в плоскости, сопряженной с плоскостью главного зеркала путем смещения элементарных зон (участков) его зеркальной поверхности. При этом неискаженное изображение лоцируемого объекта формируется (регистрируется) в фокальной плоскости телескопа (9).
Сравнительная оценка эффективности предлагаемого устройства активной АОЭС и устройства-прототипа проведена по методике, изложенной в /Буцев С.В. Эффективность функционирования адаптивных оптических систем. – Квантовая электроника, 1995, №4, с.345-349/. В качестве показателя эффективности использовался выигрыш в точности адаптации, который достигается при использовании предлагаемого устройства активной АОЭС вместо устройства-прототипа, синтезированного на определенные, априори известные характеристики искажений (наклонов) ВФ. Количественно оценить его можно отношением дисперсий ошибки фильтрации наклонов ВФ в устройстве прототипе 2 na и предлагаемом устройстве .
На фиг.3 приведено семейство зависимостей выигрыша в точности адаптации для предлагаемого устройства активной АОЭС относительно устройства-прототипа от отношения диаметра входной апертуры телескопа D к радиусу когерентности Фрида r0 при структурной (пунктир) и параметрической (сплошные линии) неопределенностях характеристик искажений (наклонов) ВФ и (D/r0)max=2(1), 6(2), 10(3). При этом под структурной неопределенностью характеристик искажений ВФ понималось отличие в видах пространственной корреляционной функции, а под параметрической – отличие в значениях радиуса пространственной когерентности.
Анализ приведенных на фиг.3 результатов позволяет сделать вывод о том, что выигрыш в точности адаптации предлагаемого устройства активной АОЭС по сравнению с устройством-прототипом зависит от того, насколько уровень реальных искажений ВФ отличается от принятого при синтезе устройства-прототипа. Если D/r0=(D/r0)max, то =1 и выигрыша нет, по мере уменьшения D/r0 выигрыш увеличивается. Максимальный предельный выигрыш определяется диапазоном возможных изменений уровня искажений ВФ, причем выигрыш в точности адаптации при структурной неопределенности характеристик искажений ВФ выше, чем при параметрической неопределенности.
Предлагаемое устройство не требует существенной конструкционной доработки известного устройства и может быть внедрено в существующих телескопах.
Формула изобретения
Устройство активной адаптивной оптико-электронной системы управления телескопом, содержащее устройство формирования опорного точечного источника, оптически связанные с ним двухкоординатное зеркало общих наклонов волнового фронта, вторичное и главное зеркала телескопа, которые оптически связаны с деформируемым зеркальным корректором, светоделителем и фокальной плоскостью изображения в телескопе, и соединенный со светоделителем своим входом датчик волнового фронта, а также устройство оценивания (фильтрации) наклонов волнового фронта, которое своим выходом соединено с восстановителем фазы, выход которого является входом устройства формирования оптимальных сигналов управления, первый выход которого является входом управляющего устройства, соединенного первым выходом с двухкоординатным зеркалом общих наклонов волнового фронта, а вторым выходом соединено с деформируемым зеркальным корректором, а второй выход устройства формирования оптимальных сигналов управления соединен с устройством управления вторичным зеркалом, которое своим выходом соединено со вторичным зеркалом, отличающееся тем, что выход датчика волнового фронта соединен со входом устройства адаптации к изменению характеристик наклонов волнового фронта, которое своим выходом соединено с устройством оценивания (фильтрации) наклонов волнового фронта.
РИСУНКИ
MM4A – Досрочное прекращение действия патента СССР или патента Российской Федерации на изобретение из-за неуплаты в установленный срок пошлины за поддержание патента в силе
Дата прекращения действия патента: 08.09.2008
Извещение опубликовано: 27.07.2010 БИ: 21/2010
|
|