|
|
(21), (22) Заявка: 2006142190/28, 29.11.2006
(24) Дата начала отсчета срока действия патента:
29.11.2006
(46) Опубликовано: 20.05.2008
(56) Список документов, цитированных в отчете о поиске:
SU 1363017 A1, 30.12.1987. SU 241795 A1, 01.01.1969. SU 868474 A1, 30.09.1981. SU 1062566 A1, 23.12.1983. US 4077251, 07.03.1978.
Адрес для переписки:
394000, г.Воронеж, пр. Революции, 19, ВГТА, отдел СМП
|
(72) Автор(ы):
Смирных Александр Александрович (RU), Серегин Дмитрий Николаевич (RU), Шутилин Юрий Федорович (RU), Кузнецова Елена Владимировна (RU), Родионова Наталья Сергеевна (RU)
(73) Патентообладатель(и):
Государственное образовательное учреждение высшего профессионального образования Воронежская государственная технологическая академия (RU)
|
(54) УСТРОЙСТВО ДЛЯ ИЗМЕРЕНИЯ ВЯЗКОСТИ МАТЕРИАЛА
(57) Реферат:
Изобретение относится к технике измерения вязкости веществ, а именно к устройствам для измерения эффективной вязкости материала с помощью ротационного вискозиметра. Устройство включает плиту, стойку с установленной на ней панелью, на которой закреплено основание с измерительным устройством, состоящим из наружного измерительного цилиндра, внутреннего измерительного цилиндра, привода и датчика угла поворота. В наружном измерительном цилиндре выполнены отверстия в стенках и днище, объединенные между собой концентрическими металлическими трубочками посредством дугообразного двухпозиционного металлического капилляра, гибкого соединительного шланга и штуцера с объемным насосом. Наружный измерительный цилиндр снабжен термостатирующей ячейкой. Техническим результатом изобретения является повышение точности измерения величины вязкости материала и экспрессность получения результатов технологического воздействия на его реологические свойства, возможность измерения величины вязкости материала в потоке, расширение возможностей применения устройства. 3 ил.
Изобретение относится к технике измерения вязкости веществ, а именно к устройствам для измерения эффективной вязкости материала с помощью ротационного вискозиметра.
Известно устройство для измерения вязкости материала, включающее коаксиально расположенные наружный измерительный цилиндр и внутренний вращающийся измерительный цилиндр, установленный на измерительном штоке, соединенном с электроприводом, силоизмеритель, датчик угла поворота, электропривод, термостатирующее устройство, исследуемый материал поступает в зазор коаксиальной цилиндрической системы ротационного вискозиметра, вытесняя при этом массу материала, оставшуюся от предыдущего замера [Реометрия пищевого сырья и продуктов: Справочник / Под ред. Ю.А.Мачихина. – М.: Агропромиздат. – 1990. – 271 с.].
Недостатком такого устройства для измерения вязкости материала является невысокая точность.
Наиболее близким по технической сущности и достигаемому эффекту является ротационный вискозиметр [пат. РФ №1363017, G01N 11/14, Ротационный вискозиметр], содержащий основание, два коаксиально расположенных измерительных цилиндра, привод и схему измерения угла поворота измерительного цилиндра.
Недостатком такого ротационного вискозиметра является недостаточная его оперативность, относительно невысокая точность.
Техническая задача – повышение точности измерения величины вязкости материала и экспрессность получения результатов технологического воздействия на его реологические свойства, возможность измерения величины вязкости материала в потоке, расширение возможностей применения устройства.
Техническая задача достигается тем, что в устройстве для измерения вязкости материала, включающем плиту, стойку с установленной на ней панелью, на которой закреплено основание с измерительным устройством, состоящим из наружного измерительного цилиндра, внутреннего измерительного цилиндра, привода и датчика угла поворота, новым является то, что в наружном измерительном цилиндре выполнены отверстия в стенках и днище, объединенные между собой концентрическими металлическими трубочками посредством дугообразного двухпозиционного металлического капилляра, гибкого соединительного шланга и штуцера с объемным насосом, при этом наружный измерительный цилиндр снабжен термостатирующей ячейкой.
Технический результат заключается в повышении точности измерения величины вязкости материала и экспрессности получения результатов технологического воздействия на его реологические свойства, в возможности измерения величины вязкости материала в потоке.
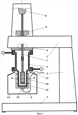
На фиг.1 представлен общий вид устройства для измерения вязкости материала, на фиг.2 – разрез А-А устройства для измерения вязкости материала, на фиг.3 – вид снизу устройства для измерения вязкости материала.
Устройство для измерения вязкости материала включает в себя плиту 1, стойку 2 с установленной на ней панелью 3, на которой закреплено основание 4, на основании закреплен наружный измерительный цилиндр 5, внутренний измерительный цилиндр 6 и датчик угла поворота 9, установленные на приводном валу 7, привод которого осуществляется от электродвигателя 8, наружный измерительный цилиндр 5 снабжен отверстиями, объединенными между собой концентрическими металлическими трубочками 10 посредством дугообразного двухпозиционного металлического капилляра 11, гибкого соединительного шланга 12, штуцера 13 на корпусе термостатирующей ячейки 14 с объемным насосом (не показан).
Устройство для измерения вязкости материала работает следующим образом.
На приводной вал 7 ротационного вискозиметра устанавливают последовательно внутренний измерительный цилиндр 6, на основании 4 закрепляют наружный измерительный цилиндр 5, подсоединяют гибкий соединительный шланг 12, идущий от штуцера 13 на корпусе термостатирующей ячейки 14 к дугообразному двухпозиционному металлическому капилляру 11, и фиксируют термостатирующую ячейку 14 на наружном измерительном цилиндре 5. При установленной и термостатированной измерительной системе в зазор коаксиальной цилиндрической системы через отверстия во внешнем цилиндре подают исследуемое вещество, включают электродвигатель 8, в процессе проведения измерения можно вводить дополнительный компонент в объем исследуемого вещества через отверстия в стенках и днище внешнего цилиндра измерительной системы. Вследствие тормозящего эффекта исследуемого вещества внутренний цилиндр поворачивается на определенный угол относительно своей оси вращения, величина угла поворота фиксируется датчиком угла поворота измерительного цилиндра 9, сигнал от которого передается на блок индикации (не показан). После окончания измерений вязкости материала его удаляют из измерительной системы через отверстия в стенках и днище внешнего измерительного цилиндра 5, через которые затем в зазор между коаксиальными цилиндрами подается промывная жидкость для удаления остатков исследуемого вещества и воздух для удаления остатков промывочной жидкости. Предлагаемая конструкция устройства для измерения вязкости материала позволяет подавать испытуемый материал в процессе исследования многопозиционно непосредственно в зазор коаксиальных цилиндров измерительной системы через концентрические металлические трубочки, установленные на наружном измерительном цилиндре, и/или изменять состав материала, удаление, промывку и другие подготовительные операции могут осуществляться без демонтажа коаксиальной цилиндрической измерительной системы ротационного вискозиметра.
Устройство для измерения вязкости материала работает без механического демонтажа измерительной коаксиальной цилиндрической системы ротационного вискозиметра при проведении подготовительных операций, т.е. подготовительные операции промывки, просушки измерительной коаксиальной цилиндрической системы возможно проводить через концентрические металлические трубочки, установленные в стенках и днище наружного измерительного цилиндра 5, исследуемый образец вещества подается объемным насосом внутрь системы, термостатируется, через распределитель и систему капилляров можно вводить дополнительные вещества непосредственно в объем исследуемого материала с помощью дискретной объемной подачи, чем достигается факт изменения рецептурно-технологического состава исследуемого вещества при данных технико-технологических условиях. В предлагаемом устройстве для измерения вязкости материала исключаются погрешности, обусловленные наличием возможных остаточных напряжений и неоднородностью структуры исследуемого материала, находящегося в измерительной системе, которые могут иметь место из-за ввода внутреннего измерительного цилиндра в исследуемое вещество при монтаже наружного измерительного цилиндра на основание.
Предложенное устройство для измерения вязкости материала позволяет повысить точность измерения величины вязкости материала и экспрессность получения результатов технологического воздействия на его реологические свойства, возможность осуществления измерения величины вязкости материала в потоке при постоянном термостатировании измерительной системы и осуществлять подачу исследуемого вещества, дополнительных ингредиентов без ее демонтажа, причем подготовительные операции, включающие в себя загрузку и выгрузку исследуемого вещества, промывку и просушку измерительной системы могут осуществляться также без демонтажа и разбора измерительной системы ротационного вискозиметра.
Формула изобретения
Устройство для измерения вязкости материала, включающее плиту, стойку с установленной на ней панелью, на которой закреплено основание с измерительным устройством, состоящим из наружного измерительного цилиндра, внутреннего измерительного цилиндра, привода и датчика угла поворота, отличающееся тем, что в наружном измерительном цилиндре выполнены отверстия в стенках и днище, объединенные между собой концентрическими металлическими трубочками посредством дугообразного двухпозиционного металлического капилляра, гибкого соединительного шланга и штуцера с объемным насосом, при этом наружный измерительный цилиндр снабжен термостатирующей ячейкой.
РИСУНКИ
MM4A – Досрочное прекращение действия патента СССР или патента Российской Федерации на изобретение из-за неуплаты в установленный срок пошлины за поддержание патента в силе
Дата прекращения действия патента: 30.11.2008
Извещение опубликовано: 10.08.2010 БИ: 22/2010
|
|