|
|
(21), (22) Заявка: 2006137985/28, 27.10.2006
(24) Дата начала отсчета срока действия патента:
27.10.2006
(46) Опубликовано: 20.05.2008
(56) Список документов, цитированных в отчете о поиске:
SU 1257448 A1 15.09.1986. SU 1755121 A1 15.08.1992. RU 92001709 A 20.05.1995. US 4003246 18.01.1977.
Адрес для переписки:
455000, Челябинская обл., г. Магнитогорск, пр. Ленина, 38, ГОУ ВПО “МГТУ им. Г.И. Носова”, начальнику патентного отдела А.А. Астафьевой
|
(72) Автор(ы):
Варламов Андрей Аркадьевич (RU), Круциляк Юрий Михайлович (RU), Круциляк Михаил Михайлович (RU)
(73) Патентообладатель(и):
Государственное образовательное учреждение высшего профессионального образования “Магнитогорский государственный технический университет им. Г.И. Носова” (RU)
|
(54) СПОСОБ ОПРЕДЕЛЕНИЯ КРИТИЧЕСКОГО КОЭФФИЦИЕНТА ИНТЕНСИВНОСТИ НАПРЯЖЕНИЯ В ИЗДЕЛИИ
(57) Реферат:
Изобретение относится к области строительства. Сущность: в изделии прямоугольного сечения выполняют зону концентрации напряжений, которую нагружают до разрушения и по полученным данным определяют критический коэффициент интенсивности напряжений. Зону концентрации напряжения в изделии выполняют в виде углового сегмента в месте пересечения его перпендикулярных граней. Образованную зону нагружают по поверхности углового сегмента до его отлома, после чего замеряют разрушающую нагрузку и параметры отломленного углового сегмента, а критический коэффициент интенсивности напряжения в изделии определяют по формуле. Технический результат: повышение точности и достоверности. 1 табл., 4 ил.
Изобретение относится к области строительства и может быть использовано в промышленных и лабораторных условиях для определения критического коэффициента интенсивности напряжений в изделиях из бетона и природного камня, например в железобетонных колоннах прямоугольного сечения, балках, стеновых панелях, плитах перекрытия, а также в фундаментах зданий и сооружений.
Известен способ определения прочности тяжелых и легких бетонов, заключающийся в скалывании ребра изделия путем прикладывания нагрузки к ребру изделия, фиксации величины нагрузки в момент скола ребра и последующее измерение фактической глубины скалывания (см. ГОСТ 22690-88 “Бетоны. Определение прочности механическими методами неразрушающего контроля” / Введен: 01.01.91; с.8).
Недостатком данного способа является низкая точность и достоверность определения критического коэффициента интенсивности напряжений исследуемого материала в результате того, что во время испытаний в зоне скола возникают касательные напряжения вдоль линии действия силы, которые искажают точность и достоверность определения критического коэффициента интенсивности напряжений.
Наиболее близким аналогом к заявленному объекту является способ определения критического коэффициента интенсивности напряжений, заключающийся в том, что в образце прямоугольного сечения выполняют зону концентраций напряжений, которую нагружают до разрушения, после чего по полученным данным определяют критический коэффициент интенсивности напряжений. При этом зону концентрации напряжений выполняют на противоположных гранях в плоскости, перпендикулярной продольной оси образца, а перед нагружением зоны образец закрепляют консольно (см. авт. св. СССР №1257448, G01N 3/00).
Недостатком известного способа является низкая точность и достоверность определения критического коэффициента интенсивности напряжений в исследуемом изделии в результате того, что при извлечении образца из изделия, особенно в промышленных условиях, по всему объему образца образуются микротрещины, которые снижают силы сцепления межатомных связей, что приводит к преждевременному разрушению образца, а следовательно, к искажению получаемых данных.
Техническая задача, решаемая заявленным способом, заключается в повышении точности и достоверности определения критического коэффициента интенсивности напряжения в изделии.
Поставленная задача решается тем, что в известном способе определения критического коэффициента интенсивности напряжений в изделии, заключающемся в том, что в изделии прямоугольного сечения выполняют зону концентрации напряжений, которую нагружают до разрушения, и по полученным параметрам определяют критический коэффициент интенсивности напряжения, согласно изобретению зону концентрации напряжения в изделии выполняют в виде углового сегмента в месте пересечения его перпендикулярных граней, образованную зону нагружают по поверхности углового сегмента до его отлома, после чего замеряют разрушающую нагрузку и параметры отломленного углового сегмента, а критический коэффициент интенсивности напряжения в изделии определяют по формуле:

где КIc – критический коэффициент интенсивности напряжения, МПа·м0,5;
В0, B1, B2 – коэффициенты, зависящие от типа бетона изделия;
– зависимость, определяемая разрушающей нагрузкой и параметрами отломленного углового сегмента изделия, МПа·м0,5;
– зависимость, определяемая параметрами отломленного углового сегмента;
М – разрушающая нагрузка, Н·м;
t – ширина сечения поверхности отлома углового сегмента, м;
b – длина сечения поверхности отлома углового сегмента, м;
h – высота боковой поверхности углового сегмента, м.
Отличительный признак, характеризующий действие выполнения зоны концентрации напряжений в виде углового сегмента в месте пересечения граней исследуемого изделия, в известных технических решениях не обнаружен. При этом выполнение вышеуказанной зоны в исследуемом изделии позволяет осуществлять последующее нагружение этой зоны до ее отлома непосредственно в самом изделии, а не в извлекаемом фрагменте изделия. Это позволяет сохранить целостность структуры материала изделия, а следовательно, повысить точность и достоверность полученных результатов.
Для определения призменной прочности, модуля упругости и коэффициента Пуассона известен прием нагружения торцевой поверхности прямоугольного изделия путем создания на его поверхности однозначных сжимающих или растягивающих напряжений (см. ГОСТ 24452-80 “Бетоны. Методы определения призменной прочности, модуля упругости и коэффициента Пуассона” / Введен: 01.01.1982, с.7).
В заявляемом способе нагружение изделия до отлома ведут по поверхности углового сегмента, образованного в зоне пересечения перпендикулярных граней изделия. Указанный отличительный признак в заявляемом способе проявляет новое техническое свойство, заключающееся в создании зоны разнозначных нормальных напряжений в исследуемом материале изделия, а именно сжатых и растягивающих напряжений в разрушающейся зоне сечения материала изделия при отсутствии касательных напряжений, что обеспечивает рост трещины отрыва без сдвига ее берегов от начала растянутой зоны. Это позволяет повысить точность и достоверность определения критического коэффициента интенсивности напряжения в изделии за счет создания в последнем чистого напряженного состояния, характеризующегося растяжением при отсутствии сдвига.
На основании вышеизложенного можно сделать вывод, что для специалиста заявляемый способ определения критического коэффициента интенсивности напряжения в изделии при нормальном отрыве не следует явным образом из известного уровня техники, а, следовательно, соответствует условию патентоспособности «изобретательский уровень».
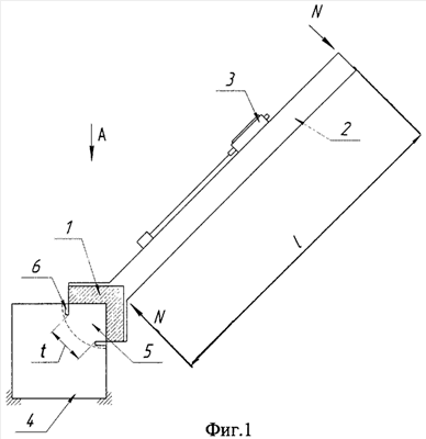
Сущность изобретения поясняется чертежами, где:
– на фиг.1 приведена схема определения критического коэффициента интенсивности напряжения в изделии;
– на фиг.2 – вид А на фиг.1;
– на фиг.3 – изображено в аксонометрии изделие с выполненной зоной концентрации напряжений в виде углового сегмента;
– на фиг.4 – изображен в аксонометрии угловой сегмент после отлома его от изделия.
Для осуществления заявляемого способа определения критического коэффициента интенсивности напряжений в изделии используют рычажный механизм, состоящий из металлического уголка 1 (фиг.1, 2), жестко соединенного с рычагом 2, на котором установлен индикатор часового типа 3, предназначенный для определения внешней разрушающей нагрузки.
Заявляемый способ осуществляют следующим образом.
В исследуемом изделии прямоугольного сечения 4 (фиг.1-3) в месте пересечения его перпендикулярных граней выполняют зону концентрации напряжений в виде углового сегмента 5 (фиг.1, 3, 4) посредством продольных 6 (фиг.1-3) и поперечных 7 (фиг.2, 3) пропилов. При этом пропилы 6 и 7 могут быть выполнены относительно граней изделия перпендикулярно или наклонно. Затем образованную зону концентрации напряжений в виде углового сегмента 5 нагружают до отлома от изделия 4. Для этого к поверхности углового сегмента 5 (фиг.1, 2) жестко крепят металлический уголок 1 рычажного механизма, охватывающий площадь углового сегмента 5, и к рычагу 2 (фиг.1) прикладывают разрушающую нагрузку в виде момента М, равного произведению сосредоточенной силы (N), приложенной к рычагу 2, на плечо (l) последнего. Указанную разрушающую нагрузку (М) прикладывают до отлома углового сегмента 5 от исследуемого изделия 4. При этом разрушающую нагрузку (М) отлома фиксируют при помощи индикатора 3 часового типа по его наибольшему показанию. Затем измеряют параметры отломленого углового сегмента 5 (фиг.4): длину сечения поверхности отлома (b), ширину сечения поверхности отлома (t) и высоту боковой поверхности углового сегмента (h). После этого, используя полученные данные, определяют значение критического коэффициента интенсивности напряжения в изделии по заявленной формуле:

где KIc – критический коэффициент интенсивности напряжений, МПа·м0,5;
В0, B1, B2 – коэффициенты, зависящие от типа бетона изделия;
– зависимость, определяемая разрушающей нагрузкой и параметрами отломленного углового сегмента изделия, МПа·м0,5;
– зависимость, определяемая параметрами отломленного углового сегмента;
М – разрушающая нагрузка, Н·м;
t – ширина сечения поверхности отлома углового сегмента, м;
b – длина сечения поверхности отлома углового сегмента, м;
h – высота боковой поверхности углового сегмента, м.
Для обоснования преимуществ заявляемого способа определения критического коэффициента интенсивности напряжений в изделии по сравнению с известным способом, взятым за прототип, были проведены лабораторные испытания на фундаментном блоке из тяжелого бетона класса В20 с максимальным размером заполнителя 10 мм. По известному способу-прототипу для определения критического коэффициента интенсивности напряжения из указанного фундаментного блока путем выпиливания были извлечены три призмы размером 100×100×400 мм.
Для определения контрольного значения критического коэффициента интенсивности напряжения, одновременно с изготовлением вышеуказанного фундаментного блока, были изготовлены три контрольных образца бетона того же состава, размером 100×100×400 мм.
По заявляемому способу коэффициенты В0, B1, В2 получены эмпирическим путем и для тяжелого бетона соответственно равны В0=0,516, B1=-0,02, В2=-0,647. Зону концентрации напряжения в фундаментном блоке выполняли в виде углового сегмента в месте пересечения его перпендикулярных граней, образованную зону нагружали по поверхности углового сегмента до его отлома. Разрушающую нагрузку М определяли произведением сосредоточенной силы (N), приложенной к рычагу, на плечо (l) данного рычага. После отлома углового сегмента осуществляли замеры его параметров (b, t и h). Критический коэффициент интенсивности напряжений в фундаментном блоке определяли по формуле:

где: b=0,05 м;
t=0,055 м;
h=0,045 м;
N – определялась по результатам испытаний и находилась в диапазоне 123,7÷124,7 H;
l=0,9 м.
Критический коэффициент интенсивности напряжения в контрольных образцах и в извлеченных образцах по прототипу определяли с помощью силового критерия механики разрушения в соответствии с ГОСТ 29167-91 «Бетоны. Методы определения характеристик трещиностойкости (вязкости разрушения) при статическом нагружении» / Введен: 01.07.92; с.4-6.
Усредненные результаты испытаний приведены в таблице.
| Таблица |
| № эксперимента |
Критический коэффициент интенсивности напряжения, KIc, МПа·м0,5, |
| в контрольном образце |
в образце по прототипу |
в образце по заявляемому способу |
| 1 |
0,280 |
0,221 |
0,279 |
| 2 |
0,280 |
0,248 |
0,281 |
| 3 |
0,283 |
0,238 |
0,282 |
| Среднее |
0,281 |
0,236 |
0,281 |
Результаты испытаний, приведенные в таблице, позволяют сделать вывод, что заявленный способ по сравнению с прототипом обеспечивает повышение точности определения критического коэффициента интенсивности напряжений в изделии в среднем на 19%. Величина разброса данных, полученных по заявляемому способу, составила (0,282-0,279)/0,281=0,01, по прототипу (0,248-0,221)/0,236=0,11>0,01, что подтверждает более высокую достоверность заявляемого способа. При этом заявляемый способ определения критического коэффициента интенсивности напряжения в изделии при простоте использования может найти широкое применение не только в лабораторных условиях, но и на промышленных объектах действующих производств для определения прогноза долговечности железобетонных конструкций.
Формула изобретения
Способ определения критического коэффициента интенсивности напряжений в изделии, заключающийся в том, что в изделии прямоугольного сечения выполняют зону концентрации напряжений, которую нагружают до разрушения и по полученным данным определяют критический коэффициент интенсивности напряжений, отличающийся тем, что зону концентрации напряжения в изделии выполняют в виде углового сегмента в месте пересечения его перпендикулярных граней, образованную зону нагружают по поверхности углового сегмента до его отлома, после чего замеряют разрушающую нагрузку и параметры отломленного углового сегмента, а критический коэффициент интенсивности напряжения в изделии определяют по формуле

где KIc – критический коэффициент интенсивности напряжений, МПа·м0,5;
В0, B1, В2, – коэффициенты, зависящие от типа бетона изделия;
– зависимость, определяемая разрушающей нагрузкой и параметрами отломленного углового сегмента изделия, МПа·м0,5;
– зависимость, определяемая параметрами отломленного углового сегмента;
М – разрушающая нагрузка, Н·м;
t – ширина сечения поверхности отлома углового сегмента, м;
b – длина сечения поверхности отлома углового сегмента, м;
h – высота боковой поверхности углового сегмента, м.
РИСУНКИ
|
|