|
|
(21), (22) Заявка: 2006130121/28, 22.08.2006
(24) Дата начала отсчета срока действия патента:
22.08.2006
(46) Опубликовано: 20.05.2008
(56) Список документов, цитированных в отчете о поиске:
Агейкин Д.И. и др. Датчики контроля и регулирования. Справочные материалы. – М.: Машиностроение, 1965, с.574, рис.V.24. Агейкин Д.И. и др. Датчики контроля и регулирования. Справочные материалы. – М.: Машиностроение, 1965, с.597, рис.V.52, рис.V.49. SU 1786376 А1, 07.01.1993. SU 709012 A3, 05.01.1980. SU 1760418 А1, 07.09.1992. US 3238487 А, 01.03.1966. GB 2086587 А, 12.05.1982.
Адрес для переписки:
127018, Москва, ул. Советской Армии, 5, ЦНИИАГ, патентный отдел
|
(72) Автор(ы):
Агафонов Валентин Евгеньевич (RU), Корнаковский Александр Евгеньевич (RU), Петров Юрий Аркадьевич (RU), Самохин Александр Петрович (RU), Феденков Владимир Васильевич (RU), Шахов Андрей Юрьевич (RU), Юровский Эдуард Айзикович (RU)
(73) Патентообладатель(и):
Федеральное государственное унитарное предприятие “Центральный научно-исследовательский институт автоматики и гидравлики” (RU)
|
(54) ДАТЧИК РАЗНОСТИ ДАВЛЕНИЙ
(57) Реферат:
Изобретение относится к датчикам разности давлений, предназначенным для преобразования давлений в полостях гидравлических приборов в электрический сигнал. Датчик разности давлений состоит из корпуса с двумя рабочими полостями измеряемых давлений и двумя направляющими отверстиями, плунжера в направляющих отверстиях между рабочими полостями, двух уравновешивающих пружин по торцам плунжера, сердечника индукционного преобразователя на средней части плунжера, магнитопроницаемой втулки, катушек индукционного преобразователя на магнитопроницаемой втулке. При этом в рабочих полостях двух жестко соединенных корпусных частей датчика установлены уравновешивающие пружины с одинаковым направлением навивки с использованием центрирующих шайб в конусных упорах торцов плунжера и регулировочных пробок, расположенных в торцах каждой корпусной части. Между плунжером и отверстиями корпусных частей выбран гарантированный радиальный зазор; магнитопроницаемая втулка, расположенная между корпусными частями, образует полость слива внутри магнитопроницаемой втулки, в которой размещен плунжер с сердечником индукционного преобразователя, при этом плунжер со стороны каждого торца имеет деформационную камеру, образованную тонкими стенками плунжера и конусным упором, установленным в каждое торцевое отверствие камеры плунжера, первая камера с одного торца плунжера соединена каналом в стенке плунжера с первой рабочей полостью, вторая камера с другого торца плунжера соединена каналом со второй рабочей полостью корпусных частей датчика. А толщина стенок деформационных камер выбрана из условия деформации под действием давления в рабочей полости, не рабочей полости, не превышающей величину радиального зазора между плунжером и направляющими отверстиями корпусных частей датчика. Каждая деформационная камера выполнена с длиной вдоль оси плунжера, превышающей длину участка плунжера, находящегося в направляющих отверстиях корпусных частей датчика. Технический результат – уменьшение зоны нечувствительности, нелинейности, увеличение диапазона измерения давлений, обеспечение измерения разности давлений в двух полостях или в одной полости. 1 з.п. ф-лы, 1 ил.
Датчик разности давлений (ДРД) предназначен для преобразования давлений в полостях гидравлических приборов в электрический сигнал.
Датчик разности давлений предназначен для работы в гидравлических приводах и системах с рабочими давлениями до 50 МПа и использующих в качестве рабочей среды минеральные масла на нефтяной основе, синтетические или водно-гликолиевые рабочие жидкости.
Известен мембранный ДРД, состоящий из мембраны, дифференциально-трансформаторного преобразователя, пружины, корпуса и разделительной капсулы. Сердечник преобразователя установлен на мягкой мембране и перемещается вместе с ней в зависимости от разности давлений P1 и Р2, подводимых к ДРД. Пружина соединяет сердечник с торцом капсулы и обеспечивает изменение пределов измерения разности давлений. Катушки преобразователя установлены на магнитопроницаемой капсуле и обеспечивают преобразование перемещения сердечника в электрический сигнал. При фиксированном пределе изменения разности давлений перемещение сердечника может обеспечиваться за счет жесткости двух мембран [1].
Недостатками мембранного датчика являются малое перемещение подвижной поверхности мембраны, на которой установлен сердечник преобразователя, и не одинаковые значения жесткости одной или двух мембран при их перемещении в разных направлениях, а также отсутствие возможности регулировки нулевого положения сердечника преобразователя, т.е. нулевого выходного сигнала при нулевой разности давлений. Вследствие этого усложняется использование датчика, сужается диапазон его применения и возникают большие погрешности преобразования разности давлений в электрический сигнал.
Известен также принятый в качестве прототипа плунжерный датчик давления, состоящий из корпуса, плунжера и реостатного преобразователя, ползунки которого соединены с плунжером. Плунжер уравновешен пружиной. Вторая пружина служит для выборки люфта в соединении плунжера с первой пружиной [2].
Недостатками такого датчика давления являются его конструктивное исполнение, обеспечивающее преобразование давления только в одной полости в электрический сигнал, и большая зона нелинейности, обусловленная большими силами трения при перемещении плунжера и ползунков реостатного преобразователя при несимметричном усилии пружины на плунжер. Кроме того, рабочая жидкость имеет возможность перетекать по радиальному зазору между плунжером и корпусом в полость реостатного преобразователя. Все это ограничивает функциональные возможности и снижает точность и надежность работы датчика.
Технической задачей изобретения является повышение точности измерения разности давлений или одного давления в полостях гидравлических приборов, расширение функциональных возможностей и увеличение арсенала датчиков разности давлений.
Технический результат, обеспечивающий решение поставленной задачи, состоит в уменьшении зон нечувствительности, нелинейности и в увеличении диапазона измерения давлений, а также в обеспечении одинаковой точности как при измерении разности давлений в двух полостях, так и при измерении давления в одной полости.
Сущность изобретения состоит в том, что датчик разности давлений состоит из корпуса с двумя рабочими полостями измеряемых давлений и двумя направляющими отверстиями, плунжера в направляющих отверстиях между рабочими полостями, двух уравновешивающих пружин по торцам плунжера, сердечника индукционного преобразователя на средней части плунжера, магнитопроницаемой втулки, катушек индукционного преобразователя на магнитопроницаемой втулке, причем корпус датчика выполнен из двух жестко соединенных корпусных частей, в рабочей полости каждой из которых уравновешивающие пружины с одинаковым направлением навивки установлены с использованием центрирующих шайб в конусных упорах торцов плунжера и регулировочных пробок, расположенных в торцах каждой корпусной части; магнитопроницаемая втулка, расположенная между частями корпуса, образует внутри себя полость слива, в которой находится плунжер с сердечником индукционного преобразователя. Плунжер со стороны каждого торца имеет деформационную камеру, образованную тонкими стенками плунжера и конусным упором, установленным в каждое торцевое отверстие камеры плунжера; первая камера с одного торца плунжера соединена каналом в стенке плунжера с первой рабочей полостью и вторая камера с другого торца плунжера соединена каналом со второй рабочей полостью частей корпуса датчика. Толщина стенок каждой деформационной камеры выбрана из условия деформации под действием давления в рабочей полости, не превышающей величину радиального зазора между плунжером и направляющими отверстиями в корпусных частях датчика. Каждая деформационная камера выполнена с длиной вдоль оси плунжера, превышающей длину участка плунжера, находящегося в направляющих отверстиях каждой из корпусных частей датчика.
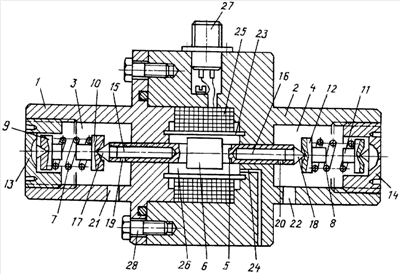
На чертеже изображена конструктивная схема датчика разности давлений.
Датчик разности давлений состоит из двух жестко соединенных корпусных частей 1 и 2 корпуса с рабочими полостями 3 и 4 измеряемого давления и с направляющими отверстиями (не обозначены), плунжера 5 в направляющих отверстиях между рабочими полостями 3 и 4, двух уравновешивающих пружин 7 и 8 по торцам плунжера 5, сердечника 6 индукционного преобразователя на средней части плунжера 5, магнитопроницаемой втулки 23, катушек 25 индукционного преобразователя на магнитопроницаемой втулке 23.
Уравновешивающие пружины 7 и 8 с одинаковым направлением навивки установлены с использованием центрирующих шайб 9 и 10 или 11 и 12 в конусных упорах 17 и 18 торцов плунжера 5 и регулирующих пробок 13 и 14 в торцах корпусных частей 1 и 2. Магнитопроницаемая втулка 23, расположенная между корпусными частями 1 и 2, образует внутри себя полость слива 26, в которой находится плунжер 5 с сердечником 6 индукционного преобразователя.
Плунжер 5 со стороны каждого торца имеет деформационные камеры 15 и 16, образованные тонкими стенками плунжера 5 и концевыми упорами 17 и 18, установленными в каждое торцевое отверствие камеры 15 и 16. Первая камера 15 соединена каналом 19 с первой рабочей полостью 3. Вторая камера 16 соединена каналом 20 со второй рабочей полостью 4. Рабочие полости 3 и 4 соединены каналами 21 и 22 с полостями гидравлических приборов для измерения в них разности давлений.
Каждая из деформационных камер 15 и 16 плунжера 5 имеет толщину стенок, выбранную из условий ее деформации под действием измеряемых давлений в рабочих полостях 3 и 4, не превышающую величину радиальных зазоров между плунжером 5 и направляющими отверстиями корпусных частей 1 и 2 датчика. Каждая деформационная камера 15 и 16 выполнена с длиной вдоль оси плунжера 5, превышающей длину участка плунжера, находящегося в направляющих отверстиях корпусных частей 1 и 2 датчика.
Сливная полость 26 соединена каналом 24 со сливом гидросистемы.
На корпусной части 2 установлен электрический соединитель 27. Корпусные части 1 и 2 жестко соединены винтами 28.
Датчик разности давлений работает следующим образом.
Рабочая жидкость из полостей гидравлических приборов с давлениями P1 и Р2 поступает в рабочие полости 3 и 4 корпусных частей 1 и 2 датчика по каналам 21 и 22. Из рабочих полостей 3 и 4 жидкость через каналы 19 и 20 поступает в деформационные камеры 15 и 16 плунжера 5.
При действии давлений P1 и Р2 на торцы плунжера 5 возникают гидростатические силы давлений, разность которых преодолевает силы трения плунжера 5 о направляющие отверстия в корпусных частях 1 и 2 и усилие уравновешивающей пружины 7 или 8. Под действием гидростатической силы разности давлений P1-P2 плунжер 5 перемещается в направляющих отверстиях корпусных частей 1 и 2. Пропорционально перемещению плунжера 5 с сердечником 6 в катушках 25 индукционного преобразователя образуется напряжение сигнала датчика разности давлений.
Для повышения точности измерения давлений в датчике уменьшены силы трения между плунжером 5 и отверстиями корпусных частей 1 и 2 путем
– выбора гарантированного радиального зазора между плунжером 5 и отверстиями корпусных частей 1 и 2;
– обеспечения центрирования сил уравновешивающих пружин при их установке в центрирующих шайбах 9, 10 и 11, 12 между конусными упорами 21, 22 на торцах плунжера 5 и регулировочных пробок 13 и 14 в торцах корпусных частей 1 и 2;
– регулирования нулевого положения плунжера 5 с сердечником 6 относительно катушек 25 индукционного датчика и симметрирования жесткости уравновешивающих пружин 7 и 8 регулировочными пробками 13 и 14 в корпусных частях 1 и 2;
– снижения влияния закрутки пружин 7 и 8 за счет применения уравновешивающих пружин с одинаковым направлением навивки.
При минимизации сил трения указанные конструктивные особенности позволяют уменьшить зоны нечувствительности и нелинейности датчика разности давлений.
Для расширения диапазона измерений давлений в рабочих полостях 3 и 4 ограничено влияние расходов утечек жидкости по гарантированному радиальному зазору между плунжером 5 и направляющими отверстиями корпусных частей 1 и 2 путем деформации тонких стенок деформационных камер 15 и 16 под действием давлений в рабочих полостях 3 и 4 и уменьшения тем самым гарантированного зазора до величины минимально необходимого зазора для перемещения плунжера. С уменьшением кольцевого радиального зазора расход утечек уменьшается пропорционально кубической степени зазора, т.е. пропорционально 3 [3].
Для более эффективного изменения расхода утечек длина деформационных камер 15 и 16 вдоль оси плунжера 5 превышает длину участков плунжера 5, находящихся в направляющих отверстиях корпусных частей 1 и 2 датчика.
Функциональные свойства датчика разности давлений при измерении разности давлений в двух полостях или давления в одной полости одинаковы.
Датчик разности давлений способен измерять разность давлений в двух полостях или давление в одной полости, имеет малые зоны нечувствительности, нелинейности, более высокую точность и широкий диапазон измерения давлений, обладает повышенными функциональными свойствами и увеличивает арсенал датчиков разности давлений и датчиков давлений.
Источники информации
1. Агейкин Д.И. и др. “Датчики контроля и регулирования. Справочные материалы”, М.: Машиностроение, 1965, стр.597, рис.V.52, рис.V.49.
2. Там же, стр.574, рис.V.24.
3. Данилов Ю.А., Кирилловский Ю.Л., Колпаков Ю.Г. “Аппаратура объемных гидроприводов. Рабочие процессы и характеристики”, М.: Машиностроение, 1990, стр.59.
Формула изобретения
1. Датчик разности давлений, состоящий из корпуса с двумя рабочими полостями измеряемых давлений и двумя направляющими отверстиями, плунжера в направляющих отверстиях между рабочими полостями, двух уравновешивающих пружин по торцам плунжера, сердечника индукционного преобразователя на средней части плунжера, магнитопроницаемой втулки, катушек индукционного преобразователя на магнитопроницаемой втулке, отличающийся тем, что датчик разности давлений выполнен из двух жестко соединенных корпусных частей, в рабочей полости каждой из которых уравновешивающие пружины с одинаковым направлением навивки установлены с использованием центрирующих шайб в конусных упорах торцев плунжера и регулировочных пробок, расположенных в торцах каждой корпусной части, при этом между плунжером и отверстиями корпусных частей выбран гарантированный радиальный зазор; магнитопроницаемая втулка, расположенная между корпусными частями, образует полость слива внутри магнитопроницаемой втулки, в которой размещен плунжер с сердечником индукционного преобразователя, при этом плунжер со стороны каждого торца имеет деформационную камеру, образованную тонкими стенками плунжера и конусным упором, установленным в каждое торцевое отверствие камеры плунжера, первая камера с одного торца плунжера соединена каналом в стенке плунжера с первой рабочей полостью, вторая камера с другого торца плунжера соединена каналом со второй рабочей полостью корпусных частей датчика, а толщина стенок деформационных камер выбрана из условия деформации под действием давления в рабочей полости, не превышающей величину радиального зазора между плунжером и направляющими отверстиями корпусных частей датчика.
2. Датчик разности давлений по п.1, отличающийся тем, что каждая деформационная камера выполнена с длиной вдоль оси плунжера, превышающей длину участка плунжера, находящегося в направляющих отверстиях корпусных частей датчика.
РИСУНКИ
|
|