|
|
(21), (22) Заявка: 2006133340/28, 19.09.2006
(24) Дата начала отсчета срока действия патента:
19.09.2006
(46) Опубликовано: 20.05.2008
(56) Список документов, цитированных в отчете о поиске:
SU 1827136 A3, 10.03.1996. US 2005018048 A, 27.01.2005. JP 2005233842 A, 02.09.2005. RU 22386 U1, 27.03.2002. JP 2003101858 A, 04.04.2003.
Адрес для переписки:
142181, Московская обл., г. Климовск, ул. Заводская, 2, ФГУП “Центральный научно-исследовательский институт точного машиностроения”
|
(72) Автор(ы):
Соловьев Александр Николаевич (RU), Артамонов Владимир Григорьевич (RU), Счастливцев Вениамин Петрович (RU), Сапожников Александр Сергеевич (RU), Иванов Владимир Николаевич (RU), Бершадская Татьяна Николаевна (RU), Каплин Александр Юрьевич (RU), Михеев Владимир Григорьевич (RU), Марусин Евгений Николаевич (RU)
(73) Патентообладатель(и):
Федеральное государственное унитарное предприятие “Центральный научно-исследовательский институт точного машиностроения” (RU)
|
(54) ОПТИЧЕСКИЙ ПРИБОР РАЗВЕДКИ
(57) Реферат:
Заявленное техническое решение относится к малогабаритным оптическим приборам типа «бинокль-дальномер». Оптический прибор разведки состоит из лазерного дальномера, содержащего оптический визир, блок управления и цифровой индикатор, и блока измерения магнитного азимута и угла места, фототелескопа, фотоприемной матрицы, оптически сопряженной с фототелескопом, электронного устройства обработки и сохранения изображения, а также фотоиндикатора, высокоскоростного выходного канала связи и модуля сопряжения. Технический результат: расширение функциональных возможностей, улучшение временных характеристик устройства. 2 з.п. ф-лы, 3 ил.
Изобретение относится к малогабаритным оптическим приборам разведки типа «бинокль-дальномер», обеспечивающих работу из положения «с рук» (hand held).
К приборам данного вида можно отнести «Устройство для измерения сферических координат», описанное в патенте SU №1827136 АЗ от 11.03.91 г., МКИ G01C, 3/00 и в техническом описании и инструкции по эксплуатации прибора дальномерно-угломерного ПДУ-1 (ЖГДК.201161.009 ТО), и «Бинокль с функцией запоминания цифрового изображения», описанный в публикации заявки на патент US №2005/0018048 А1, МКИ Н04, 5/225; US.C1 – 348/207.99.
Устройство для измерения сферических координат, описанное в патенте SU №1827136 A3 от 11.03.91 г., представляет собой оптический прибор разведки – псевдобинокль-дальномер, состоящий из лазерного дальномера, механически и электрически сопряженных с самогоризонтируемыми, за счет карданного маятникового подвеса, электронным магнитным компасом и электронным датчиком угла места. Данный прибор разведки позволяет наблюдать удаленный объект и измерять его сферические координаты относительно оператора. Кроме того, согласно технического описания прибор дальномерно-угломерный ПДУ-1, реализованный в соответствии с вышеуказанным патентом, позволяет вводить и запоминать тип объекта, наблюдаемого через оптику прибора.
Бинокль с функцией цифрового запоминания изображения, наблюдаемого через оптику бинокля, описанный в публикации заявки на патент US №2005/0018048 А1, представляет собой бинокль, оптико-механически сопряженный с модулем цифрового запоминания изображения, видимого через оптику бинокля, состоящем из оптического телескопа с CCD фотоприемной матрицей, блока сжатия информации, микропроцессора с программной памятью и выходного модуля, состоящего из жидкокристаллической цифровой матрицы с драйвером и USB интерфейсом.
Наиболее близким к заявляемому прибору является «Устройство для измерения сферических координат», патент SU №1827136 от 11.03.91 г., МКИ G01C, 3/00.
К недостаткам данного прибора, как оптического прибора разведки, следует отнести отсутствие возможности запоминания изображения, наблюдаемого оператором через оптический визир, что не позволяет реализовать выполнение следующих задач:
– документирование изменения изображения наблюдаемого через оптику прибора одного и того же наблюдаемого участка местности во времени;
– последующего более детального изучения на экране дисплея изображения, наблюдаемого оператором, особенно изображения, сохраняющегося короткое время, например запуск ПТУРСа, взрыв снаряда и т.д.;
– передачи наблюдаемого изображения на пункт сбора развединформации;
– документирования результатов огневых действий боевых соединений;
– включения прибора в автоматизированную систему распознавания объектов противника;
– создания выносных «разведглаз» с командно-наблюдательных пунктов, укрытых в складках местности.
Кроме того, к техническим недостаткам данного прибора, а именно электронного компаса с электронным датчиком угла места, можно отнести большое время его перевода из походного состояния в боевое и обратно за счет необходимости его арретирования в процессе движения и разарретирования при ведении разведки, а также ограничения функциональных возможностей магнитного компаса при его перемещении на большие расстояния (более 100 км) с севера на юг (после перемещения необходимо проводить регламентные работы с прибором по компенсации вертикальной составляющей силы магнитного поля).
Цель изобретения – увеличить функциональные возможности прибора, улучшить его временные характеристики и удобство его использования.
Это достигается тем, что в оптический прибор разведки, состоящий из лазерного дальномера, содержащего оптический визир, блок управления и цифровой индикатор, и блока измерения магнитного азимута и угла места, электрически и механически сопряженного с лазерным дальномером, дополнительно введен блок запоминания цифрового изображения, смонтированный таким образом, что оптическая ось оптического визира, входящего в блок запоминания изображения, параллельна оптической оси визира дальномера, при этом фотоиндикатор блока расположен в фокальной плоскости окуляра цифрового индикатора, электронное устройство обработки и сохранения изображения данного блока через модуль сопряжения соединено с блоком управления лазерного дальномера, а блок измерения магнитного азимута и угла места выполнен в виде трехосного электронного магнитного датчика, электронных датчиков наклона магнитного датчика в двух плоскостях, микропроцессора с программной памятью, вычисляющего магнитный азимут, угол места (угол отклонения оптической оси телескопа наблюдения относительно горизонтальной плоскости), а также энергонезависимой памяти и модуля, реализующего RS-232 интерфейс.
Сущность изобретения поясняется чертежами, на которых изображено:
фиг.1 – функциональная блок-схема прибора разведки;
фиг.2 – блок-схема блока запоминания цифрового изображения;
фиг.3 – блок- схема блока измерения магнитного азимута и угла места.
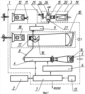
На фиг.1 изображена функциональная блок-схема оптического прибора разведки, состоящего из лазерного дальномера 1, блока измерения магнитного азимута и угла места 2 и блока запоминания цифрового изображения 3.
Лазерный дальномер 1 состоит из лазерного излучателя 4, лазерного излучающего телескопа 5, устройства поджига 6, блока управления с органами управления и вторичным источником питания 7, оптической системы ввода стартового сигнала в лазерное фотоприемное устройство 8, лазерного фотоприемного устройства 9, оптического телескопа наблюдения (визира) 10, цифрового индикатора 11, окуляра вывода цифровой информации 12, источника питания 13, котировочных оптических клиньев 14.
Лазерный излучатель 4 оптически сопряжен с лазерным излучающим телескопом 5, с оптической системой ввода стартового сигнала 8 в лазерное фотоприемное устройство 9, электрически – с устройством поджига 6, блоком управления 7, включающим в себя органы управления и вторичный источник питания.
Блок управления 7, в состав которого входит выходной канал связи, например интерфейс RS 232, электрически сопряжен с устройством поджига 6, лазерным излучателем 4, лазерным фотоприемным устройством 9, цифровым индикатором 11, модулем сопряжения 27 электронного устройства обработки и сохранения изображения 15 блока цифрового запоминания изображения 3 и блоком измерения магнитного азимута и угла места 2.
Оптический телескоп наблюдения 10 включает в себя в качестве составной части лазерный оптический приемный блок 16, оптически сопряженный с лазерным фотоприемным устройством 9, визирную марку 17 и окуляр телескопа наблюдения 18.
Блок цифрового запоминания изображения 3 (фиг.1, 2) состоит из фототелескопа 19, фотоприемной матрицы 20, например CMOS с контроллером, электронного устройства обработки и сохранения изображения 15, фотоиндикатора 24, например жидкокристаллической цифровой матрицы (ЖКИ) с контроллером 25, высокоскоростного выходного канала связи 26, например интерфейса типа USB, и модуля сопряжения 27. Оптическая ось фототелескопа параллельна оптической оси телескопа наблюдения 10. Фототелескоп 19 оптико-механически сопряжен с фотоприемной матрицей 20, которая, в свою очередь, сопряжена с электронным устройством обработки и сохранения изображения 15, состоящим из блока сжатия информации MJPEG 21, энергонезависимой памяти 22, микропроцессора с программной памятью 23. Фотоиндикатор 24 размещен в фокусе окуляра вывода цифровой информации лазерного дальномера 12, а электронное устройство обработки и сохранения изображения 15 через модуль сопряжения 27 соединено с блоком управления 7 лазерного дальномера.
Блок измерения магнитного азимута и угла места 2 (фиг.3) состоит из модуля трехосного электронного датчика магнитного поля 29, электронных датчиков наклона магнитного датчика в двух плоскостях 30 и микропроцессора с программной памятью 31, вычисляющего магнитный азимут (угол между вектором горизонтальной составляющей магнитного поля и горизонтальной проекцией оптической оси телескопа наблюдения 10), а также угол места (угол отклонения оптической оси телескопа наблюдения 10 относительно горизонтальной плоскости). Кроме того, в состав электронного блока измерения магнитного азимута и угла места входит энергонезависимая память 32 и модуль 33, реализующий RS-232 интерфейс.
Оптический прибор разведки работает следующим образом. Оператор берет прибор в руки и при помощи телескопа наблюдения 10 производит поиск объекта. При обнаружении объекта он при помощи органов управления блока управления 7 переводит прибор в режим фотографирования, наводит визирную марку 17 телескопа наблюдения прибора 10 на объект и производит его фотографирование при помощи фототелескопа 19, фотоприемной матрицы 20 и электронного устройства 15 блока запоминания цифрового изображения 3. Полученное изображение высвечивается на фотоиндикаторе 24 блока запоминания цифрового изображения и наблюдается через окуляр вывода цифровой информации 12 прибора. Полученная цифровая фотография автоматически запоминается в энергонезависимой памяти 22 блока запоминания цифрового изображения 3.
После получения цифрового изображения оператор переводит при помощи органов управления блока управления 7 прибор в режим измерения сферических координат объекта, для чего наводит визирную марку 17 телескопа наблюдения 10 на объект и при помощи органов управления блока управления запускает накачку лазерного дальномера. Получив с цифрового индикатора 11 сигнал о готовности лазерного излучателя 14 к излучению, оператор при помощи органов управления запускает работу излучателя, при этом через телескоп лазерного излучения проходит излучение лазерного импульса в пространстве в направлении объекта и через оптическую систему ввода стартового сигнала 8 запуск счетчика времени. По принятию лазерным фотоприемным устройством 16 отраженного от объекта лазерного сигнала блок управления лазера 7 определяет временной интервал и вычисляет измеренную дальность. Одновременно с измерением дальности производится опрос данных с блока измерения магнитного азимута и угла места 2. Полученные данные высвечиваются на индикаторе цифровой информации 11 и наблюдаются через окуляр вывода цифровой информации прибора 12. Получив данные о дальности, оператор оценивает их и, в случае необходимости, изменяя при помощи органов управления блока управления 7 минимальную дальность измерения объекта, производит повторные измерения дальности до получения достоверной дальности. Полученные значения сферических координат и тип объекта, устанавливаемый оператором при помощи органов управления 10, хранятся в памяти блока управления лазерным дальномером 7. По запросу с внешней ЭВМ хранящиеся в памяти прибора разведки цифровое изображение объекта, его тип и сферические координаты автоматически передаются в ЭВМ по выходному каналу связи прибора. Выходной канал связи прибора может включать в себя, например, RS-232 интерфейс для передачи цифрового сообщения и USB интерфейс для передачи цифрового изображения.
Формула изобретения
1. Оптический прибор разведки, состоящий из лазерного дальномера, содержащего оптический визир, блок управления и цифровой индикатор, и блока измерения магнитного азимута и угла места, отличающийся тем, что в него дополнительно введены фототелескоп, фотоприемная матрица, оптически сопряженная с фототелескопом, электронное устройство обработки и сохранения изображения, а также фотоиндикатор, высокоскоростной выходной канал связи и модуль сопряжения, при этом электронное устройство обработки и сохранения изображения соединено с фотоприемной матрицей, фотоиндикатором, выходным каналом связи и модулем сопряжения, а через модуль сопряжения с блоком управления лазерного дальномера, оптическая ось фототелескопа параллельна оптической оси визирного канала лазерного дальномера, фотоиндикатор расположен в фокальной плоскости окуляра цифрового индикатора лазерного дальномера, образуя совместно с ним единый приборный индикатор.
2. Оптический прибор разведки по п.1, отличающийся тем, что блок измерения магнитного азимута и угла места выполнен в виде трехосного электронного датчика магнитного поля, электронных датчиков наклона магнитного датчика в двух плоскостях и микропроцессора с энергонезависимой памятью, вычисляющего и запоминающего магнитный азимут и угол места (угол отклонения оптической оси визира относительно горизонтальной плоскости).
3. Оптический прибор разведки по п.1, отличающийся тем, что электронное устройство обработки и сохранения изображения состоит из блока сжатия информации, сигнального микропроцессора с программной памятью, энергонезависимой памяти.
РИСУНКИ
|
|