|
|
(21), (22) Заявка: 2005120646/02, 04.12.2003
(24) Дата начала отсчета срока действия патента:
04.12.2003
(30) Конвенционный приоритет:
09.12.2002 DE 10257590.8
(43) Дата публикации заявки: 20.01.2006
(46) Опубликовано: 20.05.2008
(56) Список документов, цитированных в отчете о поиске:
DE 10045009 А, 10.05.2001. ЕР 0225532 А, 16.06.1987. US 2333091 A, 02.11.1943. RU 2115087 C1, 10.07.1998.
(85) Дата перевода заявки PCT на национальную фазу:
11.07.2005
(86) Заявка PCT:
DE 03/04028 (04.12.2003)
(87) Публикация PCT:
WO 2004/053423 (24.06.2004)
Адрес для переписки:
107078, Москва, Красноворотский пр-д, 3, стр.1, к.18, ООО Патентно-правовая фирма “Искона-II”, пат.пов. Е.А.Гавриловой, рег. № 50
|
(72) Автор(ы):
ХЕРРЛИНГЕР Клаус (DE)
(73) Патентообладатель(и):
ВИЛЬГЕЛЬМ БРЕННЕКЕ ГмбХ унд КО. КГ (DE)
|
(54) ПУЛЯ ДЛЯ ОХОТНИЧЬЕГО РУЖЬЯ
(57) Реферат:
Предложенное изобретение относится к пуле для охотничьего ружья с нарезным стволом, имеющей оболочку из мягкоковкого материала, не содержащего свинца, и сердечник, соединенный с оболочкой и выполненный из материала, более мягкого, чем оболочка. Пуля для охотничьего ружья имеет тонкостенную головку, а на оболочке в месте перехода от головки пули к задней части, имеющей значительно более толстые стенки, находится сильно выступающий наружу острый край. С внутренней стороны пуля для охотничьего ружья имеет обегающий желобок, входящий в этом месте в стенку оболочки и заполненный материалом сердечника. Пуля расплющивается в теле дичи со значительным увеличением поперечного сечения и при этом разрушается лишь в незначительной степени и имеет большой остаточный вес (90% и более). 13 з.п. ф-лы, 1 ил.
Изобретение относится к пуле для охотничьего ружья с нарезным стволом, которая имеет оболочку из мягкоковкого материала, не содержащего свинца, и соединенный с оболочкой сердечник, выполненный из материала, более мягкого, чем сама оболочка.
Современные пули для охотничьих ружей с нарезными стволами должны удовлетворять различным требованиям охоты. Важнейшим из этих требований является точность прицела, т.е. точность выстрела из разного охотничьего оружия. Кроме того, дичь должна быть убита быстро, без больших мучений. Для этого требуется хорошее действие пули в теле дичи по ширине и глубине. Для выполнения этого требования необходимо увеличение поперечного сечения пули в теле дичи с одновременной небольшой потерей массы в результате ее разрушения. Другим требованием, предъявляемым к современным пулям для охотничьих ружей с нарезными стволами, является образование в месте попадания пули срезанных волосков и крови для облегчения возможности преследования дичи также и без выхода пули. Так как входное отверстие по причине эластичности меха, кожи и из-за имеющегося под ней слоя жира зачастую очень быстро закрывается, желательно, чтобы выходное отверстие кровоточило и тогда, когда угол выстрела неблагоприятный.
Ближе всего к этим требованиям подходят общеизвестные пули для охотничьих ружей фирмы Бреннеке ГмбХ D-30851 Лангенхаген под торговым наименованием TUG (торпедная универсальная пуля) и TIG (торпедная идеальная пуля). Здесь речь идет о пулях, имеющих только часть оболочки из мягкой стали, покрытой никелем, в которую входят с замыканием геометрического контура два свинцовых сердечника – передний, более мягкий и задний, более твердый. Свое название эти пули получили из-за своей задней части, имеющей форму “Торпедо”. Такая форма основания имеет внутрибаллистическое преимущество. Конструкция вышеназванных пуль с двумя сердечниками фирмы Бреннеке ГмбХ обеспечивает оптимальную отдачу энергии в цель с надежным действием пули в ширину и глубину. Это происходит благодаря быстро наступающей деформации переднего мягкого свинцового сердечника, который притормаживается задним, более твердым свинцовым сердечником в сочетании с нарастающей толщиной оболочки пули, а также сужением в задней ее области. В теле дичи эти пули разрушаются частично. И, тем не менее, задний, твердый свинцовый сердечник образовывает в большинстве случаев желаемое выходное отверстие.
Характерным для пуль типа TIG и TUG является наличие острого края, выполненного в области головки пули, который срезает в большинстве случаев на выходе волоски и вызывает кровотечение.
Другая пуля с частичной оболочкой и двойным сердечником описана в патенте ЕР 0225532 А1. Задний сердечник выполнен из свинца и частично окружен внутренней оболочкой. Вместе с внутренней оболочкой он – благодаря тому, что наружная оболочка вдавлена в радиальном направлении – прочно удерживается на последней. Задний сердечник выполнен из свинца, причем передний сердечник может быть выполнен не только из свинца, но и из материала, не содержащего свинец, например из цинка, олова и меди с целью предотвращения загрязнения свинцом мяса дичи. Соединение сердечников с наружной оболочкой или внутренней оболочкой представляет собой соединение с замыканием геометрического контура. Пуля отличается, кроме того, пустотелой головной частью, которая должна ускорить расплющивание.
При попадании в цель головная часть сначала расширяется в радиальном направлении наружу, а затем откидывается назад. Передняя часть заднего свинцового сердечника при этом сильно расплющивается, благодаря чему сердечник вместе с внутренней оболочкой сильно расширяется в радиальном направлении. Благодаря этому между задним сердечником, внутренней оболочкой и наружной оболочкой возникает соединение с силовым замыканием. Задний сердечник остается, таким образом, прочно соединенным с расплющенной наружной оболочкой. При расплющивании наружной оболочки вдавливание в радиальном направлении вследствие повышенного момента сопротивления образует препятствие для дальнейшего расплющивания.
Эта пуля для охотничьего ружья с нарезным стволом не имеет острого края, так что она не дает на выходном отверстии ни срезанных волосков, ни крови. Кроме того, эта пуля разрушается сначала, по меньшей мере, благодаря отделению переднего сердечника частично в теле дичи, так что ее масса уменьшается и выходного отверстия не получается, по меньшей мере, при неблагоприятной посадке пули.
В патенте DE 3840165 А1 описана пуля для охотничьего ружья с нарезным стволом, не содержащая свинца. Здесь также речь идет о пуле, покрытой оболочкой частично. Оболочка состоит из томпака или мягкой стали. Сзади, т.е. у основания, она может быть закрыта или сидеть на сердечнике пули наподобие штуцера. Оболочка и сердечник пули соединены между собой с замыканием материала, например путем пайки или также выполнения в наружной оболочке выгнутого желобка, который вдавливается в сердечник пули. Передний край оболочки возвышается над сердечником в радиальном направлении и может быть выполнен в виде острого края.
Задачей изобретения является создание пули для охотничьего ружья с нарезным стволом, которая имеет свинцовый сердечник и частичную оболочку и в месте попадания дает образование срезанных волосков и продолжительное кровотечение и расплющивается в теле дичи при значительном увеличении поперечного сечения, разрушаясь при этом только в незначительной степени и имея большой остаточный вес (90% и более).
Эта задача решается согласно изобретению при помощи пули для охотничьего ружья с нарезным стволом, которая имеет признаки п.1 формулы.
Так как головная часть пули полая, то при попадании в тело дичи происходит быстрая деформация в области головной части пули. При этом желобок, который входит в стенку оболочки в области острого края и который заполнен материалом более мягкого сердечника, действует как амортизатор, в котором амортизируется сильный удар в осевом направлении, приходящийся на пулю при ее попадании в тело дичи, так что головная часть пули не разрывается, а расплющивается. При этом все получающиеся выступы сминаются равномерно, причем сердечник пули вследствие соединения с оболочкой пули с замыканием материала также ломается. Сердечник пули отделяется иначе, чем в обычных пулях для охотничьих ружей с нарезными стволами, т.е., по существу, не от оболочки, так что весь узел пули, по существу, сохраняется в теле дичи. Максимум 10% пули отделяется в виде осколков.
Так как выступы пули сминаются, по существу, равномерно и пуля, таким образом, попав в цель, деформируется, по существу, равномерно, то есть гарантия, что она непроизвольно не изменит своего направления в теле дичи.
Так как масса пули, по существу, сохраняется и пуля проникает на большую глубину в тело дичи, то при нормальных выстрелах всегда можно рассчитывать на образование выходного отверстия.
Переход от головной части пули к острому краю выполнен, по существу, под прямым углом, т.е. кромка очень острая. В этом месте всегда возможен разрыв сминаемых выступов пули, что согласно уровню техники ведет к тому, что острый край всегда выполняется относительно слабым. Благодаря канавке, предусмотренной согласно изобретению в области острого края с внутренней стороны, и ее уже описанной функции, направленной на амортизацию удара, острый край в заявленной пуле может быть больше, чем это было возможно в уровне техники. Заявленная пуля для охотничьего ружья с нарезным стволом формирует в стреляной ране круглые дырки, которые по всем правилам препятствуют закрытию входного отверстия и обеспечивают достаточный срез волосков. Благодаря возможности применения в качестве сердечника пули сплава с висмутом, не содержащего свинца и имеющего приблизительно тот же удельный вес, что и свинец, можно изготовить пулю для охотничьего ружья абсолютно без свинца, сохраняя оптимальную длину пули относительно веса пули соответствующего калибра.
В следующем варианте выполнения изобретения в середине оболочки задней части предусмотрена обегающая профилированная канавка. Она служит для наклепа и без того прочной оболочки в отличие от уровня техники. Такое выполнение способствует соединению оболочки с сердечником с замыканием материала, чтобы не могло произойти расплющивания пули вне профилированной канавки. Этому способствует непрерывное увеличение толщины оболочки в области между острым краем и профилированной канавкой.
В другом варианте выполнения пули для охотничьего ружья ее наружный диаметр в области между основанием и профилированной канавкой имеет нарезной калибр, тогда как ее наружный диаметр в области между профилированной канавкой и острым краем слегка сужается так, что острый край при приведении в действие пули не входит в нарезы ружейного ствола. Несмотря на такое выполнение цилиндрический участок пули между основанием и профилированной канавкой, служащий направляющим элементом для пули в стволе, имеет достаточную длину и одновременно препятствует повреждению острого края при падении ружья.
В другом варианте выполнения изобретения основание пули имеет особо толстые стенки. Их толщина значительно больше, чем толщина оболочки пули в задней части, имеющей и без того толстые стенки. Это прочное основание пули должно препятствовать или уменьшать негативные воздействия рабочих газов, образующихся при выстреле, на сердечник пули, а также поддерживать в среде самой цели устойчивость формы в направляющей области пули.
Для внутренней баллистики выгодно, чтобы пуля для охотничьего ружья имела конусообразное основание, известное в связи с описанными пулями TUG и TIG.
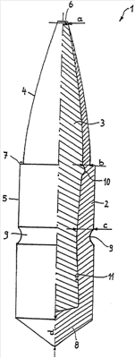
Далее изобретение поясняется более подробно на основании примера выполнения. На чертеже изображен вид пули сбоку, причем правая половина на чертеже представлена в разрезе.
Заявленная пуля 1 для охотничьего ружья с нарезным стволом выполнена как пуля с частичной оболочкой. Пуля имеет оболочку 2 из томпака и сердечник 3 из свинца. Вместо свинца можно использовать также бессвинцовый сплав с висмутом, если хотят сделать пулю без свинца.
Для последующих пояснений пуля для охотничьего ружья 1 поделена на головку 4 и заднюю часть 5, причем головка пули 4 находится между коническим концом 6 и острым краем 7, а задняя часть 5 находится между этим острым краем 7 и основанием пули 8. Конический конец пули 6 выполнен полым.
Оболочка 2 пули для охотничьего ружья 1 начинается на коническом конце 6 с очень тонкой стенки, которая утолщается вплоть до острого края 7. Толщина стенки а конического конца 6 составляет примерно 0,2-0,3 мм, а на границе с острым краем ее толщина b составляет примерно 0,7-0,9 мм в зависимости от диаметра калибра. Головка пули 4 сужается в сторону полого конического конца 6.
Нижний конец головки пули 4 в области острого края 7 переходит в заднюю часть 5 пули для охотничьего ружья 1. С этого переходного места толщина стенки оболочки 2 непрерывно увеличивается, а именно вплоть до профилированной канавки 9, которая выдавлена в задней части 5 и обегает ее почти в середине. На краю этой профилированной канавки 9 толщина стенки с оболочки 2 составляет примерно 1,8 мм. В сторону основания 8 толщина стенки за профилированной канавкой 9 снова уменьшается по технологии изготовления. Само основание имеет очень толстые стенки. В самом толстом месте основание имеет стенку толщиной примерно 3 мм и форму типа “торпедо”, как и пули TIG и TUG, для улучшения внутренней баллистики.
В месте перехода головки пули 4 в заднюю часть 5 на внутренней стороне оболочки 2 предусмотрен обегающий, имеющий округлое поперечное сечение желобок 10, который заполнен материалом сердечника. Желобок 10 действует в этом месте при попадании пули для охотничьего ружья 1 в тело дичи как амортизатор удара, как это будет описано ниже. Амортизирующий желобок 10 позволяет выполнить острый край 7 особенно толстым, т.е. с относительно большой протяженностью в радиальном направлении. Выступающая часть основания головки пули 4 составляет примерно 0,5 мм.
Сердечник пули 3 имеет прочное механическое соединение с оболочкой 2, эти два компонента спаяны между собой. Для этого используют сплав с оловом 11, который вносят в виде пасты при изготовлении пули для охотничьего ружья 1 перед началом соединения свинцового сердечника 3 с оболочкой из томпака 2. Соединение с замыканием материала между сердечником пули 3 и оболочкой 2 происходит далее в результате нагрева пули 1.
С помощью описанной конструкции пули для охотничьего ружья 1 достигают того, что ее деформация при попадании в тело дичи начинается с конического конца 6, когда оболочка пули 2 вплоть до острого края 7 при более твердой целевой среде, такой, например, как кость, разрушается максимум до профилированной канавки 9, причем сердечник пули 3 также разрушается благодаря прочному механическому соединению с оболочкой пули 2. При этом все получающиеся на пуле выступы сминаются относительно равномерно, и осколки в значительной степени не разрушаются. Такое сплющивание дает до 2,7-кратного увеличения поперечного сечения пули. В общей сложности менее 10% от первоначального веса пули 1 при попадании в цель превращаются в осколки. Поэтому пуля для охотничьего ружья имеет в теле дичи очень большой остаточный вес, так что, несмотря на увеличение поперечного сечения, обычно всегда можно рассчитывать на образование выходного отверстия. Выполненный острый край 7 способствует наряду с образованием срезанных волосков продолжительному кровотечению стреляной раны.
Формула изобретения
1. Пуля для охотничьего ружья, имеющая оболочку (2) из мягкоковкого материала, не содержащего свинца, например томпака, меди или латуни, и сердечник (3), соединенный с оболочкой (2) с замыканием материала и выполненный из материала, более мягкого, чем оболочка (2), например свинца, сплава свинца с оловом или сплава с висмутом, не содержащего свинца, причем пуля имеет тонкостенную головку (4), а в месте перехода оболочки (2) от головки пули (4) к задней части (5), выполненной со значительно более толстыми стенками, расположен сильно выступающий наружу острый край (7), а с внутренней стороны расположен обегающий желобок (10), входящий в этом месте в стенку оболочки (2) и заполненный материалом сердечника.
2. Пуля для охотничьего ружья по п.1, отличающаяся тем, что в средней области толстостенной задней части (5) в оболочке (2) снаружи выполнена обегающая профилированная канавка (9).
3. Пуля для охотничьего ружья по п.1 или 2, отличающаяся тем, что толщина стенки оболочки (2) в области между желобком (10) и профилированной канавкой (9) постоянно увеличивается в сторону канавки.
4. Пуля для охотничьего ружья по п.1 или 2, отличающаяся тем, что ее внешний диаметр в области между основанием (8) и профилированной канавкой (9) соответствует калибру нареза, а в области между профилированной канавкой (9) и острым краем (7) слегка сужается, так что острый край (7) не входит в нарезы ствола.
5. Пуля для охотничьего ружья по п.3, отличающаяся тем, что ее внешний диаметр в области между основанием (8) и профилированной канавкой (9) соответствует калибру нареза, а в области между профилированной канавкой (9) и острым краем (7) слегка сужается, так что острый край (7) не входит в нарезы ружейного ствола.
6. Пуля для охотничьего ружья по п.1 или 2, отличающаяся тем, что стенка основания (8) значительно толще стенки оболочки (2) в задней части (5).
7. Пуля для охотничьего ружья по п.3, отличающаяся тем, что стенка основания (8) значительно толще стенки оболочки (2) в задней части (5).
8. Пуля для охотничьего ружья по п.4, отличающаяся тем, что стенка основания (8) значительно толще стенки оболочки (2) в задней части (5).
9. Пуля для охотничьего ружья по п.5, отличающаяся тем, что стенка основания (8) значительно толще стенки оболочки (2) в задней части (5).
10. Пуля для охотничьего ружья по п.1 или 2, отличающаяся тем, что основание (8) выполнено конусообразным.
11. Пуля для охотничьего ружья по п.3, отличающаяся тем, что основание (8) выполнено конусообразным.
12. Пуля для охотничьего ружья по п.4, отличающаяся тем, что основание (8) выполнено конусообразным.
13. Пуля для охотничьего ружья по пп.5, 7-9, отличающаяся тем, что основание (8) выполнено конусообразным.
14. Пуля для охотничьего ружья по п.6, отличающаяся тем, что основание (8) выполнено конусообразным.
РИСУНКИ
|
|