| На основании пункта 1 статьи 1366 части четвертой Гражданского кодекса Российской Федерации патентообладатель обязуется заключить договор об отчуждении патента на условиях, соответствующих установившейся практике, с любым гражданином Российской Федерации или российским юридическим лицом, кто первым изъявил такое желание и уведомил об этом патентообладателя и федеральный орган исполнительной власти по интеллектуальной собственности. |
|
(21), (22) Заявка: 2006115457/02, 04.05.2006
(24) Дата начала отсчета срока действия патента:
04.05.2006
(43) Дата публикации заявки: 20.11.2007
(46) Опубликовано: 20.05.2008
(56) Список документов, цитированных в отчете о поиске:
RU 2229075 C1, 20.05.2004. SU 410111 A, 05.01.1974. SU 423860 А, 15.04.1974. SU 234437 А, 10.01.1969. FR 2669104 А, 15.05.1992. GB 1194652 A, 10.06.1970.
Адрес для переписки:
440056, г.Пенза, ул. Ивановская, 31, кв.1, В.А.Трусову
|
(72) Автор(ы):
Трусов Владимир Александрович (RU)
(73) Патентообладатель(и):
Трусов Владимир Александрович (RU)
|
(54) УСТРОЙСТВО ДЛЯ ПОДЪЕМА И ОПУСКАНИЯ ЗАСЛОНКИ ПЕЧИ
(57) Реферат:
Изобретение относится к области оборудования нагревательных печей. Устройство содержит заслонку, устройство для подъема и опускания заслонки и копиры. Заслонка выполнена в виде сварной рамы с футеровкой и двумя приваренными к ней патрубками. Патрубки предназначены для плавного перемещения заслонки по копирам. Футеровка заслонки выступает за плоскость сварной рамы с возможностью образования при закрытии окна печи герметичного «замка». Футеровка на задней стенке заслонки имеет двойной теплоизоляционный слой. Копиры в нижней заходной части выполнены с уклоном 35°. Использование изобретения повышает надежность герметизации печи. 1 з.п. ф-лы, 2 ил.
Изобретение относится к области оборудования нагревательных печей, в частности к устройствам, обеспечивающим эффективную герметизацию при закрывании заслонки печи, и может быть использовано в цехах цветного литья.
Известен аналог – устройство для подъема заслонки нагревательной печи (Источник информации А.С. №1252638), содержащее заслонку 11 как в заявленном устройстве, которая перемещается вверх-вниз, закрывая и открывая окно печи. Заслонка в нижнем положении так же, как в поданной заявке на предлагаемое изобретение, опирается на подоконник (порог) окна печи. Недостатки заключаются в том, что:
– устройство имеет заслонку, которая неплотно прилегает к раме окна печи, и это приводит к большим потерям тепла;
– использование системы двуплечих рычагов с контргрузами делает конструкцию большой по габаритам.
Из известных наиболее близким по технической сущности (прототипом) является устройство для подъема и опускания заслонки печи (патент РФ №2229075), содержащее привод 8 с гибкой связью 16, защитный экран 27. Общее в устройствах то, что заслонка перемещается вверх-вниз, открывая и закрывая окно печи. В поднятом верхнем положении заслонка располагается напротив защитного экрана 27, а в нижнем – рабочем заслонка 1 опирается на упоры.
В прототипе герметизацию создает эластичный огнеупорный материал, который уложен по периметру заслонки, а в предлагаемом варианте использован уплотнительный огнеупорный материал, обеспечивающий плотный контакт заслонки с проемом печи и герметизацию закрываемого проема.
Недостатки прототипа заключаются в том, что:
– конструкция сложная;
– уплотнитель печи 26 не закрывает металлоконструкцию заслонки 11 и металлическую раму окна печи 23 от действия раскаленных газов, поэтому газы, находящиеся в печи, контактируют и нагревают металлическую раму окна 23 печи и металлическую раму заслонки 11, вызывая коробление и, как следствие, неплотности между ними;
– вследствие образующихся неплотностей будут иметь место значительные теплопотери;
– в заслонке нет теплоизоляционного слоя, поэтому потери будут больше, чем если бы он был;
– низкая эксплуатационная надежность из-за большого количества пружин, уплотнений, створок заслонки.
Задачей изобретения является упрощение конструкции, повышение герметичности закрываемого окна, повышение эксплуатационной надежности, снижение теплопотерь печи.
Технический результат – повышение надежности герметизации печи, снижение теплопотерь, упрощение конструкции устройства.
Это достигается тем, что в устройство герметизации окна печи, содержащее привод, заслонку, защитный экран, ограничительные упоры, согласно предлагаемому изобретению введена заслонка специальной конструкции с двумя приваренными патрубками, перемещающимися по копирам.
Введение в конструкцию специальной заслонки с патрубками, плавно перемещающейся по копирам, делает ее простой, обеспечивает надежную герметичность.
Кроме того, заслонка выполнена в виде сварной рамы, футерованной внутри огнеупорным шамотным полуторным кирпичом, выступающим за переднюю плоскость рамы на 50-60 мм.
Выполнение в заслонке выступающей части футеровки, заходящей в проем окна печи и обеспечивающей плотный контакт при закрытии окна, защищает металлическую раму заслонки от непосредственного действия раскаленных печных газов. Раму не коробит, не «ведет», не образуется щелей и неплотностей.
Образуется как бы Г-образный «замок», создающий герметизацию, исключающий прорыв печных газов наружу и снижающий теплопотери.
Вместе с тем заслонка имеет двойной теплоизоляционный слой из огнеупорного материала и приваренную заднюю стенку.
Такое конструктивное решение значительно снижает теплопотери. Задняя стенка заслонки и рама не сильно нагреваются.
При этом копиры выполнены из стали с косынками для жесткости, причем заходная часть копиров имеет угол 35 градусов, а также угол 3 градуса, образованный между вертикальной плоскостью и гибкой связью в приводе.
По экспериментальным данным другие углы заходной части копиров, отличные от 35°, а также изменение угла 3°, на какой- либо другой угол приводят к отрицательным результатам в работе конструкции.
Выполнение указанных выше элементов позволяет плавно подниматься и опускаться заслонке, обеспечивает простоту всей конструкции, высокую эксплуатационную надежность и хорошую герметичность.
Кроме того, предлагаемая конструкция устройства герметизации окна печи не содержит ни одной пружины, ни шаровых шарниров, ни створок, ни уплотнений между створками.
Отсутствие указанных элементов в устройстве обеспечивает простоту конструкции и высокую эксплуатационную надежность.
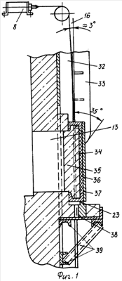
На Фиг.1 (вид с боку) изображено предлагаемое изобретение, на Фиг.2 – вид А.
Предлагаемое изобретение состоит из привода 8, пневмоцилиндра с гибкой связью 16. Заслонка 11 состоит из сварной рамы 23, имеет два приваренных патрубка. Два патрубка 34 опираются на два копира 33 и с помощью привода заслонка 11 может перемещаться вверх-вниз, открывая и закрывая окно 13 печи. Заслонка 11 имеет заднюю стенку 37, двойной теплоизоляционный слой 36 из огнеупорного материала и футерована полуторным шамотным кирпичом.
Существенно отметить, что огнеупорная футеровка заслонки 35 выступает за плоскость сварной рамы 23 (на 50-60 мм) и при закрытии окна 13 входит в проем печи, образуется надежный Г-образный «замок», который предотвращает прорыв газов из печи наружу.
Выступающая за раму 23 заслонки огнеупорная футеровка 35, кроме выполнения функции герметичности, выполняет функцию защиты металлоконструкции рамы заслонки от действия раскаленных печных газов, которые вызывают ее коробление и образование щелей и неплотностей.
Герметичность закрытия заслонкой 11 окна 13 печи обеспечивается заходной частью копира 33, которая имеет угол 35 градусов, а также углом 3 градуса, образованным между вертикалью и гибкой связью 16.
Практика показала, что вышеуказанные условия являются оптимальными для плавного подъема и опускания заслонки 11 и герметизации печи. В поднятом положении заслонка 11 располагается напротив защитного экрана 27.
В подоконнике печи, опирающемся на швеллеры и укосины 39, имеются два упора 38, на которые опирается заслонка, находясь в нижнем (закрытом) положении. Копиры 33 приварены к двутавру 32 и надежно фиксируются косынками 40.
Работает устройство герметизации окна печи следующим образом.
При включении привода 8 на ход заслонки 11 вниз она под действием собственного веса, опираясь патрубками 34 на копиры 33, плавно перемещается вниз и заходит выступающей частью огнеупорной футеровки 35 в окно 13 печи.
По окончании хода заслонка оказывается прижатой к печи и опирающейся на упор 38. При этом сварная рама 23 заслонки 11 плотно прижимается к футеровке окна печи.
По всему периметру контакта футеровки заходной части заслонки и футеровки проема печи образуется Г-образный «замок», который обеспечивает надежную герметизацию.
При открывании окна 11 привод 8 начинает перемещать заслонку 11 через гибкую связь 16 вверх по копирам 33. Выступающая футеровка заслонки 11 плавно выходит из окна 13 печи и в верхнем положении встает напротив защитного экрана 27.
Предлагаемое устройство герметизации окна печи отличается простой конструкцией, позволяет добиться надежной герметизации, повысить эксплуатационную надежность, снизить теплопотери.
Формула изобретения
1. Устройство герметизации окна печи, содержащее заслонку, опирающуюся на ограничительные упоры, устройство для подъема и опускания заслонки в виде пневмоцилиндра с гибкой связью и привода, отличающееся тем, что оно снабжено копирами, а заслонка выполнена в виде сварной рамы с футеровкой и двумя приваренными к ней патрубками, предназначенными для обеспечения плавного перемещения заслонки по копирам, при этом футеровка заслонки выступает за плоскость сварной рамы с возможностью образования при закрытии окна печи герметичного «замка», а на задней стенке заслонки имеет двойной теплоизоляционный слой.
2. Устройство по п.1, отличающееся тем, что копиры в нижней заходной части выполнены с уклоном 35°.
РИСУНКИ
|