|
(21), (22) Заявка: 2006125245/12, 13.07.2006
(24) Дата начала отсчета срока действия патента:
13.07.2006
(46) Опубликовано: 27.04.2008
(56) Список документов, цитированных в отчете о поиске:
RU 2084397 C1, 20.07.1997. DE 19800719 A1, 26.08.1999. SU 1326547 A1, 30.07.1987. US 5031486 А, 16.07.1991.
Адрес для переписки:
426004, г.Ижевск, ул. Удмуртская, 159, кв.230, Ю.М. Шмакову
|
(72) Автор(ы):
Шмаков Юрий Михайлович (RU)
(73) Патентообладатель(и):
Шмаков Юрий Михайлович (RU)
|
(54) ШТОПОР
(57) Реферат:
Изобретение относится к инструментам для откупоривания бутылок. Штопор состоит из остроконечного с боковыми рабочими поверхностями стержня, жестко связанного с рукояткой. Стержень выполнен плоскообразным с острыми боковыми кромками. Изобретение обеспечивает более легкое стягивание пробки со стержня, уменьшает трудоемкость изготовления, упрощает заточку боковых кромок стержня и является простым по конструкции, технологичным, надежным и долговечным в работе. 5 з.п. ф-лы, 8 ил.
Изобретение относится к инструментам для откупоривания бутылок.
Известен классический штопор, состоящий из остроконечного с боковыми рабочими поверхностями стержня, жестко связанного с рукояткой (Популярная механика 2005 г., №8, стр.50-51). Данная конструкция штопора принята за прототип. Ее недостатки:
1. Спирали штопора взаимодействуют с незначительным объемом пробки по ее оси, наименее сжатым и прочным, поэтому откупоривание возможно только слабо сидящих пробок. При тугих пробках и при спрессованных из пробковых крошек возможно выравнивание спиралью штопора осевой части пробки без откупоривания бутылки.
2. Классический штопор трудно использовать для других целей. Строгая специализация.
3. Большой поперечный габарит спирали штопора увеличивает толщину наборного походного инструмента.
4. Существующие механизмы для облегчения откупоривания бутылок сложены и громоздки.
Целью изобретения является улучшение эксплуатационных качеств штопора.
С этой целью, в штопоре, состоящим из остроконечного с боковыми рабочими поверхностями стержня, жестко связанного с рукояткой, стержень выполнен плоскообразным с острыми боковыми кромками, ширина стержня от носка до основания непрерывно увеличивается, на боковых поверхностях стержня выполнены поперечные канавки несимметричного профиля, канавки выполнены только на частях поверхностей обращенных в сторону поворота штопора при откупоривании бутылки, рукоятка штопора выполнена клинообразной в осевом направлении, а в поперечном сечении имеет овальную форму, введена втулка, охватывающая рукоятку и взаимодействующая с ней при помощи резьбового соединения.
Новыми отличительными признаками по сравнению с прототипом являются:
1. Стержень выполнен плоскообразным с острыми боковыми кромками (краями).
2. Ширина стержня от носка до основания непрерывно увеличивается.
3. На боковых сторонах стержня выполнены поперечные канавки несимметричного профиля.
4. Поперечные канавки выполнены только на поверхностях, обращенных в сторону вращения штопора при откупоривании бутылки.
5. Рукоятка штопора выполнена клинообразной в осевом направлении и овальной в поперечном сечении.
6. Введена охватывающая рукоятку втулка, взаимодействующая с ней при помощи резьбового соединения, образуя механизм, облегчающий откупоривание.
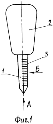
На фиг.1 показан общий вид штопора.
На фиг.2 – вид А на фиг.1.
На фиг.3 – вид Б на фиг.1.
На фиг.4 – показан механизм для облегчения откупоривания в собранном для хранения виде.
На фиг.5 – момент процесса углубления стержня штопора в пробку.
На фиг.6 – стержень штопора углублен в пробку, на рукоятку установлена втулка, начато ее вращение.
На фиг.7 – окончание вращения втулки – зуб в тупике резьбовой канавки.
На фиг.8 – втулка снята, к рукоятке прилагается усилие Р для окончательного откупоривания.
Штопор состоит из остроконечного плоскообразного с острыми боковыми кромками стержня 1, жестко связанного с рукояткой 2. На обеих сторонах стержня 1 на плоскостях, обращенных в сторону вращения штопора при откупоривании (в правую сторону), выполнены поперечные канавки 3.
Рукоятка 2а штопора в механизме для облегчения откупоривания (фиг.4, 5, 6, 7, 8) имеет цилиндрическую боковую поверхность и охвачена втулкой 4, рукоятка 2а и втулка 4 взаимодействуют при помощи резьбового соединения, выполненного в виде винтовой канавки 5 на цилиндрической поверхности рукоятки 2а и зуба 6, установленного на втулке 4.
Для откупоривания бутылки острый конец стержня 1 штопора устанавливается в центр торца пробки. При помощи рукоятки 2 (2а) на штопор производится осевое Р и качательное М в плоскости стержня 1 – усилия. Происходит углубление стержня 1 в пробку в осевом направлении (фиг.5) благодаря меньшей плотности (меньшей степени сжатия) осевой части пробки и благодаря конструкции стержня 1, имеющего непрерывно увеличивающуюся ширину с острыми боковыми кромкам и дромбовидное поперечное сечение, также увеличивающееся по длине стержня. После выхода носка стержня 1 из нижнего торца пробки углубление штопора прекращается. Одной рукой удерживается бутылка, другой рукой производится усилие на рукоятку 2 вверх и в окружном (по часовой стрелке) направлении. Силовому воздействию подвергается основной объем пробки, особенно ее верхняя часть, где наибольшая ширина стержня 1. Благодаря трению между стержнем 1 и пробкой и наличию поперечных канавок 3 на стержне 1 обеспечивается надежный захват и подъем пробки.
Рукоятка 2, имеющая по длине конусообразную форму и овальное поперечное сечение, удобна для углубления стержня 1 штопора в пробку и для подъема штопора с пробкой.
Наличие поперечных несимметричных канавок 3 только на поверхностях стержня, обращенных в сторону вращения штопора при откупоривании, имеет следующие особенности:
1. Покатая сторона профиля канавки 3 не увеличивает силу сопротивления углублению стержня 1 в пробку, но при подъеме штопора с прокручиванием по часовой стрелке угол крутой стороны профиля канавки 3 впивается в тело пробки, что увеличивает силу сцепления стержня с пробкой.
2. После откупоривания бутылки обеспечивается более легкое стягивание пробки со стержня 1 путем приложения левого окружного (для размыкания сцепленных поверхностей стержня 1 и пробки) и осевого усилий.
3. Меньше ослабляется поперечное сечение стержня 1.
4. Уменьшается трудоемкость изготовления штопора.
5. Упрощается заточка боковых кромок стержня 1 при эксплуатации штопора.
Разработан вариант стационарного штопора с механизмом для легкого и гарантированного откупоривания бутылок (фиг.4, 5, 6, 7, 8), состоящего из стержня 1 с цилиндрической рукояткой 2а и втулки 4, взаимодействующих при помощи резьбового соединения. Процесс откупоривания с использованием механизма сравнительно прост. При помощи рукоятки 2а стержень 1 углубляется в пробку (фиг.5), после выхода конца стержня 1 из нижнего торца пробки углубление прекращается. На рукоятку 2а надевается втулка 4 до упора зуба 4 в торец рукоятки 2а, производится поворот втулки 4 по часовой стрелке для попадания зуба 6 в винтовую канавку 5 рукоятки 2а (фиг.6). Одной рукой фиксируется, удерживается бутылка на опоре, другой рукой вращается втулка 4 по часовой стрелке. Благодаря резьбовому соединению деталей 2а и 4 на рукоятку 2а со стержнем 1 оказывается окружное и осевое усилия передаваемые на пробку. При определенном окружном усилии на втулку 4 пробка срывается со своего места в бутылке и она поднимается вверх. При попадании зуба 6 в конец винтовой канавки 5 подъем рукоятки 2а и пробки прекращается (фиг.7), пробка оказывается в полуподнятом положении. С левым вращением втулка 4 снимается с рукоятки 2а. После приложения к рукоятке 2а небольшого осевого усилия (фиг.8) пробка легко вынимается из бутылки. После этого при левом вращении стягивается пробка со стержня 1.
Большая длина и овальная форма внешней поверхности втулки 4 обеспечивают удобство ее вращения при откупоривании.
Большой угол наклона (40°) винтовой канавки 5 обеспечивает достаточное усилие прижатия рабочих плоскостей (с поперечными канавками) стержня 1 к пробке при ее подъеме.
Для большей долговечности работы механизма резьбовое соединение между рукояткой и втулкой 4 может быть выполнено из нескольких наклонных канавок 5 и зубьев 6. Зубья 6 могут быть установлены и на рукоятке 2а, а канавки 5 выполнены на втулке 4. Резьбовое соединение может быть и стандартным, например, трапецевидного профиля.
Для хранения механизма штопор острой частью вставляется во втулку 4 до упора конической части рукоятки 2а в зуб 6 (зубья) втулки 4, путем нажатия на торец рукоятки 2а производится ее стопорение, заклинивание. Габарит механизма при хранении определяется габаритами втулки (фиг.4).
Кроме откупоривания бутылок штопором возможно колоть, резать, даже открывать консервные банки, все это особенно ценно в походных условиях. Штопор-нож. При использовании стержня 1 штопора в наборном инструменте, его габариты уменьшаются.
Штопор прост по конструкции, технологичен, надежен и долговечен в работе, универсален. Стационарный механизм прост по конструкции и в работе, обеспечивает легкое откупоривание любых пробок, компактен при хранении.
Автором было изготовлено и испытано несколько опытных образцов штопоров, испытания подтвердили выше указанные свойства штопора.
Формула изобретения
1. Штопор, состоящий из остроконечного с боковыми рабочими поверхностями стержня, жестко связанного с рукояткой, отличающийся тем, что стержень выполнен плоскообразным с острыми боковыми кромками.
2. Штопор по п.1, отличающийся тем, что ширина стержня от носка до основания непрерывно увеличивается.
3. Штопор по п.1, отличающийся тем, что на боковых сторонах стержня выполнены поперечные канавки несимметричного профиля.
4. Штопор по любому из пп.1 и 3, отличающийся тем, что поперечные канавки выполнены только на частях поверхностей, обращенных в сторону поворота штопора при откупоривании бутылки.
5. Штопор по п.1, отличающийся тем, что рукоятка штопора выполнена клинообразной в осевом направлении, а в поперечном сечении имеет овальную форму.
6. Штопор по п.1, отличающийся тем, что введена втулка, охватывающая рукоятку и взаимодействующая с ней при помощи резьбового соединения.
РИСУНКИ
|