|
|
(21), (22) Заявка: 2005109153/11, 06.10.2003
(24) Дата начала отсчета срока действия патента:
06.10.2003
(30) Конвенционный приоритет:
08.10.2002 (пп.1-6) IT BO2002A000633
(43) Дата публикации заявки: 27.02.2006
(46) Опубликовано: 27.04.2008
(56) Список документов, цитированных в отчете о поиске:
US 2638259 А, 12.05.1953. US 5713403 А, 03.02.1998. GB 2035973 А, 25.06.1980. US 6334473 B1, 01.01.2002. SU 175186 A1, 01.01.1965. RU 2181339 C2, 20.04.2002.
(85) Дата перевода заявки PCT на национальную фазу:
11.05.2005
(86) Заявка PCT:
IB 03/04397 (06.10.2003)
(87) Публикация PCT:
WO 2004/033300 (22.04.2004)
Адрес для переписки:
191036, Санкт-Петербург, а/я 24, “НЕВИНПАТ”, пат.пов. А.В.Поликарпову
|
(72) Автор(ы):
БОНАТТИ Давиде (IT), ГАЛИМБЕРТИ Энрико (IT), КАВАЛЛАРИ Стефано (IT)
(73) Патентообладатель(и):
АЦИОНАРИЯ КОСТРУЦИОНИ МАККИНЕ АУТОМАТИКЕ А.К.М.А. С.п.А. (IT)
|
(54) СПОСОБ И МАШИНА ДЛЯ РАСПРЕДЕЛЕНИЯ ТЕКУЧИХ ВЕЩЕСТВ В КОНТЕЙНЕРЫ
(57) Реферат:
Изобретение относится к устройствам для наполнения контейнеров жидкими и вязкими веществами. Машина для распределения текучих веществ в контейнеры содержит бак, средства подачи в бак текучих веществ и наливные клапаны, расположенные ниже бака так, что они могут быть соединены по одному с контейнерами, причем бак содержит изолированные друг от друга отделения, соединенные по меньшей мере с одним из наливных клапанов. Бак установлен с возможностью вращения относительно соответствующей оси вращения. Средства подачи содержат блок клапанов, который позволяет направлять текучие вещества по выбору в разные отделения бака. Блок содержит неподвижную часть и подвижную часть. Неподвижная часть блока клапанов содержит входные отверстия, впускающие текучие вещества, получаемые от соответствующих источников. Подвижная часть блока клапанов содержит выходные отверстия, наполняющие соответствующие отделения бака, и выполнена с возможностью вращения как одно целое вместе с баком относительно соответствующей оси вращения. Достигается распределение различных текучих веществ в разные контейнеры с помощью одной карусели, упрощение очистки наливных клапанов. 5 з.п. ф-лы, 5 ил.
Область техники
Данное изобретение относится к способу и машине для распределения текучих веществ в контейнеры.
Изобретение может использоваться в устройствах для наполнения контейнеров жидкими и вязкими веществами.
Предпосылки изобретения
Разливочные машины, относящиеся к упомянутому выше типу, появились по существу в виде бака, поддерживаемого главной каруселью и имеющего источник текучего вещества; причем карусель выполнена с возможностью вращения вокруг вертикальной оси по касательной к первому передающему узлу, с помощью которого она получает ряд контейнеров, каждый из которых имеет горловину для наполнения.
Бак жестко соединен с каруселью и имеет в дне наливные клапаны, каждый из которых может быть соединен с горловиной соответствующего контейнера таким образом, что, когда карусель приводится в движение, бак вращается вокруг вертикальной оси, и его содержимое распределяется через наливные клапаны в контейнеры, после чего наполненные контейнеры направляются с помощью второго передающего узла на разгрузочный конвейер, а затем на следующий блок, используемый в производственном цикле, например укупоривающее или маркирующее устройство.
Решение об установке бака наверху карусели, как это описано выше, удобно тем, что дает возможность создать оборудование компактной геометрии и поддающихся управлению размеров, но имеет некоторые недостатки, сильно ограничивающие универсальность применения.
Первый недостаток состоит в том, что распределять в контейнеры можно только один тип материала, что исключает возможность использования одной карусели для наполнения разных контейнеров различными веществами в одном производственном процессе.
Дополнительный недостаток вызван трудностями, с которыми сталкиваются при очистке наливных клапанов, которая является особенно важной операцией в случае скоропортящихся материалов, таких как продукты питания. В действительности, клапаны и их подающие системы могут быть чисто промыты только после того, как бак полностью опорожнен и производственный цикл закончен.
Цель данного изобретения состоит в создании способа распределения текучих веществ в контейнеры, который не имеет недостатков, упомянутых выше при описании известного уровня техники.
Описание изобретения
Указанная цель достигается способом по п.1 прилагаемой формулы изобретения.
Данное изобретение также относится к машине для распределения текучих веществ в контейнеры.
Более того, указанная цель достигается в машине по п.4 прилагаемой формулы изобретения.
Далее изобретение подробно описано на примере с использованием прилагаемых чертежей, на которых:
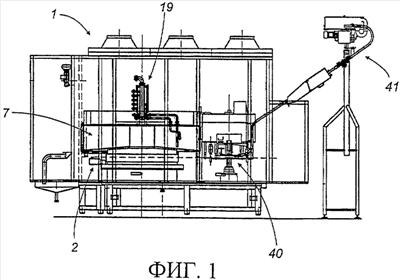
фиг.1 схематично изображает вид спереди предпочтительного варианта выполнения предлагаемой наливной машины, оборудованной баком, для распределения текучих веществ в контейнеры;
фиг.2 схематично изображает вид сверху наливной машины, показанной на фиг.1;
фиг.3 подробно изображает вид сбоку машины, показанной на фиг.1 и 2;
фиг.4 изображает вид в аксонометрии сверху части машины, показанной на фиг.1;
фиг.5 изображает вид сверху части, показанной на фиг.3.
На фиг.1 позиция 1 обозначает полностью часть наливной машины, с помощью которой текучие вещества 2 распределяются в контейнеры (не показаны).
Как показано на фиг.1 и 2, машина 1 содержит главную карусель 2, установленную с возможностью вращения вокруг вертикальной оси А, поворачиваясь по часовой стрелке, как видно из фиг.2, по касательной к первому передаточному узлу 3, через который контейнеры поодиночке последовательно подаются на карусель роторным подающим конвейером 4. Как видно из фиг.2, подающий конвейер 4 вращается против часовой стрелки вокруг оси В, параллельной оси А, упомянутой выше, и поворачивается по касательной к первому питающему узлу 5, у которого он принимает ряд контейнеров, идущих по первой заданной траектории Р1, создаваемой горизонтальным подающим каналом 6.
Карусель 2 расположена и выполнена с обеспечением поддерживания контейнеров (не показаны), а также служит для удержания бака 7, жестко соединенного с каруселью 2 при ее вращении вокруг оси А.
На фиг.3 бак 7 имеет ряд наливных клапанов 8, из которых изображен только один. Эти клапаны равномерно расположены вокруг вертикальной оси вращения А, на удалении от нее. В варианте выполнения использованы клапаны 8 обычной конструкции, поэтому далее они не описываются в данном описании ни в отношении их конструкции, ни в отношении их работы.
Как видно из фиг.4, бак 7 имеет по существу внешний вид кругового тела с цилиндрической боковой стенкой 9, дном 10, центральным отверстием 11 и содержит четыре отделения, обозначенные соответственно позициями 12, 13, 14 и 15 и разделенные четырьмя радиальными перегородками 16, служащими для создания четырех соответствующих непроницаемых для текучей среды переборок 17 между четырьмя отделениями 12, 13, 14, и 15.
На фиг.4 также изображен ряд отверстий 18, расположенных по периферии бака 7 и служащих для соединения источника текучей среды в отделениях 12, 13, 14 и 15 с четырьмя соответствующими группами наливных клапанов 8, не указанных на чертеже.
Фиг.3 изображает вращающийся блок 19 клапанов, который установлен над баком 7 на одной оси с центральным отверстием 11 и с помощью которого различные текучие вещества избирательно подаются в разные отделения 12, 13, 14 и 15.
Вращающийся блок 19 клапанов содержит наружную часть 20, которая остается неподвижной по отношению к угловому движению бака вокруг вертикальной оси А, и внутреннюю часть 21, которая вращается как одно целое с каруселью 2 и баком 7 вокруг одной и той же оси.
Неподвижная часть 20 имеет ряд входных отверстий 22, впускающих указанные выше разные текучие вещества из соответствующих отдельных источников, упрощенно изображенных на чертеже четырьмя соответствующими блоками, обозначенными 23, 24, 25 и 26, а также дополнительно имеет входное отверстие 27, впускающее сжатый воздух из соответствующего источника, упрощенно изображенного соответственным блоком, обозначенным 27а. Четыре входных отверстия 22 для текучих веществ и входное отверстие 27 для воздуха размещены на неподвижной части 20 на соответствующих разных высотах относительно вертикальной оси А вращения.
Аналогично, из фиг.5 видно, что вращающаяся внутренняя часть 21 блока 19 клапанов имеет четыре выходных отверстия 28, размещенных с одинаковым шагом по углу относительно оси А, а также четыре клапана 29, доставляющих сжатый воздух, впускаемый через входное отверстие 27, и размещенных таким же образом с одинаковым шагом в угловом направлении относительно оси А и смещенных относительно выходных отверстий 28 для текучей среды.
Еще раз обращаясь к фиг.3, видим, что неподвижная наружная часть 20 блока клапанов представляет собой большое количество кольцевых каналов 30, совпадающих и соединяющихся соответственно с входными отверстиями 22, тогда как вращающаяся внутренняя часть 21 представляет собой группу вертикальных каналов 31, проходящих по существу параллельно оси А и совпадающих соответственно с выходным отверстием 28.
Каждый кольцевой канал 30 сообщается с соответствующим вертикальным каналом 31 таким образом, что каждое входное отверстие 22 может быть связано с соответствующим выходным отверстием 28 как при вращении бака 7 вокруг оси А, так и тогда, когда бак 7 неподвижен.
Вращающийся блок 19 клапанов также содержит центральный трубопровод 32, через который в бак 7 направляется промывочная жидкость.
Центральный трубопровод получает жидкость от источника, упрощенно изображенного блоком, обозначенным позицией 33. Из нижнего конца трубопровода 32 жидкость течет к четырем выходным отверстиям 34, жестко соединенным с вращающейся внутренней частью 21 и расположенным с равным угловым шагом относительно оси вращения А, по существу на одной линии и ниже упомянутых выше выходных отверстий 28 для текучей среды.
К каждому из выходных отверстий 28 присоединены соответствующие трубопроводы 35, служащие для пополнения соответствующего отделения 12, 13, 14 и 15 бака 7. Для упрощения на фиг.3 изображен только один трубопровод 35 из четырех. Пополняющий трубопровод 35 имеет первую горизонтальную часть 35а, выступающую по существу в радиальном направлении от оси А, и вторую вертикальную часть 35b, которая оканчивается в непосредственной близости к дну 10 бака 7.
Аналогично с каждым выходным отверстием 34 для жидкости соединен соответствующий трубопровод 36, служащий для промывки соответствующего отделения 12, 13, 14 и 15 бака 7. Для простоты на фиг.3 изображен только один трубопровод 36 из четырех. Промывочный трубопровод 36 имеет один конец 36а, расположенный внутри соответствующего отделения 12, 13, 13 и 15 и имеющий сопло 37, из которого промывочная жидкость направляется в бак 7.
Оба трубопровода, и пополняющий 35, и промывочный 36, поддерживаются соответствующими установочными элементами 38.
Установочные элементы 38, соединенные с четырьмя отделениями 12, 13, 14 и 15, имеют соответствующие датчики 39 стандартного типа, служащие для контроля количества и химических и физических свойств текучих веществ, содержащихся в отделениях 12, 13, 14 и 15.
Дно 10 бака 7 имеет большое количество отверстий, не показанных на чертежах, соединенных с каждым из отделений 12, 13, 14 и 15. Через эти отверстия текучие вещества и промывочные жидкости могут быть отведены из отделений 12, 13, 14 и 15.
Как показано на фиг.1 и 2, машина содержит узел 40, на котором контейнеры наполняются текучими веществами и укупориваются. Узел 40 укупоривания в представленном варианте выполнения имеет обычную конструкцию и поэтому далее в представленном описании не показан и не описан. Крышки, не изображенные на чертежах, подаются на узел 40 подающим устройством 41, также имеющим традиционную конструкцию.
Машина 1 также оборудована узлом 42, на котором наполненные и укупоренные контейнеры маркируются, для чего в узле 42 имеются четыре маркирующих блока 43, 44, 45 и 46 обычного типа, не изображенные в деталях и не описываемые в дальнейшем. Эти четыре блока 43, 44, 45 и 46 также обычного типа расположены обращенными к периферии перемещающей карусели 47 и на фиг.2 упрощенно изображены пунктирными окружностями, по которым контейнеры перемещаются во время операции маркировки.
Кроме того, на фиг.2 показано, что машина 1 содержит главный контроллер 48, с помощью которого производится управление различными операциями наполнения, укупоривания и маркировки.
Источники 23, 24, 25 и 26 текучих веществ, вращающийся блок 19 клапанов и пополняющие трубопроводы 35 вместе составляют средства 49 подачи, с помощью которых текучие вещества подаются в бак 7.
Во время работы, в соответствии с тем, что известно из уровня техники и как изображено на фиг.2, контейнеры (не показаны) перемещаются по подводящему каналу 6 вдоль первой траектории Р1 в первый перемещающий узел 3, подбираются роторным подводящим конвейером 4 и направляются на главную карусель 2.
Контейнеры удерживаются расположенными на главной карусели 2 соответствующими захватывающими элементами, не изображенными на чертежах, и таким образом переносятся по заданной круговой траектории Р2 перемещения и наполнения, проходящей вокруг оси А.
При вращении бака 7 вокруг оси А каждый наливной клапан 8 устанавливается на одной линии с горловиной соответствующего контейнера, переносимого каруселью 2, и выдает из бака 7 заданное количество текучего вещества.
С помощью карусели 2 и бака 7, вращающихся как одно целое, каждый контейнер последовательно по очереди наполняется текучим веществом из бака 7.
Как показано на фиг.4, бак 7 разделен на четыре отделения 12, 13, 14 и 15, каждое из которых содержит другое текучее вещество.
Из фиг.3 видно, что четыре различных текучих вещества текут из соответствующих источников 23, 24, 25 и 26 к входным отверстиям 22 на неподвижной наружной части 20 блока 19 клапанов. Текучее вещество, входящее через каждое отверстие 22, заполняет соответствующий кольцевой канал 30, из которого оно может проходить в соответствующий вертикальный канал 31 вращающейся внутренней части 21, даже если этот элемент вращается из-за поворота приводимого во вращение вокруг вертикальной оси А бака 7, с которым внутренняя часть 21 жестко соединена.
Текучее вещество проходит вниз по вертикальному каналу 31 к соответствующему выходному отверстию 28, далее по пополняющему трубопроводу 35 и в нужное отделение 12, 13, 14 и 15.
Другими словами, при вращении бака 7 каждое из отделений 12, 13, 14 и 15, на которые он разделен, может быть загружено соответствующим выбранным текучим веществом.
Контейнеры, направляемые поодиночке последовательно на карусель 2, направляются рядами в заданном количестве, соответствующем числу наливных клапанов 8, обслуживающих каждое отделение 12, 13, 14 и 15, и соответственно устанавливаются в одну линию с клапанами.
Таким образом, в течение каждого полного поворота, совершаемого баком 7 вокруг оси А, четыре группы контейнеров наполняются текучими веществами различных сортов, или вернее, каждая группа наполняется текучим веществом, содержащимся в отделении 12, 13, 14 или 15, ниже которого расположены контейнеры этой самой группы.
После операции наполнения заполненные контейнеры освобождают соответствующими захватывающими устройствами карусели 2 и продвигают посредством второго перемещающего узла 50 к узлу 40 укупоривания. Укупоренные обычными способами, не описываемыми в дальнейшем, контейнеры направляют по прямолинейной траектории Р3 по направлению к третьему перемещающему узлу 51, обслуживающему узел 42 маркировки.
Повторим, что узел 42 содержит карусель 47, на которую контейнеры направляют с узла 51 обычным способом, не описываемым в данном описании.
Заполненные и укупоренные контейнеры продвигаются каруселью 47 по круговой траектории Р4, вдоль которой установлены упоминавшиеся выше маркирующие блоки 43, 44, 45 и 46.
Главный контроллер управляет работой карусели 42 и блоков 43, 44, 45 и 46 таким образом, что они избирательно накладывают различные наклейки на контейнеры, продвигающиеся вдоль круговой траектории Р4, в соответствии с типом текучего вещества, распределенного в каждый из них.
Другими словами, контейнеры данной группы, все заполненные одинаковым текучим веществом из одного из отделений 12, 13, 14 или 15, продвигают на карусели 42 до тех пор, пока они не установятся в одну линию с конкретным блоком 43, 44, 45 или 46, запрограммированным накладывать наклейки, соответствующие и/или идентифицирующие текучее вещество, действительно загруженное в отдельные контейнеры рассматриваемой группы.
Достоинством является то, что блоки 43, 44, 45 и 46 расположены вдоль траектории Р4 и имеют различные наклейки в порядке той же последовательности, что и соответствующие текучие продукты в отделениях 12, 13, 14 и 15 бака 7.
При использовании предложенного способа становится возможным наполнять контейнеры различными веществами по существу одновременно, в продолжение одного и того же рабочего цикла наливной машины и, следовательно, без приостановки работ или проведения продолжительных и трудоемких процедур по очистке.
Также удобно то, что машина, выполненная в соответствии с данным изобретением, позволяет проводить промывку для очистки одного или нескольких отделений без остановки работы по наполнению контейнеров из остальных отделений, так что производственный цикл может продолжаться точно так же, хотя с уменьшенной производительностью.
В альтернативном варианте выполнения изобретения, не изображенном на чертежах, наливная машина 1 может содержать укупоривающий или запечатывающий узел, оборудованный четырьмя различными блоками, с помощью которых контейнеры, наполненные различными текучими веществами, снабжаются закрывающими устройствами различных типов, в соответствии с видом конкретного вещества, заправленного из бака в отдельный контейнер.
В другом альтернативном варианте выполнения изобретения, также не изображенном на чертежах, различные контейнеры направляют на карусель и ниже бака 7, причем каждый из них снабжен элементами, идентифицирующими одно из разных текучих веществ, которым он должен быть наполнен. Контроллер должен быть запрограммирован на обеспечение правильной установки каждого контейнера под заданный наливной клапан, так что он может быть наполнен конкретным текучим веществом, обозначенным идентифицирующими элементами.
Формула изобретения
1. Машина для распределения текучих веществ в контейнеры, содержащая бак (7), средства (49) подачи для подачи в бак текучих веществ и наливные клапаны (8), расположенные ниже бака (7) так, что они могут быть соединены по одному с контейнерами, причем бак (7) содержит разные отделения (12, 13, 14, 15), которые изолированы друг от друга и каждый из которых соединен по меньшей мере с одним из наливных клапанов (8) и установлен с возможностью вращения вокруг соответствующей оси (А) вращения, а средства (49) подачи содержат блок (19) клапанов, посредством которого текучие вещества направляются по выбору в разные отделения бака (7), отличающаяся тем, что блок (19) клапанов содержит неподвижную часть (20), имеющую входные отверстия (22), впускающие текучие вещества, получаемые из соответствующих источников (23, 24, 25, 26), и подвижную часть (21), выполненную с возможностью вращения как одно целое вместе с баком (7) относительно соответствующей оси (А) и имеющую выходные отверстия (28), из которых текучие вещества направляются к соответствующим отделениям бака (7).
2. Машина по п.1, отличающаяся тем, что бак (7) имеет по существу круговой внешний вид и содержит радиальные перегородки (16), которыми он разделен на соответствующие внутренние отделения (12, 13, 14, 15).
3. Машина по п.1, отличающаяся тем, что входные отверстия (22) расположены на неподвижной части (20) блока (19) клапанов на разных высотах по отношению к оси (А) вращения, а выходные отверстия (28) соединены с вращающейся частью (21) и занимают положения, разнесенные в угловом направлении вокруг оси (А).
4. Машина по пп.1-3, отличающаяся тем, что она содержит узел (42) маркировки контейнеров, в котором на контейнеры наносятся различные наклейки в соответствии с конкретным текучим веществом, распределенным из бака (7) в каждый контейнер.
5. Машина по п.4, отличающаяся тем, что узел (42) маркировки содержит маркирующие блоки (43, 44, 45, 46), количество которых соответствует по меньшей мере числу отделений (12, 13, 14, 15).
6. Машина по пп.1-3, отличающаяся тем, что она содержит узел укупоривания контейнеров, в котором на контейнеры накладываются различные крышки в соответствии с конкретным текучим веществом, распределенным из бака (7) в каждый контейнер.
РИСУНКИ
|
|