|
|
(21), (22) Заявка: 2005131079/11, 07.10.2005
(24) Дата начала отсчета срока действия патента:
07.10.2005
(43) Дата публикации заявки: 20.04.2007
(46) Опубликовано: 27.04.2008
(56) Список документов, цитированных в отчете о поиске:
RU 2161109 C1, 27.12.2000. RU 2091630 C1, 27.09.1997. SU 1818281 A1, 30.05.1993. US 3699581 A, 17.10.1972. US 4666107 A, 19.05.1987.
Адрес для переписки:
141070, Московская обл., г. Королев, ул. Ленина, 4а, ОАО “РКК “Энергия” им. С.П. Королева”, отдел интеллектуальной собственности
|
(72) Автор(ы):
Саяпин Сергей Николаевич (RU), Кокушкин Вячеслав Вячеславович (RU)
(73) Патентообладатель(и):
Открытое акционерное общество “Ракетно-космическая корпорация “Энергия” им. С.П. Королева” (RU)
|
(54) СПОСОБ ПОДАВЛЕНИЯ ПОМЕХ ОТ КОЛЕБАНИЙ УПРУГОЙ КОНСТРУКЦИИ КОСМИЧЕСКОЙ ТРАНСФОРМИРУЕМОЙ АНТЕННЫ В ПРОЦЕССЕ ЭКСПЛУАТАЦИИ И УСТРОЙСТВО ДЛЯ ЕГО ОСУЩЕСТВЛЕНИЯ
(57) Реферат:
Изобретение относится к космической технике и может быть использовано в крупногабаритных высокоточных трансформируемых конструкциях. Способ заключается в контроле ускорений и соответствующих им отклонений геометрических параметров от теоретических в контрольных точках. Контроль осуществляют непрерывно в реальном масштабе времени. Контрольные точки выполняют для всех формообразующих элементов конструкции антенны и каждую из них организуют общей. Устройство содержит систему контроля геометрии и ускорения, которая выполнена в виде совмещенных датчиков пространственного положения и ускорений. Датчики представляют собой миниатюрные трехосные блоки гироскопов-акселерометров, которые электрически связаны через аналого-цифровые преобразователи с бортовой высокопроизводительной информационно-измерительной управляющей системой. При этом бортовая высокопроизводительная информационно-измерительная управляющая система через соответствующие усилители мощности электрически связана с исполнительными органами протяженных элементов конструкции космического аппарата. Технический результат заключается в повышении достоверности контролируемых параметров и улучшении радиотехнических характеристик антенны. 2 н. и 1 з.п. ф-лы, 3 ил.
Изобретение относится к космической технике и может быть использовано в крупногабаритных высокоточных трансформируемых конструкциях, например зеркальных антеннах космических радиотелескопов.
Известны способ подавления помех от колебаний упругой конструкции космической трансформируемой антенны в процессе эксплуатации и устройство для его осуществления (Патент на изобретение РФ №2161109, МПК B64G 1/00, 1/22, 3/00, заявлено 10.09.1999; опубл. 27.12.2000, Бюл. №36 – прототип).
В данном способе относительно основания космического аппарата обеспечивают пространственную виброизоляцию кинематически связанной с ним платформы с установленным на ней объектом защиты по шести степеням свободы, при которой обеспечивают неизменное положение платформы в инерциальном пространстве, а управление платформой осуществляют согласованной работой модулей активной виброизоляции от акселерометров, которые устанавливают на основании и платформе в местах их шарнирного соединения, а также датчиков относительных перемещений, с помощью которых определяют относительное перемещение платформы, при этом предварительно на рабочей поверхности конструкции антенны и ее элементах располагают контрольные марки системы контроля геометрии и в непосредственной близости от них на нерабочей поверхности устанавливают акселерометры, а на опорной системе вблизи фокуса антенны устанавливают звездные датчики, которые ориентируют относительно базовой системы координат антенны и космического аппарата, затем осуществляют физическое моделирование динамики автоматического раскрытия антенны или ее фрагментов, при котором выявляют амплитуды и частоты колебаний, требующих подавления, а также амплитуды и частоты колебаний, генерируемых платформой, с помощью которых активизируют подавление резонансных колебаний раскрытой антенны до обеспечения требуемой геометрической точности конструкции антенны, затем осуществляют физическое моделирование колебаний конструкции антенны от микродинамических воздействий, вызванных работой систем космического аппарата в процессе эксплуатации и одновременно регистрируют спектр микродинамических воздействий и спектр основных геометрических, и, как следствие, радиотехнических параметров в контрольных точках на рабочей поверхности конструкции антенны, затем производят оценку их взаимного влияния и устанавливают амплитуды и частоты колебаний, требующие демпфирования, после чего осуществляют физическое моделирование спектра микродинамических воздействий, вызванных внешними факторами, и аналогично устанавливают амплитуды и частоты колебаний, требующих подавления, затем одновременно с указанным спектром микродинамических воздействий генерируют платформой спектр динамических воздействий в месте стыковки с ней конструкции антенны, производят оценку их взаимного влияния и устанавливают амплитуды и частоты динамических воздействий, подавляющих колебания, вызванные внешними факторами, при этом физическое моделирование осуществляют с компенсацией влияния силы тяжести и воздушной среды, после этого по полученным данным производят настройку пространственной системы подавления помех от колебаний упругой конструкции космической трансформируемой антенны, с помощью которой осуществляют выбор одного из следующих режимов, или их комбинации управления динамикой конструкции антенны:
1) виброизоляция космического аппарата при раскрытии конструкции антенны, управление которой осуществляют единичными модулями активной виброизоляции по показаниям акселерометров, которые устанавливают на основании и платформе в местах их шарнирного соединения с единичными модулями активной виброизоляции, а также по показаниям датчиков относительных перемещений и датчиков относительных скоростей, которые устанавливают на каждом единичном модуле активной виброизоляции;
2) подавление колебаний конструкции антенны, вызванных раскрытием антенны и внешними факторами, управление которой осуществляют единичными модулями активной виброизоляции по показаниям акселерометров, которые устанавливают на конструкции антенны, основании и платформе, а также по показаниям датчиков относительных перемещений и датчиков относительных скоростей, которые устанавливают на каждом из единичных модулей активной виброизоляции;
3) виброизоляция конструкции антенны от микродинамических воздействий, вызванных работой систем космического аппарата в процессе эксплуатации, управление которой осуществляют единичными модулями активной риброизоляции по показаниям акселерометров, которые устанавливают на основании и платформе в местах их шарнирного соединения с единичными модулями активной виброизоляции, а также по показаниям датчиков относительных перемещений и датчиков относительных скоростей, которые устанавливают на каждом из единичных модулей активной виброизоляции;
4) определение отклонения диаграммы направленности антенны от внешних и внутренних воздействующих факторов и ее юстировку осуществляют системой контроля геометрии и единичными модулями активной виброизоляции по показаниям датчиков относительных перемещений, которые устанавливают на каждом из единичных модулей активной виброизоляции и звездных датчиков, которые устанавливают вблизи от фокуса антенны, при этом обрабатывают векторную информацию от датчиков и системы контроля геометрии, формируют управляющие команды в реальном масштабе времени и подают их на исполнительные органы, а информацию от датчиков и систем преобразуют в радиосигналы и по радиолинии передают в приемно-регистрирующую систему.
Недостатками известного способа являются:
– отсутствие возможности непрерывного и оперативного контроля геометрии всех формообразующих элементов конструкции антенны, т.к. контроль геометрии осуществляется дискретно по отдельным точкам путем их последовательного сканирования;
при этом возможно сканирование только тех контрольных точек, которые лежат в прямой видимости устройства сканирования, в связи с чем не представляется возможным определять пространственное положения контрольных точек, расположенных на элементах конструкции антенны и космического аппарата и не лежащих в прямой видимости устройства сканирования; в результате затрудняется процесс управления юстировкой оси антенны с учетом ее геометрических искажений в процессе эксплуатации в реальном масштабе времени;
– в результате дискретного контроля геометрии рабочей поверхности антенны отсутствует единовременная целостная картина деформации контролируемых конструкций, что приводит к снижению точности контроля изделия в динамике и, как следствие, достоверности обрабатываемой информации и качества управления антенной в процессе эксплуатации;
– в связи с отсутствием контрольных точек на протяженных элементах конструкции космического аппарата, например панелей солнечных батарей, и, как следствие, возможности осуществления контроля пространственных положений и ускорений контрольных точек данный способ не позволяет организовать управление подавлением упругих колебаний протяженных элементов космического аппарата, вызванных работой его систем в процессе эксплуатации (система терморегулирования приборного контейнера несущей конструкции 6 космического аппарата, приводы поворота панелей солнечных батарей 7 и телеметрической антенны 8, силовые гиродины системы ориентации космического аппарата и др.), способных привести к снижению надежности их работы; кроме того, в связи с протяженностью конструкций панелей солнечных батарей (линейные размеры составляют 10 метров и более), малой их жесткостью, отсутствием на них контрольных точек пространственных положений и ускорений, снижается точность ориентации рабочих поверхностей панелей солнечных батарей на Солнце и, как следствие, эффективность их работы.
В данном устройстве подвеска, связывающая космический аппарат с конструкцией антенны, выполнена в виде манипулятора, включающего не менее шести одинаковых единичных модулей активной виброизоляции, которые образуют при отключенных исполнительных органах пространственную ферму. Управление устройством осуществляется от бортовой информационно-технологической системы контроля и управления по показаниям установленных на элементах конструкции антенны и космического аппарата акселерометров, датчиков относительного перемещения, датчиков относительной скорости, звездных датчиков и системы контроля геометрии.
Недостатками известного устройства для реализации приведенного выше способа являются:
– отсутствие конструктивного совмещения контрольных точек измерения ускорений и соответствующих им отклонений геометрических параметров всех формообразующих элементов конструкции антенны, панелей солнечных батарей и других протяженных элементов космического аппарата приводит к снижению достоверности контролируемых параметров;
– устройство сканирования системы контроля геометрии антенны и контрольные точки расположены на рабочей поверхности зеркала антенны, что приводит к затенению его рабочей поверхности и переотражению от них принимаемых и передаваемых радиоволн в процессе эксплуатации и, как следствие, к ухудшению радиотехнических характеристик;
– устройство сканирования системы контроля геометрии антенны не позволяет осуществлять контроль участков, которые не просматриваются при сканировании, в том числе участков рабочей поверхности антенны, затененных опорной системой фокального блока; тыльной поверхности зеркала антенны; панелей солнечных батарей и других элементов конструкции антенны и космического аппарата, что снижает эффективность системы контроля геометрии и качество обрабатываемой информации и формируемых команд управления антенной и космическим аппаратом в процессе их эксплуатации;
– наличие в сканирующем устройстве системы контроля геометрии подвижными элементов конструкции снижает точность контроля и надежность системы;
– наличие сканирующего устройства системы контроля геометрии приводит к повышению массогабаритных характеристик конструкции антенны;
– наличие в единичных модулях активной виброизоляции датчиков относительного перемещения, выполненных в виде линейных позиционеров потенциометрического типа с подвижными электрическими контактами и связанными с ними подвижными элементами, соединяющими шарнирные концы единичных модулей, приводит к снижению надежности функционирования единичных модулей активной виброизоляциии и повышению их массогабаритных характеристик;
Техническим результатом изобретения является
обеспечение непрерывного оперативного контроля геометрии всех формообразующих элементов конструкции антенны, панелей солнечных батарей и других протяженных элементов конструкции космического аппарата независимо от местоположения контрольных точек, позволяющего организовать управление работой антенны в режиме реального времени;
повышение достоверности контролируемых параметров за счет совмещения контрольных точек измерения ускорений и соответствующих им отклонений геометрических параметров всех формообразующих элементов конструкции антенны, панелей солнечных батарей и других протяженных элементов космического аппарата;
улучшение радиотехнических характеристик антенны за счет исключение затенения ее рабочей поверхности устройством сканирования и отражающими элементами системы контроля геометрии (контрольными марками) и переотражения от них принимаемых и передаваемых радиоволн в процессе эксплуатации. Снижение массогабаритных характеристик за счет исключения из системы контроля геометрии устройства сканирования;
получение целостной картины деформации контролируемых конструкций, а не дискретной по каждой точке в отдельности, что позволяет повысить точность контроля изделия в динамике и, как следствие, достоверность обрабатываемой информации и качество управления антенной и космическим аппаратом в процессе их эксплуатации;
повышение точности контроля геометрии и надежности за счет исключения в системе контроля геометрии подвижных элементов. Обеспечение контроля геометрии в недоступных для сканирующей системы контроля геометрии местах (участки, которые не просматриваются сканирующим устройством, в том числе поверхность антенны, затененная опорной системой фокального блока, тыльная поверхность зеркала антенны, панели солнечных батарей и другие);
снижение массогабаритных характеристик и повышение надежности функционирования единичных модулей активной виброизоляции за счет исключения из конструкции датчиков их относительных перемещений подвижных электрических контактов и связанных с ними подвижных элементов, соединяющих шарнирные концы единичных модулей;
повышение надежности работы протяженных элементов конструкции космического аппарата, например панелей солнечных батарей, и точности их ориентации на Солнце.
Это достигается тем, что в способе подавления помех от колебаний упругой конструкции космической трансформируемой антенны в процессе эксплуатации, заключающемся в том, что в контрольных точках на конструкции осуществляют контроль ускорений и соответствующих им отклонений геометрических параметров антенны от теоретических и, в случае превышения их значений, формируют управляющие команды и подают их на исполнительные органы системы виброзащиты и наведения конструкции антенны, контроль ускорений и соответствующих им отклонений геометрических параметров от теоретических в контрольных точках осуществляют непрерывно в реальном масштабе времени, а контрольные точки выполняют для всех формообразующих элементов конструкции антенны, панелей солнечных батарей и других протяженных элементов космического аппарата и каждую из них организуют общей для контроля ускорений и отклонений геометрических параметров конструкции антенны, панелей солнечных батарей и других протяженных элементов космического аппарата и располагают в местах, исключающих нарушение радиотехнических характеристик конструкции антенны, затенение рабочей поверхности панелей солнечных батарей и геометрических связей с их контролируемыми участками и непосредственно в них устанавливают совмещенные датчики пространственного положения и ускорений и по их показаниям судят о величинах ускорений контрольных точек и отклонений их пространственных положений от теоретических значений, при этом взаимную настройку совмещенных датчиков пространственного положения и ускорений осуществляют относительно базовой системы координат после окончательной юстировки конструкции антенны и других протяженных элементов космического аппарата, которую производят в наземных условиях с одновременным контролем геометрии конструкции антенны, панелей солнечных батарей и других протяженных элементов космического аппарата с помощью независимой системы контроля геометрии и в их обезвешенном состоянии, а после выведения на орбиту космического аппарата и раскрытия конструкции антенны, панелей солнечных батарей и других протяженных элементов показания совмещенных датчиков пространственного положения и ускорений сравнивают со значениями, полученными при их наземной настройке, и по их различиям судят о деформации элементов конструкции антенны, панелей солнечных батарей и других протяженных элементов конструкции космического аппарата в процессе эксплуатации, а в случае превышения значений показаний совмещенных датчиков пространственного положения и ускорений, установленных непосредственно в контрольных точках панелей солнечных батарей и других протяженных элементов конструкции космического аппарата, формируют управляющие команды и подают их на исполнительные органы системы виброзащиты, панелей солнечных батарей и других протяженных элементов конструкции космического аппарата, согласованной работой которых организуют подавление их упругих колебаний и корректировку пространственного положения.
Это достигается тем, что в устройстве подавления помех от колебаний упругой конструкции космической трансформируемой антенны в процессе эксплуатации, содержащем систему виброзащиты и наведения антенны в процессе эксплуатации, включающую систему контроля геометрии и ускорений в контрольных точках конструкции антенны и исполнительных органов в виде единичных модулей активной виброизоляции, кинематически связанных в приводное шестиподвижное соединение с возможностью образования, при отключенных исполнительных органах, пространственной переходной фермы между конструкцией антенны и космическим аппаратом и электрически связанные с бортовой высокопроизводительной информационно-измерительной управляющей системой, система контроля геометрии и ускорений выполнена в виде размещенных в контрольных точках на формообразующих элементах конструкций антенны, панелей солнечных батарей и других протяженных элементов космического аппарата, а также на концах единичных модулей активной виброизоляции, совмещенных датчиков пространственного положения и ускорений, представляющих миниатюрные трехосные блоки гироскопов-акселерометров, электрически связанные через аналого-цифровые преобразователи с входами бортовой высокопроизводительной информационно-измерительной управляющей системы и установленные с возможностью обеспечения постоянного оперативного контроля ускорений и соответствующих им отклонений пространственных положений контрольных точек от теоретических в реальном масштабе времени без ухудшения технических характеристик конструкции антенны и космического аппарата, при этом выходы бортовой высокопроизводительной информационно-измерительной управляющей системой через соответствующие усилители мощности электрически связаны с исполнительными органами протяженных элементов конструкции космического аппарата, например приводами поворота панелей солнечных батарей. Причем миниатюрные трехосные блоки гироскопов-акселерометров совмещенных датчиков пространственного положения и ускорений, как вариант исполнения, могут быть выполнены в виде микромеханических вибрационных гироскопов-акселерометров.
На чертежах приведены общий вид и схематическое изображение устройства, реализующего предложенный способ.
На фиг.1 изображена конструкция трансформируемой антенны в составе космического аппарата.
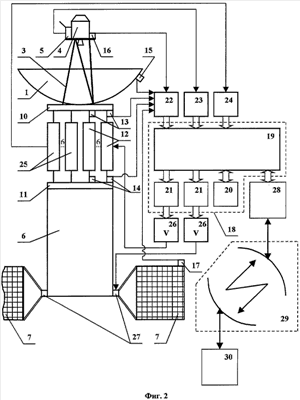
На фиг.2 представлена структурная схема устройства подавления помех от колебаний упругой конструкции космической трансформируемой антенны.
На фиг.3 представлено схематическое изображение смежных единичных модулей активной виброизоляции.
Устройство входит в состав трансформируемой конструкции антенны, установленной на космическом аппарате. При этом трансформируемая конструкция антенны выполнена в виде складного зеркала 1 лепесткового типа (возможно использование зеркала антенны любого типа) с малонаправленными антеннами 2 и опорной системы 3, поддерживающей фокальный блок 4 и звездные датчики 5. Трансформируемая конструкция антенны установлена на несущей конструкции 6 космического. аппарата, содержащего панели солнечных батарей 7 и телеметрическую антенну 8, через переходную ферму 9. Платформа 10 и основание 11 переходной фермы 9 жестко прикреплены к узлам стыковки трансформируемой конструкции антенны и несущей конструкции 6 соответственно. Платформа 10 шарнирно связана с основанием 11 посредством подвески с шестью степенями свободы, выполненной в виде манипулятора, включающего не менее шести единичных модулей активной виброизоляции 12 одинакового конструктивного исполнения и построенного на основе параллельно соединенных приводных кинематических цепей с возможностью образования пространственной фермы (переходной фермы 9) при отключенных исполнительных органах единичных модулей активной виброизоляции 12, являющихся стержнями переходной фермы 9, каждый из которых снабжен приводом линейного перемещения, позволяющего обеспечить ферме шестистепенную подвижность в работающем состоянии и геометрическую неизменяемость – в выключенном. В местах шарнирного закрепления каждого из единичных модулей активной виброизоляции 12 к платформе 10 и основанию 11 установлены соответственно совмещенные датчики пространственного положения и ускорений 13 и 14, выполненные в виде миниатюрных трехосных блоков гироскопов-акселерометров, позволяющих определять относительные перемещения единичных модулей активной виброизоляции 12 и измерять составляющие ускорений, действующих на их продольные оси. В контрольных точках формообразующих элементов конструкции антенны (складное зеркало 1 и опорная система 3) и панелей солнечных батарей 7 установлены соответственно совмещенные датчики пространственного положения и ускорений 15, 16 и 17. Бортовая высокопроизводительная информационно-измерительная управляющая система (БВИИУС) 18 включает нейрокомпьютер 19, программно-алгоритмическое обеспечение 20 и цифроаналоговые преобразователи 21. Входы БВИИУС 18 через шины данных аналого-цифровых преобразователей (АЦП) подключены соответственно к выходам АЦП 22 совмещенных датчиков пространственного положения и ускорений 13-17; АЦП 23 оптических звездных датчиков 5; АЦП 24 датчиков относительной скорости 25, а выходы БВИИУС 18 через шины выходных данных подключены к соответствующим входам последовательно соединенных цифроаналоговых преобразователей (ЦАП) 21, усилителей мощности 26 и исполнительных органов (единичных модулей активной виброизоляции 12 и приводов поворота 27 панелей солнечных батарей 7) и ко входу соединенных последовательно бортовой радиотелеметрической системы (БРТС) 28, радиолинии 29 и наземной приемно-регистрирующей системы 30.
Способ подавления помех от колебаний упругой конструкции космической трансформируемой антенны в процессе эксплуатации реализован следующим образом.
В контрольных точках, которые выполняют для всех формообразующих элементов трансформируемой конструкции антенны и протяженных элементов космического аппарата, включая места шарнирного закрепления каждого из единичных модулей активной виброизоляции 12 к платформе 10 и основанию 11 переходной фермы 9, устанавливают совмещенные датчики пространственного положения и ускорений. Так, например, в контрольных точках единичных модулей активной виброизоляции 12, складного зеркала 1, опорной системы 3 и панелей солнечных батарей 7 устанавливают соответствующие совмещенные датчики пространственного положения и ускорений 13-17, при этом каждую из контрольных точек организуют общей для контроля ее ускорений и отклонений от теоретического положения в пространстве. Совмещенные датчики пространственного положения и ускорений 13-17 устанавливают непосредственно в контрольных точках таким образом, чтобы исключить их влияние на нарушение радиотехнических характеристик трансформируемой конструкции антенны (затенение рабочей поверхности складного зеркала 1, переотражение и рассеивание передаваемых и принимаемых радиоволн и др.) и затенение рабочей поверхности панелей солнечных батарей 7, а также обеспечить стабильность геометрических связей контрольных точек с контролируемыми участками элементов конструкций трансформируемой антенны и космического аппарата.
Взаимную настройку совмещенных датчиков пространственного положения и ускорений 13-17 осуществляют относительно базовой системы координат после окончательной юстировки конструкции трансформируемой антенны, панелей солнечных батарей 7 и других протяженных элементов космического аппарата, которую производят в наземных условиях с одновременным контролем геометрии конструкции антенны, панелей солнечных батарей и других протяженных элементов космического аппарата с помощью независимой системы контроля геометрии и в их обезвешенном состоянии, а также с учетом результатов физического моделирования внешних и внутренних факторов, воздействующих на трансформируемую конструкцию антенны и космический аппарат в процессе их эксплуатации.
После выведения на орбиту космического аппарата и раскрытия складного зеркала 1 трансформируемой антенны, панелей солнечных батарей 7, телеметрической антенны 8 и других протяженных элементов и включения единичных моделей активной виброизоляции 12 в активный режим показания совмещенных датчиков пространственного положения и ускорений сравнивают со значениями, полученными при их наземной настройке, и по их различиям судят о деформациях и упругих колебаниях элементов конструкции трансформируемой антенны (складной зеркало 1, опорная система 3), панелей солнечных батарей 7 и других протяженных элементов, а также о взаимном расположении платформы 10 и основания 11 в процессе эксплуатации и при отклонениях, превышающих допустимые значения, осуществляют выбор одного из следующих режимов (или их комбинаций) управления динамикой трансформируемой конструкции антенны и космического аппарата в масштабе реального времени:
1-й режим – виброизоляция космического аппарата и его протяженных элементов (панели солнечных батарей 7, телеметрическая антенна 8 и др.) при раскрытии трансформируемой конструкции антенны;
2-й режим – виброизоляция конструкции трансформируемой антенны от микродинамических воздействий, вызванных работой систем космического аппарата в процессе эксплуатации;
3-й режим – подавление колебаний конструкции трансформируемой антенны, вызванных ее раскрытием и внешними воздействующими факторами;
4-й режим – подавление колебаний протяженных элементов конструкции космического аппарата, например панелей солнечных батарей, вызванных работой систем космического аппарата в процессе эксплуатации (система терморегулирования приборного контейнера несущей конструкции 6 космического аппарата, приводы поворота панелей солнечных батарей 7 и телеметрической антенны 8, силовые гиродины системы ориентации космического аппарата и др.);
5-й режим – определение отклонений пространственных положений оптической оси трансформируемой антенны и панелей солнечных батарей 7 от теоретических, вызванных деформацией их формообразующих элементов от внешних или внутренних воздействующих факторов (микродинамические воздействия, термодеформации и др.) и, в случае превышения допустимых значений, проведения их юстировки.
При этом ведут непрерывную обработку векторную информацию от звездных датчиков 5, совмещенных датчиков пространственного положения и ускорений 13-17 и датчиков относительной скорости 25, на основании анализа которой в БВИИУС 18 формируют в масштабе реального времени управляющие команды и подают на исполнительные органы (единичные модули активной виброизоляции 12 и приводы поворота 27 панелей солнечных батарей 7. Обработанную информацию от датчиков и научной аппаратуры фокального блока 4 преобразуют в радиосигналы и через БРТС 28 по радиолинии 29 передают в наземную приемно-регистрирующую систему 30 для дальнейшей обработки, анализа и формирования при необходимости управляющих команд и передачи их на космический аппарат для проведения корректировки программ наблюдений.
Применение в БВИИУС 18 нейрокомпьютера 19 с соответствующим программно-алгоритмическим обеспечением 20 позволяет организовать работу по управлению динамикой трансформируемой антенны и космического аппарата в масштабе реального времени.
Устройство для осуществления предложенного способа подавления помех от колебаний упругой конструкции космической трансформируемой антенны в процессе эксплуатации работает следующим образом.
Совмещенные датчики пространственного положения и ускорений 13-17 выполнены в виде идентичных миниатюрных трехосных блоков гироскопов-акселерометров и образуют в совокупности с БВИИУС 18 систему контроля геометрии конструкции трансформируемой антенны и космического аппарата. При этом в системе контроля геометрии отсутствуют подвижные элементы, а контроль может осуществляться непрерывно в масштабе реального времени и одновременно во всех контрольных точках.
Совмещенные датчики пространственного положения и ускорений 13, 14 измеряют виброускорения соответственно платформы 10 и основания 11 в местах установки шарнирных узлов вдоль осей единичных модулей активной виброизоляции 12 и их относительные перемещения, а датчики относительной скорости 25 (наблюдатели состояний) регистрируют относительные скорости единичных модулей активной виброизоляции 12. Совмещенные датчики пространственного положения и ускорений 15, 16, 17 13, установленные непосредственно в контрольных точках на формообразующих элементах конструкций соответственно складного зеркала 1, опорной системы 16 и панелей солнечных батарей, измеряют виброускорения контрольных точек и их перемещения в пространстве. На фокальном блоке 4 в непосредственной близости от фокуса зеркала антенны размещены совмещенный датчик пространственного положения и ускорений 16 и оптические звездные датчики 5, оптические оси которых выставлены параллельно оптической оси зеркала трансформируемой антенны. Работа устройства в каждом из приведенных выше режимов осуществляется следующим образом.
1-й режим – виброизоляция космического аппарата и его протяженных элементов (панели солнечных батарей 7 и др.) при раскрытии трансформируемой конструкции антенны. Здесь от совмещенных датчиков пространственного положения и ускорений 14, 17 и датчиков относительных скоростей 25 БВИИУС 18 осуществляет управление по обратным связям (основной алгоритм управления), а от совмещенных датчиков пространственного положения и ускорений 13 на это основное управление накладывается дополнительный сигнал управления, называемый инвариантным, суть которого состоит в том, что он делает ускорения, измеряемые совмещенными датчиками пространственного положения и ускорений 14, равными нулю, т.е. как бы основание. 11 становится неподвижным в инерциальном пространстве (это утверждение справедливо только для области низких частот, которые пропускают приводы линейного перемещения единичных модулей активной виброизоляции 12). В то же время, если на платформе 10 зафиксированы большие ускорения, то относительное положение шарнирных узлов единичных модулей активной виброизоляции 12 может выйти за допустимые пределы перемещений. Для предотвращения этой ситуации, когда перемещение достигло предельно допустимой величины, включается другой алгоритм управления, заключающийся в следующем. Сигналы от совмещенных датчиков пространственного положения и ускорений 13 отключаются и система управляется по обратным связям от совмещенных датчиков пространственного положения и ускорений 14. Это происходит до тех пор, пока относительные перемещения не достигнут величин, меньших допустимых значений, после чего включается основной алгоритм управления.
Во 2-м режиме, когда, наоборот, осуществляется виброизоляция конструкции трансформируемой антенны от микродинамических воздействий, вызванных работой систем космического аппарата в процессе эксплуатации (система терморегулирования приборного контейнера несущей конструкции 6 космического аппарата, приводы поворота панелей солнечных батарей 7 и телеметрической антенны 8, силовые гиродины системы ориентации космического аппарата и др.), управление осуществляется аналогично, с той лишь разницей, что совмещенные датчики пространственного положения и ускорений 14 и 13 меняются в управлении ролями, т.е. управление по обратным связям ведется от совмещенных датчиков пространственного положения и ускорений 13 и датчиков относительной скорости 25.
В 3-м режиме осуществляется подавление колебаний трансформируемой конструкции антенны, вызванных раскрытием антенны и внешними факторами (работа системы терморегулирования фокального блока 4, аэродинамическое сопротивление космической среды и др.). Здесь в контур управления по обратным связям помимо совмещенных датчиков пространственного положения и ускорений 14 и 13 и датчиков относительной скорости 25 дополнительно включены совмещенные датчики пространственного положения и ускорений 15 и 16, предельно допустимые значения показаний которых (с точки зрения обеспечения требуемой геометрической точности трансформируемой конструкции антенны) определяются при физическом моделировании в процессе наземной отработки, когда устанавливается связь между показаниями совмещенных датчиков пространственного положения и ускорений 15, 16 и изменением геометрических параметров трансформируемой конструкции антенны, определяемых при воздействии внешних факторов с помощью системы контроля геометрии в виде совокупности совмещенных датчиков пространственного положения и ускорений 15, 16, установленных непосредственно в контрольных точках на формообразующих элементах конструкции трансформируемой антенны и через АЦП 22 электрически связанных с БВИИУС 18.
В 4-м режиме осуществляется подавление колебаний протяженных элементов конструкции космического аппарата, например панелей солнечных батарей, вызванных работой систем космического аппарата в процессе эксплуатации (система терморегулирования приборного контейнера несущей конструкции 6 космического аппарата, приводы поворота панелей солнечных батарей 7 и телеметрической антенны 8, силовые гиродины системы ориентации космического аппарата и др.). Здесь в контур управления по обратным связям помимо совмещенных датчиков пространственного положения и ускорений 14 и 13 и датчиков относительной скорости 25 дополнительно включены совмещенные датчики пространственного положения и ускорений 17, предельно допустимые значения показаний которых (с точки зрения обеспечения требуемой геометрической точности панелей солнечных батарей) определяются при физическом моделировании в процессе наземной отработки, когда устанавливается связь между показаниями совмещенных датчиков пространственного положения и ускорений 17 и изменением геометрических параметров панелей солнечных батарей 7 в пространстве, определяемых при воздействии внешних факторов с помощью системы контроля геометрии в виде совокупности совмещенных датчиков пространственного положения и ускорений 17, установленных непосредственно в контрольных точках на формообразующих элементах конструкций панелей солнейчных батарей 7 и через АЦП 22 электрически связанных с БВИИУС 18.
В 5-м режиме осуществляется непрерывный контроль отклонений пространственных положений оптической оси трансформируемой антенны и панелей солнечных батарей 7 от теоретических вызванных деформацией их формообразующих элементов от внешних или внутренних воздействующих факторов (микродинамические воздействия, термодеформации и др.) и, в случае превышения допустимых значений, производится их юстировка. Здесь контроль геометрии конструкции трансформируемой антенны осуществляется по совокупности показаний от совмещенных датчиков пространственного положения м ускорений 15, 16, установленных непосредственно в контрольных точках на формообразующих элементах конструкции трансформируемой антенны, и, в случае отклонения геометрии рабочей поверхности складного зеркала 1 от теоретической выше допустимого значения, вызванного, например, термодеформациями или технологическими погрешностями складного зеркала 1 после его раскрытия, БВИИУС 18 определяет геометрические параметры складного зеркала 1 и опорной системы 3 и на их основании положение фактической оптической оси, полученного нового (фактического) параболоида зеркала трансформируемой конструкции антенны и подает команды на исполнительные органы – линейные приводы единичных модулей единичных модулей активной виброизоляции 12. В результате согласованного изменения длин единичных модулей активной виброизоляции 12, определяемых по показаниям совмещенных датчиков пространственного положения и ускорений 13, 14 и рассчитанных с учетом показаний звездных датчиков 5, осуществляется юстировка (наведение) фактической оси зеркала антенны на наблюдаемый объект. При этом обработка векторной информации от датчиков и формирование в БВИИУС 18 управляющих команд ведется в реальном масштабе времени. Юстировка панелей солнечных батарей 7 осуществляется путем корректировки их ориентации на Солнце. Здесь контроль ориентации рабочих поверхностей панелей солнечных батарей 7 на Солнце осуществляется по показаниям от совмещенных датчиков пространственного положения м ускорений 17, установленных непосредственно в контрольных точках на формообразующих элементах конструкции панелей солнечных батарей 7, и, в случае отклонения их пространственного положения от теоретического выше допустимого значения в БВИИУС 18, формируются управляющие команды, которые через ЦАП 21 и усилители мощности 26 подаются на исполнительные органы – приводы поворота 27 панелей солнечных батарей 7. При этом корректировка ориентации рабочих поверхностей панелей солнечных батарей 7 на Солнце осуществляется в реальном масштабе времени.
Получая в процессе эксплуатации антенны от совмещенных датчиков пространственного положения и ускорений 13, 14 непрерывную информацию об изменении углов , , между осями смежных единичных модулей активной виброизоляции 12 (фиг.3), проходящих через центры вращения шарнирных узлов (А, В, С) их крепления к платформе 10 и основанию 11, и зная расстояние l (равное отрезку С-В), которое в процессе эксплуатации антенны в составе космического аппарата остается неизменным, можно из треугольника АВС по теореме синусов определить искомые изменения длин смежных единичных модулей активной виброизоляции 12 АВ и AC (AB=lsin /sin , AC=lsin /sin ) и аналогично остальных. Таким образом, совмещенные датчики пространственного положения и ускорений 13, 14, выполненные в виде миниатюрных трехосных блоков гирокопов-акселерометров, установленных на шарнирных концах смежных единичных модулях активной виброизоляции 12, могут быть применены в качестве датчиков их относительных перемещений, возникающих при управлении пространственным положением шестиподвижной фермы 9 в процессе эксплуатации антенны и космического аппарата. При этом в результате отсутствия в совмещенных датчиках пространственного положения и ускорений 13 и 14 подвижных электрических контактов и связанных с ними подвижных элементов, соединяющих концы единичных модулей активной виброизоляции 12, упрощается конструкция и повышается надежность их функционирования, а также снижаются их массогабаритные характеристики.
Во всех приведенных режимах сигналы от совмещенных датчиков пространственного положения и ускорений 13-17 поступают через соответствующие АЦП 22, а от звездных датчиков 5 и датчиков относительной скорости 25 – соответственно через АЦП 23 и 24, в цифровом виде в БВИИУС 18, в которой с помощью нейрокомпьютера 19 и программно-алгоритмического обеспечения 20 осуществляются обработка поступающей информации и формирование управляющих команд в реальном масштабе времени, которые через соответствующие ЦАП 21 и усилители мощности 26 поступают на исполнительные органы единичных модулей активной виброизоляции 12 и приводы поворота 27 панелей солнечных батарей 7, а также через шину выходных данных предварительно обработанные и сжатые потоки информации через бортовую радиотелеметрическую систему 28 и радиолинию 29 поступают в наземную приемно-регистрирующую систему 30, в которой операторами-исследователями производится их дальнейшая обработка и анализ полученных результатов и при необходимости корректируется программа проведения наблюдений за объектами исследований, которая в обратном порядке через радиолинию 29 и бортовую радиотелеметрическую систему 28 передается в БВИИУС 18 для выполнения.
Приведенные способ и устройство могут быть реализованы на базе имеющихся на сегодняшний день разработок и функционирующих устройств. Так, известен «Способ подавления помех от колебаний упругой конструкции космической трансформируемой антенны в процессе эксплуатации и устройство для его осуществления» (Патент на изобретение РФ №2161109, МПК B64G 1/00, 1/22, 3/00, заявлено 10.09.1999; опубл. 27.12.2000, Бюл. №36), в описании которого представлены данные сведения.
Сведения о возможности реализации совмещенных датчиков пространственного положения и ускорений, представляющих миниатюрные трехосные блоки гироскопов-акселерометров выполненные, например, в виде микромеханических вибрационных гироскопов-акселерометров, представлены в описании патента РФ №2064682 «Микромеханический вибрационный гироскоп-акселерометр», МПК G01P 15/-97, заявлено 28.09.1993; опубл. 27.07.1996, Бюл. №21.
Предлагаемые способ подавления помех от колебаний упругой конструкции космической трансформируемой антенны и устройство для его осуществления позволят повысить надежность и эффективность функционирования трансформируемой конструкции антенны и космического аппарата за счет уменьшения количества подвижных элементов в устройстве и повышения качества и достоверности информации от системы контроля геометрии и, как следствие, повышения качества управления трансформируемой антенной и панелями солнечных батарей космического аппарата в процессе их эксплуатации. Предлагаемая в способе и устройстве система контроля геометрии позволяет осуществлять контроль геометрии участков конструкций недоступных для контроля другими средствами и может быть эффективно применена и в других протяженных конструкциях, раскрываемых или собираемых на орбите, например различных штангах и трансформируемых фермах с выносимой на них научной аппаратурой, а также в крупногабаритных космических платформах различного назначения.
Формула изобретения
1. Способ подавления помех от колебаний упругой конструкции космической трансформируемой антенны в процессе эксплуатации, заключающийся в том, что в контрольных точках на конструкции осуществляют контроль ускорений и соответствующих им отклонений геометрических параметров антенны от теоретических и, в случае превышения их значений, формируют управляющие команды и подают их на исполнительные органы системы виброзащиты и наведения конструкции антенны, отличающийся тем, что контроль ускорений и соответствующих им отклонений геометрических параметров от теоретических в контрольных точках осуществляют непрерывно в реальном масштабе времени, а контрольные точки выполняют для всех формообразующих элементов конструкции антенны, панелей солнечных батарей и других протяженных элементов космического аппарата и каждую из них организуют общей для контроля ускорений и отклонений геометрических параметров конструкции антенны, панелей солнечных батарей и других протяженных элементов космического аппарата и располагают в местах, исключающих нарушение радиотехнических характеристик конструкции антенны, затенение рабочей поверхности панелей солнечных батарей и геометрических связей с их контролируемыми участками и непосредственно в них устанавливают совмещенные датчики пространственного положения и ускорений и по их показаниям судят о величинах ускорений контрольных точек и отклонений их пространственных положений от теоретических значений, при этом взаимную настройку совмещенных датчиков пространственного положения и ускорений осуществляют относительно базовой системы координат после окончательной юстировки конструкции антенны и других протяженных элементов космического аппарата, которую производят в наземных условиях с одновременным контролем геометрии конструкции антенны, панелей солнечных батарей и других протяженных элементов космического аппарата с помощью независимой системы контроля геометрии и в их обезвешенном состоянии, а после выведения на орбиту космического аппарата и раскрытия конструкции антенны, панелей солнечных батарей и других протяженных элементов показания совмещенных датчиков пространственного положения и ускорений сравнивают со значениями, полученными при их наземной настройке, и по их различиям судят о деформации элементов конструкции антенны, панелей солнечных батарей и других протяженных элементов конструкции космического аппарата в процессе эксплуатации, а в случае превышения значений показаний совмещенных датчиков пространственного положения и ускорений, установленных непосредственно в контрольных точках панелей солнечных батарей и других протяженных элементов конструкции космического аппарата, формируют управляющие команды и подают их на исполнительные органы системы виброзащиты, панелей солнечных батарей и других протяженных элементов конструкции космического аппарата, согласованной работой которых организуют подавление их упругих колебаний и корректировку пространственного положения.
2. Устройство подавления помех от колебаний упругой конструкции космической трансформируемой антенны в процессе эксплуатации, содержащее систему виброзащиты и наведения антенны в процессе эксплуатации, включающую систему контроля геометрии и ускорений в контрольных точках конструкции антенны и исполнительных органов в виде единичных модулей активной виброизоляции, кинематически связанных в приводное шестиподвижное соединение с возможностью образования при отключенных исполнительных органах пространственной переходной фермы между конструкцией антенны и космическим аппаратом и электрически связанные с бортовой высокопроизводительной информационно-измерительной управляющей системой, отличающееся тем, что система контроля геометрии и ускорений выполнена в виде размещенных в контрольных точках на формообразующих элементах конструкций антенны, панелей солнечных батарей и других протяженных элементов космического аппарата, а также на концах единичных модулей активной виброизоляции, совмещенных датчиков пространственного положения и ускорений, представляющих миниатюрные трехосные блоки гироскопов-акселерометров, электрически связанные через аналого-цифровые преобразователи с бортовой высокопроизводительной информационно-измерительной управляющей системой и установленные с возможностью обеспечения постоянного оперативного контроля ускорений и соответствующих им отклонений пространственных положений контрольных точек от теоретических в реальном масштабе времени без ухудшения их технических характеристик конструкции антенны и космического аппарата, при этом бортовая высокопроизводительная информационно-измерительная управляющая система через соответствующие усилители мощности электрически связана с исполнительными органами протяженных элементов конструкции космического аппарата, например, приводами поворота панелей солнечных батарей.
3. Устройство по п.2, отличающееся тем, что миниатюрные трехосные блоки гироскопов-акселерометров совмещенных датчиков пространственного положения и ускорений выполнены в виде микромеханических вибрационных гироскопов-акселерометров.
РИСУНКИ
|
|