|
| На основании пункта 3 статьи 13 Патентного закона Российской Федерации от 23 сентября 1992 г. № 3517-I патентообладатель обязуется передать исключительное право на изобретение (уступить патент) на условиях, соответствующих установившейся практике, лицу, первому изъявившему такое желание и уведомившему об этом патентообладателя и федеральный орган исполнительной власти по интеллектуальной собственности, – гражданину РФ или российскому юридическому лицу. |
|
(21), (22) Заявка: 2006120889/11, 13.06.2006
(24) Дата начала отсчета срока действия патента:
13.06.2006
(46) Опубликовано: 27.04.2008
(56) Список документов, цитированных в отчете о поиске:
RU 2272916 C2, 27.03.3006. SU 1521284 A3, 07.11.1989. GB 1341952, 25.12.1973. US 5758802, 02.06.1998.
Адрес для переписки:
443112, г.Самара, ул. Крайняя, 18, кв. 17, Н.Б. Болотину
|
(72) Автор(ы):
Болотин Николай Борисович (RU)
(73) Патентообладатель(и):
Болотин Николай Борисович (RU)
|
(54) СИЛОВАЯ УСТАНОВКА ЛОКОМОТИВА С ЗАМКНУТОЙ СИСТЕМОЙ ОХЛАЖДЕНИЯ ТУРБИНЫ
(57) Реферат:
Изобретение относится к железнодорожному транспорту. Силовая установка локомотива с замкнутой системой охлаждения турбины содержит газотурбинный двигатель с компрессором, камерой сгорания и турбиной, соединенной газовым трактом со свободной турбиной, за которой установлен регенеративный теплообменник, выход из которого соединен с газотурбинным двигателем. Выход из регенеративного теплообменника соединен через систему охлаждения соплового аппарата турбины с емкостью для жидкого натрия. Воздушная система охлаждения рабочего колеса турбины содержит трубопровод подвода воздуха из-за компрессора, дефлектора на диске турбины и выполнена в виде последовательно соединенных внутренних полостей рабочих лопаток турбины и перфорации на рабочих лопатках турбины бандажных полок и щелевых отверстий на выходных кромках. Технический результат заключается в повышении КПД и надежности силовой установки локомотива. 1 з.п. ф-лы, 2 ил.
Изобретение относится к железнодорожному транспорту, конкретно к силовым установкам локомотива, выполненным на базе газотурбинного двигателя (турбопоезда или газотурбовоза).
Работы по созданию газотурбовоза проведены в СССР и за рубежом. В Западной Европе наиболее интенсивные работы по газотурбовозам были развернуты во Франции.
Известна силовая установка по патенту РФ на изобретение №2137617, эта установка имеет жидкостную систему охлаждения и вентилятор для создания потока охлаждающего воздуха.
Известна силовая установка по патенту РФ №2189477, которая содержит газотурбинный двигатель – ГТД, газовый тракт, соединяющий этот газотурбинный двигатель со свободной турбиной, и нагрузку в виде электрогенератора, вал которого подсоединен к валу свободной турбины через муфту.
Недостатком этой силовой установки является то, что она имеет низкий КПД около 20%, что почти в 2 раза меньше, чем у современных дизельных установок.
Известна силовая установка газотурбовоза по патенту РФ №2272916 (прототип), которая содержит газотурбинный двигатель с турбиной и свободную турбину, за которой установлен регенеративный теплообменник, выход из которого соединен с газотурбинным двигателем, конкретно – с системой охлаждения турбины.
Недостатком этого двигателя является низкий КПД силовой установки из-за того, что подача пара на вход в турбину резко уменьшает температуру продуктов сгорания, проходящих через нее, и тем самым снижает КПД турбины и силовой установки в целом. Если же компенсировать снижение температуры газа перед турбиной увеличением расхода топлива, это приведет к дефектам в виде прогара сопловых и рабочих лопаток турбины. Кроме того, длительное пропускание большого расхода воды через систему охлаждения турбины приводит к отложению накипи в системе охлаждения турбины и ухудшению охлаждения. Применение дистиллированной воды невозможно по техническим и экономическим соображениям.
Задача создания изобретения: повышение экономичности силовой установки и надежности турбины.
Решение указанной задачи достигнуто за счет того, что силовая установка локомотива с замкнутой системой охлаждения турбины, содержащая газотурбинный двигатель с компрессором, камерой сгорания и турбиной, соединенной газовым трактом со свободной турбиной, за которой установлен регенеративный теплообменник, выход из которого соединен с газотурбинным двигателем, отличается тем, что выход из регенеративного теплообменника соединен через систему охлаждения соплового аппарата турбины с емкостью для жидкого натрия. Воздушная система охлаждения рабочего колеса турбины содержит трубопровод подвода воздуха из-за компрессора, дефлектора на диске турбины и выполнена в виде последовательно соединенных внутренних полостей рабочих лопаток турбины и перфорации на рабочих лопатках турбины бандажных полок и щелевых отверстий на выходных кромках.
Предложенное техническое решение обладает новизной, изобретательским уровнем и промышленной применимостью, что подтверждается проведенными патентными исследованиями. Для реализации изобретения достаточно применения известных узлов и деталей, ранее разработанных и реализованных в конструкции газотурбинных двигателей и в машиностроении.
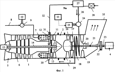
Сущность изобретения поясняется на фиг.1 и 2, где
– на фиг.1 приведена схема силовой установки локомотива,
– на фиг.2 – схема охлаждения турбины.
Предложенное техническое решение содержит газотурбинный двигатель ГТД 1 и подсоединенную газовым трактом 2 свободную турбину 3, к которой присоединен электрогенератор 4 (фиг.1).
ГТД 1 содержит воздухозаборное устройство 5, компрессор 6, камеру сгорания 7, систему топливоподачи 8 с топливным насосом 9 и приводом топливного насоса 10, турбину 11. Турбина 11 содержит сопловой аппарат турбины 12 и рабочее колесо турбины 13. Рабочее колесо турбины 13 установлено на валу ГТД 14, на конце вала ГТД 14 установлен датчик оборотов ГТД 15. Свободная турбина 3 содержит сопловой аппарат свободной турбины 16, рабочее колесо свободной турбины 17. За рабочим колесом свободной турбины 17 установлен регенеративный теплообменник 18. Далее установлены задняя опора 19 с подшипником 20, в котором установлен вал свободной турбины 21, к которому подсоединен через муфту 22, вал нагрузки 23 с электрогенератором 4.
В системе регенерации перед регенеративным теплообменником 18 установлен насос 24 с приводом насоса 25, при этом магистраль подачи жидкого натрия 26 соединяет регенеративный теплообменник 18 с емкостью для жидкого натрия 27. Емкость для жидкого натрия 27 содержит заправочный клапан 28. При этом система регенерации тепла замкнута, и емкость для жидкого натрия 27 предназначена для хранения запаса жидкого натрия. Выход из регенеративного теплообменника 18 соединен со входом в систему охлаждения соплового аппарата турбины трубопроводом 29, подсоединенным к входному коллектору 30. К выходному коллектору 31 подсоединен выходной трубопровод 32, выход которого соединен с баком для жидкого натрия 27.
Газотурбинный двигатель 1 оборудован стартером (на фиг.1 не показан). Привода 10 и 25 соединены электрическими связями с блоком управления 33. Блок управления 33 также соединен с датчиком оборотов ГТД 15. Силовая установка имеет выхлопное устройство 35.
Турбина 11 содержит сопловой аппарат 12, трубки подвода воздуха 34, форсунки 35. Рабочее колесо турбины 13 содержит рабочие лопатки турбины 36, диск 37, дефлектор 38. Турбина 11 содержит корпус 39. На бандажных полках 41 рабочих лопаток турбины 40 выполнены уплотнения 41.
При работе при помощи стартера запускается ГТД 1, при этом подается сигнал с блока управления 33 на привода 10 и 25, топливный насос 9 подает топливо в камеру сгорания 7. Выхлопные газы, проходя газовый тракт, поступают сначала на турбину ГТД 11, а потом в свободную турбину 3. Рабочее колесо свободной турбины 17 с валом свободной турбины 21 раскручиваются. Крутящий момент через муфту 22 передается на вал нагрузки 23 и далее на электрогенератор 4. С электрогенератора 4 электрическая энергия подается на электродвигатели, связанные с колесными парами локомотива (на фиг.1 и 2 не показано).
После запуска двигателя, который контролирует блок управления 33 по сигналу с датчика оборотов ГТД 15, блок управления 33 дает команду на включение привода насоса 25, который раскручивает насос 24, и вода по трубопроводу подачи воды 26 подается в регенеративный теплообменник 18, где подогревается, тем самым тепло регенерируется в цикл работы силовой установки. По трубопроводу 29 подогретый жидкий натрий подается (фиг.2) в полости А соплового аппарата турбины 12, потом по радиальным трубкам 34 через форсунки 35 под дефлектор 38 в зазор Б, далее в отверстия В, потом в полости Г рабочих лопаток турбины 36, потом через отверстия Д и отверстия Е – в коллектор 3, потом по трубопроводу 32 в емкость для жидкого натрия 27. Далее жидкий натрий повторно возвращается в цикл рециркуляции. КПД силовой установки возрастает более чем в 2 раза, а именно с 20% без теплообменника до 45…50% при использовании схемы регенерации тепла с применением жидкого натрия. Отсутствие воды в схеме охлаждения турбины и применение жидкого натрия позволит предотвратить отложение накипи в системе охлаждения турбины 11.
Применение изобретения позволило
1. Более чем в 2 раза повысит КПД силовой установки за счет применения регенерации тепла и замкнутой схемы рециркуляции натрия.
2. Улучшить надежность силовой установки и, в первую очередь, турбины за счет ее эффективного охлаждения.
3. Отказаться от применения воды.
4. Предотвратить отложение накипи в системе охлаждения турбины.
Формула изобретения
1. Силовая установка локомотива с замкнутой системой охлаждения турбины, содержащая газотурбинный двигатель с компрессором, камерой сгорания и турбиной, соединенной газовым трактом со свободной турбиной, за которой установлен регенеративный теплообменник, отличающаяся тем, что выход из регенеративного теплообменника соединен через систему охлаждения соплового аппарата турбины с емкостью для жидкого натрия.
2. Силовая установка локомотива по п.1, отличающаяся тем, что воздушная система охлаждения рабочего колеса турбины содержит трубопровод подвода воздуха из компрессора, дефлектор на диске турбины, причем рабочие лопатки турбины выполнены с внутренними рабочими полостями и с перфорациями и снабжены бандажными полками со щелевыми отверстиями на выходных кромках.
РИСУНКИ
|
|