|
|
(21), (22) Заявка: 2006133233/11, 15.09.2006
(24) Дата начала отсчета срока действия патента:
15.09.2006
(46) Опубликовано: 27.04.2008
(56) Список документов, цитированных в отчете о поиске:
RU 2025304 С1, 30.12.1994. SU 1146217 А, 23.03.1985. DE 102004051452 А1, 27.04.2006.
Адрес для переписки:
625000, г.Тюмень, ул. Володарского, 38, ТюмГНГУ, патентно-информационный отдел
|
(72) Автор(ы):
Некрасов Владимир Иванович (RU)
(73) Патентообладатель(и):
Государственное образовательное учреждение высшего профессионального образования “Тюменский государственный нефтегазовый университет” (RU)
|
(54) ВОСЬМИСТУПЕНЧАТАЯ НЕСООСНАЯ ВАЛЬНОПЛАНЕТАРНАЯ КОРОБКА ПЕРЕДАЧ
(57) Реферат:
Изобретение относится к области автотранспортного машиностроения и может использоваться в транспортных средствах и приводах навесного оборудования специальных транспортных средств. Муфта переключения входного вала коробки передач вынесена за редукторную часть. На вторичном валу свободно установлен блок из двух шестерней и одна шестерня закреплена, между ними расположена муфта переключения, которая ползуном взаимосвязана с другой муфтой, расположенной между шестернями первичного вала. Зубчатый венец вала водила двухпозиционный, зубчатый венец выходного вала трехпозиционный. Муфта переключения на этом венце имеет три внутренних зубчатых венца. На ползуне муфты переключения жестко закреплен зубчатый венец с внутренним и внешним зацеплением, внешнее зацепление которого связано с трехпозиционным зубчатым венцом корпуса агрегата. Это позволяет расширить эксплуатационные возможности транспортного средства и снизить металлоемкости агрегата. 2 ил.
Изобретение относится к транспортному машиностроению, в частности к трансмиссии транспортных машин.
Известны агрегаты трансмиссии со ступенчатым изменением передаточных чисел, содержащие шестерни, валы, опоры, устройства переключения передач, применяемые на отечественных и зарубежных автомобилях (Автомобили: Конструкция, конструирование и расчет. Трансмиссия. / Под ред. А.И.Гришкевича. Мн.: Выш. шк., 1985. – 240 с.).
Эти агрегаты конструктивно сложны, металлоемки.
Наиболее близкой к предлагаемой коробке передач (КП) является КП по патенту RU 2025304 С1 (Бюл. №24 от 30.12.1994).
Коробка передач содержит корпус агрегата, в котором расположены двухвальный несоосный редуктор с двумя парами взаимозацепленных шестерен внешнего зацепления, шестерни на валах редуктора установлены свободно, между шестернями первичного вала расположена муфта переключения передач, шестерни на вторичном валу объединены в блок, на боковых сторонах блока установлены муфты переключения, на выходе двухвального редуктора расположен простой трехзвенный планетарный механизм с водилом, сателлитами, солнечной шестерней и эпициклическим колесом, вторичный вал редуктора с закрепленной на нем солнечной шестерней, трубчатые валы эпициклического колеса и водила, а также выходной вал агрегата расположены соосно, со стороны двухвального редуктора корпус агрегата, трубчатые валы корпуса эпициклического колеса и водила имеют рядом расположенные зубчатые венцы и муфту переключения, с другой стороны трубчатые валы корпуса эпициклического колеса и водила, вторичный вал редуктора и солнечной шестерни, а также выходной вал агрегата имеют рядом расположенные зубчатые венцы, на зубчатом венце выходного вала агрегата установлена муфта переключения, которая имеет два внутренних зубчатых венца.
Описанная КП проще типовых конструкций трансмиссионных агрегатов, приведенных в книге, обеспечивает достаточный диапазон передаточных чисел (отношение передаточных чисел низшей передачи к высшей), но имеет ограниченные эксплуатационные возможности из-за неоптимального (неравномерного) распределения передаточных чисел по диапазону, требует применения зубчатой пары с большим передаточным числом, что увеличивает габариты и металлоемкость агрегата, наличие нескольких трубчатых коаксиальных валов с каждой стороны планетарного механизма (ПМ) усложняет конструкцию агрегата и требует применения пяти муфт и ползунов переключения (пятиходовая КП).
Задача, на решение которой направлено заявляемое изобретение, заключается в расширении эксплуатационных возможностей транспортного средства за счет оптимального распределения передач по диапазону при упрощении процесса переключения передач, конструкции и снижении металлоемкости трансмиссионного агрегата.
Поставленная задача решается за счет достижения технического результата, который заключается в оптимизации распределения передаточных чисел диапазона при равных интервалах между передачами, снижении его габаритов и металлоемкости, усовершенствовании механизма переключения передач планетарного механизма.
Указанный технический результат достигается тем, что восьмиступенчатая несоосная вальнопланетарная коробка передач, содержащая корпус, в котором параллельно первичному валу соосно расположены валы вторичный, водила и выходной, на первичном и вторичном валах установлены попарно зацепленные шестерни внешнего зацепления, на вторичном валу две шестерни объединены в блок и закреплена солнечная шестерня простого трехзвенного планетарного механизма, водило и корпус эпициклического колеса имеют зубчатые венцы, расположенные рядом с зубчатым венцом корпуса, трубчатый вал корпуса эпициклического колеса, вал водила и выходной вал также имеют рядом расположенные зубчатые венцы, на зубчатом венце выходного вала установлена трехпозиционная муфта переключения, входной вал с зубчатым венцом и установленной на нем муфтой переключения расположен соосно первичному валу, на котором закреплен зубчатый венец, рядом с ним установлен зубчатый венец трубчатого вала, на котором закреплена шестерня, зацепленная с шестерней блока шестерен вторичного вала, вторая шестерня блока зацеплена с шестерней, закрепленной на первичном валу, рядом с ней свободно установлена шестерня, зацепленная с шестерней, закрепленной на вторичном валу, на блоке шестерен расположена односторонняя муфта переключения, взаимосвязанная вилкой переключения с другой противоположно – развернутой муфтой, установленной на зубчатом венце шестерни первичного вала, зубчатый венец вала водила двухпозиционный, муфта переключения на зубчатом венце выходного вала имеет три внутренних зубчатых венца, на ползуне муфты переключения жестко закреплен зубчатый венец с внутренним и внешним зацеплением, внешнее зацепление которого связано с трехпозиционным зубчатым венцом корпуса.
Одна из зубчатых пар двухвального редуктора прототипа должна была обеспечивать большую величину передаточного числа, увеличивала его габариты и металлоемкость за счет роста межосевого расстояния. Планетарный механизм (ПМ) коробки передач обеспечивал пять режимов работы, что нарушало равномерное распределение передач по диапазону и усложняло конструкцию механизма переключения передач (пятиходовая КП), для переключения передач ПМ требовалось четыре муфты и несколько трубчатых валов для соединения звеньев ПМ с зубчатыми венцами для муфт переключения, две муфты переключения между вальным редуктором и ПМ увеличивали габариты и металлоемкость агрегата.
Предлагаемое техническое решение позволяет снизить габариты и металлоемкость агрегата за счет снижения межосевого расстояния двухвального редуктора при уменьшении величины передаточного числа пар шестерен, уменьшить длину редукторной части агрегата с зубчатыми передачами за счет выделения муфты переключения на входе в агрегат, исключения из конструкции двух муфт переключения между двухвальным редуктором и ПМ, а также двух трубчатых валов водила, упростить механизм переключения передач за счет применения для остановки звеньев ПМ зубчатого венца с внутренним и внешним зацеплением вместо муфты переключения и реализовать три режима работы ПМ с оптимальным режимом переключения передач: I – Uh ab=-К; II – Ub ah=К+1; III – U(bh)=1 при установке двухпозиционного зубчатого венца вала водила и трехпозиционного зубчатого венца выходного вала, муфты управления работой ПМ переключаются одним ползуном, что в целом существенно упрощает переключение передач – КП стала трехходовой вместо пятиходовой.
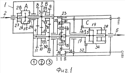
На фиг.1 изображена схема КП, в нижней части приведены номера пар шестерен; на фиг.2 – лучевая диаграмма и таблицы положения муфт переключения на различных передачах переднего хода.
Вертикальный луч соответствует передаточному числу, равному единице. Чем больше наклон луча, тем выше величина передаточного числа. В логарифмическом масштабе наклон луча постоянный на любом участке лучевой диаграммы. Лучи пар шестерен внешнего зацепления обозначены 1, 2 и 3; а лучи, характеризующие режимы работы планетарного механизма, – U=1,0; Ub ah и Uh ab.
При изменении параметров шестерен внешнего зацепления и ПМ распределение передач и наклон лучей изменятся.
В опорах корпуса агрегата 1 соосно расположены входной вал агрегата 2, первичный вал 3, параллельно им установлены вторичный вал 4, вал водила 5 и выходной вал 6. На первичном валу 3 закреплена шестерня 7, с обеих сторон от нее свободно установлены шестерни 8 и 9. Эти шестерни зацеплены с шестернями внешнего зацепления 10, 11 и 12, шестерни 10 и 11 объединены в блок и свободно установлены на вторичном валу 4, а шестерня 12 закреплена на нем. На выходе вторичного вала 4 закреплена солнечная шестерня 13 планетарного механизма, которая зацеплена с сателлитами 14, установленными на осях водила 15 и зацепленными с эпициклическим колесом 16. Трубчатым валом 17 корпус эпициклического колеса 16 соединен с зубчатым венцом 18. На валу водила 5 рядом с зубчатым венцом 18 закреплен двухпозиционный зубчатый венец 19. На выходном валу 6 рядом с зубчатыми венцами 18 и 19 закреплен трехпозиционный зубчатый венец 20. На наружной поверхности корпуса эпициклического колеса 16 расположен зубчатый венец 21. Рядом с зубчатым венцом 21 расположен зубчатый венец 22 водила 15. Трехпозиционный зубчатый венец 23 закреплен на корпусе агрегата 1 напротив зубчатых венцов 21 и 22. На трубчатом валу 24 закреплены шестерня 8 и зубчатый венец 25. Рядом с ним на первичном валу 3 закреплен зубчатый венец 26. На зубчатом венце 27, который закреплен на входном валу 2, расположена муфта переключения 28 (А). Сдвоенная муфта (В) состоит из двух односторонних противоположно – развернутых муфт: муфта 29 установлена на ступице шестерни 9, а муфта 30 – на ступице шестерни 10, муфты соединены вилкой переключения 31. Ползун 32 жестко соединен с зубчатым венцом 33, который имеет внешнее и внутреннее зацепления, и подвижно с муфтой (С) 34, которая расположена на зубчатом венце 20 выходного вала 6.
Работа КП осуществляется следующим образом:
Нейтральное состояние (КП не работает) обеспечивается муфтой А (28) в среднем, нейтральном положении.
Первая передача
Муфта переключения А (28) находится в правом положении (П), а муфта В (29 и 30) находится в левом положении (Л) – (см. фиг.2 таблица вверху справа), муфта переключения С (34) – в среднем положении (II). В этом случае (см. фиг.1) муфта А соединяет зубчатый венец 27 входного вала агрегата 2 с зубчатым венцом 25 трубчатого вала 24 шестерни 8, муфта В муфтой 29 соединяет шестерню 9 со ступицей шестерни 7, а муфта 30 разъединяет шестерни 10 и 12 вторичного вала 4, зубчатый венец 33 муфты С (34) соединяет (см. фиг.1 вверху справа) зубчатый венец 23 корпуса агрегата 1 с зубчатым венцом 21 и останавливает эпициклическое колесо 16 (b) относительно корпуса агрегата 1, а средний и правый зубчатые венцы муфты 34 соединяют зубчатый венец 19 вала 5 водила 15 с зубчатым венцом 20 выходного вала агрегата 6. Планетарный механизм (ПМ) находится в режиме с передаточным числом Ub ah=K+1. Верхний символ указывает на остановленное звено – b, нижние символы – на звенья входа (а – солнечная шестерня) и выхода (h – водило) крутящего момента, К – внутренний параметр ПМ, равный отношению чисел зубьев эпициклического колеса и солнечной шестерен – для приведенного на лучевой диаграмме варианта исполнения ПМ он равен 3.
Крутящий момент от входного вала 2 муфтой 28 (А) передается на трубчатый вал 24, на шестерню 8, далее на блок шестерен 11-10, на шестерню 7 (пары шестерен 1 и 2), по муфте 29 на шестерню 9, от нее на шестерню 12 (пара шестерен 3) и по вторичному валу 4 на солнечную шестерню 13. Солнечная шестерня 13 вращает сателлиты 14, которые, обкатываясь по остановленному эпициклическому колесу 16, передают увеличенный крутящий момент на водило 15, вал водила 5, зубчатый венец 19, муфту переключения С (34), зубчатый венец 20 и выходной вал 6.
На лучевой диаграмме этой передаче соответствуют четыре последовательно соединенных луча: из т.0 на нижней шкале слева (см. фиг.2) луч 1 направо вверх, далее луч 2 направо вниз, затем луч 3 направо вверх и далее пологий луч (Ub ah=К+1) к т.1 справа на верхней шкале.
Вторая передача
Перемещаем муфту А в левое положение, при этом пары шестерен 1 и 2 выключаются из работы.
Крутящий момент от входного вала 2 передается муфтой 28 на первичный вал 3 и шестерню 7, по муфте 29 на шестерню 9, затем как на предыдущей передаче. На лучевой диаграмме этой передаче соответствуют два луча: луч 3 направо вверх и далее пологий луч (Ub ah=К+1) к т.2 справа на верхней шкале.
Третья передача
Изменяем положения муфт А и В из левого в правое.
На шестерни 8 и 11 крутящий момент передается как на первой передаче, далее по муфте 30 на вторичный вал 4, затем как на предыдущих передачах.
На лучевой диаграмме этой передаче соответствуют лучи 1 и Ub ah, направленные от т.0 к т.3.
Четвертая передача
Перемещаем муфту А в левое положение.
Крутящий момент от входного вала 2 передается на первичный вал 3, далее по шестерням 7 и 10, муфте 30 на вторичный вал 4, затем как на предыдущих передачах.
На лучевой диаграмме этой передаче соответствует два луча: 2 и Ub ah, направленные из т.0 к т.4.
Пятая передача
Возвращаем муфты А и В в состояние, соответствующее первой передаче, а муфту С перемещаем в положение III. Зубчатый венец 33 выходит из соединения с зубчатым венцом 21 корпуса эпициклического колеса 16 и находится в правом (выключенном) положении, муфта 34 левым и средним внутренними венцами соединяет зубчатый венец 18 эпициклического колеса 16 с правой частью зубчатого венца 19 водила 15 с (см. фиг.1 внизу справа). При фиксированном соединении относительно друг друга двух звеньев ПМ он блокируется – все три звена вращаются с одинаковой частотой. Это состояние ПМ на лучевой диаграмме представлено вертикальными лучами – U=1,0.
Крутящий момент до ПМ передается как на первой передаче, затем напрямую по ПМ и далее зубчатыми венцами 18 и 19, муфтой переключения 34 на зубчатый венец 20 и выходной вал агрегата 6.
На лучевой диаграмме эта передача представлена четырьмя лучами: три первых луча 1, 2 и 3 соответствуют первой передаче, а четвертый луч направлен вертикально вверх к т.5.
Шестая передача
Переключаем муфту А в левое положение.
Крутящий момент до ПМ передается как на второй передаче, а далее – как на предыдущей.
На лучевой диаграмме этой передаче соответствуют лучи 3 и U=1,0.
Седьмая передача
Изменяем положение муфт А и В в состояние третьей передачи.
До ПМ крутящий момент передается как на третьей передаче, далее – как на двух последних передачах. На лучевой диаграмме луч 1 с наклоном направо вверх и луч U=1,0 характеризуют эту передачу.
Восьмая передача
Передвигаем муфту А налево.
До ПМ крутящий момент передается как на четвертой передаче, затем – как на трех последних передачах.
На лучевой диаграмме эта передача представлена лучом 2 вверх налево в ускоряющем режиме и вертикальным лучом U=1,0 от т.0 к т.8.
Передачи заднего хода обеспечиваются ПМ при переключении муфты С (34) в положение I – при этом зубчатый венец 33, передвинутый ползуном 32 муфты С, соединяет зубчатый венец 22 водила 15 с зубчатым венцом 23 корпуса 1 и останавливает водило, муфта 34 средним зубчатым венцом соединяет зубчатый венец 18 эпициклического колеса 16 с зубчатым венцом 20 выходного вала 6. ПМ работает в режиме Uh ab=-К, солнечная шестерня 13 сателлитами 14, установленными на осях остановленного водила 15, медленно вращает эпициклическое колесо 16, трубчатый вал 17 и выходной вал 6 в противоположном направлении.
Первый задний ход – 1R
Устанавливаем муфты А и В в положение первой передачи для движения вперед, а муфту С – в положение I.
До ПМ крутящий момент передается как на первой передаче переднего хода, далее от солнечной шестерни 13 сателлитами 14 на эпициклическое колесо 16, затем по трубчатому валу 17, зубчатому венцу 18, муфте 34, зубчатому венцу 20 на выходной вал 6.
На лучевой диаграмме эта передача заднего хода представлена лучами: 1, 2, 3 и Uh ab=- К от т.0 к т.1R.
Второй задний ход – 2R
Переключаем муфту А в левое положение.
Крутящий момент до ПМ передается как на второй передаче переднего хода, затем как на предыдущей передаче.
На лучевой диаграмме этой передаче соответствуют два луча: 3 и Uh ab=-К.
Третий задний ход – 3R
Изменяем положения муфт А и В.
До ПМ крутящий момент поступает как на третьей передаче переднего хода, далее как на двух последних передачах.
На лучевой диаграмме два луча: 1 и Uh ab=-К характеризуют эту передачу.
Четвертый задний ход – 4R
Перемещаем муфту А в левое положение.
До ПМ крутящий момент передается как на четвертой передаче переднего хода, затем как на последних передачах.
На лучевой диаграмме два луча: 2 и Uh ab=-К характеризуют эту передачу.
Формула изобретения
Восьмиступенчатая несоосная вальнопланетарная коробка передач, содержащая корпус, в котором параллельно первичному валу соосно расположены валы вторичный, водила и выходной, на первичном и вторичном валах установлены попарно зацепленные шестерни внешнего зацепления, на вторичном валу две шестерни объединены в блок и закреплена солнечная шестерня простого трехзвенного планетарного механизма, водило и корпус эпициклического колеса имеют зубчатые венцы, расположенные рядом с зубчатым венцом корпуса, трубчатый вал корпуса эпициклического колеса, вал водила и выходной вал также имеют рядом расположенные зубчатые венцы, на зубчатом венце выходного вала установлена трехпозиционная муфта переключения, отличающаяся тем, что входной вал с зубчатым венцом и установленной на нем муфтой переключения расположен соосно с первичным валом, на котором закреплен зубчатый венец, рядом с ним установлен зубчатый венец трубчатого вала, на котором закреплена шестерня, зацепленная с шестерней блока шестерен вторичного вала, вторая шестерня блока зацеплена с шестерней, закрепленной на первичном валу, рядом с ней свободно установлена шестерня, зацепленная с шестерней, закрепленной на вторичном валу, на блоке шестерен расположена односторонняя муфта переключения, взаимосвязанная вилкой переключения с другой противоположно развернутой муфтой, установленной на зубчатом венце шестерни первичного вала, зубчатый венец вала водила двухпозиционный, трехпозиционная муфта переключения, установленная на зубчатом венце выходного вала, имеет три внутренних зубчатых венца, на ползуне трехпозиционной муфты переключения жестко закреплен зубчатый венец с внутренним и внешним зацеплениями, внешнее зацепление которого связано с трехпозиционным зубчатым венцом корпуса.
РИСУНКИ
|
|