|
|
(21), (22) Заявка: 2005106360/12, 08.08.2003
(24) Дата начала отсчета срока действия патента:
08.08.2003
(30) Конвенционный приоритет:
10.08.2002 (пп.1-28) DE 10236810.4
(43) Дата публикации заявки: 10.11.2005
(46) Опубликовано: 27.04.2008
(56) Список документов, цитированных в отчете о поиске:
US 5714231 B1, 03.02.1998. WO 9936807 A1, 22.07.1999. WO 9304837 A1, 18.03.1993. US 5635282 B1, 03.06.1997. EP 0677400 A, 18.10.1995. RU 96108926 A, 10.08.1998.
(85) Дата перевода заявки PCT на национальную фазу:
10.03.2005
(86) Заявка PCT:
DE 03/02683 (08.08.2003)
(87) Публикация PCT:
WO 2004/020222 (11.03.2004)
Адрес для переписки:
129010, Москва, ул. Б.Спасская, 25, стр.3, ООО “Юридическая фирма Городисский и Партнеры”, пат.пов. Г.Б. Егоровой, рег.№ 513
|
(72) Автор(ы):
ХАЙНРИХ Маттиас (DE), ХИРШФЕЛЬДЕР Андреас (DE)
(73) Патентообладатель(и):
ЛЕОНХАРД КУРЦ ГМБХ УНД КО. КГ (DE)
|
(54) ЧАСТИЧНО СТРУКТУРИРОВАННАЯ, IMD-ПРИГОДНАЯ МНОГОСЛОЙНАЯ ПЛЕНКА
(57) Реферат:
Группа изобретений относится к изготовлению многослойных пленок с оптическим эффектом, а также к декоративному изделию, покрытому многослойной пленкой. Многослойная пленка для изготовления декорированного изделия, которое содержит декорированную многослойной пленкой основу с искривленными участками поверхности, представляет собой IMD-пленку или пригодную для глубокой вытяжки пленку, которая выполнена с возможностью деформации при изготовлении декорированного изделия в соответствии с кривизной основы декорированного изделия. IMD-пленка или пригодная для глубокой вытяжки пленка содержит прозрачный структурный слой с создающей визуально воспринимаемый эффект пространственной структурой и отражающий слой, расположенный в направлении рассмотрения под структурным слоем. Декорированное изделие, в частности Handy-оболочка или Handy-окно, содержит основу с искривленными участками поверхности и, по меньшей мере, один декоративный элемент, расположенный в области одного или нескольких искривлений поверхности основы. Декоративный элемент образован многослойной пленкой, которая при изготовлении основы деформируется в соответствии с одним или несколькими искривлениями. Изобретение позволяет создавать устойчивое изображение без искажений на участках, где основа имеет искривления поверхности. 3 н. и 25 з.п. ф-лы, 8 ил.
Изобретение относится к декорированному изделию, в частности Handy-оболочке или Handy-окну, содержащему основу и расположенный на основе декоративный элемент. Изобретение относится далее к многослойной пленке для изготовления декорированного изделия.
Способ Inmold, с помощью которого можно изготавливать декорированные пленкой пластмассовые изделия, раскрыт в WO 93/04837.
Между двумя половинами формы для литья под давлением располагают пленку. Обе половины соединяют с образованием полости. При этом пленку зажимают между обеими половинами формы. Через, по меньшей мере, один выполненный в форме литниковый канал в полость формы заливают затем полимерный материал. Определяемый литниковым каналом, соединенный с пластмассовым изделием литник отделяют от изделия, прежде чем полимерный материал затвердеет в форме. После отделения литника от еще не затвердевшего изделия полимерный материал затвердевает в закрытой форме. Затем форму размыкают и затвердевшее, окончательно декорированное пластмассовое изделие извлекают из полости формы и затвердевший отдельно от него литник удаляют из литникового канала.
При заливке полимерного материала пленка прижимается горячим полимерным материалом к участку поверхности полости. За счет этого пленка для тиснения приобретает форму поверхности формы и соединяется с полимерным материалом, который образует основу декорированного пластмассового изделия.
Другой способ Inmold известен из ЕР 0412493 А2.
Этим способом с использованием пленки изготавливают карты, например удостоверения, кредитные карты или карты регистрации времени. Пленка имеет декоративный слой с двумя декоративными покрытиями, а между ними – матовый промежуточный слой. В качестве материала для литья под давлением применяют стеклянно-прозрачную массу. Пленку располагают в формы для литья под давлением, соответствующей карте по объему полости. Полость формы затем закрывают и заполняют материалом для литья под давлением.
В DE 2649479 А1 описана пленка для горячего тиснения, имеющая следующую структуру.
Пленка для горячего тиснения состоит из пленки-подложки, покрывающего лакового слоя и клеевого слоя. На противоположной подложке поверхности покрывающего лакового слоя расположены металлический и адгезионный слои. На адгезионном слое расположен клеевой слой. Покрывающий лаковый слой выполнен прозрачным и на противоположной подложке поверхности снабжен пространственным узором.
Задачей изобретения является повышение декоративности изделий за счет многослойной пленки.
Поставленная задача решается посредством декорированного изделия, в частности Handy-оболочки или Handy-окна, содержащего основу с искривленными участками поверхности и, по меньшей мере, один декоративный элемент, расположенный в зоне одного или нескольких искривлений поверхности основы, причем декоративный элемент образован IMD-пленкой или пригодной для глубокой вытяжки пленкой, которая при изготовлении изделия деформируется в соответствии с одним или несколькими искривлениями, и IMD-пленка или пригодная для глубокой вытяжки пленка содержит прозрачный структурный слой с пространственной структурой, создающей визуально воспринимаемый эффект, и отражающий слой, расположенный между поверхностью основы и структурным слоем. Задача решается далее посредством многослойной пленки для изготовления декорированных изделий с искривленными участками поверхности, представляющей собой IMD-пленку или пригодную для глубокой вытяжки пленку, которая при изготовлении декорированного изделия деформируется в соответствии с кривизной основы декорированного изделия, причем IMD-пленка или пригодная для глубокой вытяжки пленка содержит прозрачный структурный слой с пространственной структурой, создающей визуально воспринимаемый эффект, и отражающий слой, расположенный в направлении рассмотрения под структурным слоем.
Изобретение обеспечивает преимущество, заключающееся в увеличении числа имеющихся в распоряжении декоративных элементов и, тем самым, разнообразия имеющихся в распоряжении дизайнера форм.
Особые преимущества возникают при этом, если создаваемый пространственной структурой оптический эффект пропадает на участках, где основа искривлена.
IMD-пленки (IMD=Inmold), пленки, пригодные для декорирования при формовании и пригодные для глубокой вытяжки пленки, при декорировании изделий подвержены высоким температурам и высоким механическим усилиям. В частности, возникающие в процессе декорирования деформации приводят к тому, что декорирование с пространственной структурой, создающей визуально воспринимаемый эффект, часто приводит к неудовлетворительным результатам. Из-за искажения IMD-пленки или пригодной для глубокой вытяжки пленки искажается и структурный слой, а тем самым изменяются и нанесенные на структурный слой пространственные структуры. Эти искажения особенно сильны на участках, где основа имеет одно или несколько искривлений. Исследования показали, что на этих участках возникают особенно сильные изменения пространственной структуры. Из-за этих изменений пространственной структуры созданный ею визуально воспринимаемый эффект при определенных обстоятельствах также сильно искажается, так что возникает общая неприглядная картина.
Этот эффект не возникает, однако, при осуществляемом согласно изобретению «этапе гашения».
Гашение оптического эффекта пространственной структуры на искривленных участках достигается при этом преимущественно за счет того, что оптический эффект пространственной структуры погашен в соответствии с рисунком посредством расположенного между структурным и отражающим слоями, выполненного в соответствии с рисунком промежуточного слоя и/или посредством удаления в соответствии с рисунком, в частности деметаллизации, отражающего слоя на участках, где кривизна поверхностной структуры превышает предельное значение.
Благодаря этому возникают значительные преимущества по сравнению с другими возможными методами, например специфичного для данной основы выполнения поверхностной структуры.
Так, используемые для изготовления трехмерных узоров инструменты для тиснения могут найти более многостороннее применение. За счет погашения по форме рисунка визуально воспринимаемого эффекта на участках пространственной структуры последняя может быть разнообразно изменена и индивидуализирована. Тем самым, с помощью инструмента для тиснения может быть реализовано множество разных декорирований. Это приводит к значительной экономии расходов.
За счет частичного погашения структурного слоя могут быть созданы далее дополнительные декоративные элементы, которые существенно улучшают применение способа IMD (IMD = Inmold) или снабженного пригодной для глубокой вытяжки пленкой декорированного изделия. Оптический эффект пространственной структуры можно погасить, например, на участках, где кривизна структуры превышает предельное значение. Таким образом, можно избежать негативных воздействий слишком большого радиуса кривизны на оптический характер декорирования, благодаря чему улучшается оптический характер декорированного изделия.
Если используют структурный слой из стабильного при изгибе полимерного материала, то предпочтительно использовать в качестве предельного значения радиус кривизны, при котором для наблюдателя возникают видимые изменения оптического эффекта пространственной структуры за счет сгибания структурного слоя.
При применении нестабильного при изгибе полимерного материала структурного слоя предпочтительно выбирать в качестве предельного значения радиус кривизны структурного слоя, при котором в структурном слое возникают разрушения.
Согласно другому предпочтительному примеру выполнения изобретения структурный слой имеет места заданного разрушения, так что структурный слой определенным образом разрушается на участках, где основа имеет одно или несколько искривлений и, тем самым, структурный слой также соответственно искривлен. Также целесообразно предусмотреть места заданного разрушения таким образом, чтобы разрушение на заданные обломки происходило, начиная с заданного радиуса кривизны. Места заданного разрушения расположены при этом преимущественно таким образом, чтобы созданный структурой оптический эффект не ухудшался в результате разрушения структурного слоя в зоне места заданного разрушения. Созданный структурным слоем оптический эффект не гасится, следовательно, в зоне кривизны, а сохраняется.
Далее можно также расположить места заданного разрушения так, чтобы оптический эффект на участках, где структурный слой разрушен, больше не создавался.
Согласно другому предпочтительному примеру выполнения изобретения отражающий слой имеет места заданного разрушения, так что отражающий слой определенным образом разрушается на участках, где кривизна основы и тем самым также кривизна отражающего слоя превышают определенное предельное значение, причем созданный структурой оптический эффект в этой зоне визуально больше не виден и тем самым погашен.
Согласно другому предпочтительному примеру выполнения изобретения между структурным и отражающим слоями расположен дополнительный слой с более высоким показателем преломления, чем структурный слой. За счет этого дополнительного слоя усиливается оптическое впечатление глубины, что весьма улучшает оптическое действие трехмерного декорированного изделия. Особенно предпочтительно, если этот дополнительный слой состоит из материала, обладающего теплоизолирующими свойствами. Благодаря этим теплоизолирующим свойствам улучшается обработка IMD-пленки или способной к глубокой вытяжке пленки, поскольку термическое влияние на структурный слой при обработке IMD-пленки или способной к глубокой вытяжке пленки уменьшается. Термическое окно обработки повышается, и предотвращается повреждение пространственной структуры, приводящее к искажению созданного пространственной структурой оптического эффекта.
Особые преимущества возникают и тогда, когда отражающий слой удаляют на окошкообразном участке, так что на этом участке образуется полупрозрачное и/или прозрачное окно. Это полупрозрачное окно может быть предусмотрено при этом, в частности, на таких участках, где под этим окном предусмотрено оптическое индикаторное устройство, например LCD-дисплей (LCD = Liquid Cristall Display, жидкокристаллический дисплей).
Особенно недорогая и легко реализуемая форма выполнения изобретения заключается в том, что используют состоящий из одного или нескольких гасящих лаковых слоев промежуточный слой, причем гасящий лаковый слой состоит из прозрачного материала и в соответствии с рисунком сглаживает структуру структурного слоя. За счет этого нивелирования структура оптически погашается в соответствии с рисунком. Другая возможность состоит в том, чтобы изготавливать гасящие лаковые слои из матового материала. Гасящие лаковые слои могут быть нанесены печатным способом, так что изготовление особенно рентабельно.
Предпочтительно промежуточный слой формуют из гибкого термопластичного материала. За счет этого промежуточный слой можно особенно просто приспособить к искривленной основе. Другие преимущества достигаются за счет того, что гибкость промежуточного слоя отличается от гибкости структурного слоя. Промежуточный слой сохраняется и при малых радиусах изгиба, приводящих к разрушению структурного слоя, и может выполнять свою функцию, тем самым, именно на критических участках, где применение промежуточного слоя особенно предпочтительно.
Декоративные преимущества возникают за счет окрашивания промежуточного слоя и/или структурного слоя, за счет окрашивания защитного лакового слоя и за счет использования одного или нескольких декоративных цветных слоев в конструкции многослойной пленки.
Особенно хорошие результаты достигаются, если структурный слой состоит из подходящего термопластичного полимерного материала, в котором вытиснением образуют пространственные структуры. За счет этого выполнения структурного слоя он особенно просто приспосабливается к поверхности искривленных основ. Применение подходящего термопластичного полимерного материала имеет далее преимущество, а именно полученные тиснением пространственные структуры не искажаются и, тем самым, не искажается созданный пространственной структурой, визуально воспринимаемый эффект при сгибании структурного слоя. Тем самым существенно улучшается воспринимаемый наблюдателем общий результат при декорировании искривленных поверхностных участков, в частности при применении способа Inmold (литье на пленку с нанесенным рисунком).
Для декорирования изделий особенно интересные оптические эффекты достигаются за счет применения структур, имеющих недифракционно-оптическую структуру с наибольшей высотой неровностей профиля порядка 0,8-10 мкм. Подобные структуры также особенно мало восприимчивы к описанным выше, вызванным искривленной основой негативным оптическим эффектам.
Может оказаться также целесообразным предусмотреть структуру дифракционной структурой дифракционно-оптического действия. За счет этого можно создавать декоративные эффекты, такие как голограммы и т.п.
Особенно стойкая к царапанию поверхность достигается за счет того, что многослойная пленка содержит расположенный в направлении рассмотрения над структурным слоем защитный лаковый слой, а пространственная структура нанесена на структурный слой в направлении отражающего слоя.
Целесообразно, если защитный лаковый слой многослойной пленки окрашен. Другие преимущества достигаются за счет того, что многослойная пленка содержит расположенный над структурным слоем защитный лаковый слой и один или несколько расположенных между защитным лаковым и отражающим слоями декоративных цветных слоев.
Далее предпочтительно используют пленку для ламинирования или пленку для надтиснения со структурным слоем согласно изобретению для IMD-области.
Ниже изобретение поясняется с помощью нескольких примеров выполнения со ссылкой на прилагаемые чертежи, на которых изображают:
– фиг. 1а: разрез декорированного согласно изобретению изделия в первом примере выполнения;
– фиг. 1b: разрез декорированного согласно изобретению изделия во втором примере выполнения;
– фиг. 1с: разрез декорированного согласно изобретению изделия в третьем примере выполнения;
– фиг. 2: разрез первого примера выполнения многослойной пленки согласно изобретению;
– фиг. 3: разрез второго примера выполнения многослойной пленки согласно изобретению;
– фиг. 4а: принципиальную конструкцию многослойной пленки согласно изобретению для следующего примера выполнения изобретения;
– фиг. 4b: принципиальную конструкцию многослойной пленки согласно изобретению для следующего примера выполнения изобретения;
– фиг. 5: часть декорированного согласно изобретению изделия в соответствии со следующим примером выполнения изобретения.
На фиг. 1а изображена часть декорированного изделия 1. Декорированное изделие 1 представляет собой Handy-оболочку (удобную для пользования оболочку) и/или Handy-окно. Конечно, возможно, чтобы декорированное изделие 1 представляло собой выполненную другого вида корпусную деталь или же плоский предмет, например карту.
Декорированное изделие 1 содержит основу 13 и многослойную пленку 12.
Многослойная пленка 12 представляет собой IMD-пригодную многослойную пленку. При изготовлении основы 13 способом литья под давлением многослойную пленку 12, как сказано выше, прижимают горячей полимерной массой к форме для литья под давлением, в результате чего многослойная пленка 12 принимает форму поверхности основы 13 и соединяется с основой 13. На втором этапе или одновременно на состоящую из основы 13 и многослойной пленки 12 композицию методом литья под давлением наносят покрытие 11. При этом возможно, чтобы многослойная пленка 12 уже была предварительно формована, размещена посередине соответственно выполненной формы литья под давлением и залита с обеих сторон полимерной массой.
Многослойная пленка 12 представляет собой также пригодную для глубокой вытяжки многослойную пленку. IMD-пленки и пригодные для глубокой вытяжки пленки помещают в трехмерную форму за счет давления и тепла. В случае IMD-пленки это достигается шприцеванием с полимерным материалом, который приводит пленку в трехмерную форму. В случае пригодных для глубокой вытяжки пленок пленку сначала располагают на плоском образце, который затем путем глубокой вытяжки помещают в нужную трехмерную форму. Также здесь пленку в соответствии с конфигурацией формы для глубокой вытяжки помещают за счет давления и тепла в трехмерную форму.
На фиг. 1b изображена альтернативная конструкция декорированного изделия. На фиг. 1b показана часть декорированного изделия 2, содержащего многослойную пленку 21 и основу 22. Также многослойная пленка 21 представляет собой IMD-пригодную многослойную пленку. Эту пленку для тиснения помещают в форму для литья под давлением и опрессовывают жидкой полимерной заливочной массой, в результате чего образуется декорированное изделие 2, состоящее из основы 22, образованной затвердевшей заливочной массой, и соединенной с ней многослойной пленки 21, которая образована формованной в процессе литья под давлением IMD-пригодной пленкой.
Можно также соединить многослойные пленки 12, 21 с предварительно формованной основой путем напрессовывания на эту основу. При выборе этого способа возможно также применение IMD-непригодных пленок для тиснения. Однако и здесь рекомендуется применение IMD-пригодных пленок для тиснения, поскольку иначе в зоне искривлений 19, 29 придется считаться с искажением или складкообразованием.
Многослойные пленки 12, 21 содержат прозрачный структурный слой с создающей визуально воспринимаемый эффект пространственной структурой и отражающий слой, расположенный между поверхностью основы 13, 22 и структурным слоем. Оптический эффект пространственной структуры возникает при этом посредством расположенного между структурным и отражающим слоями отформованного в соответствии с рисунком промежуточного слоя и/или посредством деметаллизации отражающего слоя.
Принципиальные возможности конструкции многослойных пленок 12, 21 поясняются с помощью фиг. 2, 3, 4а, 4b.
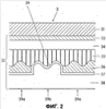
На фиг. 2 изображена многослойная пленка 3, которая представляет собой IMD-пригодную многослойную пленку. Многослойная пленка 3 содержит подложку 31 и декоративный элемент 32. Подложка 31 состоит из РЭТ, и ее после нанесения декоративного элемента на основу декорированного изделия удаляют. Подложка 31 имеет при этом толщину порядка 4,5-75 мкм, преимущественно 23 мкм.
Защитный лаковый слой 34 имеет толщину, составляющую порядка 1-20 мкм. Защитный лаковый слой 34 представляет собой преимущественно термопластичный лаковый слой, обладающий высокой стойкостью к истиранию. Далее защитный лаковый слой может представлять собой сшитый в отсутствие тепла прозрачный покрывающий лак. Защитный лаковый слой 34 состоит, например, из ПВХ, акрилата, сополимера этилена с винилацетатом, поливинилового эфира, поливинилбутираля, полиэфирной смолы, кетоновой смолы, формальдегидной смолы, канифольной смолы, полиуретановой смолы и т.п.
Структурный слой 35 состоит из термопластичного реплицируемого лака из термопласта. В качестве материалов структурного слоя 35 рассматриваются акрилаты и хлорированные полимеры и, в частности, материалы, приведенные в отношении защитного лакового слоя 34.
Ориентированная в направлении отражающего слоя 37 поверхность структурного слоя 35 имеет наибольшую высоту неровностей профиля порядка 0,8-10 мкм и представляет собой, тем самым, структуру недифракционно-оптического действия. За счет такой структуры достигается, например, впечатление «щеточного эффекта».
Возможно, однако, чтобы структура 39 представляла собой дифракционную структуру. За счет дифракционных эффектов с помощью такой дифракционной структуры создают, например, голограммы. Далее возможно, чтобы структура 39 имела матовую структуру, обладающую рассеивающими свойствами.
Слой 37 состоит из высокопреломляющего материала и имеет толщину порядка 100 Å. Слой 37 может быть образован оксидом металла и/или сульфидом металла. При этом речь может идти также о сульфидах цинка, оксиде титана, оксиде кремния и т.п. Слой 37 образован преимущественно слоем металла, обладающего отражающими свойствами. В качестве материалов для этого могут применяться, например, хром, алюминий, медь, серебро, золото и подобные металлы, а также сплавы двух или более этих металлов. Далее в качестве материала слоя 37 могут применяться также отражающие пластики или полимеры. При этом могут применяться соединения аналогично “Liquid Cristals” (например, “Helicone” от Wacker-Chemie; “Helicone” является торговой маркой Wacker-Chemie).
Использование слоя металла в качестве слоя 37 имеет преимущество, а именно такой слой металла обладает высокими гибкостью и растяжением и, тем самым, особенно пригоден для применения в IMD-области.
Промежуточный слой 36 состоит из прозрачного гасящего лака. В качестве гасящего лака могут при этом применяться материалы, применяемые также для структурного слоя 35. Гасящий лак состоит преимущественно из термопластичного полимерного материала.
При этом предпочтительно для промежуточного слоя 36 применяют материал, обладающий, в основном, такими же оптическими свойствами, что и материал структурного слоя 35. Показатели преломления обоих применяемых материалов должны, в основном, совпадать. Этим достигается то, что на переходе между структурным 35 и промежуточным 36 слоями не происходит или почти не происходит отражений и, тем самым, этим переходом с оптической точки зрения можно пренебречь.
Толщина структурного 35 и промежуточного 36 слоев составляет в каждом случае порядка 1-10 мкм.
Клеевой слой 38 состоит из обычного, активируемого теплом, давлением или излучением клея. Клеевой слой 38 имеет толщину, составляющую порядка 1-10 мкм. Можно также отказаться от клеевого слоя 38 или нанести на отражающий слой 37 несколько клеевых слоев.
Изготовление многослойной пленки 3 осуществляют следующим образом.
На подложку 3 последовательно печатным способом по всей поверхности наносят отделяемый слой 33, защитный лаковый слой 34 и структурный слой 35. Возможно также частичное нанесение этих слоев. Затем с помощью инструмента для тиснения в структурном слое 35 тиснят пространственные структуры 39. Структуру 39 тиснят при этом в структурном слое 35 преимущественно по всей поверхности. В качестве инструментов для тиснения могут использоваться, например, один или несколько валиков.
На изготовленной таким образом «основной пленке» в соответствии с рисунком и частично печатают промежуточный слой 36. Эта печать может осуществляться, например, посредством соответственно выполненного цилиндра глубокой печати. Результат этой печати в соответствии с рисунком в качестве примера показан на фиг. 2: на участках 39а промежуточный слой 36 напечатан, а на участке 39b промежуточный слой 36 отсутствует.
Можно также напечатать промежуточный слой 36 на структурном слое 35 по всей поверхности. Затем его частично удаляют промывкой и/или травлением (позитивное или негативное травление) или посредством абляции (лазерной абляции).
После этого наносят отражающий слой 37 преимущественно путем напыления или катодного распыления.
При этом можно также отказаться от отделяемого 33 и защитного лакового 34 слоев.
Если многослойную пленку 3 используют для декорирования изображенного на фиг. 1с изделия, то предпочтительно отказаться от защитного лакового слоя 34. Функцию защитного лакового слоя 34 выполняет при этом покрытие. Так, на фиг. 1с изображена такая многослойная пленка 24, которая нанесена подобным образом на внутреннюю сторону покрытия 23 (“first or second surface decoration”).
Далее можно поместить между указанными выше слоями 34-37 один или несколько декоративных цветных лаковых слоев. Другая возможность состоит в том, чтобы окрашивать защитный лаковый слой 34, структурный слой 35 и/или гасящий лаковый слой 36.
Далее можно также наносить слои 35, 36, 37 так, как это описано выше, а затем частично удалять промывкой или травлением. Далее можно наносить на слои 35, 36, 37 частично травильный резист, а затем частично удалять слои промывкой или травлением.
За счет описанной выше конструкции пленки достигаются следующие оптические эффекты:
На участке 39b возникает впечатление отражающего элемента, на который накладывается созданный структурой 39 оптический эффект. Наблюдатель воспринимает, тем самым, на участке 39b голограмму или структурированную, например обработанную щеткой, металлическую поверхность. На участках 39а структура 39 сглаживается промежуточным слоем 36. Тем самым, созданный пространственной структурой 39 оптический эффект гасится промежуточным слоем 36. Наблюдатель воспринимает, таким образом, на участках 39а отражающий декоративный элемент, у которого отсутствует созданный структурой 39 оптический эффект.
Далее можно частично удалить отражающий слой 37 или отражающий 37 и гасящий лаковый 36 слои и, тем самым, частично создать впечатление прозрачного элемента, на который накладывается созданный структурой 39 оптический эффект.
На фиг. 3 изображена многослойная пленка 4, содержащая подложку 41 и декоративный элемент 42. Подложка 41 выполнена, как и подложка 31 на фиг. 2. Декоративный элемент 42 содержит защитный лаковый 43, структурный 44, промежуточный 45, отражающий 46 и клеевой 47 слои.
Слои 44, 46, 47 выполнены, как и слои 35, 37, 38 на фиг. 2.
Промежуточный слой 45 состоит из одного или нескольких гасящих лаковых слоев из матового материала. Как показано на фиг. 3, промежуточный слой 45 не сглаживает структуру 49, а имеет, в основном, постоянную толщину.
Этот эффект может возникать, например, также за счет того, что структуру 49 тиснят на изготовленной для этого пленке только после нанесения отражающего слоя 46. Для промежуточного слоя 45 могут применяться, в основном, те же материалы, что и для промежуточного слоя 36. В противоположность промежуточному слою 36 промежуточный слой 45, однако, не прозрачный, а матовый. Отражающий слой 46 закрыт промежуточным слоем 45 таким образом, что на отражающем слое 46 больше не возникает отражений. За счет этого созданный структурой 49 оптический эффект на участках 49а не проявляется.
Тем самым, для наблюдателя на участках 49а, 49b возникают следующие впечатления. На участке 49b наблюдатель воспринимает отражающий элемент, выраженный созданным структурой 49 оптическим эффектом. Таким образом, он воспринимает на этом участке, например, голограмму или обработанную щеткой металлическую поверхность. На участках 49а он воспринимает гладкую поверхность, выраженную цветом применяемого для промежуточного слоя 45 матового материала.
Можно также выполнить промежуточный слой 45 в соответствии с рисунком на разных матовых цветных участках. Для наблюдателя на участках 49а возникает, тем самым, соответствующий цвет, на который не накладывается созданный структурой 49 оптический эффект.
На фиг. 4а, 4b поясняются возможности того, как оптический эффект пространственной структуры можно в соответствии с рисунком погасить посредством деметаллизации отражающего слоя.
На фиг. 4а изображены подложка 51 и многослойная пленка 52. Подложка 51 выполнена, как и подложка 31 на фиг. 2. Многослойная пленка 52 содержит защитный лаковый 53, структурный 54, промежуточный 55, отражающий 56 и клеевой 58 слои. Слои 53, 54, 56, 58 выполнены, как и слои 34, 35, 37, 38 на фиг. 2.
Промежуточный слой 55 образован маскирующим лаком в соответствии с рисунком, напечатанным на структурном слое 54. В качестве маскирующего лака можно применять, например, водорастворимый лак (см. материалы слоя 34).
После печати маскирующего лака наносят отражающий слой 56. Это осуществляют, например, напылением тонкого металлического слоя или катодным распылением. На следующем этапе маскирующий лак удаляют промывкой и, тем самым, удаляют также находящийся над маскирующим лаком отражающий слой. Затем наносят клеевой слой 58. В качестве клея применяют при этом преимущественно клей, имеющий, в основном, те же оптические свойства (в частности, показатель преломления), что и структурный слой. Таким образом, на переходе между структурным и клеевым слоями не возникает отражений на участках, где отражающий слой был удален посредством слоя маскирующего лака. Другие возможности заключаются в том, чтобы окрасить клеевой слой 58 матовой краской или нанести многослойную пленку 52 на матовую основу.
На фиг. 4b изображены подложка 61 и многослойная пленка 62. Подложка 61 выполнена, как и подложка 31 на фиг. 2. Многослойная пленка 62 содержит защитный лаковый 63, структурный 64, гасящий лаковый 65, отражающий 66, травильно-резистный лаковый 67 и клеевой 68 слои. Слои 63, 64, 65, 66, 68 выполнены, как и слои 34, 35, 36, 37, 38 на фиг. 2.
Травильно-резистный лаковый слой 67 имеет толщину, составляющую порядка 1-10 мкм, преимущественно 1-2 мкм. Травильно-резистный лаковый слой 67 печатают в соответствии с рисунком на отражающем слое 66. Затем не защищенные травильно-резистным лаковым слоем 67 участки поверхности отражающего слоя 66 деметаллизируют щелочью или кислотой. Таким образом, созданный структурой слоя 64 оптический эффект, как на фиг. 4а, частично гасится на участках, где посредством процесса деметаллизации был удален отражающий слой 66.
Далее можно также в соответствии с формой рисунка удалить отражающий слой 66 посредством позитивного травления (печать травильного средства) или абляции.
С помощью фиг. 5 поясняется, на каких участках структурного слоя можно преимущественно погасить оптический эффект пространственной структуры.
На фиг. 5 изображено декорированное изделие 7, содержащее основу 71 и нанесенную на основу 71 многослойную пленку 78. Многослойная пленка 78 состоит из защитного лакового 75, структурного 74, промежуточного 76, отражающего 73 и клеевого 72 слоев. Слои 75, 74, 76, 73, 72 выполнены, как и слои 34, 35, 36, 37, 38 на фиг. 2.
Оптический эффект пространственной структуры гасится на участках, где кривизна структурного слоя превышает определенное предельное значение. На фиг. 5 показан участок 79b декорированного изделия 7, на котором отформована кромка основы 71 довольно малого радиуса.
В примере выполнения на фиг. 5 структурный слой 74 формован из гибкого термопластичного полимерного материала. Как видно из фиг. 5, структурный слой 74 при нанесении на поверхность основы 71 на участке 79b сильно растягивается из-за малого радиуса кромки основы 71, в результате чего на этом участке одновременно деформируется и пространственная структура структурного слоя 74. Чем меньше радиус кромки, тем сильнее это растяжение и, тем самым, изменение структурного слоя 74.
Во избежание ухудшения оптического проявления изделия 7 за счет этого эффекта на участке 79b между структурным 74 и отражающим 73 слоями помещен состоящий из гасящего лака промежуточный слой 76. Искаженный на этом участке, созданный структурным слоем 74 оптический эффект гасится промежуточным слоем 76, так что это искажение оптической структуры не явное, а, напротив, структурирования отсутствуют.
Предельное значение, при котором, как показано на фиг. 5, промежуточный слой 76 помещают между структурным 74 и отражающим 73 слоями, определяют преимущественно посредством радиуса кривизны основы, при котором возникают видимые изменения оптического эффекта пространственной структуры из-за сгибания структуры. Этот радиус зависит, во-первых, от величины и вида пространственной структуры, толщины многослойной пленки 78 и применяемых в слоях пленки материалов. Предельное значение может быть простым образом определено экспериментальным исследованием, при котором многослойную пленку 78 сгибают с уменьшающимся радиусом.
Поясненный с помощью фиг. 5 эффект может быть достигнут при этом следующими мерами, как и у аналогичной конструкции пленки на фиг. 1-5.
В противоположность фиг. 5 для структурного слоя 84 можно применять негибкий термопластичный полимерный материал и стабильный к изгибу полимерный материал. Этот материал имеет преимущество, а именно он деформируется лишь в малой степени и, тем самым, поверхностная структура при изгибе, в основном, сохраняется. Далее в структурном слое предусмотрены места заданного разрушения, так что структурный слой 84 разрушается на заданные обломки, если многослойную пленку сгибать более сильно. Если основа образует на одном участке кромку малого радиуса кривизны, то это приводит к тому, что и вышележащий структурный слой на этом участке сильно искривляется и, тем самым, структурный слой разрушается на заданные обломки.
Подобные места заданного разрушения в структурном слое могут быть получены, во-первых, за счет образования путем тиснения в структурном слое пространственной структуры. Так, в структурном слое могут быть вытиснены с определенными промежутками желобки, служащие местами заданного разрушения. Подобные желобки могут быть получены также лазерной или фотохимической абляцией. Далее существует возможность изготовления структурного слоя из реплицируемого лака, в который помещены наночастицы или частицы микроскопической величины, которые приводят к заданному охрупчиванию структурного слоя и образуют места заданного разрушения. Так, например, можно поместить в реплицируемый лак наночастицы SO2 или частицы Cu микроскопической величины. Предпочтительным при этом оказалось применение металлических или металлооксидных частиц.
Подобные частицы могут дополнительно способствовать окрашиванию структурного слоя.
Места заданного разрушения могут быть при этом расположены так, что созданный структурой оптический эффект не ухудшается в результате разрушения структурного слоя в зоне мест заданного разрушения. Для этого места заданного разрушения согласовывают с пространственной поверхностной структурой таким образом, что в обломке остается цельная информация об изображении. Так, например, места заданного разрушения предусмотрены на переходах между участками пространственной структуры, соответствующими разным пикселям изображения.
Далее возможно также такое расположение мест заданного разрушения, чтобы оптический эффект не создавался больше в зонах, где структурный слой разрушен. Это может быть достигнуто, например, за счет того, что предусматривают большое число мест заданного разрушения, имеющих случайное распределение и, тем самым, препятствующих образованию оптического эффекта пространственной структурой. Это может быть реализовано, например, за счет сильного охрупчивания структурного слоя путем примешивания наночастиц.
Далее возможно также, чтобы отражающий слой имел места заданного разрушения, так что отражающий слой на участках, где его кривизна превышает предельное значение, разрушается определенным образом, в результате чего созданный структурой оптический эффект на этом участке гасится. Это может быть достигнуто за счет того, что цельный отражающий слой имеет множество случайно распределенных мест заданного разрушения, так что отражающий слой при превышении определенного радиуса кривизны разрушается на множество статистически распределенных мельчайших отражающих поверхностей. Этим на искривленных участках больше не обеспечивается достаточно направленное отражение падающего света, так что созданные пространственной структурой оптического действия оптические эффекты для наблюдателя больше неразличимы. Например, дифракционные эффекты за счет целенаправленного мелкозернистого разрушения отражающего слоя и возникающие в результате эффекты рассеяния ослабляются настолько, что эти эффекты для наблюдателя почти или вообще больше не видны.
Отражающий слой, имеющий выполненные подобным родом места заданного разрушения, достигается, например, за счет разной механической характеристики отражающего слоя и предшествующих и/или последующих слоев. Характер разрушения и/или характер растяжения отражающего слоя выбирают по сравнению с предшествующим и/или последующим слоем или слоями так, что, начиная с определенного, заданного механическими свойствами радиуса изгиба, возникают разрушения в более хрупком отражающем слое. При этом можно также предусмотреть дополнительный промежуточный слой, который служит для создания подобного заданного различия в характерах разрушения и растяжения.
Далее раскрытые в отношении структурного слоя меры по выполнению мест заданного разрушения (механически заданное ослабление, примешивание частиц) применимы также к отражающему слою или образующему отражающий слой многослойному телу.
Далее предпочтительно предусмотреть между структурным и отражающим слоями теплоизолирующий слой, имеющий также более высокий показатель преломления, чем структурный слой. Например, можно использовать слои МхОу (МхОу: х; у [0,1-8]; М: элемент). За счет подобных слоев достигается, во-первых, повышение глубины резкости, а, во-вторых, – тепловой защиты структурного слоя.
Формула изобретения
1. Многослойная пленка (3, 4, 52, 62) для изготовления декорированного изделия, содержащего декорированную многослойной пленкой основу с искривленными участками поверхности, причем многослойная пленка (3, 4, 52, 62) представляет собой IMD-пленку или пригодную для глубокой вытяжки пленку, которая выполнена с возможностью деформации при изготовлении декорированного изделия в соответствии с кривизной основы декорированного изделия, отличающаяся тем, что IMD-пленка или пригодная для глубокой вытяжки пленка содержит прозрачный структурный слой (35, 44, 54, 64) с создающей визуально воспринимаемый эффект пространственной структурой (39, 49) и отражающий слой (37, 46, 56, 66), расположенный в направлении рассмотрения под структурным слоем.
2. Пленка по п.1, отличающаяся тем, что оптический эффект пространственной структуры (39, 49) в соответствии с рисунком погашен посредством расположенного между структурным (35, 44, 74) и отражающим (37, 46, 73) слоями, выполненного в соответствии с рисунком промежуточного слоя (36, 45, 76) и/или посредством удаления в соответствии с рисунком, в частности деметаллизации, отражающего слоя (56, 66) на участках, где кривизна декорируемой многослойной пленкой основы и, тем самым, кривизна пространственной структуры (39, 49) на декорированном изделии превышает предельное значение, причем
а) предельным значением является либо радиус кривизны, при котором для наблюдателя декорированного изделия возникают видимые изменения оптического эффекта пространственной структуры в результате сгибания структурного слоя, либо
б) предельным значением является радиус кривизны, при котором в структурном слое возникают разрушения.
3. Пленка по п.2, отличающаяся тем, что промежуточный слой состоит из одного или нескольких гасящих лаковых слоев (36, 76), которые состоят из прозрачного материала и сглаживают в соответствии с рисунком структуру структурного слоя (35, 74).
4. Пленка по п.2 или 3, отличающаяся тем, что промежуточный слой состоит из одного или нескольких гасящих лаковых слоев (45), которые состоят из матового материала.
5. Пленка по п.2 или 3, отличающаяся тем, что промежуточный слой содержит маскирующий слой (55), который частично удален с нанесенной впоследствии частью отражающего слоя (56).
6. Пленка по п.5, отличающаяся тем, что промежуточный слой состоит из термопластичного материала.
7. Пленка по п.5, отличающаяся тем, что промежуточный и структурный слои имеют разную гибкость.
8. Пленка по п.5, отличающаяся тем, что промежуточный и/или структурный слой окрашен.
9. Пленка по п.5, отличающаяся тем, что структурный слой имеет места заданного разрушения, так что структурный слой определенным образом разрушается на участках, где его кривизна на искривленном участке поверхности превышает предельное значение.
10. Пленка по п.9, отличающаяся тем, что места заданного разрушения расположены так, что созданный структурой оптический эффект не ухудшается разрушением структурного слоя в области места заданного разрушения.
11. Пленка по п.9, отличающаяся тем, что места заданного разрушения расположены так, что созданный структурой оптический эффект больше не возникает на участках, где структурный слой разрушается.
12. Пленка по п.1, отличающаяся тем, что отражающий слой имеет места заданного разрушения, так что отражающий слой определенным образом разрушается на участках, где кривизна структурного слоя на искривленных участках поверхности превышает предельное значение, в результате чего созданный структурой оптический эффект гасится на этих участках.
13. Пленка по п.1, отличающаяся тем, что между структурным и отражающим слоями расположен дополнительный слой с более высоким показателем преломления, чем структурный слой.
14. Пленка по п.13, отличающаяся тем, что дополнительный слой состоит из материала, обладающего теплоизолирующими свойствами.
15. Пленка по п.13 или 14, отличающаяся тем, что отражающий слой удален на участке в форме окна.
16. Пленка по п.1, отличающаяся тем, что структурный слой (74) состоит из термопластичного полимерного материала, в котором вытиснена пространственная структура.
17. Пленка по п.1, отличающаяся тем, что структура имеет видимую структуру недифракционно-оптического действия с наибольшей высотой неровностей профиля между 0,8 и 10 мкм.
18. Пленка по п.1, отличающаяся тем, что структура имеет дифракционную структуру дифракционно-оптического действия.
19. Пленка по п.1, отличающаяся тем, что отражающий слой представляет собой металлический слой, слой оксида или сульфида металла или слой отражающего пластика.
20. Декорированное изделие (1, 2, 7), в частности хэнди-оболочка или хэнди-окно, содержащее основу (13, 22, 71) с искривленными участками поверхности и, по меньшей мере, один декоративный элемент (12, 21, 24, 78), расположенный в области одного или нескольких искривлений поверхности основы, отличающееся тем, что декоративный элемент (12, 21, 78) образован многослойной пленкой по одному из пп.1-19, которая при изготовлении основы (13, 22, 71) деформируется в соответствии с одним или несколькими искривлениями.
21. Изделие (1, 2, 7) по п.20, отличающееся тем, что оптический эффект пространственной структуры (39, 49) погашен в соответствии с рисунком посредством расположенного между структурным (35, 44, 74) и отражающим (37, 46, 73) слоями, выполненного в соответствии с рисунком промежуточного слоя (36, 45, 76) и/или посредством удаления по форме рисунка, в частности деметаллизации, отражающего слоя (56, 66) на участках, где кривизна структуры превышает предельное значение.
22. Изделие (1, 2, 7) по п.21, отличающееся тем, что предельным значением является радиус кривизны, при котором для наблюдателя возникают видимые изменения оптического эффекта пространственной структуры в результате сгибания структурного слоя.
23. Изделие (7) по п.22, отличающееся тем, что предельным значением является радиус кривизны, при котором в структурном слое возникают разрушения.
24. Изделие (7) по одному из пп.21-23, отличающееся тем, что структурный слой имеет места заданного разрушения, так что структурный слой определенным образом разрушается на участках, где его кривизна превышает предельное значение.
25. Изделие (7) по п.24, отличающееся тем, что места заданного разрушения расположены так, что созданный структурой оптический эффект не ухудшается разрушением структурного слоя в зоне места заданного разрушения.
26. Изделие (7) по п.24, отличающееся тем, что места заданного разрушения расположены так, что созданный структурой оптический эффект больше не возникает на участках, где структурный слой разрушен.
27. Изделие (7) по п.20, отличающееся тем, что отражающий слой имеет места заданного разрушения, так что отражающий слой определенным образом разрушается на участках, где кривизна структурного слоя превышает предельное значение, в результате чего созданный структурой оптический эффект гасится на этих участках.
28. Применение многослойной пленки по одному из пп.1-19 в Inmold-способе литья под давлением или в способе глубокой вытяжки для декорирования основы с искривленными участками поверхности, по меньшей мере, в области одного или нескольких искривлений поверхности основы.
РИСУНКИ
|
|