|
|
(21), (22) Заявка: 2006114029/12, 27.09.2004
(24) Дата начала отсчета срока действия патента:
27.09.2004
(30) Конвенционный приоритет:
26.09.2003 (пп.1-21) GB 0322590.1
(43) Дата публикации заявки: 10.11.2007
(46) Опубликовано: 27.04.2008
(56) Список документов, цитированных в отчете о поиске:
GB 2362610 А, 28.11.2001. US 6260937 B1, 17.07.2001. EP 0943439 A, 22.09.1999. US 5686946 A, 11.11.1997. EP 0869002 A, 07.10.1998. RU 98118932 A1, 20.09.2000.
(85) Дата перевода заявки PCT на национальную фазу:
26.04.2006
(86) Заявка PCT:
GB 2004/004136 (27.09.2004)
(87) Публикация PCT:
WO 2005/030490 (07.04.2005)
Адрес для переписки:
129010, Москва, ул. Б.Спасская, 25, стр.3, ООО “Юридическая фирма Городисский и Партнеры”, пат.пов. С.А.Дорофееву
|
(72) Автор(ы):
ЦАПКА Вернер (SE), КРЭНКШО Марк Ян (GB), ТЕМПЛ Стефен (GB), ДРУЛИ Пол (GB)
(73) Патентообладатель(и):
КСААР ТЕКНОЛОДЖИ ЛИМИТЕД (GB)
|
(54) УСТРОЙСТВО ОСАЖДЕНИЯ КАПЕЛЬ
(57) Реферат:
Устройство осаждения капель включает корпусную конструкцию, определяющую центральную плоскость и в этой плоскости направление удлинения канала, множество удлиненных каналов выброса капель, простирающихся через корпусную конструкцию параллельно центральной плоскости и в направлении удлинения канала, каждый канал, проходящий через центральную плоскость, смещен перпендикулярно центральной плоскости по отношению к смежному каналу, соответствующее сопло для выброса капель, сообщающееся с каждым каналом, активизирующие средства для генерирования звуковой волны в выбранном канале и тем самым выполнения выброса капель через соответствующее сопло, коллектор, простирающийся через корпусную конструкцию параллельно центральной плоскости и перпендикулярно направлению удлинения канала. Коллектор пересекает каждый канал для определения профиля конца канала, при этом профиль конца одного канала, по существу, является зеркальным изображением в центральной плоскости профиля конца смежного канала, так что коэффициент отражения звуковой волны границы между каждым каналом и коллектором, по существу, является одинаковым для всех каналов. В другом варианте выполнения устройство имеет первую группу каналов, смещенных относительно центральной плоскости в первом направлении смещения, перпендикулярном центральной плоскости, вторую группу каналов, смещенных относительно центральной плоскости во втором направлении смещения, перпендикулярном центральной плоскости, приводы, включающие соответствующие области пьезоэлектрического материала с электродами, подсоединенными для приема запускающих сигналов, при этом каждый привод после приема запускающего сигнала предназначен для генерирования звуковой волны в выбранном канале и тем самым выполнения выброса капель через соответствующее сопло, проводящей дорожкой, простирающейся, по меньшей мере, на части профиля конца каждого канала, причем коллектор пересекает каждый канал для определения профиля конца канала, с проводящей дорожкой, простирающейся, по меньшей мере, на части профиля конца каждого канала, при этом проводящие дорожки передают запускающие сигналы к электродам, причем профиль конца канала первой группы, по существу, представляет зеркальное изображение в центральной плоскости профиля конца канала второй группы. В следующем варианте выполнения устройство дополнительно включает электрически приводимое в действие средство для генерирования звуковой волны в выбранном канале и тем самым для выполнения выброса капель через соответствующее сопло, причем коллектор пересекает каждый канал первой группой каналов, имеющей коэффициент отражения звуковой волны на коллекторе, который отличается от коэффициента отражения звуковой волны на коллекторе второй группы каналов, первую электрическую запускающую цепь для генерирования первого запускающего сигнала, активизирующего каналы первой группы каналов, и вторую электрическую запускающую цепь для генерирования второго запускающего сигнала, активизирующего каналы второй группы каналов, при этом первая и вторая группы каналов активизируются поочередно, а первый запускающий сигнал отличается от второго запускающего сигнала в такой степени, которая является необходимой для обеспечения одинаковой скорости выброса капель из канала первой группы и канала второй группы. Способ осаждения капель, включающий операции создания корпусной конструкции, соответствующего сопла для выброса капель и коллектора. Применение устройства осаждения капель, включающего корпусную конструкцию, первую группу каналов, вторую группу каналов, соответствующее сопло для выброса капель, электрически приводимое в действие средство для генерирования звуковой волны, коллектор, причем применение включает операции поочередной подачи первого запускающего сигнала для активизирования выбранных каналов первой группы и второго запускающего сигнала для активизирования выбранных каналов второй группы, при этом первый запускающий сигнал отличается от второго запускающего сигнала в такой степени, которая является необходимой для обеспечения одинаковой скорости выброса капель из канала первой группы и канала второй группы. Устройство осаждения капель, включающее плату привода, включающую множество каналов, образованных с заранее заданным интервалом между каналами, причем каждый из упомянутых каналов имеет участок заранее заданной длины d1, при этом часть упомянутой длины имеет постоянную глубину и часть упомянутой длины имеет переменную глубину, плату сопла, образующую торцевую стенку упомянутых каналов привода, в котором упомянутые каналы привода включают средства модификации отражения звуковой волны, которые содержат канавку, простирающуюся поперек длины каналов привода. Также устройство имеет плату крышки, включающую множество каналов, образованных с заранее заданным интервалом между каналами и имеющих длину d2 канала, где d2 меньше, чем d1, при этом, по меньшей мере, один из каналов привода соединен по текучей среде, по меньшей мере, одним из упомянутых каналов крышки, плату сопла, образующую торцевую стенку упомянутых каналов привода и упомянутых каналов крышки, в котором, по меньшей мере, некоторые из упомянутых каналов привода включают средства модификации отражения звуковой волны, так что отражение звуковой волны канала выброса, образованного из канала привода, соединенного по текучей среде с каналом крышки, по существу, идентично отражению звуковой волны канала выброса, образованного из канала привода, который не соединен с каналом крышки. 7 н. и 14 з.п. ф-лы, 21 ил.
Настоящее изобретение относится к устройству осаждения капель, к головкам для струйной печати, в частности к головкам для струйной печати по сигналу запроса.
Для промышленной печати часто ключевым требованием является производительность печати. Для струйной печати задача увеличения до максимума площади печати в единицу времени может быть решена различными способами. Заслуживающим внимание показателем для производительности печати из всех подходов к решению этой задачи является общий объем чернил, поданный отдельным соплом в единицу времени. Будет оставаться, конечно, важным, чтобы производительность принтера оставалась точной, стабильной как при печати страницы, так и при печати от одного или от одного распечатанного изображения к другому изображению.
В известной конструкции образованы каналы в массе пьезоэлектрического материала, и капли чернил выбрасываются в результате воздействия звуковой волны в канале для чернил, генерированной отклонением стенок канала.
В патенте ЕРА было предложено смещать чередующиеся каналы для чернил. Эксперименты, однако, показали, что это смещение может привести к изменениям в рабочих характеристиках, и в частности к перепадам в скорости выброса чернил из соседних, смещенных каналов.
Согласно одному объекту изобретения предложено устройство осаждения капель, включающее корпусную конструкцию, определяющую центральную плоскость и в этой плоскости направление удлинения канала, множество удлиненных каналов выброса капель, простирающихся через корпусную конструкцию параллельно центральной плоскости и в направлении удлинения канала, причем каждый канал смещен относительно центральной плоскости по отношению к смежному каналу, соответствующее сопло для выброса капель, сообщающееся с каждым каналом, активизирующие средства для генерирования звуковой волны в выбранном канале и тем самым выполнения выброса капель через соответствующее сопло, коллектор, простирающийся через корпусную конструкцию параллельно центральной плоскости и перпендикулярно направлению удлинения канала, причем коллектор пересекает каждый канал для определения профиля конца канала, при этом профиль конца одного канала, по существу, является зеркальным изображением в центральной плоскости профиля конца смежного канала, так что коэффициент отражения звуковой волны границы между каждым каналом и коллектором, по существу, является одинаковым для всех каналов.
Настоящие заявители определили, что изменение в отражательной способности звуковой волны в устройствах смещенных каналов является важным фактором в скорости выброса капель, и этот объект настоящего изобретения тем самым обеспечивает преимущества смещенных каналов с гораздо меньшим, если оно вообще имеет место, изменением в скорости выброса капель.
Профиль конца каждого канала включает предпочтительно поверхность профиля, которая наклонена по отношению к направлению удлинения канала, при этом угол наклона поверхности профиля для одного канала равен и противоположен углу наклона смежного канала.
Наклонный профиль конца канала значительно способствует образованию проводящих дорожек, соединяющих электроды в каждом канале с цепями, генерирующими запускающие сигналы. Эти электропроводящие дорожки образованы соответствующим образом посредством осаждения непрерывного проводящего слоя и последующего удаления материала лазером.
Другим объектом изобретения является устройство осаждения капель, включающее корпусную конструкцию, определяющую центральную плоскость и в этой плоскости направление удлинения канала, множество удлиненных каналов выброса капель, простирающихся через корпусную конструкцию параллельно центральной плоскости и в направлении удлинения канала, первую группу каналов, смещенных относительно центральной плоскости в первом направлении смещения, перпендикулярном центральной плоскости, и вторую группу каналов, смещенных относительно центральной плоскости во втором направлении смещения, перпендикулярном центральной плоскости, соответствующее сопло для выброса капель, сообщающееся с каждым каналом, приводы, включающие соответствующие области пьезоэлектрического материала с электродами, подсоединенными для приема запускающих сигналов, при этом каждый привод после приема запускающего сигнала предназначен для генерирования звуковой волны в выбранном канале и тем самым для выполнения выброса капель через соответствующее сопло, коллектор, простирающийся через корпусную конструкцию параллельно центральной плоскости и перпендикулярно направлению удлинения канала, причем коллектор пересекает каждый канал для определения профиля конца канала с проводящей дорожкой, простирающейся, по меньшей мере, на части профиля конца каждого канала, причем эти проводящие дорожки передают запускающие сигналы к электродам, при этом профиль конца канала первой группы, по существу, представляет зеркальное изображение в центральной плоскости профиля конца канала второй группы, так что коэффициент отражения звуковой волны границы между каждым каналом и коллектором, по существу, одинаков для всех каналов.
Поперечное сечение коллектора является предпочтительно симметричным по отношению к центральной плоскости.
Еще одним объектом настоящего изобретения является устройство осаждения капель, включающее корпусную конструкцию, определяющую центральную плоскость и в этой плоскости направление удлинения канала, множество удлиненных каналов для выброса капель, простирающихся через корпусную конструкцию параллельно центральной плоскости и в направлении удлинения канала, первую группу каналов, смещенных относительно центральной плоскости в первом направлении смещения, перпендикулярном центральной плоскости, и вторую группу каналов, смещенных относительно центральной плоскости во втором направлении смещения, перпендикулярном центральной плоскости, соответствующее сопло для выброса капель, сообщающееся с каждым каналом, электрически приводимое в действие средство для генерирования звуковой волны в выбранном канале и тем самым для выполнения выброса капель через соответствующее сопло, коллектор, простирающийся через корпусную конструкцию параллельно центральной плоскости и перпендикулярно направлению удлинения канала, при этом коллектор пересекает каждый канал первой группой каналов, имеющей коэффициент отражения звуковой волны на коллекторе, который отличается от коэффициента отражения звуковой волны на коллекторе второй группы каналов, первую электрическую запускающую цепь для генерирования первого запускающего сигнала, активизирующего каналы первой группы каналов, и вторую электрическую запускающую цепь для генерирования второго запускающего сигнала, активизирующего каналы второй группы каналов, при этом первая и вторая группы каналов активизируются поочередно, а первый запускающий сигнал отличается от второго запускающего сигнала в такой степени, которая является необходимой для обеспечения одинаковой скорости выброса капель из канала первой группы и канала второй группы.
Первый запускающий сигнал отличается предпочтительно от второго запускающего сигнала по запускающему напряжению, по нарастанию импульса или по длительности импульса.
Еще одним объектом настоящего изобретения является способ осаждения капель, включающий операции создания корпусной конструкции, определяющей центральную плоскость и в этой плоскости направление удлинения канала, множества удлиненных каналов выброса капель, простирающихся через корпусную конструкцию параллельно центральной плоскости и в направлении удлинения канала, причем каждый канал является смещенным относительно центральной плоскости по отношению к смежному каналу, соответствующего сопла для выброса капель, сообщающегося с каждым каналом, и коллектора, простирающегося через корпусную конструкцию параллельно центральной оси и перпендикулярно направлению удлинения канала, при этом коллектор пересекает каждый канал для определения профиля конца канала, генерирования звуковой волны в первом канале и тем самым выполнения выброса капель через соответствующее сопло, генерирования звуковой волны во втором канале и тем самым выполнения выброса капель через соответствующее сопло, обеспечивая при этом равенство коэффициента отражения звуковой волны границы между первым каналом и коллектором и коэффициента отражения звуковой волны границы между вторым каналом и коллектором.
Еще одним объектом настоящего изобретения является применение устройства осаждения капель, включающего корпусную конструкцию, определяющую центральную плоскость и в этой плоскости направление удлинения канала, множество удлиненных каналов выброса капель, простирающихся через корпусную конструкцию параллельно центральной плоскости и в направлении удлинения канала, первую группу каналов, смещенных относительно центральной плоскости в первом направлении смещения, перпендикулярном центральной плоскости, и вторую группу каналов, смещенных относительно центральной плоскости во втором направлении смещения, перпендикулярном центральной плоскости, соответствующее сопло для выброса капель, сообщающееся с каждым каналом, электрически приводимое в действие средство для генерирования звуковой волны в выбранном канале и выполнения тем самым выброса капель через соответствующее сопло, коллектор, простирающийся через корпусную конструкцию параллельно центральной плоскости и перпендикулярно направлению удлинения канала, при этом коллектор пересекает каждый канал первой группой каналов, имеющих коэффициент отражения звуковой волны на коллекторе, который отличается от коэффициента отражения звуковой волны на коллекторе второй группы каналов, причем применение включает операции поочередной подачи первого запускающего сигнала для активизирования выбранных каналов первой группы и второго запускающего сигнала для активизирования выбранных каналов второй группы, при этом первый запускающий сигнал отличается от второго запускающего сигнала в такой степени, которая является необходимой для обеспечения одинаковой скорости выброса капель из канала первой группы и канала второй группы.
Первый запускающий сигнал отличается предпочтительно от второго запускающего сигнала по запускающему напряжению, по нарастанию импульса или по длительности импульса.
В одном варианте настоящее изобретение содержит устройство осаждения капель, включающее плату привода, включающую множество каналов, образованных с заранее заданным интервалом между каналами, причем каждый из упомянутых каналов имеет участок заранее заданной длины d1, при этом часть упомянутой длины имеет постоянную глубину и часть упомянутой длины имеет переменную глубину, плату сопла, образующую торцевую стенку упомянутых каналов привода и упомянутых каналов крышки, в котором упомянутые каналы привода включают средства модификации отражения звуковой волны.
В другом варианте настоящее изобретение содержит устройство осаждения капель, включающее плату привода, включающую множество каналов, образованных с заранее заданным интервалом между каналами, причем каждый из упомянутых каналов имеет заранее заданную длину d1, при этом часть упомянутой длины имеет постоянную глубину и часть упомянутой длины имеет переменную глубину, плату крышки, включающую множество каналов, образованных с заранее заданным интервалом между каналами и имеющих длину d2 канала, где d2 меньше, чем d1, при этом по меньшей мере, один из каналов привода точно совмещен с, по меньшей мере, одним из упомянутых каналов крышки, плату сопла, образующую торцевую стенку упомянутых каналов привода и упомянутых каналов крышки, в котором, по меньшей мере, некоторые из упомянутых каналов привода включают средства модификации отражения звуковой волны, так что отражение звуковой волны канала выброса, образованного из канала привода в совмещении с каналом крышки, по существу, идентично отражению звуковой волны канала выброса, образованного из канала привода, который не совмещен с каналом крышки.
Средства модификации отражения звуковой волны предпочтительно включают канавку, простирающуюся поперек длины каналов привода, причем канавка предпочтительно заполнена выбрасываемой текучей средой или акустически прозрачным твердым телом, таким как эпоксидное соединение или другой адгезив.
Настоящее изобретение будет далее описано лишь в качестве примера со ссылкой на следующие чертежи, на которых:
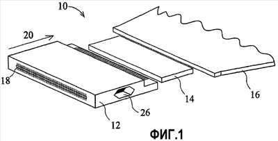
Фиг.1 – схематический вид устройства струйной печати согласно одному воплощению настоящего изобретения,
Фиг.2 – сечение в увеличенном масштабе через часть устройства струйной печати, показанного на фиг.1,
Фиг.3, 4 и 5 – схематичные виды, иллюстрирующие относительное расположение ключевых компонентов,
Фиг.6 – блок-схема, иллюстрирующая цепи запуска,
Фиг.7, 8 и 9 – диаграммы сигналов, иллюстрирующие альтернативные виды работы цепей запуска по фиг.6,
Фиг.10 – вид в изометрии с вырывом устройства струйной печати по сигналу запроса согласно другому воплощению настоящего изобретения,
Фиг.11 – диаграмма, иллюстрирующая расположение каналов и сопел в печатающей головке по фиг.10,
Фиг.12 – боковое сечение через печатающую головку по фиг.10,
Фиг.13 – вид сверху печатающей головки по фиг.10,
Фиг.14 и 15 – диаграммы, иллюстрирующие различные устройства смещенных каналов,
Фиг.16 и 17 – диаграммы, иллюстрирующие альтернативные дополнительные виды изобретения,
Фиг.18, 19, 20 и 21 – диаграммы, иллюстрирующие изготовление конструкций, показанных на фиг.16 и 17.
Обращаясь сначала к фиг.1, можно видеть, что печатающая головка 10 струей чернил по сигналу запроса включает корпусную конструкцию 12, запускающее устройство 14 интегральной схемы и печатную плату 16. Корпусная конструкция 12 образована со множеством параллельных каналов 18 для чернил, которые простираются в направлении, показанном стрелкой 20. Плата 22 сопел (см. фиг.2) закреплена на передней кромке корпусной конструкции 12 и определяет для каждого канала 18 сопло 24 для выброса чернил. Каждый канал 18 простирается от соответствующего сопла 24 к коллектору 26 для подачи или удаления чернил, который проходит через корпусную конструкцию 12 в направлении, перпендикулярном направлению 20, указанному стрелкой.
Как более четко показано на фиг.2, корпусная конструкция 12 образована из верхнего и нижнего слоев 30 и 32. В самом простом виде каждый из этих слоев 30, 32 образован из поляризованного пьезоэлектрического материала, такого как пьезоэлектрический преобразователь (ПЭП). Может оказаться удобным для каждого из этих двух слоев быть образованным из слоистого материала, включающего ПЭП на границе между слоями 30, 32 с соответствующей дополнительной подложкой, такой как подложка из оксида алюминия или стекла, каналы 18 для чернил образованы, например, распиливанием слоев 30 и 32. Как более четко показано на фиг.5 и 6, соседние каналы 18 смещены по отношению к центральной плоскости, образованной в этом примере границей между слоями 30 и 32. Таким образом, первая группа каналов (являющихся в одном примере каналами с нечетным числом) простирается на сравнительно короткое расстояние в слой 30 и на сравнительно большое расстояние в слой 32. Вторая группа каналов (являющихся в этом примере каналами с четным числом) простирается на сравнительно большое расстояние в слой 30 и на сравнительно короткое расстояние в слой 32. На фиг.2 показано сплошными линиями 18 местоположение относительно центральной плоскости каналов с четным числом, тогда как местоположение каналов с нечетным числом показано штриховыми линиями 18′.
Коллектор 26 для чернил образован выровненными и дополнительными канавками 34 и 36, вырезанными или иначе образованными в соответствующих слоях 32 и 30, каждая из канавок 34 и 36 имеет переднюю кромку 34, 36А, наклоненную под углом приблизительно 45 градусов к направлению 20, плоское основание 34, 36В и задний участок 34, 36С, аналогично наклоненный под углом приблизительно 45 градусов.
Стенки 50 из пьезоэлектрического материала (см., например, фиг.5) образованы между смежными каналами 18, и, как это хорошо известно из уровня техники, эти стенки из пьезоэлектрического материала выполняют функции приводов, чтобы реализовать выброс чернильных капель через сопло 24 соответствующего канала 18. Более конкретно, электрод 52, образованный на внутренних стенках каналов на или поблизости плоскости пересечения слоев 30 и 32, дает возможность приложения поля поперек противоположно поляризованным областям пьезоэлектрического материала, вызывающего деформацию стенок в шевронном образовании. [См., например, патентные документы ЕРА 703 и ЕРА 590.]
Подачей соответствующих запускающих сигналов к электродам 52 звуковую волну заставляют распространяться вдоль выбранного канала для чернил, что в результате приводит к выбросу капель чернил. Поведение этой звуковой волны в канале для чернил на конце канала, определенного платой 22 сопел и концом канала, определенного коллектором 26, является критическим для правильных и надежных рабочих характеристик печатающей головки. Две группы каналов (то есть, в этом случае каналов с нечетным числом и каналов с четным числом) имеют в результате их соответствующего смещения различные пересечения с коллектором 26 и соответственно различные профили конца канала. Фиг.3 схематически показывает канал с четным числом с его соответствующим профилем 54 конца канала. Фиг.4 аналогично показывает канал с нечетным числом с его соответствующим профилем 56 конца канала. На обеих фигурах 3 и 4 также показана линия 58, обозначающая плоскость пересечения слоев 30 и 32 или центральную плоскость. Следует заметить, однако, что профили конца канала двух групп каналов являются зеркальными изображениями друг друга в этой центральной плоскости. Это имеет очень важный результат, заключающийся в том, что коэффициент звукоотражения двух групп каналов на коллекторе 26 для чернил, по существу, является идентичным поперек всех каналов, несмотря на различные смещения.
Обеспечение таким образом идентичности отражения звуковой волны на коллекторе поперек всех каналов является ключевым фактором в поддержании однородной скорости выброса.
Наклонные поверхности 34А, которые составляют сравнительно большую часть профиля конца канала группы с нечетным числом каналов и сравнительно малую часть профиля конца канала группы с четным числом каналов, служат наиболее полезному их назначению. Они дают возможность формирования дорожек 60, которые простираются от электродов 50 к монтажным площадкам 62 проводных соединений для подсоединения к интегральной схеме, используя простые и надежные способы. Так, в одном примере дорожки могут быть сформированы осаждением соответствующего металлического материала на слой 32 с последующей обработкой лазером для удаления металлического материала, и сохранением дорожек, тесно расположенных, но надежно изолированных одна от другой. Электролизная металлизация никелем является предпочтительным техническим приемом для формирования непрерывного слоя. Должно быть понятно, что коллектор для чернил, который представлял вертикальную поверхность, обращенную к каналу для чернил, не просто обеспечит возможность проведения таких технических приемов.
В устройстве, в котором не может быть обеспечена с достаточной точностью идентичность отражения звуковой волны, будет возможно, как показано на фиг.6, предусмотреть две группы каналов, запускаемых различными сигналами, чтобы скомпенсировать любое изменение в отражении звуковой волны и тем самым обеспечить однородную скорость выброса капель. Таким образом, предусмотрена цепь 80 запуска со множеством соединений 82 с соответствующими монтажными площадками 62 проводных соединений, с двумя генераторами 82 и 84 сигнала запуска. Триггер 86 служит для поочередной подачи выходов этих двух генераторов сигнала запуска к цепи 80 запуска.
Цепь запуска выполнена с возможностью последовательно активизировать две группы каналов, а триггер 86 предназначен для синхронного объединения этих двух сигналов. Два сигнала могут отличаться по ряду параметров. Они могут отличаться, например, по напряжению запуска, и это показано на фиг.7, где один сигнал показан сплошной линией 88, а другой штриховой линией. Альтернатива показана на фиг.8, где сигналы отличаются по нарастанию импульса или по нарастанию импульса и его падению. В устройстве, показанном на фиг.9, сигналы отличаются по длительности импульса.
Со ссылкой на фиг.10, 11 и 12 будет описано другое воплощение струйного принтера согласно настоящему изобретению.
На основании 100 из оксида алюминия или другого соответствующего материала сформирован первый слой 102 пьезоэлектрического материала. Поверх этого слоя сформирован другой слой 104 пьезоэлектрического материала. Каналы 106 для чернил вырезаны или иначе образованы в этих двух пьезоэлектрических слоях 102, 104 способом, аналогичным способу, описанному со ссылкой на предыдущие фигуры.
Устройство смещения каналов 106 показано на фиг.11, где также показаны сопла 108. В этом случае сопла смещены сами по себе. Это является вариантом выбора, который может быть использован в ряде воплощений изобретения для компенсации какого-либо разделения на печатной среде капель, выброшенных из различных групп каналов.
Рамка 110 перемычки, соответственно, образована из пластика инжекционным формованием и сформирована на основании 100, причем эта рамка перемычки включает два параллельных концевых элемента 112 (лишь один из которых показан на фиг.10) и два параллельных поперечных элемента 114 и 116. Поперечный элемент 116 перемычки обращен к внутренним поверхностям кромки пьезоэлектрических слоев 102 и 104, и этими поверхностями кромки определяет коллектор 118 для чернил. Поверхность 102а кромки пьезоэлектрического слоя 102 наклонена под углом приблизительно 45° к основанию 100. Поверхность 104а кромки пьезоэлектрического слоя 104 наклонена под тем же самым и противоположным углом.
Интегральная схема 120 размещена между поперечными элементами 114 и 116 перемычки. Интегральная схема содержит цепи запуска для активизирования стенок, образованных между смежными каналами для чернил и описанных более подробно со ссылкой на предшествующее воплощение изобретения. Проводящие дорожки 122 простираются поперек верхней поверхности основания 100, за поперечным элементом 116 перемычки, поперек части основания 100, которая связывает коллектор 118 для чернил, и к верхней части наклонной поверхности 102а, чтобы подсоединиться к электродам, образованным внутри канала для чернил.
Набор металлических или пластмассовых слоев 124, 126 и 128 простирается поперек принтера. Наверху этого набора размещен слой 130 распорки, выполненный обычно из пластмассы, и металлическая плата 132 фильтра установлена наверху этого слоя распорки. Группа малых отверстий для впуска чернил образована в плате 132 фильтра. Впуск чернил образован через порт 136 с его соответствующей рамкой 138. Порт 138 для выпуска чернил сообщается со сравнительно большим отверстием 140, образованным в плате 132 фильтра и также в слоях 126 и 128 набора. За платой 132 фильтра образована область 142 выреза в слое 130 распорки. Эта область выреза сообщается с коллектором 118 для чернил посредством поперечного паза 144, вырезанного через набор 124, 126 и 128. Из конца печатающей головки, смежного пьезоэлектрическому материалу, в паз 142 простираются пальцы 146. Эти пальцы более четко показаны на фиг.11, и они проходят через слой 130 распорки и три слоя 124, 126 и 128 набора. Вдоль противоположного конца паза 144 образован уступ 148 удалением слоев 124 и 126. Простираясь в направлении назад от этого уступа, поперек элемента 116 перемычки и над интегральной схемой 120 и элементом 114 перемычки, образована траектория выпуска чернил удалением слоя 126. Эта траектория сообщается с отверстием 140. Таким образом, будет видно, что чернила протекают через порт 136 для впуска чернил, через отверстия 134 фильтра, поперек области 142 выреза и через паз 144, по существу, между пальцами 146 и уступом 148. Чернила проходят из коллектора 118 по траектории, определенной удалением слоя 126, к отверстию 140 и порту 138 для выпуска чернил.
Следует признать, что имеется много вариантов подачи чернил к коллектору и от него.
Будет полезным более подробно рассмотреть размеры смещенного канала.
Фиг.14 показывает устройство, в котором образован лишь один слой из двух ранее описанных слоев из пьезоэлектрического материала, им является плата 200 привода. Электроды 202 образованы на стенках платы привода, используя способ направленного вакуумного насаждения. Как показано на фигуре, в результате получено покрытие, простирающееся над различными секциями канала выброса, зависящее от глубины образованного канала в плате привода. Чем больше глубина канала, образованная каналом привода, тем в большей степени электрод простирается за центральный участок канала. Если меньше глубина канала, образованная каналом в плате привода, то покрытие простирается к основанию канала.
После срабатывания привода по фиг.14, и если DB=DC, то есть глубина каждого из каналов составляла 450 м с альтернативными каналами, простирающимися на 300 м в компонент платы 200 привода и на 150 м в крышку 204; и на 300 м в крышку, на 150 м в компонент привода соответственно, было обнаружено, что скорость капель значительно изменялась в зависимости от того, какой канал их выбросил. Заявитель полагает, что более высокая эффективность верхнего канала обусловлена, в частности, большим коэффициентом звукоотражения на конце канала крышки. Конец канала крышки оканчивается прямой кромкой, выходящей в коллектор подачи чернил, и это обеспечивает эффективную акустическую границу. Как было объяснено и как это известно из уровня техники, звуковая волна инициируется в канале выброса после перемещения стенок привода. Волна распространяется в направлении назад вдоль канала и отражается на акустической границе во время, являющееся функцией скорости звука в чернилах. Звуковая волна затем распространяется в прямом направлении вдоль канала и может быть усилена дополнительным перемещением стенок привода, и капли выбрасываются в соответствующий момент времени. Акустическая граница образуется всякий раз, когда имеет место изменение в акустическом сопротивлении, например, изменение в глубине чернил или резкий выход канала высокого сопротивления в камеру низкого сопротивления. Другие виды акустической границы хорошо известны из уровня техники. Заявитель полагает, что прямая кромка, перпендикулярная направлению длины канала, конца канала крышки более эффективно отражает звуковую волну, чем акустическая граница, образованная каналами привода. Был образован ряд печатающих головок, которые имели общую длину канала 550 м, но различную глубину каналов крышки и привода. Было неожиданно обнаружено, что скорость капель чернил, выброшенных из каналов, которые простираются на большее расстояние в компонент крышки, и из каналов, которые простираются на большее расстояние в компонент привода, может быть уравнена выбором соответствующих глубин и тем самым соответствующих площадей поперечного сечения каналов. В этом воплощении изобретения скорость можно уровнять на значении около 7,5 м/с, где образована длина канала в 550 м размерами 215 м и 335 м в компоненте крышки и компоненте привода и соответственно с альтернативными каналами, соответственно простирающимися на 335 м и 215 м в компонент крышки и компонент привода. Будет понятно, что имеется оптимальная конфигурация каналов для других глубин и ширин каналов.
Другим преимуществом смещенных каналов является то, что высокая частота может быть сохранена даже в случаях зависания процесса, то есть когда чернила выбрасываются из канала выброса с такой скоростью, что прерывается подача чернил к каналу выброса, и проблемы таких ситуаций могут быть решены благодаря установке канала выброса с большей площадью поперечного сечения.
Печатающие головки смещенного канала с монолитной консольной конструкцией, как показано на фиг.14, требуют более высокого запускающего напряжения для более низких каналов, чем печатающая головка смещенного канала шевронной конфигурации, использованная в ранее описанных воплощениях и показанная для сравнения на фиг.9. Здесь компонент 300 привода образован двумя платами 320, 322 из слоистого материала ПЭП (пьезоэлектрического преобразователя).
Клеевое соединение между двумя материалами противоположной полярности ПЭП размещено в центре подвижных частей стенок канала, и подвижные части стенок канала полностью покрыты электродами. В результате измерений было обнаружено, что шевронная конструкция по сравнению с монолитной конструкцией смещенного канала идентичной глубины обладала значительно возросшей эффективностью в образовании капель и позволяла снизить запускающее напряжение на более чем 10 В.
Теперь было обнаружено, что имеется возможность дополнительно улучшить характеристики выброса модификацией коэффициента звукоотражения каналов привода. На фиг.16 показана ситуация, где образована камера 325 акустического отражения в компоненте привода. Фиг.17 показывает ситуацию, где образована камера акустического отражения акустически прозрачным слоем 330 клея, простирающимся на расстояние (101000) м вдоль длины канала, причем это расстояние может быть выбрано рутинным экспериментированием для достижения требуемого звукоотражения.
Плата привода изготовлена согласно операциям, показанным на фиг.18 и 19. Опора 430 из материала, термически согласованного с материалом активного элемента 432 ПЭП, имеет плоский участок 434, на котором установлен ПЭП или слоистый материал ПЭП. ПЭП приклеен к опоре клеем 436, который является акустически прозрачным для чернил, которые будут использованы в приводе. Акустическая прозрачность означает, что масса клея создает тот же самый коэффициент звукоотражения, что и масса чернил. Клей должен быть химически инертным к чернилам. Глубина клея между задней частью ПЭП и опорой предпочтительно больше глубины клея между основанием ПЭП и опорой, так как это обеспечивает прочное соединение с опорой и при этом высокий коэффициент звукоотражения.
Соответствующая толщина клея на задней стороне привода ПЭП обеспечивает требуемый коэффициент звукоотражения. Каналы 438 распилены и простираются через ПЭП и клей в опору. Используются предпочтительно эпоксидные клеи.
Скорости капель чернил между верхними каналами (большее удлинение канала в компонент крышки) и нижними каналами (большее удлинение канала в компонент привода) могут быть выровнены при использовании 2 цикловой, 2 фазной последовательности возбуждения. Смежные верхние каналы активизируются при первом напряжении в первом цикле и на первой фазе последовательности возбуждения. Нижние каналы активизируются при более высоком напряжении на второй фазе и во втором цикле печатающей головки, что требуется для обеспечения равенства в характеристиках выброса верхних и нижних каналов. Этот технический прием можно использовать даже в случае, когда модифицированы характеристики звукоотражения, как описано выше. Как указано ранее, альтернативами для использования различных напряжений являются различные нарастания импульса или различные длительности импульса.
Образование таким образом компоненты привода и в этой конструкции обеспечивает все преимущества выбега, то есть участка переменной глубины на задней части канала выброса, с точки зрения технологичности, например, разделения пластины на кристаллы и распиливания, а также электрического соединения, вместе с улучшением коэффициента звукоотражения. Этот вариант привода был описан со ссылкой на смещенные каналы, однако модификации, относящиеся к улучшенной акустической границе в каналах привода, можно в равной степени применить и к каналам, не имеющим смещения, как показано, например, на фиг.20, где компонент крышки не имеет каналов, и на фиг.21, где компонент крышки снабжен каналами. Каналы, образованные в крышке, обеспечивают большую эффективность и снижают перекрестные помехи по каналам, образованным лишь в компоненте привода.
Хотя изобретение было проиллюстрировано с нечетными каналами, образующими одну группу, и с четными каналами, образующими другую, смещенную группу, для специалиста в данной области техники будут очевидными альтернативные устройства группирования. Эта модификация является одной из многих модификаций, которые могут быть сделаны без отхода от объема защиты и духа изобретения, определяемых формулой изобретения.
Каждый признак, описанный в тексте описания или формуле изобретения, может быть объединен с любым другим признаком или признаками в тексте описания или формуле изобретения без отхода от объема описанного здесь изобретения.
Формула изобретения
1. Устройство осаждения капель, включающее корпусную конструкцию, определяющую центральную плоскость и в этой плоскости направление удлинения канала, множество удлиненных каналов выброса капель, простирающихся через корпусную конструкцию параллельно центральной плоскости и в направлении удлинения канала, причем каждый канал, проходящий через центральную плоскость, смещен перпендикулярно центральной плоскости по отношению к смежному каналу, соответствующее сопло для выброса капель, сообщающееся с каждым каналом, активизирующие средства для генерирования звуковой волны в выбранном канале и тем самым выполнения выброса капель через соответствующее сопло, коллектор, простирающийся через корпусную конструкцию параллельно центральной плоскости и перпендикулярно направлению удлинения канала, причем коллектор пересекает каждый канал для определения профиля конца канала, при этом профиль конца одного канала, по существу, является зеркальным изображением в центральной плоскости профиля конца смежного канала, так что коэффициент отражения звуковой волны границы между каждым каналом и коллектором, по существу, является одинаковым для всех каналов.
2. Устройство по п.1, в котором профиль конца каждого канала включает поверхность профиля, которая наклонена по отношению к направлению удлинения канала, при этом угол наклона поверхности профиля для одного канала равен и противоположен углу наклона смежного канала.
3. Устройство по п.1 или 2, в котором электропроводящая дорожка простирается по части профиля конца канала для каждого канала.
4. Устройство по п.3, в котором упомянутые электропроводящие дорожки образованы осаждением непрерывного проводящего слоя и последующим удалением материала для оконтуривания дорожек.
5. Устройство по п.4, в котором упомянутый материал удален при лазерной обработке.
6. Устройство осаждения капель, включающее корпусную конструкцию, определяющую центральную плоскость и в этой плоскости направление удлинения канала, множество удлиненных каналов выброса капель, простирающихся через центральную плоскость корпусной конструкции параллельно центральной плоскости и в направлении удлинения канала, первую группу каналов, смещенных относительно центральной плоскости в первом направлении смещения, перпендикулярном центральной плоскости, и вторую группу каналов, смещенных относительно центральной плоскости во втором направлении смещения, перпендикулярном центральной плоскости, соответствующее сопло для выброса капель, сообщающееся с каждым каналом, приводы, включающие соответствующие области пьезоэлектрического материала с электродами, подсоединенными для приема запускающих сигналов, при этом каждый привод после приема запускающего сигнала предназначен для генерирования звуковой волны в выбранном канале и тем самым выполнения выброса капель через соответствующее сопло, коллектор, простирающийся через корпусную конструкцию параллельно центральной плоскости и перпендикулярно направлению удлинения канала, причем коллектор пересекает каждый канал для определения профиля конца канала, с проводящей дорожкой, простирающейся, по меньшей мере, на части профиля конца каждого канала, при этом проводящие дорожки передают запускающие сигналы к электродам, причем профиль конца канала первой группы, по существу, представляет зеркальное изображение в центральной плоскости профиля конца канала второй группы, так что коэффициент отражения звуковой волны границы между каждым каналом и коллектором, по существу, одинаков для всех каналов.
7. Устройство по п.6, в котором поперечное сечение коллектора симметрично по отношению к центральной плоскости.
8. Устройство по п.6 или 7, которое дополнительно включает первую электрическую запускающую цепь для генерирования первого запускающего сигнала, активизирующего каналы первой группы каналов, и вторую электрическую запускающую цепь для генерирования второго запускающего сигнала, активизирующего каналы второй группы каналов, при этом первая и вторая группы каналов активизируются поочередно, а первый запускающий сигнал отличается от второго запускающего сигнала в такой степени, которая является необходимой для обеспечения одинаковой скорости выброса капель из канала первой группы и канала второй группы.
9. Устройство по п.8, в котором первый запускающий сигнал отличается от второго запускающего сигнала по запускающему напряжению, по нарастанию импульса или по длительности импульса.
10. Устройство осаждения капель, включающее корпусную конструкцию, определяющую центральную плоскость и в этой плоскости направление удлинения канала, множество удлиненных каналов для выброса капель, простирающихся через центральную плоскость корпусной конструкции параллельно центральной плоскости и в направлении удлинения канала, первую группу каналов, смещенных относительно центральной плоскости в первом направлении смещения, перпендикулярном центральной плоскости, и вторую группу каналов, смещенных относительно центральной плоскости во втором направлении смещения, перпендикулярном центральной плоскости, соответствующее сопло для выброса капель, сообщающееся с каждым каналом, электрически приводимое в действие средство для генерирования звуковой волны в выбранном канале и тем самым для выполнения выброса капель через соответствующее сопло, коллектор, простирающийся через корпусную конструкцию параллельно центральной плоскости и перпендикулярно направлению удлинения канала, при этом коллектор пересекает каждый канал первой группой каналов, имеющей коэффициент отражения звуковой волны на коллекторе, который отличается от коэффициента отражения звуковой волны на коллекторе второй группы каналов, первую электрическую запускающую цепь для генерирования первого запускающего сигнала, активизирующего каналы первой группы каналов, и вторую электрическую запускающую цепь для генерирования второго запускающего сигнала, активизирующего каналы второй группы каналов, при этом первая и вторая группы каналов активизируются поочередно, а первый запускающий сигнал отличается от второго запускающего сигнала в такой степени, которая является необходимой для обеспечения одинаковой скорости выброса капель из канала первой группы и канала второй группы.
11. Устройство по п.10, в котором первый запускающий сигнал отличается от второго запускающего сигнала по запускающему напряжению, по нарастанию импульса или по длительности импульса.
12. Способ осаждения капель, включающий операции создания корпусной конструкции, определяющей центральную плоскость и в этой плоскости направление удлинения канала, множества удлиненных каналов выброса капель, простирающихся через центральную плоскость корпусной конструкции параллельно центральной плоскости и в направлении удлинения канала, причем каждый канал является смещенным относительно центральной плоскости по отношению к смежному каналу, соответствующего сопла для выброса капель, сообщающегося с каждым каналом, и коллектора, простирающегося через корпусную конструкцию параллельно центральной оси и перпендикулярно направлению удлинения канала, при этом коллектор пересекает каждый канал для определения профиля конца канала, генерирования звуковой волны в первом канале и тем самым выполнения выброса капель через соответствующее сопло, генерирования звуковой волны во втором канале и тем самым выполнения выброса капель через соответствующее сопло, обеспечивая при этом равенство коэффициента отражения звуковой волны границы между первым каналом и коллектором и коэффициента отражения звуковой волны границы между вторым каналом и коллектором.
13. Способ по п.12, в котором профиль конца каждого канала включает поверхность профиля, которая наклонена по отношению к направлению удлинения канала, при этом угол наклона поверхности профиля для одного канала равен и противоположен углу наклона смежного канала.
14. Применение устройства осаждения капель, включающего корпусную конструкцию, определяющую центральную плоскость и в этой плоскости направление удлинения канала, множество удлиненных каналов выброса капель, простирающихся через центральную плоскость корпусной конструкции параллельно центральной плоскости и в направлении удлинения канала, первую группу каналов, смещенных относительно центральной плоскости в первом направлении смещения, перпендикулярном центральной плоскости, и вторую группу каналов, смещенных относительно центральной плоскости во втором направлении смещения, перпендикулярном центральной плоскости, соответствующее сопло для выброса капель, сообщающееся с каждым каналом, электрически приводимое в действие средство для генерирования звуковой волны в выбранном канале и выполнения тем самым выброса капель через соответствующее сопло, коллектор, простирающийся через корпусную конструкцию параллельно центральной плоскости и перпендикулярно направлению удлинения канала, при этом коллектор пересекает каждый канал первой группой каналов, имеющих коэффициент отражения звуковой волны на коллекторе, который отличается от коэффициента отражения звуковой волны на коллекторе второй группы каналов, причем применение включает операции поочередной подачи первого запускающего сигнала для активизирования выбранных каналов первой группы и второго запускающего сигнала для активизирования выбранных каналов второй группы, при этом первый запускающий сигнал отличается от второго запускающего сигнала в такой степени, которая является необходимой для обеспечения одинаковой скорости выброса капель из канала первой группы и канала второй группы.
15. Применение по п.14, в котором первый запускающий сигнал отличается от второго запускающего сигнала по запускающему напряжению, по нарастанию импульса или по длительности импульса.
16. Устройство осаждения капель, включающее плату привода, включающую множество каналов, образованных с заранее заданным интервалом между каналами, причем каждый из упомянутых каналов имеет участок заранее заданной длины d1, при этом часть упомянутой длины имеет постоянную глубину и часть упомянутой длины имеет переменную глубину, плату сопла, образующую торцевую стенку упомянутых каналов привода, в котором упомянутые каналы привода включают средства модификации отражения звуковой волны, которые содержат канавку, простирающуюся поперек длины каналов привода.
17. Устройство осаждения капель, включающее плату привода, включающую множество каналов, образованных с заранее заданным интервалом между каналами, причем каждый из упомянутых каналов имеет заранее заданную длину d1, при этом часть упомянутой длины имеет постоянную глубину и часть упомянутой длины имеет переменную глубину, плату крышки, включающую множество каналов, образованных с заранее заданным интервалом между каналами и имеющих длину d2 канала, где d2 меньше, чем d1, при этом, по меньшей мере, один из каналов привода соединен по текучей среде, по меньшей мере, с одним из упомянутых каналов крышки, плату сопла, образующую торцевую стенку упомянутых каналов привода и упомянутых каналов крышки, в котором, по меньшей мере, некоторые из упомянутых каналов привода включают средства модификации отражения звуковой волны, так что отражение звуковой волны канала выброса, образованного из канала привода, соединенного по текучей среде с каналом крышки, по существу, идентично отражению звуковой волны канала выброса, образованного из канала привода, который не соединен с каналом крышки.
18. Устройство по п.17, в котором средства модификации отражения звуковой волны включают канавку, простирающуюся поперек длины каналов привода.
19. Устройство по п.16 или 18, в котором поперечная канавка заполнена выбрасываемой текучей средой.
20. Устройство по п.18, в котором поперечная канавка заполнена акустически прозрачным твердым телом.
21. Устройство по п.20, в котором акустически прозрачное твердое тело является адгезивным материалом, предпочтительно эпоксидным соединением.
РИСУНКИ
MM4A – Досрочное прекращение действия патента СССР или патента Российской Федерации на изобретение из-за неуплаты в установленный срок пошлины за поддержание патента в силе
Дата прекращения действия патента: 28.09.2008
Извещение опубликовано: 27.07.2010 БИ: 21/2010
|
|