|
|
(21), (22) Заявка: 2006124560/02, 08.12.2004
(24) Дата начала отсчета срока действия патента:
08.12.2004
(30) Конвенционный приоритет:
10.12.2003 US 10/732,555
(46) Опубликовано: 27.04.2008
(56) Список документов, цитированных в отчете о поиске:
US 3939560 А, 24.02.1976. WO 94/04116 А, 03.03.1994. US 5956849 А, 28.09.1999. ЕР 1287953 А, 05.03.2003. RU 2108233 С1, 10.04.1998. RU 2214903 С2, 27.10.2003.
(85) Дата перевода заявки PCT на национальную фазу:
10.07.2006
(86) Заявка PCT:
US 2004/041447 (08.12.2004)
(87) Публикация PCT:
WO 2005/058559 (30.06.2005)
Адрес для переписки:
129010, Москва, ул. Б.Спасская, 25, стр.3, ООО “Юридическая фирма Городисский и Партнеры”, пат.пов. С.А.Дорофееву
|
(72) Автор(ы):
АВИЗА Грегори Д. (US)
(73) Патентообладатель(и):
ДЗЕ ДЖИЛЛЕТТ КОМПАНИ (US)
|
(54) БРИТВЕННЫЕ СИСТЕМЫ
(57) Реферат:
Изобретение относится к режущим устройствам и может быть использовано для бритья. Система влажного бритья содержит корпус, элемент с лезвиями и элемент шелушения. Элемент с лезвиями установлен на корпусе. Элемент шелушения расположен вблизи элемента с лезвиями с возможностью регулирования его положения относительно корпуса. В результате обеспечивается улучшение внешнего вида кожи. 3 н. и 32 з.п. ф-лы, 16 ил.
Настоящее изобретение относится к бритвенным системам.
Шелушение может быть описано в целом как отслаивание чешуек или частиц омертвевшей кожи. Шелушение может улучшить внешний вид и ощущение кожи на ощупь. Шелушение может быть выполнено, например, с помощью косметических средств, которые включают в себя абразивные частицы, или путем натирания кожи абразивным материалом, таким как люфа.
Известно, что это улучшает осязательные характеристики системы влажного бритья. Например, Лайэлл в патенте США №3939560 описывает бритвенный прибор с неровной ограждающей поверхностью. Ограждающая поверхность по Лайэллу может быть сделана неровной путем ее обработки частицами или, с другой стороны, путем нанесения покрытия и насыщения его частицами.
Изобретение относится к бритвенным системам с регулируемыми элементами шелушения. Может оказаться желательным регулировать элементы шелушения, поскольку, например, различные пользователи могут выбрать различную степень шелушения.
В одном варианте изобретение предлагает систему влажного бритья с корпусом. На корпусе установлен элемент с лезвиями. Система влажного бритья включает в себя также элемент шелушения, расположенный вблизи элемента с лезвиями. Под словом «вблизи» подразумевается, что элемент шелушения может непосредственно прилегать к элементу с лезвиями или же может быть отделен от элемента с лезвиями промежутком, но все же быть достаточно близким к нему для того, чтобы выполнять в процессе бритья функцию шелушения. Положение элемента шелушения относительно корпуса может регулироваться с тем, чтобы изменять во время бритья усилие контакта между элементом шелушения и поверхностью кожи пользователя.
В другом варианте изобретение предлагает систему бритья с основной частью и кассетной частью, которая прикреплена к основной части. Элемент с лезвиями установлен на кассетной части. Бритвенная система включает также в себя ручку, которая отходит от основной части, и элемент шелушения, помещенный на ручке. Положение элемента шелушения относительно ручки может регулироваться.
Варианты воплощения изобретения могут включать в себя один или несколько признаков из числа следующих.
Положение элемента шелушения относительно корпуса может регулироваться для изменения площади поверхности элемента шелушения, которая соприкасается с кожей пользователя. Высота положения элемента шелушения относительно передней кромки элемента с лезвиями может регулироваться (например, для контроля давления). Может регулироваться угол наклона элемента шелушения относительно передней, взаимодействующей с кожей поверхности корпуса (например, контроля давления).
Бритвенная система может также включать в себя регулировочный механизм, который может регулировать положение элемента шелушения.
Регулировочный механизм может включать в себя кулачок, размещенный в полости, ограниченной элементом шелушения. В таких случаях регулировочный механизм может также включать в себя вал, первый конец которого соединяется с кулачком, а второй конец располагается снаружи корпуса. Кулачок может быть приспособлен к тому, чтобы приводиться в действие движением вала.
Регулировочный механизм может включать в себя связующее звено, которое соединяется с элементом шелушения первым концом и со скользящим исполнительным механизмом вторым концом. Скользящий исполнительный механизм может регулировать положение связующего звена.
Регулировочный механизм может включать в себя колесико, толщина которого варьируется по окружности. Первая часть колесика может располагаться под элементом шелушения, а вторая часть колесика может быть открыта, чтобы позволить пользователю вращать колесико. В таких случаях элемент шелушения может быть установлен на шарнире, а колесико может иметь такую конфигурацию, чтобы поворачивать элемент шелушения относительно шарнира.
Регулировочный механизм может включать в себя стержень, помещенный под элементом шелушения. Стержень может быть выполнен с возможностью приложения давления к элементу шелушения, когда стержень приводится пользователем в действие. В таких случаях элемент шелушения может быть установлен на шарнире. Стержень может иметь такую конфигурацию таким образом, чтобы поворачивать элемент шелушения относительно шарнира.
Регулировочный механизм может включать в себя регулируемую крышку (например, из прозрачной пластмассы). Пользователь может поместить крышку надо всей открытой поверхностью элемента шелушения, над ее частью или совсем ее не накрывать.
Регулировочный механизм может включать в себя штырь с винтовой резьбой, который соприкасается с элементом шелушения и размещается внутри маховика.
Регулировочный механизм может включать в себя пружину (например, волнистую пружину, цилиндрическую пружину), которая помещена под элементом шелушения.
Регулировочный механизм может включать в себя шарнир, ползун, рычаг (например, тот, который помещен под элементом шелушения), пружину, криволинейную поверхность, колесико или винт.
Элемент шелушения может включать в себя цилиндрический ролик, помещенный на валу (например, эксцентричном валу). В таких случаях регулировочный механизм может включать в себя колесико, которое предназначено для вращения вала. Цилиндрический ролик может иметь наружную поверхность с расположенными на ней по меньшей мере двумя различными видами элементов шелушения.
Элемент шелушения может включать в себя, например, пластину, ролик или подушку. Элемент шелушения может включать в себя изогнутую пластину.
Бритвенная система может также включать в себя ограждающую часть, которая прилегает к элементу шелушения.
Элемент шелушения может иметь поверхность шелушения, которая является абразивной поверхностью, формованной текстурированной поверхностью, сеткой, текстурированной металлической поверхностью и/или поверхностью из камня. Элемент шелушения может включать в себя абразивные частицы и/или волокна.
Элемент шелушения может включать в себя накопитель средства для бритья, который содержит средство для бритья.
Элемент шелушения может быть установлен неподвижно, и часть корпуса может двигаться относительно элемента шелушения.
Элемент шелушения может быть установлен неподвижно, и бреющая поверхность элемента с лезвиями может двигаться относительно элемента шелушения.
Варианты воплощения изобретения могут включать в себя одно или несколько из числа следующих преимуществ. Пользователь может отрегулировать и/или точно настроить степень шелушения для своего удобства. Путем использования регулируемого элемента шелушения пользователь может выбрать, например, или редкое шелушение с высоким уровнем шелушения, или частое шелушение с низким уровнем шелушения. Пользователь может регулярно осуществлять шелушение, не создавая значительного дискомфорта для кожи. Время, затраченное на заботу о коже, можно уменьшить, поскольку пользователь может осуществлять шелушение и бритье одновременно. Шелушащий материал может способствовать удалению волос, захваченных непосредственно под поверхностью кожи. Кроме того, шелушащий материал может удобно ориентировать волосы непосредственно перед тем, как волосы будут срезаны бритвенными лезвиями, что обеспечивает более гладкое и эффективное бритье.
Другие признаки и преимущества изобретения станут понятны из описания и чертежей, а также из формулы изобретения.
Описание чертежей
Фиг.1 и 1А – перспективный вид бритвенной системы;
фиг.2 – вид сбоку в частичном поперечном разрезе кассеты бритвенной системы с фиг.1 и 1А;
фиг.2А – вид в разрезе части кассеты с фиг.2, выполненный по линии 2А-2А;
фиг.2В – перспективный вид регулировочного механизма;
фиг.2С и 2D – перспективные виды в частичном поперечном разрезе регулировочного механизма с фиг.2В;
фиг.2Е – перспективный вид в частичном поперечном разрезе регулировочного механизма;
фиг.2F – перспективный вид регулировочного механизма с фиг.2Е;
фиг.3 – перспективный вид кассеты;
фиг.4 – перспективный вид кассеты;
фиг.4А – вид в поперечном разрезе части кассеты с фиг.4, выполненный по линии 4АВ-4АВ, когда кассета находится в первом положении;
фиг.4В – вид в поперечном разрезе части кассеты с фиг.4, выполненный по линии 4АВ-4АВ, когда кассета находится во втором положении;
фиг.5 – перспективный вид кассеты;
фиг.5А – вид в поперечном разрезе части кассеты с фиг.5, выполненный по линии 5А-5А;
фиг.6 – перспективный вид кассеты;
фиг.6А – вид в поперечном разрезе части кассеты с фиг.6, выполненный по линии 6А-6А;
фиг.7 – вид сбоку кассеты в частичном разрезе;
фиг.8 – перспективный вид кассеты;
фиг.9 – перспективный вид кассеты в частичном разрезе;
фиг.9А – вид сбоку в частичном разрезе части кассеты с фиг.9;
фиг.9В – вид сбоку в частичном разрезе регулировочного механизма;
фиг.9С – перспективный вид в частичном разрезе регулировочного механизма;
фиг.10 – перспективный вид кассеты;
фиг.11 – вид сбоку кассеты в частичном разрезе;
фиг.12 – перспективный вид кассеты;
фиг.13 – перспективный вид кассеты;
фиг.13А – вид в поперечном разрезе части кассеты с фиг.13, выполненный по линии 13А-13А;
фиг.14 – вид сбоку в частичном разрезе бритвенной системы;
фиг.14А – перспективный вид бритвенной системы с фиг.14;
фиг.15 – перспективный вид кассеты;
фиг.15А – вид в поперечном разрезе части кассеты с фиг.15, выполненный по линии 15АВ-15АВ, когда кассета находится в положении слабого шелушения;
фиг.15В – вид в поперечном разрезе части кассеты с фиг.15, выполненный по линии 15АВ-15АВ, когда кассета находится в положении сильного шелушения;
фиг.16 – перспективный вид кассеты;
фиг.16А и 16В – виды в частичном разрезе части кассеты с фиг.16, выполненные по линии 16АВ-16АВ.
Изобретение относится в целом к бритвенным системам с регулируемыми элементами шелушения. Элементы шелушения могут регулироваться вручную или автоматически.
На фиг.1 и 1А показана система влажного бритья с элементом шелушения, который может регулироваться вручную. На фиг.1 и 1А система влажного бритья 10 включает в себя бреющую часть 11, прикрепленную к ручке 14. Бреющая часть 11 имеет сменную кассету 12. В то время как система влажного бритья 10, показанная на фиг.1 и 1А, включает в себя сменную кассету, в некоторых вариантах реализации она может включать в себя бреющую головку, образующую одно целое с ручкой 14, так что после того, как лезвие или лезвия затупятся, выбрасывают всю бритву как одно целое.
Как показано на фиг.2, кассета 12 включает в себя корпус 16, который несет три лезвия 18 и ограждение 20. Каждое из лезвий 18 имеет переднюю кромку (LB1, LB2 или LB3). Передние кромки располагаются вдоль плоскости Р. Ограждение 20 имеет форму множества ребер 22, выполненных, например, из пластмассы (например, эластомера и/или уретана). Ребра 22 могут способствовать растягиванию кожи и/или ориентировать волосы в положении, оптимальном для бритья. В некоторых случаях ребра 22 могут уменьшить чувствительность кожи, чтобы повысить комфортность бритья. Хотя ограждение 20, показанное на фиг.2, включает в себя ребра, ограждение 20 может быть представлено многими другими вариантами геометрической формы. Например, в некоторых вариантах воплощения изобретения ограждение 20 может иметь форму подушки или гребня, состоящего из углублений или приподнятых поверхностей, таких как выпуклости.
Рядом с ограждением 20 находится элемент шелушения 24, который включает в себя шелушащие компоненты 26. На фиг.2 элемент шелушения 24 располагается перед лезвиями 18, так что кожа пользователя обычно будет входить в контакт с элементом шелушения до соприкосновения с лезвиями. Таким образом, кожа пользователя обычно будет подвергаться шелушению непосредственно перед бритьем. К подходящим шелушащим компонентам относятся описанные в совместной и находящейся одновременно на рассмотрении патентной заявке США №60/455646, поданной 18 марта 2003 г и озаглавленной «Бритвенные системы», все содержание которой настоящим включается в качестве ссылки. Элемент шелушения 24 может быть представлен, например, приподнятым абразивом (например, наждачной бумагой), композитом, содержащим наложенные волокна, щеткой (с абразивными элементами на щеточных волокнах и без них), формованной поверхностью (например, шероховатой формованной поверхностью), проволочной сеткой, шероховатой (например, протравленной) металлической поверхностью, камнем или материалом типа камня (например, пемзой), отдельными пальцами (например, пластмассовыми пальцами), отдельными шариками, поверхностью с покрытием, нанесенным напылением или погружением, тисненым пенопластом, тканой поверхностью (например, махровой тканью), или компонентом с крючками и/или петлями застежки «липучки» (например, застежки Velcro ).
Элемент шелушения 24 включает в себя открытую часть 28 и закрытую часть 30. Открытая часть 28 располагается на поверхности кассеты 12, так что она, подобно лезвиям 18 и ограждению 20, приспособлена для вхождения в контакт с кожей пользователя во время бритья. Закрытая часть 30 располагается внутри корпуса 16. Часть закрытой части может открыться при регулировании, как будет показано ниже.
Элемент шелушения 24 может быть отрегулирован механизмом регулирования вручную. На фиг.2 механизм регулирования вручную 32 включает в себя винт 34, ввинченный в держатель 35, и кулачок 36, соединенный с винтом 34. Кулачок располагается в полости 38 в закрытой части 30 элемента шелушения 24. Полосовая пружина 37 отжимает элемент шелушения 24 вверх и может стабилизировать элемент шелушения, когда пользователь прикладывает давление к части его поверхности. Полосовая пружина 37 может стабилизировать элемент шелушения 24 путем приложения распределенного восстанавливающего усилия по длине и ширине элемента шелушения. Кроме того, полосовая пружина 37 может помочь не допустить прилипания или заедания элемента шелушения 24 в корпусе 16. Хотя на фиг.2 показана полосовая пружина, в некоторых случаях элемент шелушения может отжиматься вверх, например, подушкой из пенопласта или формованными шевронами.
Как показано также на фиг.2А, когда пользователь вращает винт 34 между нулем и примерно 360 градусами, кулачок 36 поворачивается, нажимая на элемент шелушения 24 и вызывая таким образом его поперечное перемещение на расстояние D. Площадь поверхности открытой части 28 элемента шелушения 24 увеличивается или уменьшается при вращении кулачка 36, что зависит от положения кулачка 36 в полости 38. Положение открытой части относительно кожи пользователя также меняется при вращении кулачка. Когда элемент шелушения смещается максимально (т.е. когда он смещается на расстояние D), пользователь будет испытывать наибольшую степень интенсивности шелушения. Когда элемент шелушения 24 возвращается обратно в первоначальное положение, пользователь будет испытывать пониженную степень и интенсивность шелушения. Таким образом, путем регулирования элемента шелушения 24 пользователь может регулировать величину и/или силу контакта между элементом шелушения и кожей.
Однако кулачок необязательно должен иметь ту форму, которая показана на фиг.2 и 2А. Например, на фиг.2В-2D механизм регулирования вручную 701 включает в себя клиновидный кулачок 702 с криволинейной поверхностью и двумя по существу перпендикулярными плоскими сторонами 706 и 714. Клиновидная форма кулачка 702 вызывает перемещение элемента шелушения 716 вверх или вниз. Благодаря сторонам 706 и 714 кулачок может поворачиваться только приблизительно на 90 градусов перед тем, как его дальнейшее вращение будет прекращено. На фиг.2С сторона 706 кулачка 702 упирается в стенку 708, которая ограничивает полость 710 внутри элемента шелушения 716. Как показано на фиг.2D, когда пользователь поворачивает вручную винт 712 в направлении, указанном стрелкой А, сторона 706 теряет контакт со стенкой 708. После поворота кулачка 702 приблизительно на 90 градусов в контакт со стенкой 708 входит сторона 714. Таким образом, элемент шелушения 716 перемещается вверх и вниз в пределах расстояния, определяемого пределами, налагаемыми клиновидной формой кулачка 702. Одно из преимуществ такой компоновки заключается в том, что она позволяет пользователю знать, когда он или она достигает точек минимального и максимального шелушения.
В некоторых вариантах реализации, показанных здесь на фиг.2Е и 2F, механизм регулирования вручную 750 включает в себя многогранный кулачок 754 с тремя в общем плоскими поверхностями 758, 759 и 762. Когда пользователь вращает винт 766, пользователь может ощущать, когда элемент шелушения 770 находится в точке минимального шелушения, в точке максимального шелушения и в точке промежуточного шелушения. В то время как показанный на фиг.2Е и 2F многогранный кулачок имеет три в общем плоские поверхности, в других вариантах реализации он может иметь больше трех в общем плоских поверхностей (например, три, четыре, пять, шесть в общем плоских поверхностей). С таким кулачком пользователь может определить, когда он или она достигает различных уровней шелушения.
Хотя механизмы регулирования вручную, показанные на фиг.2-2F, содержат каждый винт и кулачок, возможные многие иные виды механизмов регулирования вручную. Например, на фиг.3 кассета 12 имеет механизм регулирования вручную 40, который включает в себя скользящий исполнительный механизм 42. Скользящий исполнительный механизм 42 имеет маховичок, соединенный с одним концом соединительного звена 48. Соединительное звено 48 помещено в пазу 44 и соединяется другим своим концом с элементом шелушения 24. Паз 44 имеет диагональную форму. Таким образом, когда пользователь перемещает скользящий исполнительный механизм 42 по диагонали в пазу 44 (как показано стрелками А1), элемент шелушения перемещается поперек, в направлении стрелок А2. Механизм регулирования вручную 40 может обеспечить пользователя относительно простым средством регулирования элемента шелушения 24. В некоторых случаях под элементом шелушения 24 может быть помещено отжимающее средство, такое как пружина (не показана). Отжимающее средство может стабилизировать элемент шелушения за счет более плотной установки элемента шелушения в корпусе 16. В некоторых вариантах реализации удерживанию элемента шелушения в нужном положении могут способствовать нажимные фиксаторы. Например, паз 44 может содержать фиксаторы, так что скользящий исполнительный механизм 42 не движется в пазу 44 так же легко и/или быстро, как в случае, когда в пазу не содержится фиксаторов.
На фиг.4 показан другой вариант реализации механизма регулирования вручную. Механизм регулирования вручную 50 включает в себя шарнир 52 и колесный исполнительный механизм 54. Как показано на фиг.4А и 4В, колесный исполнительный механизм 54 на некоторых участках толще, чем на других. Таким образом, когда пользователь вращает колесный исполнительный механизм 54, элемент шелушения 24 движется вверх или вниз, в зависимости от толщины части колесного исполнительного механизма 54 под элементом шелушения. На фиг.4А самая толстая часть колесного исполнительного механизма 54 располагается под элементом шелушения 24, так что элемент шелушения располагается в самом верхнем положении. На фиг.4А самая тонкая часть колесного исполнительного механизма 54 располагается под элементом шелушения 24, так что элемент шелушения располагается в самом нижнем положении.
Шарнир 52 образует точку вращения, позволяя элементу шелушения 24 смещаться вверх или вниз в форме махового движения. Когда элемент шелушения смещается, изменяется угол между элементом шелушения 24 и передней взаимодействующей с кожей поверхностью LC корпуса кассеты 16. На фиг.4А угол Х между элементом шелушения и передней взаимодействующей с кожей поверхностью LC является положительным, поскольку плоскость элемента шелушения располагается выше передней взаимодействующей с кожей поверхностью LC. На фиг.4В угол Х’ между элементом шелушения и передней взаимодействующей с кожей поверхностью LC является отрицательным, поскольку плоскость элемента шелушения располагается ниже передней взаимодействующей с кожей поверхностью LC. Таким образом, открытая часть 28 элемента шелушения 24 на фиг.4А имеет большую поверхность, чем открытая часть 28′ элемента шелушения на фиг.4В.
Углы Х и Х’ могут составлять от приблизительно -7 градусов до приблизительно 7 градусов (например, около 7 градусов, около -7 градусов). Когда элемент шелушения 24 и передняя взаимодействующая с кожей поверхность LC ориентированы согласно фиг.4А (т.е. под углом Х относительно друг – друга), пользователь обычно будет испытывать относительно высокую степень шелушения. Когда элемент шелушения 24 и передняя взаимодействующая с кожей поверхность LC ориентированы согласно фиг.4В (т.е. под углом Х’ относительно друг – друга), пользователь обычно будет испытывать относительно низкую степень шелушения. Таким образом, путем регулирования угла между элементом шелушения и передней взаимодействующей с кожей поверхностью пользователь может регулировать степень шелушения таким образом, чтобы удовлетворить свои предпочтения.
На фиг.5 элементом шелушения 60 является цилиндрический ролик, который приводится во вращение механизмом регулирования вручную 61, который включает в себя колесико 62. Колесико 62 размещается в углублении 63 в корпусе 16 картриджа. В некоторых случаях положение колесика на фиг.5 может вызвать непреднамеренное зацепление и вращение колесика во время бритья. Таким образом, при желании, кассета 12 может включать в себя фиксаторы, фрикционную муфту и/или другие средства уменьшения вероятности случайного зацепления и вращения колесика 62. В некоторых вариантах реализации колесико 62 может быть помещено в таком месте на кассете 12, которое отличается от положения колесика 62, показанного на фиг.5.
Как показано также на фиг.5А, элемент шелушения 60 имеет особые участки 64, 66 и 68. Когда пользователь с помощью колесика 62 поворачивает элемент шелушения 60, может измениться участок или участки элемента шелушения 60, обращенные к коже пользователя. Например, с помощью колесика 62 пользователь может повернуть элемент шелушения 60 таким образом, что участок 66, который первоначально был обращен к коже пользователя, скрывается, а к коже пользователя теперь обращен участок 68.
Участки 64, 66 и 68 могут включать в себя различное количество шелушащих компонентов. Например, участок 64 может включать в себя относительно небольшое количество шелушащих компонентов и, соответственно, может обеспечивать низкий уровень шелушения. В то же время участок 66 может включать в себя промежуточное количество шелушащих компонентов и, соответственно, может обеспечивать промежуточный уровень шелушения. И в то же время участок 68 может включать в себя большое количество шелушащих компонентов и, соответственно, может обеспечивать относительно высокий уровень шелушения. Таким образом, пользователь может варьировать величину контакта между элементом шелушения 60 и кожей путем вращения колесика 62 с целью получения воздействия участка, в наибольшей степени соответствующего нужной пользователю степени шелушения.
В некоторых случаях участки 64, 66 и 68 могут включать в себя различные виды элементов шелушения для получения различных уровней шелушения. Например, участок 64 может включать в себя измельченные фруктовые косточки (например, измельченные абрикосовые косточки), в то время как участок 66 включает в себя измельченную ореховую скорлупу (например, измельченную скорлупу грецких орехов), а участок 68 включает в себя измельченный или волокнистый растительный материал (например, люфу).
В некоторых вариантах реализации различные участки элемента шелушения 60 могут иметь различную окраску. Например, участок с относительно низкой силой шелушения может быть белым, в то время как участок с промежуточной силой шелушения является светло-голубым, а участок с большой силой шелушения – темно-голубым. В некоторых случаях цвет участка может указывать на тип шелушащих компонентов, присутствующих на этом участке. Например, участок, который содержит семена авокадо, может иметь зеленый цвет.
В то время как на фиг.5 и 5А показаны три особых участка элемента шелушения 60, элемент шелушения может иметь большее или меньшее количество особых участков шелушения (например, один особый участок, два особых участка, четыре особых участка, пять особых участков, шесть особых участков).
На фиг.6 показан другой механизм регулирования вручную. На фиг.6 элементом шелушения 80, подобно элементу шелушения 60 на фиг.5, является цилиндрический ролик. Однако элемент шелушения 80 имеет по всей своей поверхности в общем одинаковую плотность шелушащих компонентов. Механизм регулирования вручную 100 включает в себя колесико 102, соединенное с первым эксцентричным валом 104 (фиг.6А), который, в свою очередь, соединен с одной стороной элемента шелушения 80. С другой стороны элемента шелушения 80 второй эксцентричный вал 106 соединен с элементом шелушения одним концом и с корпусом 16 – другим концом. Когда пользователь поворачивает колесико 100, элемент шелушения 80 движется в поперечном направлении, указанном стрелками А3. Таким образом, пользователь может вручную варьировать степень и интенсивность шелушения. Как было показано выше в отношении фиг.5, при желании кассета 12 может включать в себя, например, фиксаторы, фрикционную муфту и/или другие средства уменьшения вероятности случайного зацепления и вращения колесика 100. В некоторых вариантах реализации колесико 100 может быть помещено в таком месте на кассете 12, которое отличается от показанного на фиг.6.
Все указанные варианты реализации кассеты снабжены элементами шелушения, расположенными перед лезвиями (т.е. таким образом, что кожа пользователя обычно приходит в соприкосновение с элементом шелушения до того, как прийти в соприкосновение с лезвиями). Такое расположение элемента шелушения может позволить пользователю хорошо контролировать шелушение. В некоторых случаях пользователь может изменять и контролировать место и давление шелушения более легко, чем в том случае, когда элемент шелушения располагается где-нибудь в другом месте. Когда элемент шелушения располагается перед лезвиями, он может помочь ограждению 20 растягивать кожу и/или протягивать волосы для облегчения бритья. В некоторых случаях, когда элемент шелушения располагается перед лезвиями, пространство позади лезвий доступно, например, для воздействия накопителя смазывающего или увлажняющего средства для бритья (описано ниже), которое может впитываться кожей после бритья.
Хотя показанные выше варианты реализации кассеты имеют элементы шелушения, расположенные перед лезвиями, возможны и другие геометрические формы. Например, на фиг.7 показан вариант реализации кассеты, при котором элемент шелушения 24 размещается позади лезвий 18. Таким образом, когда пользователь бреется бритвой, кожа пользователя обычно будет входить в соприкосновение с лезвиями 18 до того, как войти в соприкосновение с элементом шелушения 24. Когда элемент шелушения располагается позади лезвий, пространство перед лезвиями может использоваться для других видов заботы о коже (таких как накопитель смазывающего и увлажняющего средства для бритья, описанный ниже). В дополнение элемент шелушения, который расположен позади лезвий, может затупить или иным образом сгладить кромки волос, только что срезанных лезвиями. Кроме того, когда элемент шелушения располагается позади лезвий, он может способствовать очистке и/или умягчению кожи после бритья.
Показанный на фиг.7 механизм регулирования вручную 130 включает в себя толкатель 132 с исполнительной лапкой 134 и фиксаторами 136. Фиксаторы 136 взаимодействуют с пазами 138 в корпусе кассеты 16. Толкатель 132 скошен на одном конце, образуя наконечник 140, который соприкасается с элементом шелушения 24. Элемент шелушения 24 установлен на одном конце действующего шарнира 142, так что элемент шелушения повторяет движения действующего шарнира. Когда пользователь продвигает толкатель 132 по горизонтали (как показано стрелками), элемент шелушения соответственно движется вверх или вниз, поворачиваясь в точке действующего шарнира 142.
Как показано на фиг.8, в некоторых случаях механизмом регулирования вручную элемента шелушения 24 является крышка, которая может закрывать весь элемент шелушения 24, его часть или совсем его не закрывать. На фиг.8 элемент шелушения 24 включает в себя регулируемую крышку 160. Крышка 160 может быть выполнена, например, из прозрачного материала (например, прозрачной пластмассы, такой как полипропилен), так что пользователю может быть видна степень, в которой закрыт элемент шелушения. Крышку 160 регулируют с помощью рычага 164, который располагается в прорезанном пазу 168. Пользователь может регулировать положение рычага 164 в прорезанном пазу 168 для того, чтобы изменить степень, в которой крышка 160 накрывает элемент шелушения 24. Таким образом, пользователь может регулировать величину контакта между элементом шелушения 24 и кожей. Крышка 160 может использоваться для защиты элемента шелушения 24, когда не используется система влажного бритья 10.
На фиг.9 и 9А показан другой вариант реализации механизма регулирования вручную. На фиг.9 и 9А механизм регулирования вручную 180 включает в себя штырь 182, который закреплен относительно маховика 184. Часть штыря 182 имеет резьбу, которая ввинчена в соответствующую резьбу элемента шелушения 24. Когда пользователь вращает маховик 184, штырь 182 движется, вызывая подъем или опускание элемента шелушения 24.
Хотя штырь с фиг.9 и 9А только частично снабжен резьбой, в некоторых случаях она может идти по всей длине. Например, внутренняя поверхность маховика также может быть снабжена резьбой, а элемент шелушения может быть неподвижно закреплен на штыре. Когда пользователь вращает маховик, штырь движется вверх и вниз, вызывая таким образом и движение элемента шелушения. Таким образом, в этом варианте реализации элемент шелушения остается неподвижным относительно штыря (в то время как в варианте реализации, показанном на фиг.9 и 9А, элемент шелушения движется вверх и вниз вдоль штыря).
Как показано на фиг.9С, в некоторых случаях элемент шелушения сам образует штырь. На фиг.9С элемент шелушения 24 включает в себя часть, которая образует штырь 194. Когда пользователь вращает маховик 196, штырь 194 (и, следовательно, весь элемент шелушения 24) перемещается вверх и вниз.
В то время как регулировочные механизмы, показанные выше со ссылкой на фиг.1-9С, являются механизмами регулирования вручную, в некоторых случаях элементы шелушения вручную могут регулироваться автоматически, с целью изменения величины и/или силы контакта между элементами шелушения и кожей пользователя.
Например, и как показано на фиг.10, механизм автоматического регулирования 200 включает в себя полосовую пружину 208, помещенную в корпусе 16 под элементом шелушения 24. Полосовая пружина 204 может быть выполнена из упругого материала (например, пружинной стали). Полосовая пружина 204 может служить вспомогательным приспособлением, позволяя пользователю не прикладывать слишком большое давление к коже во время шелушения. Другими словами, полосовая пружина 204 может позволить элементу шелушения 24 оставаться заглубленной в корпус 16. Таким образом, пользователь может быть защищен от того, чтобы испытывать излишне агрессивное шелушение (например, по сравнению с шелушением, которое пользователь может испытать при пользовании фиксированной шелушащей подушкой). Хотя на фиг.10 показана полосовая пружина, в некоторых случаях регулировочный механизм 20 может включать в себя, например, упругую пену (состоящую, например, из пены с замкнутыми ячейками или открытыми ячейками), или шевроны, образующие одно целое с основанием элемента шелушения 24.
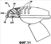
На фиг.11 показан вариант реализации кассеты, сходный с показанным на фиг.10. На фиг.11 кассета 12 включает в себя полосовую пружину 220, расположенную в полости 224, находящейся в корпусе 16 под элементом шелушения 24. Однако на фиг.11 элемент шелушения 24 размещается позади лезвий 18, так что, когда пользователь бреется бритвой, кожа пользователя обычно войдет в соприкосновение с лезвиями 18 до того, как войти в соприкосновение с элементом шелушения 24.
Механизм автоматического регулирования, однако, необязательно должен быть представлен полосовой пружиной. Для использования с элементом шелушения 24 подходят различные виды пружин и механизмов типа пружин. На фиг.12, например, показан механизм автоматического регулирования 250, который включает в себя цилиндрическую пружину 254, расположенную под частью элемента шелушения 24. Элемент шелушения 24 прикреплен к корпусу 16 шарнирами 258. Когда пользователь прижимает элемент шелушения 24 к своей коже, цилиндрическая пружина 254 смягчает воздействие элемента шелушения на кожу. Цилиндрическая пружина 254 может быть прикреплена к нижней стороне элемента шелушения 24 или может быть сформована как одно целое (например, как шеврон или шевроны) с элементом шелушения 24. Цилиндрическая пружина может служить вспомогательным приспособлением, позволяя пользователю не прикладывать слишком большое давление к коже во время шелушения. Другими словами, цилиндрическая пружина 254 может позволить элементу шелушения 24 оставаться заглубленной в корпус 16. Таким образом, пользователь может испытывать менее агрессивное шелушение, когда сильнее прижимает свою кожу к элементу шелушения.
Хотя на фиг.10-12 показаны полосовые и цилиндрические пружины, и другие компоненты с пружинными характеристиками могут давать результат, сходный с результатом действия полосовых или цилиндрических пружин. Например, регулировочным механизмом может служить пенный материал, такой как полиолефиновая пена (например, Volara®, которую поставляет фирма Voltek), полиэтиленовая пена (например, Minicel®, которую поставляет фирма Voltek) или ячеистая уретановая пена (например Poron®, которую поставляет фирма Rogers Corporation).
Другой вариант реализации механизма автоматического регулирования показан на фиг.13 и 13А. На фиг.13 и 13А регулировочный механизм включает в себя стержень 304. Стержень соединяется одним концом с элементом шелушения 24, который имеет форму изогнутой пластины. Своим другим концом стержень 304 проходит сквозь нижнюю поверхность 306 корпуса 16 кассеты. Когда пользователь втягивает стержень 304, элемент шелушения уходит в выемку, или положение Р1 «отключен», так что пользователь будет испытывать небольшое шелушение или совсем его не испытывать. Когда пользователь нажимает на стержень 304, элемент шелушения выступает наружу, или в положение Р2 «включен», так что пользователь будет испытывать шелушение.
В некоторых случаях регулировочный механизм элемента шелушения может располагаться на ручке системы влажного бритья. В такой системе менее вероятно случайное приведение пользователем во время бритья в действие регулировочного механизма, чем в случае, когда регулировочный механизм располагается в кассете.
Например, как показано на фиг.14 и 14А, бреющая часть 11 соединяется с ручкой 14 и включает в себя кассету 12. Механизм регулирования вручную 400 включает в себя винт 404, который ввинчен в ручку 14, и рычаг 412, который находится в контакте с концом 408 винта 404. Рычаг находится также в контакте с элементом шелушения 24. Когда пользователь вращает винт 404, рычаг 412 движется и вызывает осевое перемещение элемента шелушения 24.
В некоторых случаях система влажного бритья 10 может включать в себя один элемент шелушения на бреющей части 11 и другой элемент шелушения на ручке 14. Например, бреющая часть 11 может иметь элемент шелушения с использованием в качестве шелушащих компонентов гранул семян авокадо, в то время как на ручке 14 имеется элемент шелушения с использованием в качестве шелушащих компонентов капсул альфаоксикислоты.
Элемент шелушения может иметь любую текстуру, подходящую для шелушения. Элемент шелушения может иметь относительно гладкую шелушащую текстуру, такую как текстура тонкого нетканого волокна, или же может иметь относительно грубую шелушащую текстуру, такую как текстура пемзы.
Шелушащие компоненты элемента шелушения могут быть любыми из большого количества шелушащий компонентов различных типов. Например, шелушащие компоненты могут включать в себя абразивные частицы, такие как измельченные фруктовые косточки и камень (например, косточки абрикоса, персика, авокадо или оливок или камни), измельченную ореховую скорлупу (например, скорлупу грецкого ореха, миндаля, кокосового ореха или ореха пекан), измельченный или волокнистый растительный материал (например, люфа, солома злаковых, овсяная мука), полимерные шарики или гранулированные полимеры (например, полистироловые шарики, полиэтиленовые шарики), шарики из масла жожобы, рисовые отруби, кремнезем, минералы, гранулированные минеральные составы (например, песок, пемзовый песок), глина или их сочетания. Шелушащие компоненты могут быть растворимыми. Шелушащие компоненты могут быть материалами (например, морской солью), которые являются абразивными при первом контакте с кожей пользователя, но позже растворяются при контакте с водой или бритвенными кремами и гелями.
В некоторых случаях шелушащие компоненты могут включать в себя химические шелушители, такие как альфа- или бетаоксикислоты (например, лимонную кислоту, молочную кислоту, гликолевую кислоту, винную кислоту). В таких случаях химические шелушители могут содержаться в микрокапсуле, которая разрушается во время бритья, высвобождая шелушитель. В этом случае обычно желательно использовать накопительный материал, который разрушается и растворяется во время бритья, так что наружу выходят новые микрокапсулы, которые заменяют те, которые уже разрушены. Подходящие размеры капсул могут находиться в диапазоне от менее чем 50 мкм до приблизительно 1000 мкм. Применение микрокапсул может помочь защитить шелушитель, например, путем защиты чувствительных к теплу кислот от разложения во время операций экструзии или формовки.
В целом подходящие шелушащие компоненты обладают твердостью, шероховатостью и/или клейкостью, достаточными для того, чтобы позволить шелушащему компоненту удалить во время бритья свободные чешуйки кожи. Шелушащие компоненты могут быть достаточно твердыми, так что они не разрушаются во время бритья, или же, при желании, они могут быть мягче.
Элемент шелушения может иметь ширину от приблизительно 2 мм до приблизительно 10 мм и длину от приблизительно 20 мм до приблизительно 40 мм. Когда элемент шелушения имеет форму цилиндра, цилиндр может иметь диаметр от приблизительно 4 мм до приблизительно 8 мм. Толщина элемента шелушения может составлять от приблизительно 0,25 мм до приблизительно 10 мм.
Высота открытой части элемента шелушения относительно плоскости, в которой лежат передние кромки лезвий, может регулироваться по направлению вверх или вниз на величину предпочтительно меньше примерно 2 мм и предпочтительно меньше чем примерно 1 мм. Угол наклона элемента шелушения относительно передней взаимодействующей с кожей поверхностью корпуса кассеты может регулироваться в пределах от приблизительно -15 градусов до приблизительно 15 градусов.
Возможны другие варианты реализации.
Например, как показано на фиг.15-15В, в некоторых случаях степень шелушения, которую обеспечивает бритвенная кассета, регулируется перемещением кассетного компонента, а не элемента шелушения. На фиг.15-15В кассета 12 включает в себя элемент шелушения 502, который состоит из шести пятен шелушения 506. Хотя на фиг.15-15В показаны шесть пятен шелушения 506, элемент шелушения может включать в себя меньшее число (например, одно, два, три, четыре, пять) пятен шелушения или большее число (например, семь, восемь, девять, десять) пятен шелушения. Пятна шелушения 506 окружены рамкой 510 (выполненной, например, из пластмассы), которую можно перемещать колесным исполнительным механизмом 514. Как показано на фиг.15А и 15В, колесный исполнительный механизм 514 на отдельных участках имеет большую толщину, чем на других. Таким образом, когда пользователь вращает колесный исполнительный механизм 514, рамка 510 движется вверх или вниз, в зависимости от толщины части колесного исполнительного механизма, находящейся под рамкой. Когда рамка 510 находится заподлицо с пятнами шелушения 506 (как на фиг.15А), пользователь обычно будет испытывать низкую степень шелушения. В отличие от этого, когда рамка 510 располагается над самой тонкой частью колесного исполнительного механизма 514 (как показано на фиг.15В), пользователь обычно будет испытывать высокую степень шелушения. Хотя это и не показано на фиг.15-15В, в некоторых случаях рамка 510 может быть сдвинута в более высокое положение по отношению к пятнам шелушения, так что пятна мало или совсем не соприкасаются с кожей пользователя.
В некоторых вариантах реализации элемент шелушения может включать в себя накопитель смазывающего и увлажняющего средства для бритья со средством для бритья. В некоторых случаях накопитель смазывающего и увлажняющего средства для бритья со средством для бритья может быть помещен рядом с элементом шелушения. Накопители средства для бритья со средством для бритья описаны в совместной и находящейся одновременно на рассмотрении патентной заявке США №60/455646, все содержание которой настоящим включается в качестве ссылки.
В одной кассете может использоваться несколько (например, по меньшей мере два) элемента шелушения. Например, кассета может иметь три расположенных рядом элемента шелушения. Элементы шелушения могут располагаться в общем вдоль одной плоскости или могут располагаться в разных плоскостях. Например, элементы шелушения могут располагаться в форме криволинейной шелушащей поверхности, удобной для оконтуривания. Элементы шелушения могут иметь одинаковую или различную текстуру и/или степень шероховатости. Элементы шелушения могут быть выполнены из одинакового или различных материалов. В некоторых вариантах реализации элементы шелушения могут иметь различные регулировочные механизмы.
В некоторых вариантах реализации, и как показано на фиг.16-16В, пружина, помещенная под элементом шелушения, может быть предварительно нагружена. Иными словами, пружина может быть несколько сжата между элементом шелушения и телом кассеты, так что пружина уже «нагружена» до того, как пользователь нажмет на элемент шелушения. На фиг.16 и 16А регулировочный механизм 602 включает в себя пружину 604, штырь 612 и маховик 616. Пружина 604 сжата между элементом шелушения 24 и поверхностью 608 штыря 612. Как показано, в частности, на фиг.16А и 16В, пользователь может вращать маховик 616 для перемещения штыря 612. Движение штыря 612 изменяет степень сжатия пружины 604, что, в свою очередь, изменяет величину сопротивления, с которой приходится сталкиваться, когда пользователь прижимает элемент шелушения 24 к своей коже. В то время как показаны штырь и маховик, пользователь может вручную регулировать величину предварительного нагружения пружины с помощью ряда различных механизмов (например, с помощью ползуна или диска). Преимущество использования регулируемой пружины заключается в том, что она может контролировать диапазон силы, с которой пользователь сможет осуществлять шелушение.
В то время как элемент шелушения показан в качестве части кассеты, в некоторых случаях элемент шелушения отделен от кассеты и окружает или иным образом охватывает кассету. В таких случаях положение элемента шелушения может регулироваться относительно положения кассеты.
В некоторых вариантах реализации элемент шелушения может иметь пазы или отверстия для улучшения стока воды через кассету. В некоторых вариантах реализации пазы или отверстия могут вместо этого или дополнительно использоваться для ввода средств и/или препаратов для бритья на участок шелушения.
Элемент шелушения может быть прикреплен к корпусу кассеты, например, с помощью шарнира, или же элемент шелушения может образовать одно целое с корпусом кассеты. Например, элемент шелушения может образовать действующий шарнир с корпусом кассеты.
В то время как бритвенные кассеты на фиг.1-8 и 10-16В показаны с тремя лезвиями, в некоторых случаях бритвенные кассеты могут иметь меньше лезвий (например, одно или два лезвия) или больше лезвий (например, четыре лезвия, пять лезвий, шесть лезвий).
В некоторых вариантах реализации одно или несколько лезвий в системе влажного бритья могут перемещаться относительно элемента шелушения. Бритвенные системы с подвижными лезвиями описаны в патенте США №4378634, выданном Якобсону, все содержание которого включено сюда в качестве ссылки.
В рамки приведенной далее формулы изобретения включены другие варианты реализации.
Формула изобретения
1. Система влажного бритья, содержащая корпус, элемент с лезвиями, установленный на корпусе, и элемент шелушения, расположенный вблизи элемента с лезвиями с возможностью регулирования его положения относительно корпуса для изменения во время бритья силы контакта между элементом шелушения и поверхностью кожи пользователя.
2. Система по п.1, в которой элемент шелушения расположен с возможностью регулирования его положения относительно корпуса для изменения площади поверхности элемента шелушения, которая соприкасается с кожей пользователя.
3. Система по п.1, в которой элемент шелушения расположен с возможностью регулирования высоты его положения относительно передней кромки элемента с лезвиями.
4. Система по п.3, в которой высота положения элемента шелушения относительно передней кромки элемента с лезвиями является регулируемой для контроля давления.
5. Система по п.1, в которой элемент шелушения расположен с наклоном относительно передней взаимодействующей с кожей поверхности корпуса, при этом угол наклона является регулируемым.
6. Система по п.5, в которой угол наклона элемента шелушения относительно передней, взаимодействующей с кожей поверхности корпуса, является регулируемым для контроля давления.
7. Система по п.1, которая дополнительно содержит регулировочный механизм, предназначенный для регулирования положения элемента шелушения.
8. Система по п.7, в которой регулировочный механизм содержит кулачок, размещенный в полости, ограниченной элементом шелушения.
9. Система по п.8, в которой регулировочный механизм содержит вал, первый конец которого соединен с кулачком, а второй расположен снаружи корпуса, при этом кулачок выполнен с возможностью приведения в действие движением вала.
10. Система по п.7, в которой регулировочный механизм содержит связующее звено, которое соединено с элементом шелушения первым концом и со скользящим исполнительным механизмом вторым концом, причем скользящий исполнительный механизм выполнен с возможностью регулирования положения связующего звена.
11. Система по п.7, в которой регулировочный механизм содержит колесико с изменяющейся по периферии толщиной, при этом первая часть колесика выполнена с возможностью расположения под элементом шелушения, а вторая часть колесика выполнена открытой для обеспечения вращения колесика пользователем.
12. Система по п.11, в которой элемент шелушения установлен на шарнире, а колесико имеет форму, обеспечивающую поворачивание элемента шелушения относительно шарнира.
13. Система по п.7, в которой элемент шелушения содержит цилиндрический ролик, помещенный на валу, а регулировочный механизм содержит колесико, предназначенное для вращения вала.
14. Система по п.13, в которой цилиндрический ролик образует наружную поверхность, на которой расположены по меньшей мере два элемента шелушения различных типов.
15. Система по п.13, в которой использован эксцентричный вал.
16. Система по п.7, в которой регулировочный механизм содержит стержень, расположенный под элементом шелушения и выполненный с возможностью приложения давления к элементу шелушения во время приведения его в действие пользователем.
17. Система по п.16, в которой элемент шелушения установлен на шарнире, а стержень имеет форму, обеспечивающую поворачивание элемента шелушения относительно шарнира.
18. Система по п.7, в которой регулировочный механизм содержит регулируемую крышку, выполненную с возможностью размещения пользователем надо всей открытой поверхностью элемента шелушения, над ее частью или без накрывания упомянутой поверхности.
19. Система по п.18, в которой регулируемая крышка выполнена из прозрачной пластмассы.
20. Система по п.7, в которой регулировочный механизм содержит штырь с винтовой резьбой, который размещен внутри маховика в контакте с элементом шелушения.
21. Система по п.7, в которой регулировочный механизм содержит пружину, которая помещена под элементом шелушения.
22. Система по п.21, в которой использована волнистая пружина.
23. Система по п.21, в которой использована цилиндрическая пружина.
24. Система по п.1, в которой элемент шелушения содержит изогнутую пластину.
25. Система по п.7, в которой регулировочный механизм содержит рычаг, расположенный под элементом шелушения.
26. Система по п.7, в которой регулировочный механизм содержит элемент, выбранный из группы, состоящей из шарниров, ползунов, рычагов, пружин, элементов с криволинейной поверхностью, колесиков или винтов.
27. Система по п.1, в которой элемент шелушения содержит пластину, или ролик, или прокладку.
28. Система по п.1, которая содержит ограждающую часть, которая прилегает к элементу шелушения.
29. Система по п.1, в которой элемент шелушения содержит поверхность шелушения, выбранную из группы, состоящей из абразивных поверхностей, формованных текстурированных поверхностей, сеток, текстурированных металлических поверхностей и поверхностей из камня.
30. Система по п.1, в которой элемент шелушения содержит абразивные частицы или волокна.
31. Система по п.1, в которой элемент шелушения содержит накопитель средства для бритья, включающий средство для бритья.
32. Система по п.1, в которой элемент шелушения установлен неподвижно, а часть корпуса выполнена с возможностью движения относительно элемента шелушения.
33. Система по п.1, в которой элемент шелушения установлен неподвижно, а бреющая поверхность элемента с лезвиями выполнена с возможностью движения относительно элемента шелушения.
34. Бритвенная система, содержащая основную часть, кассетную часть, прикрепленную к основной части, элемент с лезвиями, установленный на кассетной части, ручку, которая отходит от основной части, и элемент шелушения, помещенный на ручке с возможностью регулирования его положения относительно ручки.
35. Кассета для влажного бритья, содержащая корпус, элемент с лезвиями, установленный на корпусе, и элемент шелушения, установленный на поверхности корпуса, взаимодействующей с поверхностью кожи пользователя, и содержащий наждачную бумагу.
РИСУНКИ
|
|