|
|
(21), (22) Заявка: 2004128449/28, 21.02.2003
(24) Дата начала отсчета срока действия патента:
21.02.2003
(30) Конвенционный приоритет:
25.02.2002 (пп.1-10) US 10/082,570
(43) Дата публикации заявки: 10.04.2005
(46) Опубликовано: 10.04.2008
(56) Список документов, цитированных в отчете о поиске:
US 6148264 А, 14.11.2000. US 5410517 А, 25.04.1995. US 4635239 A, 06.01.1987. US 4101857 A, 18.07.1978. WO 00/57208 A1, 28.09.2000.
(85) Дата перевода заявки PCT на национальную фазу:
27.09.2004
(86) Заявка PCT:
US 03/05258 (21.02.2003)
(87) Публикация PCT:
WO 03/073129 (04.09.2003)
Адрес для переписки:
129010, Москва, ул. Б. Спасская, 25, стр.3, ООО “Юридическая фирма Городисский и Партнеры”, пат.пов. Ю.Д.Кузнецову, рег.№ 595
|
(72) Автор(ы):
МЕРИГ Райнер (US), БАРР Фредерик Дж. (US)
(73) Патентообладатель(и):
ВЕСТЕРНДЖЕКО Л.Л.С. (US)
|
(54) СПОСОБ УДАЛЕНИЯ ШУМА ДЛЯ КАСКАДНЫХ ДАННЫХ СО СВИП-СИГНАЛАМИ
(57) Реферат:
Предложенное изобретение относится к области геофизических исследований, а именно к способам удаления шума из сейсмических данных. Предложенный способ направлен на подавление одновременно когерентного шума, шумов окружающей среды и шумов, создаваемых гармониками. Способ для обработки сейсмических данных включает в себя такие шаги как: (а) определение разности между данными во временном окне, содержащем часть первого сегмента данных, и данными в соответствующем временном окне, содержащем часть второго сегмента данных, при этом указанный первый сегмент данных и указанный второй сегмент данных выбирают из множества сегментов данных, зарегистрированных при использовании множества сейсмических свип-сигналов; (b) изменение указанных данных в первом сегменте данных при использовании указанных данных в соответствующем временном окне, основанное на указанной разности. 9 з.п. ф-лы, 4 ил.
Настоящее изобретение относится к области геофизических исследований, а более конкретно к способу для удаления шума из сейсмических данных.
При сейсмических исследованиях используют акустические импульсы для ударного воздействия звуковых вибраторов на земную формацию для оконтуривания подземной структуры при поиске и разработке полезных ископаемых. Эти акустические волны могут исходить от взрывных, имплозивных источников, а также от источников сигналов с медленно меняющейся частотой (частотно-модулированных сигналов) или случайных сигналов. Регистрацию отраженных и преломленных акустических волновых фронтов, которые проходят от источника к приемнику, используют для получения записи сейсмического поля. В этих полевых записях изменения времени пробега отраженных и преломленных волн характеризует положения отражающих поверхностей внутри земной формации. При обработке сейсмических данных путем анализа и корреляции волн в одной или нескольких полевых записях получают акустическое изображение, которое характеризует подземную структуру. Акустические изображения используют для выявления богатых месторождений полезных ископаемых.
Для гарантирования передачи в грунт достаточного количества энергии, в сейсмическом источнике сигнала с медленно меняющейся частотой или частотно-модулированного сигнала может использоваться относительно продолжительный пилотный сигнал, например от 2 до 15 с. Способ обработки сигнала с медленно меняющейся частотой или частотно-модулированного сигнала источника основан на компрессии сигнала для сжатия сигнала и получения достаточного вертикального разрешения для выделения положений подземных отражающих горизонтов. Компрессию сигнала обычно называют деконволюцией, многочисленные способы реализации которой хорошо известны из уровня техники в области обработки сейсмических данных. При деконволюции сигналов с медленно изменяющейся частотой или частотно-модулированных сигналов осуществляют сжатие сигнала источника до намного более короткого сигнала, характеризующего подземную отражающую границу. Точность и эффективность любого способа деконволюции прямо связаны с тем, насколько хорошо известен или понятен сигнал источника. Большую часть операторов деконволюции получают из статистических оценок реальной формы импульса источника.
В случае источника сигнала с медленно меняющейся частотой энергия излучается в виде свип-сигнала с регулярно возрастающей (свип вверх) или уменьшающейся (свип вниз) частотой в сейсмическом диапазоне частот. Механические колебания регулируются посредством системы управления, с помощью которой можно регулировать частоту и фазу сейсмического сигнала.
Источники свип-сигналов являются относительно низкоэнергетическими по сравнению с импульсивными источниками, подобными динамиту или воздушным пушкам. Вследствие низкоэнергетической природы источника свип-сигнала проблемы, связанные с шумами, могут быть существенными. Когерентные и окружающие шумы, имеющиеся в среде, в которой регистрируют данные, могут взаимодействовать с требуемыми сигналами. Кроме того, гармоники, сформированные источником, могут быть дополнительным источником энергии, проявляющейся в виде шума, искажения или взаимодействующей с записываемыми данными.
Вибрационные источники или источники свип-сигнала излучают гармоники, которые при определенных условиях могут иметь энергию, приближающуюся к или даже превышающую основную составляющую, и которые могут перекрестно взаимодействовать с сигналами от других источников, приводя к ошибочным результатам при обработке сигналов, направленной на отделение сигналов от других источников. Кроме того, гармоники представляют собой источник шума, который может маскировать слабые сигналы, отраженные от более глубоких слоев.
При использовании для сейсмических исследований только одного сейсмического источника сейсмические исследования могут быть длительными. При современных способах обработки сигналов их продолжительность можно сократить, если одновременно использовать несколько сейсмических источников. Если разработать способ различения сигналов, исходящих от различных источников, то можно будет использовать много источников. Примером такого способа является способ «различных фаз», который предложили в 1990 г. Ward и другие, а также Bacon и Martin в 1993 г. Способ «различных фаз» может быть использован как конкурент свип-сигналам при использовании множества источников или единственного источника. В качестве альтернативы способ различных фаз может быть применен при соединении свип-сигналов друг с другом в случае использования как одного источника, так и множества одновременно функционирующих источников. Способ соединения сегментов свип-сигналов, имеющих различные фазы и допускающих использование множества источников, раскрыт в заявке №09/981224, поданной 17 октября 2001 г. и переуступленной правопреемнику этого изобретения, и эта заявка включена в настоящую заявку посредством ссылки.
Способ выделения сигнала при множестве вибрационных источников, в свип-сигналах которых использованы фазовые сдвиги, раскрыт в патенте США №4715020 (Landrum). Однако в этом патенте не рассмотрена проблема, связанная с источником, излучающим гармоники, или связанная с искажением и перекрестным взаимодействием.
Reitsch разработал и раскрыл в патенте США №4042910 способ для ослабления корреляционного шума источника, излучающего гармоники, который вызван энергией гармоник в выходных сигналах сейсмических вибраторов. Способ включает в себя этап последовательного излучения множества свип-сигналов, при этом фаза каждого последующего свип-сигнала сдвинута относительно фазы предшествующего свип-сигнала на определенный фазовый угол, который составляет часть Полученные сигналы записывают раздельно и преобразуют путем обратного сдвига фаз до сложения или суммирования традиционным способом. При использовании этого способа вибраторы излучают серию, состоящую из N свип-сигналов (один вибратор для каждой записи), которые различаются только фазой. Корреляционный шум вплоть до N-ой гармоники ослабляется. Этот способ позволяет подавлять гармоники путем использования фазового сдвига, но только для одного вибрационного источника, и не касается перекрестного взаимодействия.
В патенте США №4823326 (Ward) заявлен способ, предназначенный для разделения сейсмических записей, полученных посредством множества совместно работающих вибрационных сейсмических источников, обеспечивающий снижение гармонических искажений.
В патенте США №4982374 (Edington and Khan) представлен способ, предназначенный для снижения искажений и перекрестного взаимодействия, обусловленных гармоникой любого выбранного порядка, при любом числе вибрационных сейсмических источников, работающих совместно, и в то же самое время обеспечивающий разделение сигналов от различных источников и повышение отношения сигнала к шуму. После определения гармоники высшего порядка, вносящей возможный вклад в искажения, выбирают число свип-сигналов для каждого источника в каждом местоположении. Это число зависит от числа источников и гармоники высшего порядка, подлежащей подавлению. Затем выбирают начальные фазовые углы для каждого свип-сигнала каждого источника, для обеспечения выделения сигнала наряду с подавлением гармоник вплоть до гармоники высшего порядка и включая ее.
В патенте США №5410517 (Andersen) раскрыт способ каскадирования сегментов свип-сигналов для подавления нежелательной энергии гармоник. В способе используют сегменты свип-сигналов, имеющих различные фазовые углы, так что энергия гармоник в коррелированных импульсах ослабляется. В соответствии со способом образуют первую последовательность каскадных свип-сигналов, содержащую N сегментов свип-сигналов, связанных вплотную. N сегментов свип-сигналов являются по существу идентичными за исключением того, что начальный фазовый угол каждого сегмента свип-сигнала в пределах последовательности свип-сигналов постепенно поворачивают с постоянным приращением фазы примерно на 360/N°. Образуют вторую последовательность каскадных свип-сигналом, содержащую: (i) N последовательных сегментов свип-сигналов, соединенных вплотную, которые соответствуют указанной первой последовательности каскадных свип-сигналов, и (ii) дополнительный сегмент свип-сигнала, присоединенный к N последовательным сегментам свип-сигналов, который расположен и фазирован так, то во время корреляции по существу подавляются спутники гармоник. Одну из этих последовательностей каскадных свип-сигналов используют в качестве опорной последовательности для корреляции.
В известном уровне техники отсутствуют способы, направленные на подавление одновременно когерентного шума, шумов окружающей среды и шумов, создаваемых гармониками.
Предложен способ для обработки сейсмических данных, включающий в себя сравнение данных в окне части первого сегмента данных с данными в соответствующем окне, содержащем часть второго сегмента данных, при этом указанный первый сегмент данных и указанный второй сегмент данных выбирают из множества сегментов данных, зарегистрированных при использовании множества сейсмических свип-сигналов. Данные в окне изменяют, используя указанные данные в соответствующем окне, на основе указанного сравнения.
Настоящее изобретение и его преимущества станут более понятными при обращении к нижеследующему подробному описанию и к сопровождающим чертежам, на которых:
фиг.1а – иллюстрирует серии свип-сигналов вибраторов и времени прослушивания;
фиг.1b – иллюстрирует суперпозиции свип-сигналов и времен прослушивания согласно фиг.1а для представления каскадной последовательности свип-сигналов;
фиг.1с – иллюстрирует последовательности каскадных данных со свип-сигналами, модифицированной по отношению к данным согласно фиг.1b;
фиг.1d – иллюстрирует последовательности каскадных данных со свип-сигналами после удаления шума;
фиг.2 – иллюстрирует последовательность этапов согласно настоящему изобретению;
фиг.3 – иллюстрирует данные, полученные в результате использования последовательности свип-сигналов, при этом показаны панель с исходной последовательностью свип-сигналов, панель с данными, из которых шум удален в соответствии со способом согласно настоящему изобретению, и панель разности исходных данных и данных после удаления шума; и
фиг.4 – иллюстрирует данные, полученные в результате использования последовательности свип-сигналов, при этом показаны панель с исходной последовательностью свип-сигналов, панель с данными после удаления шума в соответствии со способом согласно настоящему изобретению и панель разности исходных данных и данных после удаления шума.
Хотя изобретение будет описано применительно к предпочтительным вариантам осуществления, должно быть понятно, что изобретение не ограничено ими. Изобретение охватывает все варианты, модификации и эквиваленты, которые могут быть заключены в рамки сущности и объема изобретения, определенных приложенной формулой изобретения.
Настоящее изобретение относится к способу, предназначенному для каскадирования или связывания друг с другом свип-сигналов сейсмического вибратора, направленному на решение проблем, создаваемых когерентным шумом, шумами окружающей среды и гармониками. Использование изобретения обеспечивает подавление нежелательного шума в пределах последовательности свип-сигналов одного вибратора. Когерентный шум удаляют путем замены данных загрязненных шумом оценкой нижележащего сигнала. Шум гармоник и окружающей среды существенно ослабляют путем суммирования сдвинутых по фазе данных. Другие преимущества изобретения без труда станут понятными специалистам в области техники, к которой относится изобретение, из нижеследующего подробного описания. В том смысле, что нижеследующее подробное описание относится к конкретному варианту осуществления или к конкретному использованию изобретения, оно подразумевается иллюстративным и не должно интерпретироваться как ограничивающее объем изобретения.
Вибросейсмические данные могут быть зарегистрированы в результате действия энергии, сообщаемой вибраторами, при использовании каскадных свип-сигналов. Каскадные свип-сигналы состоят из нескольких сегментов свип-сигналов, в которых сигнал в различных сегментах свип-сигналов по существу один и тот же за исключением начальной фазы. При использовании такой избыточности в каскадных данных со свип-сигналами когерентный шум удаляют заменой данных загрязненных шумом оценкой нижележащего сигнала, тогда как шумы окружающей среды и гармонические искажения существенно ослабляют суммированием сегментов. Раскрытый способ также может быть применен к вибросейсмическим данным с различными фазами и к «альтернативным способам с качанием частоты» (Ward et al., 1990; Bacon and Martin, 1993) или в слегка модифицированной версии, но без ослабления гармоник, к обычным данным со многими свип-сигналами без поворота фазы, зарегистрированным при одном местоположении источника. Способ соединения сегментов свип-сигналов, имеющих различные фазы, которые могут быть использованы в случае множества источников, раскрыт в заявке №09/981224, поданной 17 октября 2001 г. и переуступленной правопреемнику этого изобретения, которая включена в настоящую заявку посредством ссылки.
Последовательность каскадных свип-сигналов образуют, формируя несколько коротких сегментов свип-сигналов вплотную для получения одной длинной последовательности свип-сигналов. Каждый короткий свип-сигнал в каскадной последовательности называется сегментом свип-сигнала, при этом отдельные сегменты свип-сигналов могут быть связаны с или без пробелов (времени прослушивания) между ними. Отдельные сегменты свип-сигналов обычно имеют длительность 1-16 с, при этом длительности в пределах 4-8 с являются типовыми. Величина пробелов может иметь диапазон от нуля до типичного времени прослушивания, используемого при обычных вибросейсмических исследованиях. Соединенные сегменты свип-сигналов, то есть сегменты свип-сигналов, присоединенные без пробелов, обеспечивают наиболее эффективную работу. Например, восемь обычных 4-секундных свип-сигналов, каждый из которых имеет время прослушивания, могут быть заменены одной каскадной последовательностью свип-сигналов, содержащей восемь 4-секундных сегментов сейсмических свип-сигналов, в связи с чем число периодов прослушивания во время регистрации данных уменьшается с восьми до одного при сохранении того же самого суммарного усилия на отработку одного пункта возбуждения (изменение частоты в течение 32 с).
Каскадные последовательности свип-сигналов состоят из сегментов сейсмических свип-сигналов. Каскадные последовательности свип-сигналов используют для возбуждения вибраторов с целью передачи энергии в земную формацию. Энергию, переданную в земную формацию, регистрируют в виде каскадных данных с последовательностью свип-сигналов. Эти зарегистрированные данные с последовательностью сейсмических свип-сигналов состоят из большого количества сегментов данных. Сегмент данных может состоять из зарегистрированного сегмента сейсмического свип-сигнала, времени прослушивания или из сочетания обоих. Хотя каскадные данные с последовательностью свип-сигналом на самом деле представляют собой одну продолжительную запись данных (из нескольких сегментов данных), включающую в себя сегмент данных со временем прослушивания, их также можно рассматривать как суперпозицию сейсмограмм со сдвинутыми во времени данными, имеющими различные фазы, или как комбинацию наложенных записей данных с обычными сейсмическими свип-сигналами. Хотя предпочтительный вариант осуществления изобретения может быть применен к каскадным данным со свип-сигналами, в альтернативном варианте осуществления настоящего изобретения записи данных с обычными свип-сигналами или имеющими различные фазы можно комбинировать, например путем приращения временного ряда, для образования последовательности каскадных данных со свип-сигналами, обрабатываемой в соответствии со способом согласно настоящему изобретению. В еще одном варианте осуществления изобретения обычные данные со свип-сигналами или записи с различными фазами могут быть обработаны непосредственно способом согласно этому изобретению.
На фиг.1а показаны четыре последовательности 101, 103, 105 и 107 данных вместе с временами 111, 113, 115 и 117 прослушивания, которые могут быть объединены для формирования каскадных данных согласно фиг.1b, представляющих запись данных, которая включает в себя пять сегментов данных, один из которых представляет собой время прослушивания. Длительности свип-сигналов, показанных на фиг.1а, равны продолжительности прослушивания, но это не является обязательным. Хотя пример, описываемый со ссылками на фиг.1a-1d, является примером, относящимся к четырем сегментам свип-сигналов, может быть использовано любое число сегментов свип-сигналов.
Каскадные данные свип-сигналов согласно фиг.1b могут рассматриваться как соединение 5 сегментов данных:
1) данные 101 , зарегистрированные в течение первого сегмента (Sw1) сейсмического свип-сигнала;
2) комбинация 114, данных, зарегистрированных в течение второго сегмента (Sw2) сейсмического свип-сигнала, совпадающего во времени с первым временем (L1) прослушивания свип-сигнала;
3) комбинация 118 данных, зарегистрированных в течение третьего сегмента (Sw3) сейсмического свип-сигнала, со вторым временем (L2) прослушивания свип-сигнала;
4) комбинация 122 данных, зарегистрированных в течение четвертого сегмента (Sw4) сейсмического свип-сигнала, с третьим временем (L3) прослушивания свип-сигнала;
5) последний сегмент 117′, характеризующий данные, зарегистрированные в течение времени (L4) прослушивания, которое следует за четвертым свип-сигналом этого четвертого сегмента сейсмического свип-сигнала.
Вследствие такой внутренней структуры первый сегмент 101′ данных из зарегистрированных каскадных данных со свип-сигналами отличается от всех других сегментов, поскольку зарегистрированные данные включают в себя данные, полученные в течение сегмента (Sw1) сейсмического свип-сигнала, но не содержат данных об отраженных волнах, соответствующих времени прослушивания от предшествующего сегмента свип-сигнала. С другой стороны, последний сегмент 117′ характеризует только данные, зарегистрированные в течение времени (L4) прослушивания, в которых отсутствуют сейсмические волны, возбуждаемые вибраторами.
Для того чтобы все сегменты данных имели одинаковую структуру данных и для осуществления исключения шумов (что определено в настоящей заявке как удаление шумов) каскадных данных со свип-сигналами, последний сегмент 117 данных (сегмент данных, соответствующий «времени прослушивания») согласно фиг. 1b каскадных данных со свип-сигналами объединяют, как показано на фиг.1с, с первым сегментом 101 данных для формирования модифицированного ряда каскадных данных со свип-сигналами. Этот модифицированный ряд каскадных данных со свип-сигналами характеризует модифицированные сейсмические данные. Объединение последнего времени 117′ прослушивания с первым сегментом 101′ каскадных данных со свип-сигналами может быть осуществлено путем приращения временного ряда. Теперь первый сегмент 131 на фиг.1с содержит данные, зарегистрированные в течение первого сегмента (Sw1) свип-сигнала, и данные, зарегистрированные в течение времени (L4) прослушивания четвертого свип-сигнала.
Эти модифицированные сейсмические данные, показанные на фиг.1с как последовательность модифицированных каскадных данных со свип-сигналами, подлежат «обесшумливанию». Термин «обесшумливание» определен в настоящей заявке как удаление шумов, например подавление или исключение гармоник, окружающего и/или когерентного шума. После обесшумливания этой последовательности модифицированных каскадных данных со свип-сигналами время прослушивания извлекают из первого сегмента 131 данных и, как показано на фиг.1d, добавляют к концу обесшумленной последовательности.
Основная идея способа ослабления шумов, названного в настоящей заявке обесшумливанием, основана на том, что сигнал в различных сегментах данных по существу один и тот же, за исключением начальной фазы сегмента сейсмического свип-сигнала. Энергия, которая не соответствует этому известному поведению фазы, считается шумом и должна быть удалена или ослаблена.
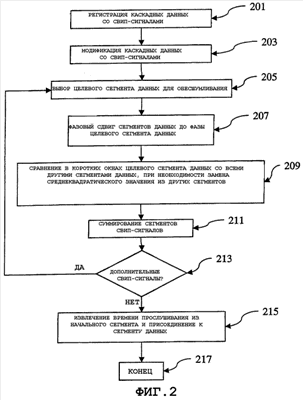
Теперь процесс обесшумливания применительно к модифицированным каскадным данным со свип-сигналами согласно примеру из четырех сегментов свип-сигналов, показанного на фиг.1с, будет описан со ссылкой на блок схему согласно фиг.2. Каскадные данные со свип-сигналами получают на этапе 201 путем регистрации данных, формируемых сейсмическими волнами, излученными вибрационным источником, при использовании ряда каскадных свип-сигналов. Затем на этапе 203 зарегистрированные данные модифицируют так, как описано со ссылкой на фиг.1с, для объединения начального сегмента (Sw1) сейсмического свип-сигнала и конечного времени (L4) прослушивания с формированием начального сегмента 131 модифицированных каскадных данных со свип-сигналами. Предпочтительный способ объединения первого свип-сигнала и конечного времени прослушивания заключается в приращении временного ряда.
Как показано на фиг.2, на этапе 205 выбирают сегмент данных в качестве целевого для обесшумливания. В этом примере целевым сегментом данных является 131. Фазы всех других сегментов данных (в этом примере 114, 118, 122) на этапе 207 сдвигают до фазы, соответствующей фазе сегмента свип-сигнала текущего целевого сегмента. Фазовый сдвиг может быть осуществлен в каждом сегменте данных, так что фаза сегмента свип-сигнала в сегменте данных будет соответствовать фазе целевого сегмента данных. Фаза целевого сегмента 131 данных из настоящего примера соответствует фазе свип-сигнала Sw1. Фазовый сдвиг сегмента 114 данных является фазовым сдвигом, необходимым для изменения фазы сегмента свип-сигнала Sw2 до фазы свип-сигнала Sw1. Фазовый сдвиг данных сегмента 118 соответствует тому, при котором фаза сегмента Sw3 свип-сигнала изменяется до фазы свип-сигнала Sw1. Фазу сегмента 122 данных сдвигают от фазы сегмента Sw4 свип-сигнала до фазы свип-сигнала Sw1. Предполагается, что теперь сигналы в различных сегментах являются идентичными. Гармоники могут быть в различных фазах, но большая часть энергии содержится в основной составляющей.
Для того чтобы обнаружить когерентный шум, сравнивают данные из различных сегментов данных. В результате сравнения определяют разность между целевым сегментом данных и одним или несколькими другими сегментами данных. Хотя численные значения разностей между сегментами данных могут быть определены непосредственно, сравнение показателей данных для сегментов данных обеспечивает более высокую чувствительность. В предпочтительном варианте осуществления изобретения на этапе 209 сравнивают различные сегменты данных, используя показатели данных в пределах коротких временных окон (например, в окнах длиной от 4 до 500 мс) и используя среднеквадратические значения. Среднеквадратическое может быть определено как корень квадратный из среднего значения квадратов выборок в пределах совокупности данных, при этом совокупность данных представляет собой выборки в соответствующих окнах данных. Для сравнения в коротких окнах могут быть использованы другие показатели данных, например мощность данных или усредненные значения данных. Короткие окна для сравнения данных могут быть перекрывающимися. Если оконное среднеквадратическое значение в текущем целевом сегменте 131 данных отклоняется слишком сильно (например, превышает заданный порог) от среднеквадратических значений в соответствующих окнах во всех других сегментах данных (114, 118, 122) или комбинаций из других сегментов данных, данные окна в текущем целевом сегменте данных заменяют оценкой сигнала. Заданный порог может быть определен способом, хорошо известным в области техники, к которой относится изобретение, например порог может быть основан на результатах измерений амплитуды, фазы или частоты, и может комбинироваться с другими параметрами, например со временем и положением. Заданный порог может быть зависимым от данных и может быть переменным от записи к записи. Оценка сигнала, предназначенная для использования при замене данных, может быть получена по одному или нескольким другим сегментам данных. Хотя оценку сигнала, предназначенную для замены данных, получают, используя сдвинутые по фазе данные, определение признака данных для сравнения (при использовании среднеквадратических значений в предпочтительном варианте осуществления) может быть сделано до сдвига по фазе сегментов данных.
Окно в одном сегменте данных будет иметь соответствующие окна в других сегментах данных. Например, трасса данных в сегменте 131 данных с окном от 100 до 200 мс, измеренным от начала сегмента свип-сигнала, будет иметь соответствующее окно в аналогичной трассе из 114, 118 и 122, измеренное для этих сегментов данных от момента начала каждого из сегментов свип-сигналов.
В предпочтительном варианте осуществления изобретения данные, используемые для замены данных целевого сегмента, превышающих порог, получают на основании по меньшей мере одного из других сегментов данных (114, 118 и/или 122). Например, данными замены может быть среднее арифметическое соответствующих данных окна из одного или нескольких других сегментов данных. Другими усредненными значениями, используемыми в качестве данных замены, может быть медианное или взвешенное среднее. В этом примере среднее арифметическое из 114, 118 и 122 используется для замены данных в сегменте 131 данных. Если в случае сравнения целевого сегмента данных с по меньшей мере одним другим сегментом данных выявлено незначительное отклонение данных или оно не превосходит заданного порога, данные оставляют неизменными.
После сравнения сегментов данных и, в случае необходимости, замены данных на этапе 211 сегменты данных (131, 114, 118 и 122) суммируют для формирования нового целевого сегмента данных. При этом суммировании подавляется шум окружающей среды и удаляются гармоники вплоть до того порядка, до которого был рассчитан на подавление гармоник при корреляционном процессе каскадный пилот свип-сигнал. Сумма этих сегментов данных, новый целевой сегмент данных, представляет собой конечный целевой сегмент обесшумленных данных. Новые модифицированные целевые сегменты данных для замены начальных целевых сегментов данных образуют путем суммирования, тем не менее исходные модифицированные каскадные данные со свип-сигналами используют для сравнения оконного среднеквадратического значения и для получения всех данных замены.
Этот процесс повторяют на этапе 213 путем выбора на основании модифицированных данных других сегментов в качестве целевого сегмента. Таким же образом, как и в случае исходного целевого сегмента данных, фазовый сдвиг осуществляют в нецелевых сегментах данных, вследствие чего в каждом нецелевом сегменте данных соответствующая фаза сегмента свип-сигнала будет сдвигаться до фазы сегмента свип-сигнала, соответствующей целевому сегменту данных. В этом примере сегменты 114, 118 и 122 данных обрабатывают индивидуально как целевые сегменты данных способом, раскрытым для сегмента 131 данных. Конечные обесшумленные целевые сегменты данных представляют собой просуммированные сочетания всех сегментов данных после сдвига фаз в сегментах данных до фазы, соответствующей фазе сегмента свип-сигнала в каждом целевом сегменте данных.
В заключение на этапе 215 из первого сегмента данных (131 в этом примере) извлекают время прослушивания и присоединяют его к концу обесшумленных каскадных данных со свип-сигналами (см. фиг.1d). Предпочтительный способ извлечения времени прослушивания заключается в применении вариантного ко времени фильтра верхних частот для понижения уровня шума в начальном сегменте в предположении использования свип-сигнала с возрастанием частоты. Затем на этапе 217 данные могут дополнительно обрабатываться в соответствии с установившейся практикой.
Предпочтительный вариант осуществления изобретения был описан для каскадных данных со свип-сигналами. В альтернативном варианте осуществления изобретения способ может быть использован для обычных данных со свип-сигналами путем объединения обычных свип-сигналов в каскадные данные со свип-сигналами, как это было раскрыто со ссылками на фиг.1а и фиг.1b. Модифицированные сейсмические данные могут быть сформированы путем добавления конечного времени прослушивания к отрезку начального сегмента свип-сигнала в первом сегменте данных. В этом способе свип-сигналы могут быть с поворотом фазы, но это не является обязательным.
В еще одном альтернативном варианте осуществления изобретения способ может быть использован для обычных данных со свип-сигналами, при этом до применения настоящего изобретения сегменты данных не объединяют. Сейсмические данные регистрируют, используя множество сейсмических свип-сигналов, в каждый из которых включено время прослушивания, как на фиг.1а. В зависимости от возможности подавления гармоник, обусловленной особенностями осуществляемых исследований, может быть выполнен поворот фаз (например, при исследованиях с различными фазами), но поворот фаз не является обязательным. Определяют разность между выбранным целевым сегментом данных и по меньшей мере одним из оставшихся сегментов из указанного множества сегментов данных. Эта разность может быть определена при использовании признака данных, например, среднеквадратического значения сравниваемых данных. Данные в целевом сегменте данных заменяют данными, полученными на основании по меньшей мере одного из других сегментов данных, если разность, определенная при сравнении, превышает заданный порог. Данные из сегментов данных могут быть просуммированы для образования нового целевого сегмента данных.
На фиг.3 и 4 показаны примеры, иллюстрирующие эффективность способа обесшумливания, описанного в предпочтительном варианте осуществления изобретения, применительно к целевым сегментам данных со свип-сигналами, полученным из записи каскадных данных со свип-сигналами, которые содержат 8 сегментов свип-сигналов и дополнительный период прослушивания. Последовательность каскадных свип-сигналов использовалась для возбуждения вибратора для получения записей данных для этих фигур, содержащих восемь 4-секундных сегментов свип-сигналов, представляющих суммарную продолжительность свип-сигналов, равную 32 с, и дополнительное время прослушивания, равное 4 с, образующих запись длительностью 36 с. Целевой сегмент данных, подлежащий обесшумливанию из этой записи данных, показанной на фиг.3, представляет собой пятый сегмент данных, находящийся между шестнадцатой и двадцатой секундами 36-секундных каскадных данных со свип-сигналами.
На левой панели 3А фиг.3 показан исходный пятый сегмент данных, зарегистрированный между шестнадцатой и двадцатой секундами 36-секундной записи данных. На центральной панели 3В фиг.3 показан тот же самый сегмент данных после обесшумливания в соответствии со способом настоящего изобретения. На правой панели 3С фиг.3 показана разность между исходными данными 3А и данными 3В после обесшумливания. На панели 3С представлен шум, который был удален из исходного пятого сегмента данных.
На фиг.4 седьмой сегмент свип-сигнала между двадцать четвертой и двадцать восьмой секундами 36-секундной записи каскадных данных со свип-сигналами представляет собой целевой сегмент данных со свип-сигналами, подлежащий обесшумливанию. На левой панели 4А фиг.4 показан зарегистрированный седьмой сегмент данных из исходных данных. На центральной панели 4В фиг.4 показан тот же самый сегмент данных после обесшумливания в соответствии со способом настоящего изобретения. На правой панели 4С фиг.4 показана разность между исходными данными 4А и данными 4В после обесшумливания. На панели 4С представлен шум, который был удален из исходного седьмого сегмента данных.
Примером соответствующего окна между пятым свип-сигналом на фиг.3 и седьмым свип-сигналом на фиг.4 является временной интервал 1000 мс на первой трассе 301 из фиг.3, находящийся между шестнадцатой и семнадцатой секундами, который соответствует временному интервалу 1000 мс на первой трассе 401 из фиг.4 между двадцатью четырьмя и двадцатью пятью секундами. Когда пятый сегмент данных используют в качестве целевого сегмента данных для обесшумливания, седьмой сегмент данных содержит один из других сегментов данных, в котором должен быть осуществлен фазовый сдвиг до сравнения соответствующих окон данных.
Из сравнения панелей 3А, 4А исходных данных с панелями 3В, 4В обесшумленных данных видно, что когерентный шум удален, а отражения (например, вокруг 305 на фиг.3), первоначально маскированные шумом, теперь стали хорошо видимыми. Шум окружающей среды сильно подавлен. Низкочастотная энергия в верхнем правом углу панелей с исходными и обесшумленными данными (сравните 303 на панели 3В из фиг.3 и аналогичные области на 3А, 4А и 4В) представляет собой энергию поверхностной волны, формируемой предшествующим сегментом свип-сигнала. Сигнал и поверхностная волна имеются во всех сегментах и поэтому не являются объектами процесса обесшумливания. Из картин разностных шумов, 3С на фиг.3 и 4С на фиг.4, видно, что из записей зарегистрированных данных можно удалять значительное количество шумов без влияния на сигнал.
Специалистам в области техники, к которой относится изобретение, должно быть понятно, что способ, описанный в настоящей заявке, может быть осуществлен как раскрытый, включающий в себя, но не ограниченный ими, описанные варианты осуществления. Кроме того, должно быть понятно, что изобретение не должно чрезмерно ограничиваться предшествующим описанием, которое изложено только с иллюстративными целями. Различные модификации и варианты должны быть очевидными для специалистов в области техники, к которой относится изобретение, без отступления от истинного объема изобретения, определенного в нижеследующей формуле изобретения.
Формула изобретения
1. Способ для обработки сейсмических данных, включающий в себя
(a) определение разности между данными во временном окне, содержащем часть первого сегмента данных, и данными в соответствующем временном окне, содержащем часть второго сегмента данных, при этом указанный первый сегмент данных и указанный второй сегмент данных выбирают из множества сегментов данных, зарегистрированных при использовании множества сейсмических свип-сигналов; и
(b) изменение указанных данных в первом сегменте данных при использовании указанных данных в соответствующем временном окне, основанное на указанной разности.
2. Способ по п.1, в котором изменение указанных данных в первом сегменте данных дополнительно включает в себя замену указанных данных в указанном временном окне при использовании указанных данных в соответствующем временном окне.
3. Способ по п.1, который дополнительно включает в себя объединение множества сегментов данных для формирования нового сегмента данных.
4. Способ по п.3, который дополнительно включает в себя извлечение времени прослушивания из указанного нового сегмента данных.
5. Способ по п.1, в котором каждый из указанного множества сегментов данных содержит записанные данные и время прослушивания.
6. Способ по п.1, который дополнительно включает в себя фазовый сдвиг указанного второго сегмента данных до фазы, соответствующей указанному первому сегменту данных.
7. Способ по п.1, в котором указанный второй сегмент данных содержит комбинацию множества сегментов данных.
8. Способ по п.7, в котором указанная комбинация содержит объединение указанного множества сегментов данных при использовании по меньшей мере одного из: i) среднего арифметического, ii) медианного среднего и iii) взвешенного среднего.
9. Способ по п.1, который дополнительно включает в себя использование среднеквадратических значений для определения указанной разности между данными во временном окне первого сегмента данных и данными в соответствующем временном окне второго сегмента данных.
10. Способ по п.1, в котором сегмент данных времени прослушивания объединяют с начальным сегментом данных путем приращения временного ряда.
РИСУНКИ
|
|