|
(21), (22) Заявка: 2006124688/28, 10.07.2006
(24) Дата начала отсчета срока действия патента:
10.07.2006
(46) Опубликовано: 10.04.2008
(56) Список документов, цитированных в отчете о поиске:
SU 1737378 A1, 30.05.1992. SU 370548 А, 15.11.1973. SU 991527 A, 23.01.1983. JP 4-244977 A, 01.09.1992.
Адрес для переписки:
428038, г.Чебоксары, б-р Миттова, 24-132, Г.М.Михееву
|
(72) Автор(ы):
Михеев Георгий Михайлович (RU), Михеева Татьяна Георгиевна (RU)
(73) Патентообладатель(и):
Михеев Георгий Михайлович (RU), Михеева Татьяна Георгиевна (RU)
|
(54) СПОСОБ ДИАГНОСТИКИ ЦЕПЕЙ ДУГОГАСИТЕЛЬНЫХ КОНТАКТОВ РПН ТИПА РНТА
(57) Реферат:
Изобретение относится к диагностике силовых трансформаторов, а именно цепей дугогасительных контактов с токоограничивающим сопротивлением быстродействующего регулятора под нагрузкой (РПН), в котором избиратель, контактор и приводной механизм выполнены в едином блоке, а обмотки трансформатора соединены в звезду. Сущность: диагностику производят путем сравнения осциллограмм тока с аналогичными осциллограммами, выполненными во время пуско-наладочных испытаний при переключениях избирателя с одного положения на другое без вскрытия бака РПН и слива трансформаторного масла контактной системы РПН одновременно всех трех фаз. Осциллографирование осуществляют по схеме, включающей индуктивность обмотки силового трансформатора относительно выводов обмотки высокого напряжения и нейтрали. Сравнивают постоянные времени переходного процесса изменения тока при его спаде. Нарушению контактной системы дугогасительных контактов свойственно увеличение постоянной времени от пусконаладочных испытаний, а наличию виткового замыкания в токоограничивающем сопротивлении – уменьшение. Обрыву токоограничивающего сопротивления соответствует постоянная времени, равная нулю. Технический результат: устранение загрязнения окружающей среды, снижение трудозатрат, возможность диагностирования при любых погодных условиях. 4 ил.
Область техники
Изобретение относится к способам диагностики силовых трансформаторов в электроэнергетике, а именно к диагностике цепей дугогасительных контактов быстродействующих регуляторов под нагрузкой (РПН) без слива трансформаторного масла и вскрытия бака, в которых избиратель, контактор и приводной механизм выполнены в едином блоке, а обмотки трансформатора соединены в звезду.
Оно может быть использовано в энергетике при комплексных обследованиях силовых трансформаторов, при пусконаладочных, профилактических, периодических испытаниях для диагностики неисправностей РПН, например, таких устройств как РНТА-35/200 и т.д.
Способ диагностики цепей дугогасительных контактов РПН предполагает по анализу кривой тока осциллографирования одновременно определить целостность токоограничивающих сопротивлений, установленных на трех фазах, а также выявить в них витковое замыкание и нарушение контактной системы в цепях дугогасительных контактов регулятора.
Уровень техники
Известен способ определения величины сопротивления мостовым методом. Обычно измерение токоограничивающих сопротивлений регулятора с целью определения их целостности с помощью данного способа возможно производить лишь после слива трансформаторного масла и вскрытия бака, так как токоограничивающие сопротивления находятся внутри бака регулятора [Заводская документация Тольяттинского трансформаторного завода. «Устройство регулирования напряжения силовых трансформаторов под нагрузкой типа РНТА-Y-35/200Р-16/20-93У1». Руководство по эксплуатации ИБДШ. 674261.023РЭ)].
Известен также способ определения сопротивления постоянному току по методу «вольтметра-амперметра». [Г.В.Алексенко, А.К.Ашрятов и Е.С.Фрид. Испытание высоковольтных и мощных трансформаторов и автотрансформаторов, часть II, М.-Л.: Госэнергоиздат, 1962, 832 с. с черт. (в серии «Трансформаторы», вып.9). Сборник методических пособий по контролю состояния электрооборудования. Раздел 2. Методы контроля состояния силовых трансформаторов, автотрансформаторов, шунтирующих и дугогасящих реакторов. Москва, ОРГРЭС, 1997 г., С.100]. В качестве измерителя активного сопротивления в этом устройстве применены вольтметр и амперметр.
Для определения целостности активных сопротивлений, наличия или отсутствия в них витковых замыканий, отсутствия дефектов в переходных сопротивлениях контактной системы с помощью данного метода также необходим слив трансформаторного масла и вскрытие бака РПН.
Сущность изобретения
Основная задача изобретения – создание способа всесезонного диагностирования целостности токоограничивающих сопротивлений, контроль переходных сопротивлений в контактной системе каждой из фаз без вскрытия бака РПН и слива трансформаторного масла, устраняющего возможность загрязнения окружающей среды, сокращающего трудозатраты при его осуществлении и возможность оценки вышеуказанных параметров при любых погодных условиях.
Поставленная задача решается благодаря тому, что в предлагаемом способе диагностика цепей дугогасительных контактов производится путем сравнения осциллограмм тока с аналогичными осциллограммами, выполненными во время пусконаладочных испытаний при переключениях избирателя с одного соответствующего положения на другое без вскрытия бака РПН и слива трансформаторного масла контактной системы РПН одновременно всех трех фаз по схеме, включающей индуктивность обмотки силового трансформатора относительно выводов обмотки высокого напряжения и нейтрали, при этом диагностику токоограничивающих сопротивлений в каждой фазе силового трехфазного трансформатора, в котором избиратель, контактор и приводной механизм выполнены в едином блоке, производят по величине постоянной времени ( ) переходного процесса изменения тока при его спаде, причем нарушению контактной системы дугогасительных контактов свойственно увеличение, наличию виткового замыкания в токоограничивающих сопротивлениях – уменьшение постоянной времени ( ) от пусконаладочных испытаний, в то время как обрыву токоограничивающего сопротивления соответствует постоянная времени ( ), равная нулю.
Описание фигур.
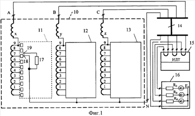
Для диагностики цепей дугогасительных контактов – 19 РПН типа РНТА – 35/200 Тольяттинского трансформаторного завода на фиг.1 приведена схема подключения цифрового регистратора 15 к выводам обмотки высоковольтного трансформатора 10, с помощью четырехпроводного кабеля 14. Цифровой регистратор 15, имеющий три измерительных датчика тока (ИДТ), питается от трехканального источника постоянного напряжения 16. РПН типа РНТА – 35/200 имеет единый привод (не показан) и все три фазы регулятора (11, 12, 13) находятся в отдельной емкости, заполненной трансформаторным маслом. Этот тип регулятора отличается от других быстродействующих РПН тем, что в нем избиратель, контактор и приводной механизм всех трех фаз выполнены в едином блоке, т.е. контакты избирателя и контактора находятся в одной емкости, а привод установлен на ее крышке. На фиг.1 показаны токоограничивающее сопротивление 17, главный 18 и дугогасительный 19 контакты, установленные на фазе «А».
На фиг.2 приведены реальные осциллограммы токов, полученные на трех фазах РПН типа РНТА-35/200 с помощью трехканального цифрового регистратора.
На фиг.3 показан порядок работы главного 18 и дугогасительного 19 контактов переключающего устройства при переводе с первого на второе положение.
На фиг.4 представлены виды осциллограмм тока при различных дефектах в цепи дугогасительного контакта РПН типа РНТА – 35/200.
Раскрытие изобретения
Для диагностики цепей дугогасительных контактов – 19 РПН (11, 12, 13) с токоограничивающим сопротивлением (17), силового трехфазного трансформатора 10, в котором избиратель, контактор и приводной механизм выполнены в едином блоке, производят осциллографирование токов по схеме, приведенной на фиг.1, с помощью цифрового регистратора 15 с использованием трехканального источника постоянного напряжения 16 и четырехпроводного кабеля 14 (фиг.1).
На фиг.2 представлены осциллограммы токов всех трех фаз РПН, полученные на регуляторе типа РНТА-35/200, а на фиг.3 – порядок работы главного 18 и дугогасительного контактов 19 переключающего устройства при переводе с первого на второе положение. Видно, что до момента времени t1 (фиг.2) положению главных 18 и дугогасительных 19 контактов соответствуют состояния, изображенные на фиг.3, а и фиг.3, б. Перемещение главного 18 и дугогасительного 19 контактов, изображенное на фиг.3в, будет соответствовать промежутку времени, начиная от t1 до t2 (фиг.2). После момента времени t2 (фиг.2) положению главных 18 и дугогасительных 19 контактов соответствует состояние, изображенное на фиг.3, г.
На фиг.4 представлены качественные осциллограммы кривых токов РПН типа РНТА-35/200 при различных дефектах в цепи (от точки Д до точки Е) дугогасительного контакта (фиг.3). В частности, на фиг.4, в подгруппе «а» приведена осциллограмма тока одной фазы бездефектного РПН. При наличии дефекта в контактной системе дугогасительного контакта (переходное сопротивление превышает данные, измеренные на заводе-изготовителе или данные предыдущих измерений) очевидно, постоянное времени ( ) будет превышать первоначальное значение, полученное при пусконаладочных испытаниях оборудования или от данных предыдущих измерений (фиг.4б).
В случае виткового замыкания на токоограничивающем сопротивлении 17 (фиг.3) постоянная времени ( ) резко изменится в сторону уменьшения и форма кривой тока (i) будет иметь вид, как показано на фиг.4в. Разумеется, при обрыве токоограничивающего сопротивления 17 постоянная времени ( ) будет равна нулю и форма кривой тока будет иметь вид, как показано на фиг.4г.
Таким образом, по анализу кривой тока осциллографирования работы дугогасительных контактов 19 путем сравнения осциллограмм с аналогичными осциллограммами, полученными во время пусконаладочных испытаний при переключениях регулятора с одного соответствующего положения на другое, возможно проводить диагностику цепей дугогасительных контактов в каждой фазе РПН типа РНТА-35/200 производства Тольяттинского трансформаторного завода.
Основными достоинствами предложенного способа являются: сокращение материальных затрат и времени диагностики, исключение вероятности загрязнения диэлектрической жидкости и окружающей среды, возможность контроля токоограничивающих сопротивлений без вскрытия бака РПН и слива трансформаторного масла, что возможно осуществить при любых условиях окружающей среды.
Фиг.1 – Схема подключения цифрового регистратора для диагностики цепей дугогасительных контактов РПН типа РНТА
1-9 номера ответвлений переключателя; 10 – силовой трансформатор; 11÷13 РПН фаз «А»; «В»; «С» соответственно, где 17 – токоограничивающее сопротивление; 18 – главный контакт; 19 – дугогасительный контакт; 14 – четырехпроводный кабель; 15 – цифровой регистратор, где ИДТ – измерительные датчики тока; 16 – трехканальный источник постоянного напряжения.
Фиг.2 – Осциллограммы токов дугогасительных контактов РПН типа РНТА-35/200 (зав №44) трансформатора Т-2 типа ТРДН-25000/110 (заводской №23077), установленного на п/ст. “Западная” Северные электрические сети ОАО «Чувашэнерго» (без слива масла и без вскрытия бака РПН).
Фиг.3 – Порядок работы главного и дугогасительного контактов устройства типа РНТА-35/200 при переводе с первого на второе положение.
1, 2, 3 – номера ответвлений избирателя; 17 – токоограничивающее сопротивление; 18 – главный контакт; 19 – дугогасительный контакт.
а – исходное первое положение РПН;
б – схема «моста»;
в – схема, при котором ток проходит только через дугогасительные контакты;
г – исходное второе положение РПН.
Фиг.4 – Ориентировочный вид осциллограмм тока при различных дефектах в цепи дугогасительного контакта РПН типа РНТА – 35/200:
а) – дефекты в контактной системе отсутствуют;
б) – наличие дефекта в контактной системе;
в) – витковое замыкание токоограничивающего сопротивления;
г) – обрыв токоограничивающего сопротивления.
Формула изобретения
Способ диагностики цепей дугогасительных контактов регулятора под нагрузкой (РПН) с токоограничивающими сопротивлениями силового трехфазного трансформатора, в котором избиратель, контактор и приводной механизм выполнены в едином блоке, а обмотки трансформатора соединены в звезду, отличающийся тем, что диагностику производят путем сравнения осциллограмм тока с аналогичными осциллограммами, выполненными во время пусконаладочных испытаний при переключениях избирателя с одного соответствующего положения на другое без вскрытия бака РПН и слива трансформаторного масла контактной системы РПН одновременно всех трех фаз по схеме, включающей индуктивность обмотки силового трансформатора относительно выводов обмотки высокого напряжения и нейтрали, при этом сравнивают постоянные времени переходного процесса изменения тока при его спаде, причем нарушению контактной системы дугогасительных контактов свойственно увеличение, а наличию виткового замыкания в токоограничивающем сопротивлении – уменьшение постоянной времени от пуско-наладочных испытаний, в то время как обрыву токоограничивающего сопротивления соответствует постоянная времени, равная нулю.
РИСУНКИ
MM4A – Досрочное прекращение действия патента СССР или патента Российской Федерации на изобретение из-за неуплаты в установленный срок пошлины за поддержание патента в силе
Дата прекращения действия патента: 11.07.2008
Извещение опубликовано: 10.07.2010 БИ: 19/2010
|