|
(21), (22) Заявка: 2003123695/06, 28.07.2003
(24) Дата начала отсчета срока действия патента:
28.07.2003
(43) Дата публикации заявки: 10.02.2005
(46) Опубликовано: 10.04.2008
(56) Список документов, цитированных в отчете о поиске:
РОЗЕНФЕЛЬД Л.М. и др. Холодильные машины и аппараты. – М.: Госторгиздат, 1960, с.467-468. RU 2008578 С1, 28.02.1994. GB 872255 A, 05.07.1961. RU 2065351 C1, 20.08.1996. SU 265907 A, 01.01.1970. GB 658767 А, 10.10.1951.
Адрес для переписки:
410041, г.Саратов, ул. 2-я Прокатная, 15, кв.2, В.Г. Грацинскому
|
(72) Автор(ы):
Грацинский Василий Григорьевич (RU)
(73) Патентообладатель(и):
Грацинский Василий Григорьевич (RU)
|
(54) КОНДЕНСАТОР ДЛЯ БЫТОВЫХ ХОЛОДИЛЬНИКОВ
(57) Реферат:
Конденсатор для бытовых холодильников состоит из трубки, проводящей фреон (хладон), и деталей, увеличивающих поверхность теплообмена. Детали, увеличивающие поверхность теплообмена, выполнены в виде полосок металла и приварены к змеевику трубки так, что их плоскости образуют с плоскостью конденсатора угол 40-80° в сторону от задней стенки холодильной камеры. Использование изобретения позволит повысить эффективность работы холодильной системы, что дает возможность улучшить ее теплофизические характеристики и уменьшить расход электроэнергии. 2 ил.
Данное изобретение относится к холодильной технике, а преимущественно к бытовым холодильникам. Принципы холодильной системы могут быть как компрессорного, так и абсорбционного типа. Бытовые холодильники имеют чрезвычайно большое значение в жизни людей для длительного хранения скоропортящихся продуктов и приготовления пищевого льда. Они выпускаются множеством фирм в различных странах. Во всех холодильниках важнейшим узлом холодильной системы является конденсатор, который в процессе работы нагревается выше, чем температура окружающего воздуха, и поэтому охлаждается им.
Известны конденсаторы промышленных холодильников в виде множества горизонтальных или вертикальных трубок кожухотрубного змеевикового либо многотрубного типа (Н.С.Комаров. Справочник холодильщика. М., Машгиз, 1962 г., 419 с). Эти конденсаторы требуют для их охлаждения интенсивной циркуляции теплоотводящих агентов, имеющих большую теплоемкость, например, воду (теплоемкость воздуха 1 кДж/кг·К, а у воды 4 кДж/кг·К). Применение таких конденсаторов для бытовых холодильников практически исключено.
Известны конденсаторы бытовых холодильников, например, типа “САРАТОВ 1641 КШ160” (Холодильник бытовой электрический “Саратов”. Руководство по эксплуатации. 7Д2.940.038 РЭ Саратов. 2002 г. 20 с). Конденсатор в этих холодильниках выполнен в виде змеевиковой трубки с приваренными к ней многочисленными отрезками металлической проволоки для увеличения поверхности теплоотдачи.
Однако недостаточная поверхность проволоки требует большого числа этих отрезков и большой площади, занимаемой конденсатором. В конструкции холодильника конденсатор занимает почти всю заднюю стенку холодильника. Из-за экономии габаритов конденсатор расположен на расстоянии порядка 50 мм от задней стенки холодильной камеры. При этом в процессе работы задняя стенка нагревается за счет конвективного обмена с конденсатором на 4-5 К выше, чем остальные стенки, что вызывает повышенную теплопередачу внутрь камеры и повышенные затраты электроэнергии.
Предлагаемое изобретение имеет цель:
– обеспечить более эффективную теплопередачу от металла конденсатора к охлаждающему воздуху,
– уменьшить габаритные размеры узла конденсатора, длину медной трубки с одновременным увеличением поверхности теплообмена,
– обеспечить отвод нагретого воздуха из пространства между задней стенкой камеры и конденсатором, исключив конвективный нагрев задней стенки,
– добиться более продолжительного интервала времени работы конденсатора с неизменными теплофизическими параметрами,
– а также улучшение экономичности холодильника по затратам электроэнергии.
Для достижения указанных целей медная трубка конденсатора согнута змеевиком с 4-8 меандрами, а к трубке приварены одна параллельно другой металлические полоски тонкого листа, составляющие с плоскостью конденсатора угол =40-60°.
Во всех бытовых холодильниках конденсатор является одним из важнейших узлов холодильной системы, в котором сжатый компрессором холодильный агент (фреон или хладон) конденсируется из парообразного состояния в жидкость. Процесс конденсации является экзотермическим процессом, т.е. при конденсации пара выделяется энтальпия парообразования (конденсации). Выделяющаяся теплота нагревает конденсатор и для выполнения холодильного цикла эта теплота должна отводиться из холодильной системы. Отвод теплоты осуществляется в холодильниках за счет естественной циркуляции окружающего воздуха вокруг конденсатора. При этом нагревающийся воздух поднимается вверх. В существующих системах с проволочками воздух, нагреваясь на нижней проволочке, поднимается вверх и проходит через все остальные проволочки будучи уже нагретым, поэтому мало охлаждает верхние проволочки. В результате чего эффективность существующих конденсаторов не оптимальна.
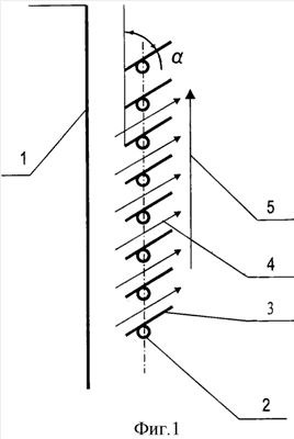
На фиг.1 и 2 изображены конструкции предлагаемого конденсатора (фиг.1) и существующего (фиг.2). На фиг.1 задняя стенка холодильной камеры обозначена цифрой 1, трубка конденсатора – 2, полоски предлагаемого конденсатора – 3, направления локальных потоков воздуха между меандрами конденсатора – 4, суммарный поток воздуха рядом с конденсатором – 5. Угол – есть угол наклона приваренной к трубке полоски с вертикалью. Направление отсчета градусов угла от вертикали по часовой стрелке.
На фиг.2 изображен существующий конденсатор. Здесь задняя стенка холодильной камеры обозначена цифрой 1, трубка конденсатора – 2, проволочки существующего конденсатора – 3, зона конвективного теплообмена между задней стенкой холодильной камеры и конденсатором у существующего холодильника – 4, зоны теплообмена между металлом конденсатора и протекающим воздухом – 7, зона подъема вверх нагретого воздуха – 8.
В существующих моделях холодильников, например, “Саратов-1225 КС-120”, “Саратов -1225М КШ-120”, “Саратов – 1641 КШ-160”, “Саратов-451 КШ-160” и др. конденсатор выполнен в виде изогнутой змеевиком медной трубки диаметром 6 мм, так что змеевик образует 10-15 меандров по площади конденсатора; к трубке приварены отрезки стальной проволоки диаметром 1,5 мм и длиной 430 мм с одной и с другой стороны трубки через 0,77 см в количестве 162 шт. Отрезки стальной проволоки образуют поверхность теплоотдачи в 3280 см2. Сама медная трубка у аналога имеет поверхность теплоотдачи 1118 см2, что дает общую площадь теплообмена 4398 см2.
Расположив в предлагаемом конденсаторе полоски металла размером 2×43 см с поверхностью теплообмена 2×43×2=172 см2 каждая через 1,5 см по площади конденсатора, получим поверхность теплообмена 7052 см2 плюс поверхность самой трубки 1118 см2, т.е. общую поверхность теплообмена в 3 раза больше, чем у существующих систем. Для реальной конструкции конденсатора по изобретению можно уменьшить общую поверхность (габариты) конденсатора в два раза, обеспечив при этом поверхность теплообмена в 1,5 раза выше, чем у существующих холодильников.
В существующих холодильниках за счет конвекционного теплообмена между конденсатором и задней стенкой холодильной камеры последняя нагревается на 4-5 K выше, чем все остальные стенки холодильной камеры. При этом образуется поверхность теплообмена 43×72 см = 3096 см2 с повышенной теплопередачей тепла внутрь холодильной камеры.
Известна [1] формула теплопередачи
Q= /в·S· Т
где Q – тепловой поток,
– коэффициент теплопроводности,
в – толщина теплоизолирующей стенки,
S – площадь поверхности теплопередачи,
T – температурный напор в К.
При температуре в холодильной камере [2] от 0 до 10°С и окружающей температуре помещения в 25°С имеем Т от 25 до 15 К. Повышение температуры задней стенки на 5°С увеличивает тепловой напор на ту же величину градусов, т.е. у задней стенки имеем тепловой напор Tзс=30…20 К.
В результате тепловой поток Q через заднюю стенку (см. формулу) увеличивается на площади конденсатора на величину от 20 до 33% (при любой, естественно, величине материала стенки). Повышенная теплопередача через заднюю стенку холодильника требует дополнительных затрат электроэнергии на поддержание температуры в камере в заданных пределах. В конденсаторе по изобретению задняя стенка обтекается только ненагретым воздухом (весь нагретый воздух отводится в сторону от конденсатора), поэтому указанные потери электроэнергии отсутствуют.
Следует отметить, что наличие наклона полосок – очень существенный признак изобретения, причем наклон должен быть выполнен именно в указанную на фиг.1 сторону, либо расположение пластинок вертикально либо горизонтально сразу же нарушает условия теплового насоса и сразу же образуется зона конвективного нагрева задней стенки.
В конденсаторе аналога стальная проволочка малого диаметра обтекается охлаждающим воздухом со всех сторон. Охлаждающий воздух всех квартир содержит в большом количестве минеральную и органическую пыль, которая оседает на проволочке со всех сторон. В результате образуется тепловой барьер (изолирующий слой) вокруг каждой проволочки, который снижает теплоотдачу поверхности проволочки и естественно ухудшает эффективность работы холодильника, что дает в результате повышенный расход электроэнергии по сравнению с паспортными данными.
Выполнить очистку поверхности от этой пыли в существующих холодильниках чрезвычайно затруднительно из-за огромного количества проволочек и малого зазора между ними.
В конденсаторе по изобретению указанная пыль оседает только на одну (верхнюю) поверхность каждой полоски, а довольно большое расстояние между полосками позволяет легко простой тряпочкой либо щеткой, либо кисточкой удалять эту пыль с ровной поверхности. После удаления пыли конденсатор восстанавливает свои тепло-физические характеристики.
Литература
1. Проф. Н.С.Комаров. Справочник холодильщика. 2-е изд. М., МАШГИЗ, 1962, 420 с.
2. Холодильник бытовой электрический “САРАТОВ”. Руководство по эксплуатации. 7Д2.940.038 РЭ. Саратов, СЭПО. 2002, 20 с.
Формула изобретения
Конденсатор для бытовых холодильников, состоящий из трубки, проводящей фреон (хладон), и деталей, увеличивающих поверхность теплообмена, отличающийся тем, что с целью экономии электроэнергии, повышения эффективности теплопередачи, уменьшения габаритов и меди трубки, отвода нагретого воздуха в сторону от задней стенки, увеличения интервала времени сохранения его теплофизических характеристик, детали, увеличивающие поверхность теплообмена, выполнены в виде полосок металла и приварены к змеевику трубки так, что их плоскости образуют с плоскостью конденсатора угол 40-80° в сторону от задней стенки холодильной камеры.
РИСУНКИ
MM4A – Досрочное прекращение действия патента СССР или патента Российской Федерации на изобретение из-за неуплаты в установленный срок пошлины за поддержание патента в силе
Извещение опубликовано: 27.04.2009 БИ: 12/2009
|