|
(21), (22) Заявка: 2006132018/11, 05.09.2006
(24) Дата начала отсчета срока действия патента:
05.09.2006
(46) Опубликовано: 10.04.2008
(56) Список документов, цитированных в отчете о поиске:
SU 614261 А1, 05.07.1978. SU 419650 А1, 15.03.1974. SU 1789799 A1, 23.01.1993. US 2004218972 А1, 04.11.2004.
Адрес для переписки:
650026, г.Кемерово, ул. Весенняя, 28, Кузбасский государственный технический университет, информационно-патентный отдел
|
(72) Автор(ы):
Немов Виктор Иванович (RU), Карасев Вячеслав Анатольевич (RU)
(73) Патентообладатель(и):
Государственное образовательное учреждение высшего профессионального образования “Кузбасский государственный технический университет” (ГУ КузГТУ) (RU)
|
(54) СПОСОБ УСТАНОВКИ СООСНОСТИ ВАЛОВ РЕДУКТОРОВ С ГИБКИМ СОЕДИНЕНИЕМ В СТЕСНЕННЫХ УСЛОВИЯХ
(57) Реферат:
Изобретение относится к машиностроению, а именно к установке в механизмах соосности валов редукторов с гибким соединением. Способ установки соосности валов включает визуальную установку фланцев редукторов параллельно и на одном уровне. К внешней поверхности фланца одного из редукторов прикрепляют один конец стержня, изогнутого по поверхности промежуточного гибкого соединения, с выдвижной иглой на другом конце. На внешней поверхности фланца другого редуктора прикрепляют хомут с заостренным выступом. Сначала в горизонтальной, затем в вертикальной плоскостях совмещают конец выдвижной иглы с острием выступа, затем поворачивают фланцы на 180° и при отклонении конца выдвижной иглы от острия выступа движениями редукторов добиваются совпадения концов выдвижной иглы и острия выступа до и после поворота на 180°. Это позволяет повысить точность установки соосности валов редукторов с гибким соединением в стесненных условиях. 1 ил.
Заявляемое техническое решение относится к машиностроению, а именно к установке в механизмах соосности валов редукторов с гибким соединением.
Так, например, в автомобиле “Нива” одной из основных причин шума и вибрации является несоосность ведущего вала раздаточной коробки и вторичного вала коробки передач. Из-за стесненности расположения этих редукторов невозможно с определенной степенью точности установить соосность соединяемых валов через гибкий малый карданный вал.
Известен приближенный способ сближения осей валов раздаточной коробки и коробки перемены передач (журнал “За рулем”, 1998 г., №1, стр.150). Для этого в начале регулируют положение раздаточной коробки по высоте с помощью пластин под кронштейнами ее подвески (см. руководство). Затем производят “подстройку” в динамике: вывешивают четыре колеса на подъемнике, запускают двигатель и при слабом креплении к кузову раздаточной коробки последняя занимает оптимальное положение.
Этот способ является приближенным.
Известен также “оптический” способ установки соосности валов редукторов (журнал “За рулем”, 1998 г., №8, стр.137), при котором автомобиль вывешивают на подъемнике, прикрепляют небольшое зеркальце к раздаточной коробке, а на полу устанавливают светильник с отражателем и направляют луч на зеркальце. При запущенном двигателе по величине отклонения зайчика судят о соосности валов редукторов.
Этот способ установки соосности валов является приближенным.
Известен также способ установки соосности валов редукторов с гибким соединением (Автомобили семейства “Нива”. Руководство по техническому обслуживанию и ремонту. С рекомендациями журнала “За рулем” / К.Б.Пятков, А.П.Игнатов, С.Н.Косарев и др. / 2-е изд. пер. и доп. – М. ЗАО “За рулем”, 2001, стр.79): “перемещая раздаточную коробку вдоль и поперек, а также в вертикальном направлении, находят положение, при котором флянцы ведущего вала раздаточной коробки и промежуточного вала карданной передачи, будучи на одном уровне, параллельны и зазор между ними минимальный”.
Установка соосности валов редукторов таким способом визуально очень приближенна, так как невозможно замерить общий уровень оси флянцев валов и их параллельность ввиду стесненности условий.
Задачей заявляемого предложения является повышение точности установки соосности валов редукторов с гибким соединением в стесненных условиях.
Указанная задача достигается тем, что в способе установки соосности валов редукторов с гибким соединением в стесненных условиях, включающем визуальную установку флянцев редукторов параллельно и на одном уровне, согласно заявляемому техническому решению к внешней поверхности флянца одного из редукторов прикрепляют один конец стержня, изогнутого по поверхности промежуточного гибкого соединения, с выдвижной иглой на другом конце, а на внешней поверхности флянца другого редуктора прикрепляют хомут с заостренным выступом, сначала в горизонтальной, затем в вертикальной плоскостях совмещают конец выдвижной иглы с острием выступа, затем поворачивают флянцы на 180° и при отклонении конца выдвижной иглы от острия выступа движениями редукторов добиваются совпадения концов выдвижной иглы и острия выступа до и после поворота на 180°.
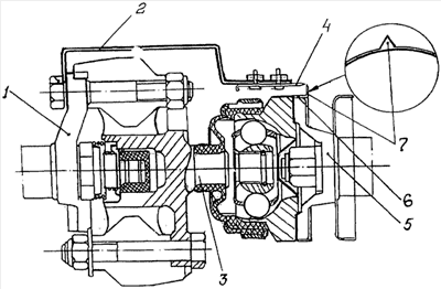
Заявленное техническое решение поясняется чертежом, где показано соединение гибким малым карданным валом осей коробки передач и раздаточной коробки.
Способ осуществляется следующим образом.
Перед установкой соосности валов отсоединяют от раздаточной коробки передний и задний карданные валы, ослабляют гайки крепления опор раздаточной коробки к кузову и гайки крепления кронштейнов на осях.
К внешней поверхности рожка флянца 1 вторичного вала коробки передач прикрепляют один конец стержня 2, выполненный, например, из мягкого металла толщиной примерно 1 мм и шириной 12-13 мм, изогнутый по поверхности малого карданного вала 3, с выдвижной иглой 4 на другом его конце. Для этого отворачиваем гайку одного из болтов рожка флянца 1 вторичного вала коробки передач на величину толщины стержня 2, конец которого вставляют в полученную щель. Далее на внешней поверхности флянца 5 ведущего вала раздаточной коробки помещают хомут 6, выполенный, например из жестяной полосы с заостренным выступом 7 размером 5-6 мм.
Установленный на флянец 5 хомут 6 поворачивают до расположения его против выдвижной иглы 4.
Вместо хомута 6 можно к внешней поверхности флянца 5 раздаточной коробки прижать пластину, выполненную, например, из мягкой жести длиной 70-80 мм и шириной 8 мм с заостренным на конце выступом 7, для чего отворачивается гайка флянца 5 на толщину пластины, которая вставляется с расположением выступа 7 против выдвижной иглы 4 стержня 2.
Далее сначала в горизонтальной плоскости движением выдвижной иглы 4 совмещают ее острие с расположенным напротив острием выступа 7 и затем поворачивают флянцы на 180°. При их несовпадении перемещают раздаточную коробку поперек и вдоль, добиваясь точного совпадения концов выдвижной иглы 4 и заостренного выступа 7. Аналогично в вертикальной плоскости в нижнем положении движением выдвижной иглы 4 совмещают ее острие с расположенным напротив острием выступа 8 и затем поворачивают флянцы на 180°. Для наблюдения положения в вертикальной плоскости концов выдвижной иглы 4 и острия выступа 7 хомута 6 необходимо снять крышку люка и внутренний чехол уплотнения рычагов раздаточной коробки. При несовпадении подкладывают регулировочные прокладки добиваясь точного совпадения концов иглы выдвижной 4 и заостренного выступа 7.
Заявленное техническое решение позволяет установить соосность осей валов редукторов с гибким соединением в стесненных условиях с достаточной точностью.
После вышеуказанных регулировок затягивают гайки крепления кронштейнов подвески и гайки крепления кронштейнов на осях.
Формула изобретения
Способ установки соосности валов редукторов с гибким соединением в стесненных условиях, включающий визуальную установку фланцев редукторов параллельно и на одном уровне, отличающийся тем, что к внешней поверхности фланца одного из редукторов прикрепляют один конец стержня, изогнутого по поверхности промежуточного гибкого соединения, с выдвижной иглой на другом его конце, а на внешней поверхности фланца другого редуктора прикрепляют хомут с заостренным выступом, сначала в горизонтальной, а затем в вертикальной плоскостях совмещают конец выдвижной иглы с острием выступа, затем поворачивают фланцы редукторов на 180° и при отклонении конца выдвижной иглы от острия выступа движениями редукторов добиваются совпадения концов выдвижной иглы и острия выступа до и после поворота на 180°.
РИСУНКИ
MM4A – Досрочное прекращение действия патента СССР или патента Российской Федерации на изобретение из-за неуплаты в установленный срок пошлины за поддержание патента в силе
Дата прекращения действия патента: 06.09.2008
Извещение опубликовано: 27.07.2010 БИ: 21/2010
|