|
|
(21), (22) Заявка: 2007104425/11, 05.02.2007
(24) Дата начала отсчета срока действия патента:
05.02.2007
(46) Опубликовано: 10.04.2008
(56) Список документов, цитированных в отчете о поиске:
RU 2189904 С1, 27.09.2002. RU 2112159 C1, 27.05.1998. SU 1520274 А1, 07.11.1989. GB 1454385 А, 03.11.1976. US 3023059 А, 27.02.1962.
Адрес для переписки:
141371, Московская обл., Сергиево-Посадский р-н, г. Хотьково, ул. Заводская, 1, ОАО ЦНИИСМ, патентное бюро
|
(72) Автор(ы):
Даштиев Идрис Зилфикарович (RU), Барынин Вячеслав Александрович (RU), Гашков Иван Юрьевич (RU), Черниговский Александр Андреевич (RU), Кульков Александр Алексеевич (RU), Журавлев Виктор Николаевич (RU), Исаев Василий Петрович (RU), Осташевич Дмитрий Владимирович (RU), Ильин Сергей Яковлевич (RU), Елисеев Александр Константинович (RU), Левин Михаил Антонович (RU), Пеклер Константин Владимирович (RU)
(73) Патентообладатель(и):
Открытое акционерное общество Центральный научно-исследовательский институт специального машиностроения (RU)
|
(54) ВКЛАДЫШ ПОДШИПНИКА СКОЛЬЖЕНИЯ И СПОСОБ ЕГО ИЗГОТОВЛЕНИЯ
(57) Реферат:
Изобретение относится к машиностроению, например к гидротурбиностроению, судостроению, в частности к узлам трения гидромашин, гребных валов. Вкладыш подшипника скольжения выполнен из армированного волокном эпоксидного пластика с заформованной в него системой фторопластовых цилиндрических элементов, расположенных так, что они охватывают равномерно всю поверхность трения вкладыша. Система элементов заформована заподлицо в эпоксидный пластик, причем в средней части по высоте элементов выполнены параллельные поверхности трения надрезы, так что удаленная от поверхности трения часть элементов расположена под углом к поверхности трения, определяемым глубиной и шириной надреза, а внутри элементов в зоне трения выполнены конусообразные полости с вершиной в удаленной от поверхности трения части элементов. Также заявлен способ изготовления вкладыша подшипника скольжения методом намотки с предварительной укладкой на оправку гладкой стороной антифрикционного слоя в виде фторопластовой пластины с цилиндрическими выступающими элементами, намотки силового слоя из волокнистого эпоксидного пластика, опрессовки, термообработки и механической обработки заготовки. Перед намоткой силового слоя в средней части выступающих элементов антифрикционного слоя вдоль линии намотки выполняют надрезы и намотку первого слоя волокнистым материалом производят с противоположной надрезам стороны таким образом, что удаленная от зоны трения часть цилиндрического элемента изгибается в сторону надреза и фиксируется в силовом слое под углом к продольной оси вкладыша. Технический результат: повышение нагрузочной способности и надежности вкладыша подшипника скольжения. 2 н.п. ф-лы, 4 ил.
Изобретение относится к машиностроению, например к гидротурбиностроению, судостроению, в частности к узлам трения гидромашин, гребных валов, работающих при высоких нагрузках: больших удельных давлениях, скоростях скольжения без смазки и в водной среде.
Для обеспечения работоспособности высоконагруженных узлов трения в машиностроении узлы трения изготавливаются из высокопрочных материалов при одновременном снижении коэффициента трения за счет использования материалов с низким коэффициентом трения.
Известно антифрикционное изделие, состоящее из размещенных в корпусе чередующихся элементов с поверхностью трения, выполненных из самосмазывающегося и конструкционного материалов, жестко соединенных между собой, при этом элементы из самосмазывающегося материала-фторопласта расположены в шахматном порядке и соотношение площадей поверхностей трения элементов, выполненных из фторопласта и конструкционного материала – ацетальной смолы, составляет от 1:5 до 1:2 / А.с. СССР №1552734, кл. F16C 33/00, 1988 г./.
Недостатком данного технического решения для применения в высоконагруженных узлах трения в машиностроении является недостаточная нагрузочная способность антифрикционного изделия, ограничивающаяся прочностью термопластичной ацетальной смолы (до 100 МПа).
Известен также способ изготовления методом намотки подшипника скольжения из композиционных материалов, при котором на антифрикционный слой наматывается силовой слой, а для повышения надежности и закрепления антифрикционного слоя в силовом слое на наружной поверхности антифрикционного слоя нарезают кольцевые канавки с эксцентриситетом относительно оси подшипника (патент РФ №2184904, кл. В29D 31/02, 2001). Недостатком указанного способа также является образование всей поверхности трения недостаточно прочным антифрикционным материалом, например, из фторопласта с наполнителями,  40 МПа, что недостаточно при разработке высоконагруженных подшипников скольжения.
Наиболее близким по технической сущности к заявленному объекту является вкладыш подшипника скольжения (Патент СССР №1835192 от 25.03.91, кл. F16C 33/04), выполненный из волокнистоармированного конструкционного материала и содержащий фторопластовые элементы самосмазывающегося материала, выполненные в виде пластины с расположенными отдельно друг от друга на одной ее поверхности выступами, заформованными в волокнистоармирующий конструкционный материал.
Известный вкладыш не обеспечивает высокую нагрузочную способность и надежность узла трения за счет наличия в узле трения пластины из низкомодульного фторопласта, который выдавливается при высоких нагрузках из зоны трения с появлением в узле трения недопустимого радиального зазора, а сами фторопластовые выступы ненадежно закреплены в волокнистоармирующем материале из-за недостаточной адгезии между материалами и отсутствия надежного механического закрепления фторопластовых выступов в пластике.
Технической задачей, на решение которой направлено изобретение, является повышение нагрузочной способности и надежности вкладыша высоконагруженного подшипника скольжения за счет применения высокопрочного эпоксидного углепластика с заформованной в него системой элементов из фторопласта, в результате которого исключаются остаточные деформации вкладыша при нагрузках до 250 МПа и обеспечивается низкий коэффициент трения из-за наличия оригинальных фторопластовых элементов.
Поставленная задача решается тем, что система фторопластовых цилиндрических антифрикционных элементов заформована заподлицо в эпоксидный высокопрочный пластик, причем в средней части по высоте цилиндрических фторопластовых элементов выполнены параллельные поверхности трения надрезы, так что удаленная от поверхности трения часть фторопластовых элементов размещена в эпоксидном пластике под углом к поверхности трения, определяемым глубиной и шириной надреза, а внутри фторопластовых цилиндрических элементов в зоне трения выполнены конусообразные полости с вершиной в удаленной от поверхности трения части фторопластовых цилиндрических элементов. Повышение нагрузочной способности достигается сочетанием низкого коэффициента трения надежно закрепленных в пластине фторопластовых элементов с несущим высокопрочным эпоксидным пластиком на основе жгута из высокомодульных углеродных волокон типа УКН-5000 с прочностью при сжатии до 1000 МПа.
Повышение эксплуатационной надежности вкладыша подшипника скольжения обеспечивается путем надежного закрепления цилиндрических фторопластовых элементов антифрикционного слоя, выполнением надрезов в средней части цилиндрических выступающих элементов вдоль линии намотки и намоткой первого слоя пропитанным волокнистым материалом с противоположной надрезам стороны таким образом, что удаленная от зоны трения часть цилиндрического элемента изгибается в сторону надреза и фиксируется в силовом слое эпоксидного пластика под углом к продольной оси вкладыша подшипника скольжения, что исключает выпадения цилиндрических фторопластовых элементов из намотанного пластика при мехобработке, сборке и основной работе.
Отличительными признаками вкладыша подшипника скольжения являются:
– система фторопластовых цилиндрических элементов заформована заподлицо в эпоксидный пластик;
– в средней части по высоте цилиндрических фторопластовых элементов выполнены параллельные поверхности трения надрезы и при намотке первого слоя волокнистого пропитанного материала со стороны, противоположной надрезам, цилиндрические элементы изгибаются в сторону надрезов и фторопластовые цилиндрические элементы своей частью устанавливаются под углом к поверхности трения, тем самым обеспечивается надежное закрепление этих элементов в пластике;
– внутри фторопластовых элементов в зоне трения выполнены конусообразные полости с вершиной в удаленной от поверхности трения части цилиндрических фторопластовых элементов, служащие для размещения и удержания антифрикционного приработочного материала, например фторопластового лака ФБФ-74Д;
– намотку первого слоя волокнистого пропитанного материала проводят со стороны, противоположной надрезам, на цилиндрических фторопластовых элементах.
Все признаки в совокупности позволят повысить нагрузочную способность и эксплуатационную надежность вкладыша подшипника скольжения.
Указанные признаки конструктивно и технологически взаимосвязаны и являются существенными, так как каждый из них и в отдельности, и все совместно направлены на решение поставленной задачи с достижением технического результата – повышения нагрузочной способности и надежности вкладыша подшипника скольжения. Использования единой совокупности существенных отличительных признаков в известных решениях не обнаружено, что характеризует соответствие предложенного технического решения критерию «новизна».
Единая совокупность новых существенных признаков с общими известными обеспечивает решение поставленной задачи и характеризует предложенное техническое решение существенными отличиями по сравнению с известным уровнем техники и аналогами. Данное техническое решение является результатом НИОКР по повышению надежности и нагрузочной способности подшипников скольжения гидротурбин, по повышению технологичности их изготовления. Решение неочевидно, что свидетельствует о его соответствии критерию «изобретательский уровень».
Описание чертежей и предпочтительного варианта осуществления изобретения
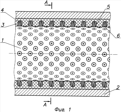
Сущность изобретения поясняется чертежами, где на фиг.1 изображен продольный разрез вкладыша, на фиг.2 – разрез А-А на фиг.1, на фиг.3 – фрагмент фторопластовой пластины с цилиндрическими выступающими элементами перед намоткой силового слоя; на фиг.4 – фрагмент продольного разреза вкладыша после намотки силового слоя.
Вкладыш 1 подшипника скольжения содержит установленный в обойме 2 силовой слой вкладыша 3, в котором заформованы фторопластовые цилиндрические элементы 4 с параллельными поверхности трения надрезами 5 и конусообразными полостями 6 в зоне трения внутри фторопластовых цилиндрических элементов, расположенные так, что они охватывают равномерно всю поверхность трения вкладыша.
Силовой слой 3 вкладыша выполнен из эпоксидного намоточного углепластика на основе жгута 7, пропитанного эпоксидным связующим, фторопластовая пластина с цилиндрическими выступающими элементами изготовлена методом прессования или штамповки из листового фторопласта 4.
Пример конкретного выполнения вкладыша и способа его изготовления
В качестве антифрикционной детали выбрана фторопластовая пластина толщиной 0,3÷0,5 мм (из технологических возможностей) с цилиндрическими выступающими элементами высотой 3÷5 мм (максимальный допускаемый износ с учетом запаса) с параллельными поверхности трения надрезами в средней части по высоте цилиндрических фторопластовых элементов и конусообразными полостями внутри цилиндрических элементов и выходящими на поверхность трения. Диаметр и шаг цилиндрических элементов выбирается исходя из условия обеспечения перекрытия фторопластовым элементом минимального возможного перемещения в паре трения. Диаметр фторопластовых цилиндрических элементов составляет 2÷3 мм с шагом 2,5÷4 мм для обеспечения необходимого угла намотки жгута (20÷30°), для обеспечения достаточной прочности пластины в кольцевом и радиальном направлении и обеспечения примерно одинакового коэффициента линейного расширения в тех же направлениях.
Соотношение площади поверхности фторопластовых цилиндрических элементов к общей площади вкладыша составляет от 20 до 50%, что соответствует тем же значениям, приведенным в аналоге и прототипе.
Антифрикционную деталь – фторопластовую пластину с цилиндрическими выступающими элементами гладкой стороной укладывают на всей поверхности оправки с помощью двусторонней клейкой ленты, а выступающие цилиндрические элементы образуют поверхность-матрицу для намотки силового слоя 3, затем наматывают первый спиральный слой жгутом 7 со стороны, противоположной надрезам, так, что удаленная от зоны трения часть цилиндрического элемента изгибается в сторону надреза и фиксируется в силовом слое – намоточном пластике под углом к продольной оси вкладыша подшипника скольжения. После намотки силового слоя, опрессовки и термообработки с отверждением заготовка подвергается механической обработке по наружной поверхности и после вклеивания в обойму 2 мехобработке подвергается фторопластовая пластина с удалением полностью пластины и частично по высоте цилиндрических выступающих элементов при мехобработке в размер. В окончательном виде вкладыш подшипника скольжения состоит из силового слоя эпоксидного пластика с заформованной заподлицо в него равномерно по всей поверхности системой фторопластовых цилиндрических элементов, расположенных своей частью под углом к поверхности трения в осевом направлении вкладыша. На поверхность трения вкладыша перед сборкой наносится приработочный слой – фторопластовый лак ФБФ-74Д толщиной 0,02÷0,04 мм для заполнения микронеровностей контактирующих поверхностей.
Коэффициент сухого трения разработанного вкладыша по нержавеющей стали составляет 0,07-0,09, при трении со смазкой водой достигается коэффициент трения 0,015-0,03 за счет постоянного нахождения и выдавливания воды из конусообразных впадин в фторопластовых цилиндрических элементах.
Разработанный вкладыш обеспечивает стабильность коэффициента трения из-за постоянного нахождения антифрикционного материала практически по всей поверхности трения за весь срок службы.
Использование изобретения позволит создать вкладыши подшипников скольжения с повышенной нагрузочной способностью и надежностью, позволит повысить ресурс за счет высокой износостойкости и низкого коэффициента трения эпоксидного углепластика в сочетании с фторопластом.
Новое техническое решение при реализации его в вкладышах подшипников скольжения воспроизводимо промышленным способом и востребовано промышленностью при разработке подшипников гидротурбин, гребных валов и др.
Формула изобретения
1. Вкладыш подшипника скольжения, выполненный из армированного волокном эпоксидного пластика с заформованной в него системой фторопластовых цилиндрических элементов, расположенных так, что они охватывают равномерно всю поверхность трения вкладыша, отличающийся тем, что система фторопластовых цилиндрических элементов заформована заподлицо в эпоксидный пластик, причем в средней части по высоте цилиндрических фторопластовых элементов выполнены параллельные поверхности трения надрезы так, что удаленная от поверхности трения часть фторопластовых элементов расположена под углом к поверхности трения, определяемым глубиной и шириной надреза, а внутри цилиндрических фторопластовых элементов в зоне трения выполнены конусообразные полости с вершиной в удаленной от поверхности трения части цилиндрических фторопластовых элементов.
2. Способ изготовления вкладыша подшипника скольжения методом намотки с предварительной укладкой на оправку гладкой стороной антифрикционного слоя в виде фторопластовой пластины с цилиндрическими выступающими элементами, намотки силового слоя из волокнистого эпоксидного пластика, опрессовки, термообработки и механической обработки заготовки, отличающийся тем, что перед намоткой силового слоя в средней части цилиндрических выступающих элементов антифрикционного слоя вдоль линии намотки выполняют надрезы и намотку первого слоя волокнистым материалом производят с противоположной надрезам стороны таким образом, что удаленная от зоны трения часть цилиндрического элемента изгибается в сторону надреза и фиксируется в силовом слое под углом к продольной оси вкладыша подшипника скольжения.
РИСУНКИ
|
|