|
|
(21), (22) Заявка: 2005115077/11, 22.10.2003
(24) Дата начала отсчета срока действия патента:
22.10.2003
(30) Конвенционный приоритет:
30.10.2002 (пп.1-4) SE 0203195-3
(43) Дата публикации заявки: 20.01.2006
(46) Опубликовано: 10.04.2008
(56) Список документов, цитированных в отчете о поиске:
ЕР 1179393 A1, 13.02.2002. RU 2115591 C1, 20.07.1998. SU 972026 A, 25.11.1982. SU 707854 A, 05.01.1980.
(85) Дата перевода заявки PCT на национальную фазу:
30.05.2005
(86) Заявка PCT:
SE 03/01640 (22.10.2003)
(87) Публикация PCT:
WO 2004/040148 (13.05.2004)
Адрес для переписки:
191186, Санкт-Петербург, а/я 230, ООО “АРС-Патент”, пат.пов. М.В.Хмаре
|
(72) Автор(ы):
ЭРИКССОН Ларс (SE)
(73) Патентообладатель(и):
ОЙОП Свиден АБ (SE)
|
(54) УСТРОЙСТВО ДЛЯ ФИКСАЦИИ РЫЧАЖНОГО ЗАМКА
(57) Реферат:
Изобретение относится к устройству для фиксации рычажного замка. Устройство для фиксации рычажного замка, предотвращающее его непреднамеренное открытие, содержит удерживающие средства пружинного действия, выполненные с возможностью ручного освобождения и установленные между подвижным рычагом и неподвижной частью замка. Удерживающие средства содержат пружину, прикрепленную к рычагу, и контактные средства, связанные с неподвижной частью. Пружина имеет один конец, прикрепленный к рычагу, и противоположный подвижный конец, образующий средства взаимодействия, выполненные с возможностью взаимодействия с контактными средствами в закрытом положении замка. Противоположный конец пружины снабжен направляющими средствами, направляющими движение указанного противоположного конца пружины относительно рычага. В результате увеличивается надежность фиксации замка, стягивающая сила не ослабевает в результате вибрации или удара. 3 з.п. ф-лы, 11 ил.
Область техники, к которой относится изобретение
Настоящее изобретение относится к устройству для фиксации рычажного замка в соответствии с ограничительной частью пункта 1 формулы изобретения.
Уровень техники
Рычажные замки, называемые также перекидными замками или запорами, обычно используются для закрепления, часто для прижима, двух объектов относительно друг друга, например для удержания крышки в закрытом положении на коробке или ящике. Первая часть замка, называемая также зацепом и часто имеющая форму крюка, прикреплена к одному объекту. Элемент основания другой части замка прикреплен к другому объекту.
Неотъемлемым свойством рычажного замка является его способность самоблокировки в закрытом положении под нагрузкой. Иногда нагрузка временно снижается или сбрасывается, например, из-за вибрации или удара. В таких случаях рычаг замка может быть приведен в движение до перехода мертвой точки рычажного механизма. В результате не только ослабевает стягивающая сила, но даже может иметь место поломка или повреждение.
В патентном документе ЕР 1179393 А1 раскрыт крупный зажимной механизм, в механическом отношении напоминающий рычажный замок, но не обладающий способностью самоблокировки. Таким образом, для того, чтобы удерживать зажимной механизм в закрытом положении, его рабочий рычаг снабжен подпружиненным запорным элементом, взаимодействующим с защелкой на неподвижном основании. Запорный элемент высвобождается из контакта с защелкой путем нажатия его вручную против усилия пружины, после чего можно поднять рычаг и освободить зажимной механизм.
Хотя это известное устройство может использоваться также для фиксации рычажного замка, его очевидный недостаток заключается в том, что применительно к рычажному замку обычных размеров запорный элемент представляет собой громоздкую конструкцию и мешает обращению с замком, поскольку он проходит по существу перпендикулярно вниз от средней части рычага.
Раскрытие изобретения
Задача, на решение которой направлено настоящее изобретение, заключается в создании освобождаемого вручную устройства для фиксации, которое позволяет устранить указанный недостаток.
В соответствии с изобретением решение поставленной задачи достигается за счет создания устройства для фиксации рычажного замка, предотвращающего его непреднамеренное открытие, содержащего удерживающие средства пружинного действия, выполненные с возможностью ручного освобождения и установленные между подвижным рычагом и неподвижной частью замка. Удерживающие средства пружинного действия содержат пружину, прикрепленную к рычагу, и контактные средства, связанные с неподвижной частью. Пружина имеет один конец, прикрепленный к рычагу, и противоположный подвижный конец, образующий средства взаимодействия, выполненные с возможностью взаимодействия с контактными средствами в закрытом положении замка. Противоположный конец пружины снабжен направляющими средствами, направляющими движение указанного противоположного конца пружины относительно рычага.
Краткое описание чертежей
Далее со ссылками на прилагаемые чертежи будут подробно описаны примеры осуществления изобретения. На чертежах:
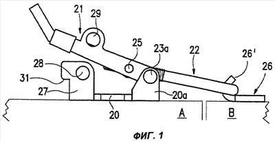
фиг.1 изображает на виде сбоку в открытом положении рычажный замок в соответствии с предпочтительным примером выполнения изобретения,
фиг.2 – замок по фиг.1 на виде сверху,
фиг.3 – замок по фиг.1 и 2 на виде сбоку в закрытом положении,
фиг.4 – замок по фиг.3 на виде сверху,
фиг.5 – замок в увеличенном масштабе в разрезе по линии V-V на фиг.4,
фиг.6 – замок в увеличенном масштабе в разрезе по линии VI-VI на фиг.2,
фиг.7 изображает на виде сбоку пластинчатую пружину, используемую в примере выполнения по фиг.1-6, в масштабе фиг.5 и 6,
фиг.8 изображает на виде сбоку в закрытом положении рычажный замок с проволочной пружиной в качестве устройства для фиксации,
фиг.9 – рычажный замок по фиг.8 на виде сверху,
фиг.10 изображает на виде сверху рычажный замок по фиг.8 и 9 с проволочной пружиной в положении освобождения,
фиг.11 – замок в разрезе по линии VII-VII на фиг.8.
Осуществление изобретения
Рычажные замки по данному изобретению базируются на обычной конструкции замка. Такой рычажный замок описан со ссылками на фиг.1-4. Он содержит пластину 20 основания, предназначенную для крепления к объекту А, который должен быть прижат к объекту В. Замок содержит также рычаг 21 и захватный элемент 22. Рычаг 21 установлен с возможностью поворота на заклепках 23а, 23b в отстоящих друг от друга кронштейнах 20а, 20b, которые отходят от пластины 20 основания. Первый конец 22а захватного элемента 22 снабжен резьбой и ввинчивается во внутреннюю резьбу цилиндрического тела 24, которое связано с рычагом 21 и находится на некотором расстоянии от заклепок 23а, 23b. Точнее, цилиндрическое тело 24 установлено между разнесенными сторонами 21а, 21b рычага 21 с возможностью поворота с помощью укрепленных в указанных сторонах штырей 25. На свободном конце захватного элемента 22 образована петля 22b для зацепления крюкового конца 26 зацепа 26, прикрепленного к объекту В. Часто предусмотрен дополнительный кронштейн 27, выполненный заодно с пластиной основания и снабженный отверстием 28, которое находится на одной линии с отверстием 29 в рычаге 21 в закрытом положении рычажного замка для запирания рычага с пластиной основания с помощью висячего замка.
Кроме такого позитивного запирания, когда обычный рычажный замок находится в закрытом состоянии по фиг.3 с затягивающим усилием, по существу только усилие от захватного элемента, направленное к центру поворота цилиндрического тела 24, не дает рычагу 21 пройти через мертвую точку и снять затягивающее усилие.
Для предотвращения такой ситуации изобретение предусматривает освобождаемый вручную пружинный механизм, расположенный между неподвижной пластиной 20 основания и рычагом 21.
Первый предпочтительный пример выполнения указанного механизма изображен на фиг.1-7. Механизм содержит пластинчатую пружину 30, которая укреплена на рычаге 21 и показана отдельно на фиг.7, и контактную поверхность 31, которая связана с пластиной 20 основания и в данном случае выполнена на кронштейне 27.
Пластинчатая пружина 30 выполнена удлиненной, а ее основная плоскость в нормальном, ненапряженном состоянии проходит вдоль внутренней поверхности стороны 21а. В пружине около одного из ее концов выполнено отверстие 32 и другое отверстие 33, расположенное на расстоянии от первого. Указанный конец пружины прикреплен к стороне 21а с зажимом, с одной стороны, между внутренним концом стороны и расклепанным внутренним концом 23а заклепки 23а, проходящей через отверстие 32, и, с другой стороны, цилиндрическим телом 24, штырь которого проходит через отверстие 33.
На свободном конце пластинчатой пружины вдоль ее верхней кромки 30а имеется выполненная заодно с пружиной защелка 34. По существу горизонтальная часть 34а защелки проходит по существу под углом 90° к основной плоскости пружины и над стороной 21а рычага 21 (фиг.4 и 5) с выступом за эту сторону на расстояние, равное или несколько большее ширины стороны 21а. Свободный конец горизонтальной части 34а отогнут вниз для образования по существу вертикальной части 34b и дополнительно загнут внутрь для образования нижней по существу горизонтальной части 34с, проходящей под стороной 21а. Как видно на фиг.5, свободная кромка 30с нижней горизонтальной части 34с оставляет небольшое пространство для нижней кромки 30b пластинчатой пружины, меньшее, чем ширина стороны 21а.
В закрытом положении рычага 21, показанном на фиг.3-5, верхняя горизонтальная часть 34а находится под контактной поверхностью 31 кронштейна 27, что препятствует движению рычага вверх, как это видно на фиг.3-5.
Для того, чтобы освободить рычаг 21, защелку 34 отжимают влево на фиг.5, чтобы упруго сдвинуть ее горизонтальную часть 34а из положения под контактной поверхностью 31а. В положении защелки по фиг.6, в котором ее вертикальная часть 34b примыкает к наружной поверхности стороны 21а, рычаг освобожден и может быть открыт, после чего пластинчатая пружина снова занимает ненагруженное положение вдоль стороны 21а. При следующем закрытии скошенная снятием фаски поверхность 35 кронштейна 27 взаимодействует с нижней горизонтальной частью 34с и вынуждает пластинчатую пружину отгибаться внутрь до тех пор, пока верхняя горизонтальная часть 34а не займет положение, непосредственно предшествующее положению по фиг.6, после чего она освобождается для перехода в ненагруженное положение фиксации. Движения пластинчатой пружины направляются верхней и нижней горизонтальными частями 34а, 34с, которые скользят соответственно по верхней и нижней поверхностям стороны 21а.
Во втором примере выполнения изобретения, показанном на фиг.8-11, в качестве удерживающих средств используется проволочная пружина 36. Один конец прямой основной части 36а пружины загнут под углом 90°, и на этом свободном конце образована петля 36b. Заклепка 37 соединяет пружину со стороной 21b рычага 21. Прямая основная часть 36а пружины отходит перпендикулярно от стороны 21b и проходит за сторону 21а. Свободный конец пружины изогнут с образованием U-образного освобождаемого вручную фиксатора 36с, охватывающего сторону 21а. В закрытом положении рычага 21 по фиг.8, 9 и 11 верхняя ножка 36е фиксатора взаимодействует с гнездом 38 в кронштейне 27 , который в этом примере выполнения расположен между сторонами 21а, 21b рычага 21. Для освобождения рычага фиксатор отжимают вниз по фиг.9 и 10. Движение фиксатора направляется двумя противолежащими ножками 36d, 36е, охватывающими сторону 21а рычага.
Формула изобретения
1. Устройство для фиксации рычажного замка, предотвращающее его непреднамеренное открытие, содержащее удерживающие средства (30, 34, 36) пружинного действия, выполненные с возможностью ручного освобождения и установленные между подвижным рычагом (21) и неподвижной частью (20, 27) замка, причем удерживающие средства содержат пружину (30, 36), прикрепленную к рычагу (21а, 21b), и контактные средства (31, 38), связанные с неподвижной частью (20, 27), отличающееся тем, что пружина (30) имеет один конец, прикрепленный к рычагу (21а), и противоположный подвижный конец, образующий средства (34а, 36а) взаимодействия, выполненные с возможностью взаимодействия с контактными средствами (31, 38) в закрытом положении замка, причем противоположный конец пружины снабжен направляющими средствами (34а, 34с, 36d, 36e), направляющими движение указанного противоположного конца пружины относительно рычага (21а).
2. Устройство по п.1, отличающееся тем, что пружина выполнена в виде пластинчатой пружины (30).
3. Устройство по п.1, отличающееся тем, что пружина выполнена в виде проволочной пружины (36).
4. Устройство по п.2 или 3, отличающееся тем, что направляющие средства содержат по меньшей мере одну часть (34а, 34с, 36d, 36e) пружины (30, 36), изогнутую с охватом части рычага.
РИСУНКИ
|
|