|
|
(21), (22) Заявка: 2006144050/06, 11.12.2006
(24) Дата начала отсчета срока действия патента:
11.12.2006
(46) Опубликовано: 10.04.2008
(56) Список документов, цитированных в отчете о поиске:
RU 41499 U1, 27.10.2004. RU 54643 U1, 10.07.2006. SU 1756724 A1, 23.08.1992. RU 2142582 C1, 10.12.1999. WO 95/25897 A1, 28.09.1995.
Адрес для переписки:
620002, г.Екатеринбург, ул. Мира, 19, ГОУ ВПО “УГТУ-УПИ”, Центр интеллектуальной собственности
|
(72) Автор(ы):
Велькин Владимир Иванович (RU), Школьный Александр Валерьевич (RU), Кириллов Максим Петрович (RU), Ачкеев Михаил Викторович (RU), Гурин Антон Александрович (RU)
(73) Патентообладатель(и):
Государственное общеобразовательное учреждение высшего профессионального образования “Уральский государственный технический университет-УПИ” (RU)
|
(54) ЗАВИХРИТЕЛЬ
(57) Реферат:
Изобретение относится к энергетике, в частности к области производства тепловой и электрической энергии на тепловых и атомных электростанциях, и может быть использовано в трубопроводах с двухфазными потоками. В завихрителе, содержащем корпус, на внутренней стенке которого со стороны входа потока текучей среды выполнены направляющие пазы, а на концах установлены фланцы, направляющие пазы выполнены в виде лепестков, охватывающих весь периметр внутренней поверхности корпуса, а количество пазов определяется соотношением D/2, где D – внутренний диаметр основного трубопровода; высота паза h составляет 0,3d, где d – толщина стенки основного трубопровода, при этом толщина стенки корпуса равна d+0,3d, a протяженность пазов на участке завихрения составляет 10-15D в зависимости от скорости и режима течения потока в трубопроводе. Устройство позволяет увеличить площадь и объем охвата текущей среды по всему внутреннему периметру перед поворотным участком, повысить эффект закручивания потока и снизить вибрацию трубопровода вследствие отсутствия градиента давлений на стенках трубопровода; исключить загрязнение направляющих пазов отложениями ржавчины вследствие изменения прямоугольного профиля паза на лепестковый. 1 ил.
Изобретение относится к энергетике, в частности к области производства тепловой и электрической энергии на тепловых и атомных электростанциях, и может быть использовано в трубопроводах с двухфазными потоками.
Из уровня техники известен аналог – устройство для воздействия на поток текучей среды (заявка на изобретение №1785115, опубликованная 10.05.96 года, МПК F15D 1/02), содержащее осесимметричный канал для прокачивания основной текучей среды и устройство для регулируемого гидродинамического возбуждения потока текучей среды. Недостатками аналога являются: большое гидравлическое сопротивление устройства, способствующее возникновению и поддержанию вибраций в трубопроводе, и необходимость затрат энергии на подачу возмущающей струи.
Наиболее близким по совокупности существенных признаков является завихритель, содержащий цилиндрический корпус, внутри которого выполнены эвольвентные канавки (патент на полезную модель №41499, опубл. 27.10.2004 года, МПК 7 F15D 1/04).
Недостатками прототипа являются: вибрация трубопровода с двухфазным потоком, захват незначительного объема пристенной жидкости для закручивания, относительно низкий эффект по снижению градиента давления между внутренним и внешним радиусами потока среды перед вхождением в поворотный участок.
Задача, решаемая предлагаемым изобретением, – снижение вибраций трубопровода за счет повышения эффективности выравнивания скоростей потока по внутреннему сечению посредством увеличения площади взаимодействия с движущимся двухфазным потоком и объема завихряемой среды во внутреннем периметре завихрителя.
Указанная задача достигается за счет того, что в отличие от известного завихрителя, содержащего эвольвентные канавки прямоугольного сечения, на внутренней стенке предлагаемого завихрителя со стороны входа потока текучей среды по всему внутреннему периметру выполнены направляющие пазы в виде лепестков, причем количество пазов по окружности цилиндрической части завихрителя определяется соотношением D/2, где D – внутренний диаметр основного трубопровода; высота направляющего паза лепестка h составляет 0,3d, где d – толщина стенки основного трубопровода; при этом толщина стенки завихрителя равна d+0,3d, а протяженность направляющих пазов на участке завихрения составляет 10-15D в зависимости от скорости и режима течения потока в трубопроводе.
Протяженность прямолинейной зоны участка завихрителя с направляющими пазами составляет 10-15D, что обуславливается протяженностью участка стабилизации потока текучей среды при различных режимах течения потока в трубопроводе, характеризующихся расходными характеристиками (значениями критерия Рейнольдса).
Завихритель выполняет функцию закручивания движущегося потока с целью сохранения равномерного давления на стенки трубопровода в поворотном участке за счет выравнивания скоростей потока среды по сечению трубопровода, в результате чего снижается градиент давления по внутреннему и внешнему радиусу стенки внутри трубы в повороте и, как следствие, снижается уровень вибрации.
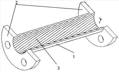
Изобретение поясняется чертежом, на котором представлен разрез завихрителя.
Завихритель содержит корпус 1, на концах которого установлены фланцы 2. На внутренней стенке корпуса 1 выполнены направляющие пазы 3. Завихритель своими фланцами 2 крепится к трубопроводу. Направляющие пазы 3 выполняются в стенке прямолинейного участка до поворота трубы.
Завихритель работает следующим образом. При вхождении потока текучей среды в завихритель пазы 3, выполненные в виде лепестков вдоль внутренней поверхности корпуса 1, закручивают поток текучей среды и равномерно распределяют его по внутреннему периметру поворотного участка. Скорости течения среды по сечению трубы при вхождении потока в поворот постоянно выравниваются и разность давлений на стенках большого и малого внутренних радиусов поворота стремится к нулю. Таким образом, снижается давление на наружную стенку поворотного участка, выравниваются давления на внешнем и наружном радиусах поворотного участка трубы, что приводит к устранению градиента давления на стенки и снижению вибрации трубопровода.
При внедрении изобретения получены следующие технические результаты: увеличение площади взаимодействия и захватываемого объема среды по всему внутреннему периметру перед поворотным участком, усиление эффекта закручивания потока и снижение вибрации трубопровода вследствие отсутствия градиента давлений на стенках трубопровода; исключение загрязнения направляющих пазов отложениями из ржавчины вследствие изменения прямоугольного профиля паза на лепестковый.
Формула изобретения
Завихритель, содержащий корпус, на внутренней стенке которого со стороны входа потока текучей среды выполнены направляющие пазы, а на концах установлены фланцы, отличающийся тем, что направляющие пазы выполнены в виде лепестков, охватывающих весь периметр внутренней поверхности корпуса, а количество пазов определяется соотношением D/2, где D – внутренний диаметр основного трубопровода; высота паза h составляет 0,3d, где d – толщина стенки основного трубопровода, при этом толщина стенки корпуса равна d+0,3d, а протяженность пазов на участке завихрения составляет 10-15D, в зависимости от скорости и режима течения потока в трубопроводе.
РИСУНКИ
MM4A – Досрочное прекращение действия патента СССР или патента Российской Федерации на изобретение из-за неуплаты в установленный срок пошлины за поддержание патента в силе
Дата прекращения действия патента: 12.12.2008
Извещение опубликовано: 20.09.2010 БИ: 26/2010
|
|