|
|
(21), (22) Заявка: 2006130614/06, 24.08.2006
(24) Дата начала отсчета срока действия патента:
24.08.2006
(46) Опубликовано: 10.04.2008
(56) Список документов, цитированных в отчете о поиске:
RU 2221136 С, 10.01.2004. RU 49106 U1, 10.11.2005. SU 453491 A, 09.04.1975. SU 687225 A, 05.10.1979. US 4637468 A, 20.01.1987.
Адрес для переписки:
628481, Тюменская обл., г. Когалым, ул. Дружбы Народов, 15, ООО “КогалымНИПИнефть”
|
(72) Автор(ы):
Валеев Марат Давлетович (RU), Пальчиков Игорь Леонидович (RU), Фалимов Фарид Сагитович (RU)
(73) Патентообладатель(и):
Общество с ограниченной ответственностью Когалымский научно-исследовательский и проектный институт нефти (ООО “КогалымНИПИнефть”) (RU)
|
(54) СКВАЖИННАЯ ШТАНГОВАЯ НАСОСНАЯ УСТАНОВКА ДЛЯ ОДНОВРЕМЕННО-РАЗДЕЛЬНОЙ ДОБЫЧИ НЕФТИ ИЗ ДВУХ ПЛАСТОВ
(57) Реферат:
Устройство предназначено для использования в одновременно-раздельной добыче нефти из двух пластов с помощью штанговых глубинных насосных установок. Содержит плунжер с цилиндром, всасывающий и нагнетательный клапаны, боковой клапан для отбора жидкости из верхнего пласта, пакер, разобщающий пласты и расположенный ниже приема насоса. Плунжер насоса снабжен расположенным ниже плунжером меньшего диаметра, имеющим нагнетательный клапан. Боковой клапан размещен в нижней торцевой части цилиндра большего размера. В верхней части плунжера меньшего диаметра размещен дополнительный нагнетательный клапан, сообщенный с пространством, образованным наружной поверхностью плунжера меньшего диаметра и цилиндром насоса большего диаметра. Позволяет обеспечить работу установки независимо от расположения пласта с большим пластовым давлением. 1 ил.
Предлагаемое изобретение относится к техническим средствам одновременно-раздельной добычи нефти из двух пластов с помощью штанговых глубинных насосных установок.
Наиболее близким по совокупности существенных признаков является скважинная штанговая насосная установка, содержащая цилиндр со всасывающим и нагнетательным клапанами, наружную трубу, образующую с цилиндром насоса герметичную камеру и имеющую боковой канал для входа нефтяной фазы и верхний тарельчатый клапан, хвостовик с клапаном в верхней чисти для приема водной фазы /Авт. св. 1236161, МПК F04В 47/02, 1984/.
Наиболее близким к предлагаемому изобретению является штанговая установка /патент РФ №2221136, МПК F04В 47/02/, позволяющая отбирать нефть из двух пластов с помощью дополнительного бокового клапана насоса, отверстия в цилиндре насоса, пакера, установленного ниже приемного клапана насоса. Установка обладает существенным недостатком, заключающимся в том, что она обладает работоспособностью только в случае верхнего расположения пласта с большим давлением. В противном случае после прохождения плунжером бокового отверстия в цилиндр насоса будет продолжать поступать жидкость из нижнего пласта в силу большего давления. Боковой клапан при этом будет закрыт и жидкость из верхнего пласта в цилиндр насоса поступать не будет.
Целью предлагаемого изобретения является обеспечение независимости работы установки от расположения пласта с большим пластовым давлением.
Поставленная цель достигается тем, что в известном устройстве, содержащем штанговый насос с плунжером, боковой клапан для отбора жидкости из верхнего пласта, пакер, разобщающий пласты и расположенный ниже приема насоса, плунжер насоса снабжен расположенным ниже плунжером меньшего диаметра, имеющим нагнетательный клапан, боковой клапан размещен в нижней торцевой части цилиндра большего размера, а в верхней части плунжера меньшего диаметра размещен дополнительный нагнетательный клапан, сообщенный с пространством, образованным наружной поверхностью плунжера малого диаметра и цилиндром насоса большего диаметра.
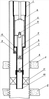
На чертеже показана схема предлагаемого устройства.
В скважину на колонне насосно-компрессорных труб 1 спущена насосная установка, состоящая из сочлененных цилиндров большого 2 и малого 3 диаметров, сочлененных плунжеров большого 4 и малого 5 диаметров, всасывающего 6 и нагнетательного 7 клапанов, бокового 8 и дополнительного нагнетательного 9 клапанов, патрубка 10 с пакером 11, разобщающим пласты А и Б. Боковой клапан 8 имеет отверстие 12 в нижней торцевой части насоса большего диаметра.
Работа установки заключается в следующем. Пластовая жидкость из нижнего пласта Б всасывается через клапан 6 и нагнетается через клапан 7 и внутреннюю полость в колонну насосно-компрессорных труб 1.
При ходе плунжеров вверх возрастает объем полости, образованной плунжером 5 и цилиндром насоса 2. Поэтому в эту полость будет всасываться жидкость из пласта А через боковой клапан 8 и отверстие 12. При ходе плунжеров вниз объем указанной полости уменьшается, и пластовая жидкость из нее вытесняется в колонну насосно-компрессорных труб через дополнительный нагнетательный клапан 9.
Изменение соотношения диаметров плунжеров 4 и 5 насосной установки достигается необходимое соотношение отборов жидкостей из пластов А и Б.
Таким образом, техническое преимущество предлагаемого устройства заключается в том, что откачка пластовых жидкостей из пластов А и Б производится самостоятельными плунжерными системами и не зависит от того, какой пласт обладает большей энергией.
Формула изобретения
Скважинная штанговая насосная установка для одновременно-раздельной добычи нефти из двух пластов, включающая плунжер с цилиндром, всасывающий и нагнетательный клапаны, пакер, разобщающий верхний и нижний пласты и расположенный ниже приема насоса, боковой клапан для отбора жидкости из верхнего пласта, отличающаяся тем, что плунжер насоса снабжен расположенным ниже плунжером меньшего диаметра, имеющим нагнетательный клапан, боковой клапан размещен в нижней торцевой части цилиндра большего диаметра, а в верхней части плунжера меньшего диаметра размещен дополнительный нагнетательный клапан, сообщенный с пространством, образованным наружной поверхностью плунжера меньшего диаметра и цилиндром насоса большего диаметра.
РИСУНКИ
|
|