|
|
(21), (22) Заявка: 2006126459/06, 20.07.2006
(24) Дата начала отсчета срока действия патента:
20.07.2006
(46) Опубликовано: 10.04.2008
(56) Список документов, цитированных в отчете о поиске:
RU 2232317 C1, 10.07.2004. RU 2166603 C1, 10.05.2001. RU 2194880 C1, 20.12.2002. SU 93032 A, 21.03.1962. US 3822972 A, 09.07.1974. US 4922781 A, 08.05.1990.
Адрес для переписки:
614990, г.Пермь, ГСП, ул. Окулова, 75а, ООО “Фирма “Радиус-Сервис”, директору В.Н. Андоскину
|
(72) Автор(ы):
Андоскин Владимир Николаевич (RU), Астафьев Сергей Петрович (RU), Пушкарев Максим Анатольевич (RU), Нестеров Анатолий Владимирович (RU), Глинкин Алексей Сергеевич (RU)
(73) Патентообладатель(и):
Общество с ограниченной ответственностью “Фирма “Радиус-Сервис” (RU)
|
(54) ГЕРОТОРНЫЙ ВИНТОВОЙ ГИДРАВЛИЧЕСКИЙ ДВИГАТЕЛЬ
(57) Реферат:
Изобретение относится к героторным механизмам винтовых гидравлических двигателей, вращение ротора с долотом в которых осуществляется насосной подачей текучей среды, для бурения нефтяных и газовых скважин. Героторный винтовой гидравлический двигатель содержит статор, представляющий собой трубчатый корпус с закрепленной в нем обкладкой из эластомера, например из резины, с внутренними винтовыми зубьями, и расположенный внутри статора ротор с наружными винтовыми зубьями, число которых на единицу меньше числа зубьев обкладки, ходы винтовых зубьев обкладки и ротора пропорциональны их числам зубьев, а центральные продольные оси ротора и обкладки смещены между собой на величину эксцентриситета. Приведены выражения и соотношения, улучшающие энергетические характеристики, по существу развиваемую мощность и крутящий момент, путем обеспечения максимальной площади поперечного сечения, занятой рабочим телом, при одинаковом контурном диаметре, величие эксцентриситета зацепления механизма, числах зубьев обкладки и ротора за счет оптимизации величин радиусов окружностей, огибающие которых очерчивают торцовые профили зубьев в обкладке и роторе, вследствие чего обеспечивается снижение гидромеханических потерь за счет равномерного натяга во всех фазах контакта зубьев обкладки и ротора, улучшения уплотнения по контактным линиям в зоне полюсов зацепления и снижения контактных нагрузок в зоне максимальных скоростей скольжения. 2 з.п. ф-лы, 7 ил.
Изобретение относится к героторным механизмам винтовых многозаходных гидравлических двигателей, вращение ротора с долотом в которых осуществляется насосной подачей текучей среды, для бурения нефтяных и газовых скважин.
Известен героторный механизм с внутренним внецентроидным зацеплением, у которого торцовый профиль зубьев, например, статора принят за исходный, очерченный эквидистантой укороченной эпициклоиды или гипоциклоиды, а сопряженный профиль зубьев ротора выполнен как огибающая кривая исходного профиля (SU 93032 А, 21.03.1962).
Недостатком известного механизма является то, что для образования зубьев ротора и статора (сердечника пресс-формы) требуется различный зуборезный инструмент, например две червячные фрезы, а с изменением числа зубьев механизма при его проектировании и изготовлении количество потребных червячных фрез возрастает, что не обеспечивает экономических преимуществ.
Известен многозаходный героторный механизм винтовой гидравлической машины, содержащий элементы в виде статора и закрепленной в нем обкладки с внутренними винтовыми зубьями, выполненными из эластомера, например из резины, и ротора с наружными винтовыми зубьями, причем число зубьев в обкладке статора больше числа зубьев ротора на единицу, ось статора смещена относительно оси ротора на величину эксцентриситета, равную половине высоты зубьев, а торцовый профиль зубьев одного из элементов выполнен как огибающая исходного контура рейки, очерченной эквидистантой укороченной циклоиды со смещением, при этом торцовый профиль зубьев другого элемента выполнен в виде эквидистанты огибающей первого элемента при обкатывании без проскальзывания их центроид, а величина эквидистантности составляет половину величины диаметрального натяга в зацеплении (RU 2194880 С2, 20.12.2002).
Недостатком известной конструкции является то, что не учитываются некоторые условия эксплуатации, например температура и условия нагружения при бурении различных по твердости пород для “горячих” скважин с температурой выше 100°С, в которых требуются многозаходные героторные винтовые механизмы с зазором в зацеплении ротор-статор.
Использование в таких скважинах забойных двигателей с натягом в зацеплении героторного винтового механизма снижает надежность и ресурс, что объясняется повышенным износом, резким снижением энергетических характеристик, по существу развиваемой мощности и крутящего момента, а также заклиниванием механизма.
Другим недостатком известной конструкции является отсутствие возможности изменения натяга и корригирования формы зубьев ротора и статора без изменения наружных диаметров ротора и/или статора, что не позволяет создать надежное уплотнение по контактным линиям в героторном винтовом механизме с “нулевым” натягом в зацеплении.
Известен героторный механизм, содержащий статор с внутренними винтовыми зубьями, выполненными из упругоэластичного материала, например из резины, и ротор с наружными винтовыми зубьями, число которых на единицу меньше числа зубьев статора, причем ось ротора смещена относительно оси статора на величину эксцентриситета, равную половине радиальной высоты зубьев, ходы винтовых зубьев ротора и статора пропорциональны их числам зубьев.
Профиль зубьев статора в торцовом сечении выполнен как огибающая исходного контура циклоидальной рейки, очерченной эквидистантой с радиусом RC1 укороченной циклоиды, а профиль зубьев ротора в торцовом сечении выполнен как огибающая другого исходного контура циклоидальной рейки с радиусом эквидистанты RC2, выполненным больше, чем RC1 или связанным соотношением RC2=RC1+(0,1…0,5)E, где Е – радиус производящей окружности, равный величине эксцентриситета (RU 2166603 С1, 10.05.2001).
Вариантом известного изобретения является выполнение героторного механизма таким образом, что профиль зубьев статора в торцовом сечении выполнен как огибающая исходного контура циклоидальной рейки, очерченной эквидистантой с радиусом RC1 укороченной циклоиды, а профиль зубьев ротора в торцовом сечении очерчен сопряженными дугами окружностей, причем выступ зуба ротора очерчен дугой радиуса RB, большего, чем радиус эквидистанты статора RC1, или связан с ним соотношением RC2=RC1+(0,1…0,5)E, а профиль впадины зуба ротора очерчен дугой радиуса RV, зависящего от числа зубьев ротора, его наружного диаметра и эксцентриситета (RU 2166603 С1, 10.05.2001).
Недостатком известного героторного механизма является то, что указанные варианты героторных механизмов требуют осуществления селективной сборки рабочих пар в связи с необходимостью подбора ротора и статора по радиальному натягу.
Кроме того, при работе за счет возникновения бокового натяга, распределенного равномерно при выпукло-вогнутом контакте зуба ротора с впадиной зуба статора, появляется повышенный износ боковых сторон зубьев статора, выполненных из упругоэластичного материала, при этом за счет наличия радиального и бокового натягов в зацеплении возникают силы трения в зонах контакта зубьев, создающие моменты сопротивления, препятствующие вращению ротора вокруг своей оси и его планетарному движению, что ухудшает энергетические характеристики механизма.
В связи с тем, что исходные контуры инструментальных реек ротора и статора разные, исключается возможность изготовления ротора и сердечника пресс-формы статора одним инструментом.
Наиболее близким к заявляемому изобретению является героторный механизм винтовой гидромашины, содержащий статор и эксцентрично расположенный в нем ротор, зубья которых находятся в непрерывном контакте и имеют разницу их чисел, равную единице, торцовые профили статора и ротора образованы общим исходным профилем рейки (зацепления) со смещением, а профиль этого контура очерчен эквидистантой укороченной циклоиды, при этом наибольшее допустимое положительное и наибольшее отрицательное смещения контура рейки заданы с выполнением соотношений:
hn 0,73aZ2 0,5,
| hот| 1,04aZ1 0,41,
а допустимое значение контурного диаметра ограничено пределами:
Dк min Dк Dк max,
где
Dк max=Df1+2 hn,
Dк min=Df1-2 hот,
где hn, hот – наибольшее допустимое положительное и наибольшее отрицательное смещения, соответственно, контура рейки,
Dк max, Dк min – наибольшее и наименьшее значения контурного диаметра,
а – эксцентриситет зацепления механизма,
Z1, 2– числа зубьев статора и ротора, соответственно,
Df1 – номинальный диаметр впадин статора при отсутствии смещения исходного контура, который задают по формуле:
Df1=2(rZ2+a+rц),
где Z2 – число зубьев ротора,
r – радиус катящейся окружности, образующей нормальную циклоиду исходного контура рейки,
rс – расстояние от укороченной циклоиды до точек профиля исходного контура рейки (RU 2232317 С1, 10.07.2004).
Недостатком известной конструкции является то, что при выбранном контурном диаметре Dк, величине эксцентриситета “а”, числах Z1, 2 зубьев статора и ротора, соответственно, не может быть изменена площадь проходного сечения (площадь, занятая рабочим телом) многозаходного героторного механизма и, следовательно, отсутствует возможность улучшить энергетические характеристики, например развиваемую мощность и крутящий момент в двигателе для вращения ротора от насосной подачи текучей среды или развиваемое давление и расход в насосе для подачи текучей среды за счет вращения ротора.
Недостатки известной конструкции объясняются тем, что форма исходного контура зацепления (рейки) стандартизована и задается, по существу, в соответствие с ОСТ 39-164-84, при этом контурный диаметр Dк может быть изменен только путем замены числа зубьев Z1 статора или эксцентриситета “а” зацепления механизма, что накладывает ограничения на проектирование механизма и оптимизацию характеристик двигателя или насоса.
Техническая задача, на решение которой направлено изобретение, заключается в улучшении энергетических характеристик героторного винтового гидравлического двигателя, по существу развиваемой мощности и крутящего момента, путем обеспечения максимальной площади поперечного сечения, занятой рабочим телом, при одинаковом контурном диаметре Dк, величине эксцентриситета зацепления механизма, числах зубьев обкладки и ротора за счет оптимизации величин радиусов окружностей, огибающие которых очерчивают торцовые профили зубьев в обкладке и роторе, вследствие чего обеспечивается снижение гидромеханических потерь за счет равномерного натяга во всех фазах контакта зубьев обкладки и ротора, улучшения уплотнения по контактным линиям в зоне полюсов зацепления и снижения контактных нагрузок в зоне максимальных скоростей скольжения.
Сущность технического решения заключается в том, что в героторном винтовом гидравлическом двигателе, содержащем статор, представляющий собой трубчатый корпус с закрепленной в нем обкладкой из эластомера, например из резины, с внутренними винтовыми зубьями, и расположенный внутри статора ротор с наружными винтовыми зубьями, число которых на единицу меньше числа зубьев обкладки, ходы винтовых зубьев обкладки и ротора пропорциональны их числам зубьев, а центральные продольные оси ротора и обкладки смещены между собой на величину эксцентриситета, согласно изобретению торцовый профиль зубьев в обкладке из эластомера очерчен как огибающая кривая радиусов rs при повороте системы координат Хос, Уос, которой принадлежит окружность радиуса rs, а центр окружности радиуса rs расположен на окружности с радиусом Roc, проведенным из центра системы координат Хос, Уос, причем центр системы координат Хос, Уос смещен от центральной продольной оси обкладки на величину эксцентриситета аw между центральными продольными осями ротора и обкладки и определен выражением:
Roc=rif-rs-aw,
где rif – радиус впадин зубьев обкладки, угол поворота c системы координат Хос, Уос относительно неподвижной системы координат Хк, Ук, центр которой расположен на центральной продольной оси обкладки, и угол поворота с системы координат Хс, Ус, центр которой расположен на центральной продольной оси обкладки, относительно неподвижной системы координат Хк, Ук, связаны соотношением:
c= cZp/Zc,
где Zp и Zc – числа зубьев ротора и, соответственно, обкладки, а координаты Хс, Ус номинального профиля обкладки определены выражениями:
Xc=(Xoccos c-Уocsin c+aw)cos c+(Xocsin c-Уoccos c)sin c,
Ус=-(Хосcos с-Уосsin с+аw)sin с+(Хосsin с+Уосcos c)cos c,
при этом торцовый профиль зубьев ротора выполнен в виде огибающей зубьев обкладки из эластомера или в виде огибающей исходного контура циклоидальной рейки, очерченной эквидистантой укороченной циклоиды, или в виде огибающей исходного контура рейки, образованного сопряжением дуг окружностей.
Кроме того, радиус rs, огибающая которого образует торцовый профиль зубьев в обкладке, и эксцентриситет aw между центральными продольными осями ротора и обкладки связаны соотношением: rs=(0,618…2,618)aw, а твердость обкладки с внутренними винтовыми зубьями, выполненной из резины, составляет 70±3 ед. Шор А.
Такое выполнение героторного винтового гидравлического двигателя обеспечивает максимальную площадь поперечного сечения, занятую рабочим телом, при одинаковом контурном диаметре Dк, величине эксцентриситета зацепления аw механизма, числах зубьев Zc (обкладки) и Zp (ротора) путем оптимизации величин радиусов rs, rm окружностей, огибающие которых очерчивают торцовые профили зубьев в обкладке и роторе, соответственно, вследствие чего обеспечивается снижение гидромеханических потерь за счет равномерного натяга во всех фазах контакта зубьев обкладки и ротора, улучшения уплотнения по контактным линиям в зоне полюсов зацепления и снижения контактных нагрузок в зоне максимальных скоростей скольжения.
Выполнение героторного винтового гидравлического двигателя таким образом, что радиус rs, огибающая которого образует торцовый профиль зубьев в обкладке, и эксцентриситет аw между центральными продольными осями ротора и обкладки связаны соотношением: rs=(0,618…2,618)аw, дополнительно снижает вероятность возникновения резонансных поперечных колебаний двигателя в скважине при осевых нагрузках, изменяемых при воздействии двигателя на забой, за счет синхронизации работы многозаходных многошаговых винтовых (шлюзовых) камер между зубьями ротора и обкладки.
Ниже представлен лучший вариант героторного винтового гидравлического двигателя для бурения горизонтальных нефтяных скважин.
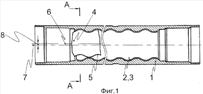
На фиг.1 показан продольный разрез героторного винтового гидравлического двигателя.
На фиг.2 показан поперечный разрез А-А на фиг.1 статора и ротора героторного винтового гидравлического двигателя, отношение чисел зубьев ротор – обкладка равно 5/6.
На фиг.3 показана схема образования торцового профиля зубьев в обкладке из эластомера.
На фиг.4 показано образование торцового профиля зубьев в обкладке из эластомера, который очерчен как огибающая кривая множества радиусов rs при повороте систем координат, показанных на фиг.3, при следующих значениях:
rs=7,6125 мм, aw=3,5 мм, rif=31,675 мм при номинальном диаметре впадин обкладки Dк=63,35 мм.
На фиг.5 показан пример выполнения героторного винтового гидравлического двигателя при одинаковом контурном диаметре Dк:
обкладка rif=31,675 мм от окружности rs=7,6125 мм;
торцовый профиль зубьев ротора, rа=28,175 мм, выполнен в виде огибающей зубьев обкладки из эластомера;
S=592 мм2 – площадь поперечного сечения, занятая рабочим телом, погрешностей в зацеплении (натягов и зазоров) нет.
На фиг.6 показан пример выполнения героторного винтового гидравлического двигателя при одинаковом контурном диаметре Dк:
обкладка rif=31,675 мм от окружности rs=7,6125 мм;
ротор rа=28,175 мм выполнен в виде огибающей исходного контура циклоидальной рейки (зацепления), очерченной эквидистантой укороченной циклоиды;
S=588 мм2 – площадь поперечного сечения, занятая рабочим телом;
цифры 0,0539, а также 0,045 и 0,0042 обозначают натяг в мм в зацеплении.
На фиг.7 показан пример выполнения героторного винтового гидравлического двигателя при одинаковом контурном диаметре Dк:
обкладка rif=31,675 мм от окружности rs=7,6125 мм;
торцовый профиль зубьев ротора rа=28,175 мм выполнен в виде огибающей исходного контура рейки (зацепления), образованного сопряжением дуг окружностей;
S=582 мм2 – площадь поперечного сечения, занятая рабочим телом;
цифры 0,1599, а также 0,032 и 0,0031 обозначают натяг в мм в зацеплении.
При выполнении обкладки и ротора, показанных как на фиг.6, но рассчитанных по ОСТ 39-164-84:
Dk=2rif, rif=31,675 мм;
h1n=0 (смещение исходного контура рейки для образования профиля зубьев обкладки);
h2n=0,6125 мм (смещение исходного контура рейки для образования профиля зубьев ротора);
S=572 мм2 – площадь поперечного сечения, занятая рабочим телом, при одинаковых натягах в зацеплении, при номинальных диаметрах впадин обкладки Dk=63,35 мм и диаметре ротора Da=56,35 мм.
Героторный винтовой гидравлический двигатель содержит статор, представляющий собой трубчатый корпус 1, выполненный из стали 40Х ГОСТ 4543-71, с закрепленной в нем обкладкой 2 из эластомера, по существу из резины ИРП-1226-5 ТУ 2512.003.45055793-98, с внутренними винтовыми зубьями 3, и расположенный внутри статора ротор 4, выполненный из стали 30Х13 ГОСТ 5949-75, с наружными винтовыми зубьями 5, число которых на единицу меньше числа зубьев 3 обкладки 2, ходы винтовых зубьев 3 обкладки 2 и винтовых зубьев 5 ротора 4 пропорциональны их числам зубьев (не показаны), а центральная продольная ось 6 ротора 4 и центральная продольная ось 7 обкладки 2 смещены между собой на величину эксцентриситета 8, показано на фиг.1, 2.
Существенными признаками героторного винтового гидравлического двигателя является то, что торцовый профиль зубьев 3 в обкладке 2 из эластомера очерчен как огибающая кривая радиусов rs при повороте системы координат Хос, Уос, которой принадлежит окружность радиуса rs, а центр окружности радиуса rs расположен на окружности с радиусом Roc, проведенным из центра системы координат Хос, Уос, причем центр системы координат Хос, Уос смещен от центральной продольной оси 7 обкладки 2 на величину эксцентриситета 8, аw между центральными продольными осями 6 ротора 4 и 7 обкладки 2 и определен выражением:
Roc=rif-rs-aw,
где rif – радиус впадин зубьев 3 обкладки 2, угол поворота c системы координат Хос, Уос относительно неподвижной системы координат Хк, Ук, центр которой расположен на центральной продольной оси 7 обкладки 2, и угол поворота c системы координат Хс, Ус, центр которой расположен на центральной продольной оси 7 обкладки 2, относительно неподвижной системы координат Хк, Ук, связаны соотношением:
c= сZp/Zc,
где Zp и Zc – числа зубьев ротора 4 и, соответственно, обкладки 2, а координаты Хс, Ус номинального профиля обкладки определены выражениями:
Хс=(Хосcos с-Уосsin c+aw)cos c+(Хосsin c-Уосcos c)sin с,
Ус=-(Хосcos с-Уосsin c+аw)sin c+(Хосsin c+Уосcos c)cos c, показано на фиг.2, 3, 4.
При этом торцовый профиль зубьев 5 ротора 4 выполнен в виде огибающей зубьев 3 обкладки 2 из эластомера или в виде огибающей исходного контура циклоидальной рейки, очерченной эквидистантой укороченной циклоиды, или в виде огибающей исходного контура рейки, образованного сопряжением дуг окружностей, показано на фиг.5, 6, 7, соответственно.
Существенными признаками героторного винтового гидравлического двигателя является также то, что радиус rs, огибающая которого образует торцовый профиль зубьев 3 в обкладке 2, и эксцентриситет 8, аw между центральной продольной осью 6 ротора 4 и центральной продольной осью 7 обкладки 2 связаны соотношением: rs=(0,618…2,618)аw, при этом твердость обкладки 2 с внутренними винтовыми зубьями, выполненной из резины, составляет 75±3 ед. Шор А, показано на фиг.2.
На фиг.3 показан пример профилирования точки “С” обкладки 2 трубчатого корпуса 1 от образующей окружности радиуса rs.
При проектировании задают:
rif – номинальный радиус окружности вершин детали с наружными зубьями (окружности впадин для детали с внутренними зубьями);
aw – межцентровое расстояние в паре;
Zc – число зубьев обкладки статора;
– натяг в паре ротор – обкладка статора.
Исходя из требуемых энергетических характеристик, назначают радиус образующей окружности rs=(0,618…2,618)aw и находят профиль обкладки 2 статора по формулам:
Roc=rif-rs-aw,

Xoc=Roc+rscos c,
Yoc=rssin c,
c= cZp/Zc,
Xc=(Хосcos c-Уосsin c+aw)cos c+(Хосsin c+Уосcos c)sin c,
Ус=-(Хосcos с-Уосsin c+аw)sin c+(Хосsin c+Уосcos c)cos c,
где
Roc – радиус центра образующей окружности обкладки 2 статора rs,
Rop – радиус центра образующей окружности ротора rm,
Xс и Yс – координаты номинального профиля обкладки 2 статора,
с и с – текущие углы поворота обкладки и его образующей окружности rs,
с – угол между осью Хос и нормалью к профилю обкладки статора в момент профилирования,
rs – радиус образующей окружности обкладки 2 статора.
Натяг в зацеплении получают, увеличив величины rif и rm в формулах для определения профиля ротора 4 на величину .
Героторный винтовой гидравлический двигатель работает следующим образом. Буровой раствор – глинистая жидкость с абразивными частицами, имеющая плотность до 1500 кг/м3, с содержанием до 1% песка, до 5% нефтепродуктов, подается в верхнюю часть героторного винтового двигателя по колонне бурильных труб (не показаны).
Под действием перепада давления бурового раствора ротор 4 совершает планетарное движение внутри статора, обкатываясь винтовыми зубьями 5 по винтовым зубьям 3 обкладки из эластомера 2, закрепленной в трубчатом корпусе 1, показано на фиг.1, 2.
При этом центральная продольная ось 6 ротора 4 совершает вращение вокруг центральной продольной оси 7 обкладки 2 из эластомера, закрепленной в трубчатом корпусе 1, по окружности радиуса aw, а сам ротор 4 поворачивается вокруг своей центральной продольной оси 6 в направлении, противоположном направлению планетарного движения, показано на фиг.2.
Кинематическое движение ротора 4 относительно обкладки 2 трубчатого корпуса 1 определяется качением без скольжения зубьев 5 ротора 4 по винтовым зубьям 3 обкладки 2 трубчатого корпуса 1, показано на фиг.2, 5, 6, 7, а торцовый профиль зубьев 5 ротора 4 выполнен при одинаковом контурном диаметре Dк, как показано:
– на фиг.5, обкладка rif=31,675 мм от окружности rs=7,6125 мм, а торцовый профиль зубьев ротора, ra=28,175 мм, выполнен в виде огибающей зубьев обкладки из эластомера,
– или на фиг.6, обкладка rif=31,675 мм от окружности rs=7,6125 мм, а торцовый профиль зубьев 5 ротора rа=28,175 мм выполнен в виде огибающей исходного контура циклоидальной рейки (зацепления), очерченной эквидистантой укороченной циклоиды,
– или на фиг.7, обкладка rif=31,675 мм от окружности rs=7,6125 мм, а торцовый профиль зубьев 5 ротора rа=28,175 мм выполнен в виде огибающей исходного контура рейки (зацепления), образованного сопряжением дуг окружностей.
При этом торцовый профиль зубьев 3 очерчен как огибающая кривая радиусов rs при повороте системы координат Хос, Уос, которой принадлежит окружность радиуса rs, а центр окружности радиуса rs расположен на окружности с радиусом Roc, проведенным из центра системы координат Хос, Уос, причем центр системы координат Хос, Уос смещен от центральной продольной оси 7 обкладки 2 на величину эксцентриситета 8, aw между центральными продольными осями 6 ротора 4 и, соответственно, 7 обкладки 2 и определен выражением:
Roc=rif-rs-aw,
где rif – радиус впадин зубьев обкладки 2, угол поворота с системы координат Хос, Уос относительно неподвижной системы координат Хк, Ук, центр которой расположен на центральной продольной оси 7 обкладки 2, и угол поворота c системы координат Хс, Ус, центр которой расположен на центральной продольной оси 7 обкладки 2, относительно неподвижной системы координат Хк, Ук, связаны соотношением:
c= cZp/Zc,
где Zp и Zc – числа зубьев 5 ротора 4 и, соответственно, 3 обкладки 2, а координаты Хс, Ус номинального профиля обкладки определены выражениями:
Xc=(Хосcos c-Уосsin c+aw)cos c+(Хосsin c+Уосcos c)sin c,
Yс=-(Хосcos с-Уосsin c+аw)sin c+(Хосsin c+Уосcos c)cos c.
При этом радиус rs, огибающая которого образует торцовый профиль зубьев 3 в обкладке 2, и эксцентриситет 8, aw между центральной продольной осью 6 ротора 4 и центральной продольной осью 7 обкладки 2 связаны соотношением: rs=(0,618…2,618)аw.
Героторный винтовой гидравлический двигатель для вращения ротора от насосной подачи текучей среды улучшает энергетические характеристики, по существу развиваемую мощность и крутящий момент, путем обеспечения максимальной площади поперечного сечения, занятой рабочим телом, при одинаковом контурном диаметре Dк, величине эксцентриситета зацепления механизма, числах зубьев обкладки и ротора за счет оптимизации величин радиусов окружностей, огибающие которых очерчивают торцовые профили зубьев в обкладке и роторе, вследствие чего обеспечивается снижение гидромеханических потерь за счет равномерного натяга во всех фазах контакта зубьев обкладки и ротора, улучшения уплотнения по контактным линиям в зоне полюсов зацепления и снижения контактных нагрузок в зоне максимальных скоростей скольжения.
Формула изобретения
1. Героторный винтовой гидравлический двигатель, содержащий статор, представляющий собой трубчатый корпус с закрепленной в нем обкладкой из эластомера, например из резины, с внутренними винтовыми зубьями, и расположенный внутри статора ротор с наружными винтовыми зубьями, число которых на единицу меньше числа зубьев обкладки, ходы винтовых зубьев обкладки и ротора пропорциональны их числам зубьев, а центральные продольные оси ротора и обкладки смещены между собой на величину эксцентриситета, отличающийся тем, что торцовый профиль зубьев обкладки из эластомера выполнен как огибающая кривая радиусов rs при повороте системы координат Хос, Уос, которой принадлежит окружность радиуса rs, а центр окружности радиуса rs расположен на окружности с радиусом Roc, проведенным из центра системы координат Хос, Уос, причем центр системы координат Хос, Уос смещен от центральной продольной оси обкладки на величину эксцентриситета аw между центральными продольными осями ротора и обкладки и определен выражением
Roc=rif-rs-aw,
где rif – радиус впадин зубьев обкладки,
угол поворота с системы координат Хос, Уос относительно неподвижной системы координат Хк, Ук, центр которой расположен на центральной продольной оси обкладки, и угол поворота c системы координат Хс, Ус, центр которой расположен на центральной продольной оси обкладки, относительно неподвижной системы координат Хк, Ук, связаны соотношением
c= сZp/Zc,
где Zp и Zc – числа зубьев ротора и соответственно обкладки, а координаты Хс, Ус номинального профиля обкладки определены выражениями
Xc=(Xoccos c-Уocsin c+aw)cos c+(Xocsin c-Уoccos c)sin c,
Ус=-(Хосcos с-Уосsin с+аw)sin с+(Хосsin с+Уосcos c)cos c,
при этом торцовый профиль зубьев ротора выполнен в виде огибающей зубьев обкладки из эластомера или в виде огибающей исходного контура циклоидальной рейки, очерченной эквидистантой укороченной циклоиды или в виде огибающей исходного контура рейки, образованного сопряжением дуг окружностей.
2. Героторный винтовой гидравлический двигатель по п.1, отличающийся тем, что радиус rs, огибающая которого образует торцовый профиль зубьев обкладки, и эксцентриситет аw между центральными продольными осями ротора и обкладки связаны соотношением
rs=(0,618 – 2,618)аw.
3. Героторный винтовой гидравлический двигатель по п.1, отличающийся тем, что твердость обкладки с внутренними винтовыми зубьями, выполненной из резины, составляет 70±3 ед. Шор А.
РИСУНКИ
|
|