|
|
(21), (22) Заявка: 2006111673/06, 30.03.2006
(24) Дата начала отсчета срока действия патента:
30.03.2006
(43) Дата публикации заявки: 10.10.2007
(46) Опубликовано: 10.04.2008
(56) Список документов, цитированных в отчете о поиске:
Отраслевой каталог. Паротурбинные энергетические установки. – М.: НИИЭИНФОРМЭНЕРГОМАШ, 1984, с.66, рис.29. RU 2001289 C1, 15.10.1993. RU 2265729 C2, 10.12.2005. RU 2136899 C1, 10.09.1999. SU 1138526 A, 07.02.1985. US 4783191 A, 08.11.1988. FR 2569766 A, 07.03.1986.
Адрес для переписки:
194044, Санкт-Петербург, Лесной пр-кт,20,корп.8,офис 95,ЗАО “Теплоэнергосервис-СП”
|
(72) Автор(ы):
Бакурадзе Михаил Викторович (RU), Бабиев Андрей Николаевич (RU), Кошелев Сергей Алексеевич (RU), Гудков Николай Николаевич (RU)
(73) Патентообладатель(и):
Открытое акционерное общество “Теплоэнергосервис-ЭК” (ОАО “Теплоэнергосервис-ЭК”) (RU)
|
(54) ЦИЛИНДР ВЫСОКОГО ДАВЛЕНИЯ ПАРОВОЙ ТУРБИНЫ
(57) Реферат:
Изобретение относится к области энергетики, к турбиностроению, и может быть использовано в цилиндрах высокого давления паровых турбин. Предложен цилиндр высокого давления паровой турбины, включающий наружный корпус, регулирующую ступень скорости, несколько групп ступеней давления, статоры первой и второй групп которых установлены в отдельных обоймах с камерой между ними, байпасную камеру, образованную в верхней половине у первых двух групп ступеней давления между камерой за регулирующей ступенью и обечайкой наружного корпуса, сообщающуюся с камерой между первой и второй группами ступеней давления через отверстие в обечайке внешнего корпуса и имеющую на верхнем торце отверстие и фланец для присоединения статорного элемента, при этом к верхнему торцу байпасной камеры присоединен своим фланцем штуцер с внешним и внутренним патрубками, а в отверстии обечайки внешнего корпуса между первой и второй группами ступеней давления установлен штуцер с вертикальным патрубком, соединенным подвижно с внутренним патрубком верхнего штуцера и уплотненным с ним, например, поршневыми уплотнительными кольцами, причем внешний патрубок верхнего штуцера присоединен посредством дополнительного трубопровода к трубопроводу отбора из камеры за второй группой ступеней давления через дроссельно-регулирующий клапан. Заявляемое техническое решение позволяет обеспечить необходимое давление пара в трубопроводе отбора пара к производственному потребителю в широком диапазоне нагрузки турбины, что позволяет существенно повысить экономичность цилиндра высокого давления и турбоустановки в целом. 1 ил.
Изобретение относится к области энергетики, к турбиностроению, и может быть использовано в цилиндрах высокого давления паровых турбин.
Известна конструкция цилиндра высокого давления, включающая наружный корпус, регулирующую ступень скорости, несколько групп ступеней давления, статоры первой и второй групп которых установлены в отдельных обоймах с камерой между ними, между камерой за регулирующей ступенью и обечайкой наружного корпуса у первых двух групп ступеней давления в верхней половине образована байпасная камера, сообщающаяся с камерой между первой и второй группами через отверстие в обечайке внешнего корпуса и имеющая на верхнем торце отверстие и фланец для присоединения статорного элемента. В известной конструкции цилиндра здесь установлен дополнительный (байпасный) регулирующий клапан, в открытом положении поршня клапана пар из камеры за регулирующей ступенью в обход первой группы ступеней давления проходит байпасную камеру и через отверстие в обечайке наружного корпуса проходит в камеру за первой группой ступеней давления, что позволяет пропустить через следующие группы ступеней давления повышенный расход пара, в положении закрытия поршень байпасного клапана закрывает отверстие в обечайке наружного корпуса, упираясь на установленное здесь седло (Отраслевой каталог. Паротурбинные энергетические установки. – М.: НИИЭИНФОРМЭНЕРГОМАШ, 1984. С.66. Рис.29).
По совокупности признаков это известное техническое решение является наиболее близким к заявляемому и принято за прототип.
Недостатком устройства, принятого за прототип, а также причиной, препятствующей достижению желаемого технического результата при использовании упомянутого известного устройства, является то, что в режиме с открытым байпасным клапаном упомянутый цилиндр высокого давления работает с пониженной экономичностью из-за того, что первая группа ступеней давления не вырабатывает мощности, то есть работает в режиме вентиляции, на входе во вторую группу ступеней давления повышенные потери вследствие резких изменений проходных сечений и резких поворотов, последующие группы ступеней давления работают в нерасчетном режиме. Кроме того, в известном цилиндре высокого давления отсутствует регенеративный отбор пара из камеры между первой и второй группой ступеней давления, первый отбор на подогреватель высокого давления осуществляется из камеры за второй группой ступеней давления. Однако, на частичных (с пониженной нагрузкой) режимах работы турбины давление пара в верхнем регенеративном отборе снижается, из-за чего понижается температура питательной воды, и, соответственно, снижается экономичность турбоустановки. Из этой же камеры за второй группой ступеней давления в некоторых турбоустановках производят отбор для потребителей пара определенного высокого давления для производственных целей, а на частичных режимах работы турбины давление пара в этой камере недостаточное. Но в известном цилиндре высокого давления вывод отбора пара из камеры за первой группой ступеней давления был нецелесообразен, так как при открытом байпасном клапане в нее проходит пар с давлением и температурой, соответствующими выходу из регулирующей ступени – отбор пара с такими высокими параметрами приведет к снижению мощности и экономичности турбины на этом режиме.
Проведенный заявителем анализ уровня техники, включающий поиск по патентным и научно-техническим источникам информации, а также выявление источников, содержащих сведения об аналогах заявленного изобретения, позволил установить, что заявитель не обнаружил технического решения, характеризующегося признаками, тождественными или эквивалентными предлагаемым. При этом предлагаемое изобретение не вытекает явным для специалиста образом из известного уровня техники и определенного заявителем.
Определение из выявленных аналогов прототипа, как наиболее близкого технического решения по совокупности признаков, позволило выявить в заявленном устройстве совокупность существенных отличительных признаков по отношению к рассматриваемому заявителем техническому результату, изложенную в нижеприведенной формуле изобретения.
Заявляемое техническое решение позволяет обеспечить необходимое давление пара в трубопроводе отбора пара к производственному потребителю в широком диапазоне нагрузки турбины, что позволяет существенно повысить экономичность цилиндра высокого давления и турбоустановки в целом.
Предложен цилиндр высокого давления паровой турбины, включающий наружный корпус, регулирующую ступень скорости, несколько групп ступеней давления, статоры первой и второй групп которых установлены в отдельных обоймах с камерой между ними, байпасную камеру, образованную в верхней половине у первых двух групп ступеней давления между камерой за регулирующей ступенью и обечайкой наружного корпуса, сообщающуюся с камерой между первой и второй группами ступеней давления через отверстие в обечайке внешнего корпуса и имеющую на верхнем торце отверстие и фланец для присоединения статорного элемента, при этом к верхнему торцу байпасной камеры присоединен своим фланцем штуцер с внешним и внутренним патрубками, а в отверстии обечайки внешнего корпуса между первой и второй группами ступеней давления установлен штуцер с вертикальным патрубком, соединенным подвижно с внутренним патрубком верхнего штуцера и уплотненным с ним, например, поршневыми уплотнительными кольцами, причем внешний патрубок верхнего штуцера присоединен посредством дополнительного трубопровода к трубопроводу отбора из камеры за второй группой ступеней давления через дроссельно-регулирующий клапан.
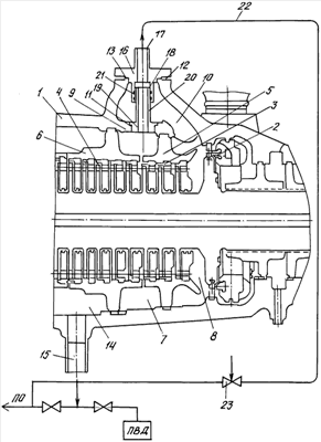
Изобретение иллюстрируется чертежом.
Цилиндр высокого давления включает наружный корпус 1, регулирующую ступень скорости 2, несколько групп ступеней давления. Статоры первой 3 и второй 4 групп ступеней давления установлены в отдельных обоймах 5 и 6 с камерой 7 между ними. Между камерой 8 за регулирующей ступенью 2 и обечайкой 9 наружного корпуса 1 у первой 3 и второй 4 групп ступеней давления в верхней половине расположена байпасная камера 10, сообщающаяся с камерой 7 между первой 3 и второй 4 группами ступеней давления через отверстие 11 в обечайке 9 наружного корпуса 1. На верхнем торце 12 камеры 7 выполнено отверстие 13. За второй группой ступеней 4 расположена камера 14, соединенная с трубопроводом отбора 15 на подогреватель высокого давления (ПВД). К отверстию 13 байпасной камеры 10 присоединен своим фланцем штуцер 16 с внешним 17 и внутренним 18 патрубками, а в отверстии 11 обечайки 9 наружного корпуса 1 между первой 3 и второй 4 группой ступеней давления установлен штуцер 19 с вертикальным патрубком 20, соединенным подвижно с внутренним патрубком 18 верхнего штуцера 16 и уплотненным с ним при помощи поршневых уплотнительных колец 21. Внешний патрубок 17 верхнего штуцера 16 присоединен посредством дополнительного трубопровода 22 через дроссельно-регулирующий клапан 23 к трубопроводу 15 и далее на производственный отбор (ПО).
Во время работы турбины пар проходит через регулирующую ступень 2, камеру 8 за регулирующей ступенью, первую группу ступеней давления 3, вторую группу ступеней давления 4 и далее через следующие ступени проточной части. Часть пара уходит из камеры 14 через трубопровод 15 в отбор на подогреватель высокого давления и на производственный отбор. При снижении мощности турбины (уменьшении электрической нагрузки) уменьшается давление пара в камере 8 за регулирующей ступенью, в камере 7 за первой группой ступеней давления 3, в камере 14 за второй группой ступеней 4 и, соответственно, в трубопроводе отбора 15 и, если давление в нем снижается до недопустимой величины, то по импульсному сигналу на регулирующий клапан 23 он открывается и пар из камеры 7, проходя патрубки 20, 18, 17, трубопровод 22, подается в трубопровод 15 на производственный отбор, пока давление пара в камере 7 за первой группой ступеней давления не станет ниже допустимой величины. Таким образом, обеспечивается необходимое давление пара в трубопроводе отбора пара к производственному потребителю в широком диапазоне нагрузки турбины, поскольку давление пара в камере 7 за первой группой ступеней 3 всегда значительно больше давления в камере 14 за второй группой ступеней 4.
Формула изобретения
Цилиндр высокого давления паровой турбины, включающий наружный корпус, регулирующую ступень скорости, несколько групп ступеней давления, статоры первой и второй групп которых установлены в отдельных обоймах с камерой между ними, байпасную камеру, образованную в верхней половине у первых двух групп ступеней давления между камерой за регулирующей ступенью и обечайкой наружного корпуса, сообщающуюся с камерой между первой и второй группами ступеней давления через отверстие в обечайке внешнего корпуса и имеющую на верхнем торце отверстие и фланец для присоединения статорного элемента, отличающийся тем, что к верхнему торцу байпасной камеры присоединен своим фланцем штуцер с внешним и внутренним патрубками, а в отверстии обечайки внешнего корпуса между первой и второй группами ступеней давления установлен штуцер с вертикальным патрубком, соединенным подвижно с внутренним патрубком верхнего штуцера и уплотненным с ним, например, поршневыми уплотнительными кольцами, при этом внешний патрубок верхнего штуцера присоединен посредством дополнительного трубопровода к трубопроводу отбора из камеры за второй группой ступеней давления через дроссельно-регулирующий клапан.
РИСУНКИ
|
|