|
| На основании пункта 3 статьи 13 Патентного закона Российской Федерации от 23 сентября 1992 г. № 3517-I патентообладатель обязуется передать исключительное право на изобретение (уступить патент) на условиях, соответствующих установившейся практике, лицу, первому изъявившему такое желание и уведомившему об этом патентообладателя и федеральный орган исполнительной власти по интеллектуальной собственности, – гражданину РФ или российскому юридическому лицу. |
|
(21), (22) Заявка: 2006127196/06, 26.07.2006
(24) Дата начала отсчета срока действия патента:
26.07.2006
(46) Опубликовано: 10.04.2008
(56) Список документов, цитированных в отчете о поиске:
US 5376827 А, 27.12.1994. US 5760515 А, 02.06.1998. US 4064403 А, 20.12.1977. US 4367413 А, 04.01.1983. SU 1020592 А, 30.05.1983. SU 1483051 A1, 30.05.1989.
Адрес для переписки:
443112, г.Самара, ул. Крайняя, 18-17, Н.Б. Болотину
|
(72) Автор(ы):
Болотин Николай Борисович (RU)
(73) Патентообладатель(и):
Болотин Николай Борисович (RU)
|
(54) ТУРБОГЕНЕРАТОР
(57) Реферат:
Изобретение относится к газотурбинным двигателям. Турбогенератор содержит не менее одной электрической машины, встроенной в турбину, содержащую ротор, установленный внутри статора, имеющий не менее одного рабочего колеса с бандажными полками. Все рабочие колеса установлены в магнитных подшипниках, размещенных внутри статора над бандажными полками, в которые вставлены рабочие магниты, а в статор вставлены магниты подшипников и статорные обмотки. Изобретение направлено на повышение КПД и надежности турбогенератора. Для каждого рабочего колеса выполнено по два магнитных подшипника. Статорные обмотки выполнены охлаждаемыми. 2 з.п. ф-лы, 3 ил.
Изобретение относится к двигателестроению, в том числе к авиационным и стационарным двигателям ГТД.
Известна силовая установка по патенту РФ №2189477, которая содержит газотурбинный двигатель – ГТД, газовый тракт, соединяющий этот газотурбинный двигатель со свободной турбиной, и нагрузку в виде электрогенератора, вал которого подсоединен к валу свободной турбины через муфту.
Недостатком этой силовой установки является то, что она имеет низкий КПД около 20%, что почти в 2 раза меньше, чем у современных дизельных установок.
Известна силовая установка газотурбовоза по патенту РФ №2272916, которая содержит газотурбинный двигатель с турбиной и свободную турбину, за которой установлен регенеративный теплообменник, выход из которого соединен с газотурбинным двигателем, конкретно – с системой охлаждения турбины.
Недостатком этого двигателя является низкий КПД силовой установки.
Известен газотурбинный двигатель по патенту РФ №2252316 (прототип), который содержит турбокомпрессор, состоящий из компрессора, камеры сгорания и турбины, и не менее двух электрических машин (электрогенератор и электродвигатель) встроенных в турбокомпрессор. Система постоянных магнитов установлена на внутренней поверхности ротора турбокомпрессора, а статор электрической машины установлен на корпусе подшипниковой опоры, т.е. на малом диаметре.
Недостатки этого двигателя: очень маленькая мощность электрических машин, связанная с тем, что они размещены на малом диаметре и имеют по одной ступени. Кроме того, возникают проблемы с охлаждением обмоток статора, размещенных внутри двигателя. Эта конструкция применима для использования электрической машины в качестве стартера или в качестве вспомогательного электрогенератора для питания агрегатов газотурбинного двигателя и самолета.
Задачи создания изобретения: повышение КПД и мощности турбогенератора и машин, созданных на его базе, в том числе двигателей и силовых установок.
Решение указанных задач достигнуто за счет того, что турбогенератор, содержащий не менее одной электрической машины, встроенной в турбину, содержащую ротор, установленный внутри статора, имеющий не менее одного рабочего колеса с бандажными полками, отличается тем, что все рабочие колеса установлены в магнитных подшипниках, размещенных внутри статора над бандажными полками, в которые вставлены рабочие магниты, а в статор вставлены магниты подшипников и статорные обмотки. Для каждого рабочего колеса выполнено по два магнитных подшипника. Статорные обмотки выполнены охлаждаемыми.
Предложенное техническое решение обладает новизной, изобретательским уровнем и промышленной применимостью.
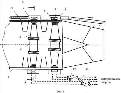
Сущность изобретения поясняется на фиг.1-3, где
на фиг.1 приведена схема турбогенератора,
на фиг.2 – схема расположения обмоток и магнитов,
на фиг.3 приведен вид А.
Предложенное техническое решение (фиг.1) содержит статор турбогенератора 1, внутри которого размещен ротор турбогенератора 2, имеющий не менее одного рабочего колеса турбины 3 с бандажными полками 4, в которые встроены рабочие магниты 5. В статор 2 встроены магниты подшипников 6 и статорные обмотки 7. Система охлаждения статорных обмоток содержит корпуса 8 и трубопроводы 9 подвода воздуха. В статор встроены сопловые аппараты турбины 10. Статорные обмотки 7 кабелями 11, имеющими коммутаторы 12, соединены с потребителями электроэнергии.
При работе рабочее тело: продукты сгорания или сжатый воздух или пар через сопловой аппарат турбины 10 поступает на рабочее колесо (рабочие колеса 3), приводит ротор турбины 2 в движение, в статорных обмотках 7 возбуждается ЭДС и ток по кабелям 11 поступает к потребителям.
Для охлаждения воздух или вода подаются по трубопроводу 9 в корпуса 8 и далее на сброс или циркуляцию.
Применение изобретения позволило
1. Упростить конструкцию турбогенератора, отказавшись от дисков, вала, опор, маслосистемы и т.д.
2. Повысить КПД турбогенератора.
3. Уменьшить вес и габариты в несколько раз.
4. Значительно повысить надежность и ресурс за счет отсутствия ненадежных деталей, узлов и систем.
Формула изобретения
1. Турбогенератор, содержащий не менее одной электрической машины, встроенной в турбину, содержащую ротор, установленный внутри статора, имеющий не менее одного рабочего колеса с бандажными полками, отличающийся тем, что все рабочие колеса установлены в магнитных подшипниках, размещенных внутри статора над бандажными полками, в которые вставлены рабочие магниты, а в статор вставлены магниты подшипников и статорные обмотки.
2. Турбогенератор по п.1, отличающийся тем, что для каждого рабочего колеса выполнено по два магнитных подшипника.
3. Турбогенератор по п.1 или 2, отличающийся тем, что статорные обмотки выполнены охлаждаемыми.
РИСУНКИ
|
|