|
|
(21), (22) Заявка: 2006135582/03, 09.10.2006
(24) Дата начала отсчета срока действия патента:
09.10.2006
(46) Опубликовано: 10.04.2008
(56) Список документов, цитированных в отчете о поиске:
RU 2166635 С2, 10.05.2001. SU 1372059 A1, 07.02.1988. SU 581292 A, 12.12.1977. SU 697732 A, 15.11.1979. SU 855222 A, 19.08.1981. SU 1344909 A1, 15.10.1987. SU 1418476 A1, 23.08.1988.
Адрес для переписки:
650026, г.Кемерово, ул. Весенняя, 28, Кузбасский государственный технический университет, информационно-патентный отдел
|
(72) Автор(ы):
Хямяляйнен Вениамин Анатольевич (RU), Майоров Александр Евгеньевич (RU)
(73) Патентообладатель(и):
Государственное образовательное учреждение высшего профессионального образования “Кузбасский государственный технический университет” (ГУ КузГТУ) (RU)
|
(54) АНКЕР
(57) Реферат:
Изобретение относится к горному делу и может быть использовано для анкерного крепления выработок. Анкер состоит из грузонесущего стержня с эксцентрично расположенной у дна скважины опорной головкой. На грузонесущем стержне эксцентрично установлена втулка из сыпучего материала, поровое пространство которой заполнено эластичным связующим. Подпорный элемент расположен внутри втулки из сыпучего материала и выполнен в виде навитой вокруг грузонесущего стержня упругой проволоки, концы которой выступают снаружи втулки. Также конструкция включает стандартные опорные элементы и гайку вне скважины. Изобретение позволяет повысить надежность работы анкера при относительно низкой его стоимости. 1 ил.
Изобретение относится к горному делу и может быть использовано для анкерного крепления выработок.
Известен анкер (а.с. СССР №1699210, МПК E21D 21/00, опубл. 1996.05.20), включающий грузонесущую штангу с навинченной на замковом конце гайкой, эксцентричную опорную шайбу и установленную на штанге цилиндрическую втулку с эксцентрично расположенным продольным отверстием, эксцентричную зажимную шайбу, размещенную между гайкой и втулкой, предохранительный фиксатор для сцепления гайки с зажимной шайбой при установке анкера, при этом втулка выполнена из гранулированного материала, поровое пространство которого заполнено пластически деформирующимся клеевым материалом.
Недостатком данного анкера является сложность конструкции при многооперационности изготовления элементов, включающей механическую обработку, что приводит к общему удорожанию конструкции. Также при транспортировании втулок из гранулированного материала к месту выполнения работ возможно их механическое повреждение вследствие пластических деформаций клеевого материала, что требует дополнительных охранных мероприятий.
Известна анкерная крепь (а.с. СССР №855222, МПК E21D 21/00, опубл. 15.08.1981, бюл. 30), включающая стержень с головкой на конце, кольцевым упором, продольным выступом, размещенным над упором и шайбой, выполненной из упругого материала в форме звездочки со шлицевым пазом для установки на продольном выступе стержня, надетую на стержень цилиндрическую емкость, выполненную из эластичного мягкого материала и заполненную сыпучим материалом.
Недостатком данного анкера является сложность конструкции, что приводит к ее общему удорожанию. Также происходит снижение надежности работы анкера, его возможное проскальзывание вдоль стенок скважины при определенных условиях, так как усилие распора сыпучего материала на стенки скважины передается через мягкие эластичные стенки цилиндрической емкости, что исключает из работы силы сцепления. Также чистота и характер поверхности стенок скважины после бурения является определяющей характеристикой для надежности закрепления данного анкера и является переменчивой даже для однотипных горно-геологических условий. Таким образом, прочность закрепления конструкции в скважине ограничена и, с одной стороны, зависит в том числе от коэффициента трения мягкого эластичного материала стенок цилиндрической емкости о стенки скважины, с другой стороны, ограничена сдвиговой прочностью и прочностью на разрыв материала, из которого изготовлена цилиндрическая емкость. В случае разрыва стенок цилиндрической емкости при нагружении анкера в определенных условиях его выпадения не произойдет, но его значительная податливость до момента разрыва стенок цилиндрической емкости и включения в работу сил сцепления сыпучего материала о стенки скважины, трения и дилатансии (образование новых поверхностей сдвига с одновременным увеличением общего объема при предельном нагружении твердого тела) может быть критична.
Известен анкер с минеральным заполнителем (патент РФ №2166635, МПК E21D 21/00, опубл. 2001.05.10), принятый за прототип, включающий грузонесущий стержень с опорной головкой на замковом конце, втулку из минерального заполнителя в зазоре между стенками скважины и стержнем, подпорную шайбу, выполненную эксцентричной в виде втулки с упругими полями, опертыми на стенки скважины, и надетую на стержень со стороны устья скважины, опорные элементы и гайку вне скважины.
Недостатком данного анкера является возможное снижение надежности его работы во времени. Частицы сыпучего материала закрепляющей втулки смачиваются водой в процессе установки конструкции в скважине для повышения плотности упаковки частиц и создания эффекта их взаимной слипаемости, предотвращающего их рикошетный вылет из скважины при механизированном пневмозаполнении. Водяное пленочное покрытие частиц сыпучего материала технологично, дешево и препятствует необходимой их взаимной подвижности при нагружении анкера. Однако при установке анкера стенки скважины дополнительно смачиваются и со временем теряют свою прочность, а в восстающих скважинах подсохшая часть сыпучего материала закрепляющей втулки при определенных условиях может истечь из скважины (подтверждено шахтными испытаниями) через трещины в критическом объеме, что приведет к выпадению анкера.
Задачей заявляемого технического решения является повышение надежности работы анкера при относительно низкой его стоимости.
Указанная задача достигается тем, что в анкере, включающем грузонесущий стержень с эксцентрично расположенной у дна скважины опорной головкой, установленную на стержне втулку из сыпучего материала с эксцентрично расположенным продольным отверстием и подпорным элементом, опорные элементы и гайку вне скважины, согласно изобретению поровое пространство втулки из сыпучего материала заполнено эластичным связующим, а подпорный элемент расположен внутри втулки из сыпучего материала и выполнен в виде навитой вокруг грузонесущего стержня упругой проволоки, концы которой выступают снаружи втулки.
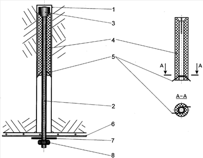
Изобретение поясняется чертежом, где изображены общий вид анкера в сборе и втулка из сыпучего материала.
Анкер, закрепленный в скважине 1, состоит из грузонесущего стержня 2 с эксцентрично навинченной на донный конец анкера опорной головкой 3, втулки 4 с эксцентрично расположенным продольным отверстием и выполненной из сыпучего материала, например кварцевого песка с крупностью зерен до 2 мм, поровое пространство которого заполнено эластичным связующим, например материалом на основе каучука или высокомолекулярных соединений полимеров, технических силиконов, подпорного элемента 5, вставленного во втулку 4 при ее изготовлении, стандартных опорных элементов в виде решетчатой затяжки 6 и опорной шайбы 7, гайки 8, навинченной на хвостовик анкера.
Монтаж анкера осуществляют следующим образом. Вслед за подвиганием забоя производят бурение скважин 1 по схеме согласно паспорту крепления. На грузонесущий стержень 2 анкера с предварительно навинченной на донный конец эксцентричной опорной головкой 3 со стороны хвостовика анкера надевают до упора в опорную головку 3 втулку 4 с эксцентрично расположенным продольным отверстием. При помощи досылочной трубы (на чертеже не показана) собранная конструкция вводится в скважину 1 до глубины, соответствующей длине анкера без хвостовой части. Далее на хвостовик грузонесущего стержня 2 вне скважины надевают стандартные опорные элементы в виде решетчатой затяжки 6 и опорной шайбы 7 и создают предварительное натяжение, навинчивая гайку 8 на хвостовик анкера с усилием согласно паспорту крепления.
При нагружении анкера фактически происходит продвижение грузонесущего стержня и опорной головки в среде сыпучего материала, объем которой ограничен стенками скважины. Опорная головка в виде поршня в скважине смещает и уплотняет частицы сыпучего заполнителя, происходит их перераспределение в ограниченном объеме и послоевой сдвиг с одновременным деформированием втулки. При дальнейшем нагружении анкера в сыпучем материале формируются устойчивые взаимовлияющие слои распора, передающие усилия отпора от стенок скважины и закрепляющие анкер за счет сил трения, сцепления и дилатансии. При этом максимум радиального давления на стенки скважины расположен непосредственно под опорной головкой с последующим плавным вырождением по длине столба сыпучего материала. Тонкая пленка эластичного связующего, покрывающая частицы сыпучего материала, соединяет и не препятствует их взаимному перемещению при нагружении анкера, практически не нарушая механизм взаимодействия, а прорываясь в местах контакта частиц, заполняет поровое пространство втулки. Частицы сыпучего материала образуют связанную и взаимоподвижную систему, не имеют возможности просыпания, таким образом сохраняется работоспособность втулки и анкера во времени даже в обводненных выработках и зонах интенсивной трещиноватости горных пород. Применение эластичного связующего, имеющего стабильные свойства во времени, позволяет создать технологичную конструкцию втулки и простую конструкцию подпорного элемента, необходимого для стабилизации смещений втулки при предварительном нагружении анкера и удобства установки анкера в вертикальных скважинах, предотвращая его выпадение при проведении монтажных работ. Подпорный элемент выполнен из упругой проволоки, навитой на грузонесущий стержень анкера, концы которой выступают снаружи втулки. Для повышения технологичности монтажа анкера подпорный элемент вставлен во втулку из сыпучего материала при ее изготовлении. Для уменьшения податливости анкера и более эффективного включения его в работу опорная головка может быть выполнена с конической наружной поверхностью, а втулка из сыпучего материала может иметь продольные разрезы стенки со стороны опорной головки, что позволит при предварительном нагружении анкера сразу ввести в зацепление частицы сыпучего материала, заклинивая тем самым опорную головку и грузонесущий стержень в скважине с минимальным осевым смещением.
Таким образом, предлагаемое изобретение позволяет повысить надежность работы анкера при относительно низкой его стоимости.
Формула изобретения
Анкер, включающий грузонесущий стержень с эксцентрично расположенной у дна скважины опорной головкой, установленную на стержне втулку из сыпучего материала с эксцентрично расположенным продольным отверстием и подпорным элементом, опорные элементы и гайку вне скважины, отличающийся тем, что поровое пространство втулки из сыпучего материала заполнено эластичным связующим, а подпорный элемент расположен внутри втулки из сыпучего материала и выполнен в виде навитой вокруг грузонесущего стержня упругой проволоки, концы которой выступают снаружи втулки.
РИСУНКИ
|
|