|
|
(21), (22) Заявка: 2005136589/03, 24.11.2005
(24) Дата начала отсчета срока действия патента:
24.11.2005
(43) Дата публикации заявки: 10.06.2007
(46) Опубликовано: 10.04.2008
(56) Список документов, цитированных в отчете о поиске:
RU 2170348 C1, 10.07.2001. SU 321617 A1, 01.01.1971. SU 568718 A1, 15.08.1977. SU 1006738 A1, 23.03.1983. SU 1191567 A1, 15.11.1985. RU 2109940 C1, 27.04.1998. US 5248896 A, 28.09.1993. DE 2146695 A1, 23.03.1972. МОЛЧАНОВ А.А. и др. Скважинные автономные измерительные системы с магнитной регистрацией. – М.: Недра, 1979, с.102, 103.
Адрес для переписки:
452614, Республика Башкортостан, г. Октябрьский, ул. Горького, 1, ОАО НПП “ВНИИГИС”, отдел промышленной собственности
|
(72) Автор(ы):
Афанасьев Евгений Яковлевич (RU), Григорьев Валерий Михайлович (RU), Файзуллин Равис Шарафович (RU)
(73) Патентообладатель(и):
Общество с ограниченной ответственностью Научно-производственная фирма “ГОРИЗОНТ” (ООО НПФ “ГОРИЗОНТ”) (RU)
|
(54) ГЕНЕРАТОР ДЛЯ ПИТАНИЯ АВТОНОМНЫХ СКВАЖИННЫХ ПРИБОРОВ
(57) Реферат:
Изобретение относится к области бурения нефтегазовых скважин и предназначено для преобразования энергии промывочной жидкости в электрическую и питания электроэнергией автономных скважинных приборов различного назначения в процессе бурения. Техническим результатом изобретения является повышение ремонтопригодности путем упрощения процесса сборки и разборки частей генератора. Для этого генератор содержит статор, ротор в виде корпуса, с внутренней стороны которого расположены магниты, а также рабочие лопатки турбин (шнеки), установленные по краям ротора. Особенность конструкции заключается в наличии дополнительного наружного съемного корпуса ротора и в установлении турбин на промежуточных съемных корпусах по краям ротора. При этом торцовые поверхности дополнительного съемного наружного корпуса и соприкасаемые с ними торцовые поверхности рабочих лопаток турбин (шнеков) выполнены скошенными. Фиксация дополнительного съемного наружного корпуса и рабочих лопаток турбин (шнеков) относительно их промежуточных корпусов обеспечена стопорными кольцами. 1 ил.
Предлагаемое изобретение относится к области бурения нефтегазовых скважин и предназначено для преобразования энергии промывочной жидкости в электрическую и питания электроэнергией автономных скважинных приборов различного назначения в процессе бурения.
Известен турбогенератор для питания автономных скважинных приборов для геофизических и технологических исследований горизонтальных скважин в процессе бурения, содержащий гидротурбину, приводимую в движение потоком промывочной жидкости, в которой блок турбин выполнен съемным («Усовершенствовать образцы телесистем с беспроводным электромагнитным каналом связи для геофизических и технологических исследований горизонтальных скважин в процессе бурения». Отчет по теме №417. Гос. регистр. №02930.00450191.0037084. Инв. №02930004511. ВНИИГИС, Чупров В.П. г.Октябрьский, 1993, стр.20-21).
Турбогенератор состоит из внутреннего ротора с магнитами и наружного статора. К корпусу статора консольно присоединена переходная втулка, которая фиксирует съемный блок турбин, воспринимающих поток промывочной жидкости.
Недостатком известного генератора являются: его небольшой ресурс работы, низкая надежность, недостаточная мощность, большие габариты и масса, сложность конструкции.
Эти недостатки устранены в другом известном генераторе переменного тока для питания автономных забойных геофизических и навигационных комплексов (патент RU №2170348, МКИ Е21В 47/022, F03B 13/02, заявл. 04.07.2000 г., опубл. 10.07.2001 г.).
Известная конструкция состоит из внутреннего статора, установленного на неподвижном валу с электрическими разъемами на обоих концах для подключения электронного скважинного оборудования, и ротора, выполненного в виде корпуса с установленными с внешней стороны рабочими лопатками турбины и с внутренней стороны постоянными магнитами, а рабочие лопатки турбин расположены по краям корпуса.
Недостатки известного генератора обусловлены особенностью его конструкции, а именно: внешний корпус ротора выполнен заодно с постоянными магнитами.
При эксплуатации корпус ротора и рабочие лопатки турбины изнашиваются от действия промывочной жидкости и подлежат замене. Для замены корпуса ротора и рабочих лопаток турбины необходимо произвести полную разборку известного генератора, что не только осложняет процесс ремонта, но и усложняет процесс сборки, в результате чего снижается его ремонтопригодность.
Задачей предлагаемого изобретения является повышение ремонтопригодности путем упрощения процесса сборки и разборки частей генератора.
Указанная задача решается тем, что в генераторе для питания автономных скважинных приборов, содержащем статор, установленный на неподвижном полом валу, установленный на подшипниках ротор в виде корпуса, с внутренней стороны которого расположены магниты, а также рабочие лопатки турбин (шнеки), установленные по краям ротора, ротор снабжен концентрично установленным дополнительным съемным наружным корпусом, рабочие лопатки турбин (шнеки) исполнены также отдельно съемными и установлены на промежуточных корпусах, причем торцовые поверхности дополнительного съемного наружного корпуса и соприкасаемые с ними торцовые поверхности рабочих лопаток турбин (шнеков) выполнены скошенными, а фиксация дополнительного съемного наружного корпуса и рабочих лопаток турбин (шнеков) относительно их промежуточных корпусов обеспечена стопорными кольцами.
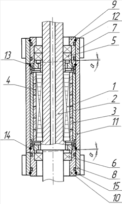
Сущность изобретения поясняется чертежом, где представлена схема генератора.
Генератор состоит из статора 1, установленного на неподвижном полом валу 2, ротора 3 в виде корпуса, с внутренней стороны которого укреплены постоянные магниты 4, подшипников 5 и 6, рабочих лопаток турбин (шнеков 7 и 8), установленных по краям ротора 3 на промежуточных съемных корпусах 9 и 10 соответственно, дополнительного наружного съемного корпуса 11, концентрично установленного относительно корпуса ротора 3 и стопорных колец 12, 13, 14, 15.
Сборку генератора производят следующим образом. Статор 1 устанавливается на неподвижный полый вал 2 и вставляется в корпус ротора 3 с магнитами 4, устанавливаются подшипники 5 и 6 в промежуточных корпусах 9 и 10.
Собранный статор с ротором устанавливается в дополнительный наружный съемный корпус 11, монтируются промежуточные корпуса 9 и 10 с подшипниками 5 и 6. Положение дополнительного наружного съемного корпуса 11 относительно промежуточных корпусов 9 и 10 фиксируется стопорными кольцами 13 и 14, затем производят монтаж рабочих лопаток турбин (шнеков) 7 и 8 и фиксируют их стопорными кольцами 12 и 15. Наличие скошенных торцовых поверхностей под углом на дополнительном съемном наружном корпусе и соприкасаемой торцовой поверхности рабочих лопаток турбин (шнеков), а также фиксация их относительно ротора и промежуточных корпусов стопорными кольцами позволяет производить сборку без подгоночных работ, выбирая зазоры в соединениях.
Во время работы генератора под действием промывочной жидкости в силу конструктивного исполнения торцовых поверхностей дополнительного наружного съемного корпуса и соприкасаемых торцовых поверхностей рабочих лопаток турбин скошенными с углом (выбранным экспериментально – опытным путем) происходит выборка зазора и заклинивание соприкасаемых указанных частей в совокупности с возникающим тормозным моментом, создаваемым постоянными магнитами внутри ротора.
Применение предложенного изобретения дает следующие преимущества.
1. Корпус ротора и рабочие лопатки турбины (шнеки) выполнены съемными, что позволяет производить замену изношенных деталей (шнеки, корпус ротора) без разборки генератора.
2. Наличие скошенных торцовых поверхностей на дополнительном наружном съемном корпусе и рабочих лопатках турбин (шнеков), фиксация их относительно ротора и промежуточных корпусов стопорными кольцами позволяет производить сборку без подгоночных работ, выбирая зазоры в соединениях, что значительно упрощает сборку.
Формула изобретения
Генератор для питания автономных скважинных приборов, содержащий статор, установленный на неподвижном полом валу, установленный на подшипниках ротор в виде корпуса, с внутренней стороны которого расположены магниты, а также рабочие лопатки турбин (шнеки), размещенные по краям ротора, отличающийся тем, что ротор снабжен дополнительным съемным наружным корпусом, рабочие лопатки турбин (шнеки) исполнены также съемными и установлены на промежуточных корпусах, причем торцовые поверхности дополнительного наружного корпуса и соприкасаемые торцовые поверхности рабочих лопаток турбин (шнеков) выполнены скошенными, а фиксация дополнительного наружного корпуса и рабочих лопаток турбин (шнеков) относительно их промежуточных корпусов обеспечена с помощью стопорных колец.
РИСУНКИ
MM4A – Досрочное прекращение действия патента СССР или патента Российской Федерации на изобретение из-за неуплаты в установленный срок пошлины за поддержание патента в силе
Дата прекращения действия патента: 25.11.2007
Извещение опубликовано: 10.05.2009 БИ: 13/2009
|
|