|
(21), (22) Заявка: 2006115198/03, 02.05.2006
(24) Дата начала отсчета срока действия патента:
02.05.2006
(46) Опубликовано: 10.04.2008
(56) Список документов, цитированных в отчете о поиске:
RU 2060378 C1, 20.05.1996. SU 1134807 А, 15.01.1985. RU 2266396 С2, 20.12.2005. RU 724 U1, 16.08.1995. RU 2144135 C1, 10.01.2000. RU 2190757 C1, 10.10.2002.
Адрес для переписки:
400005, г.Волгоград, пр. Ленина, 96, ООО “ЛУКОЙЛ-ВолгоградНИПИморнефть”
|
(72) Автор(ы):
Шевченко Александр Константинович (RU)
(73) Патентообладатель(и):
Общество с ограниченной ответственностью “ЛУКОЙЛ-ВолгоградНИПИморнефть” ООО “ЛУКОЙЛ-ВолгоградНИПИморнефть” (RU)
|
(54) СПОСОБ РАЗРАБОТКИ НЕФТЯНОЙ ЗАЛЕЖИ (ВАРИАНТЫ)
(57) Реферат:
Группа изобретений относится к нефтедобывающей промышленности, в частности к способам разработки нефтяной залежи. Обеспечивает повышение нефтеотдачи залежи, а также снижение капитальных и эксплуатационных затрат. Сущность изобретения: способ включает нагнетание в скважину с эксплуатационной колонной воды по колонне лифтовых труб, установку в скважине разобщающих устройств – пакеров, спуск в скважину на колонне лифтовых труб жидкостно-газового эжектора с камерой низкого давления для закачки водогазовой смеси, выкид которого гидравлически сообщают с водонасыщенным объемом. Согласно изобретению при наличии в залежи газового пласта или газовой шапки, расположенных ниже интервала закачки водогазовой смеси, одно из разобщающих устройств устанавливают выше интервала закачки водогазовой смеси. Второе устройство устанавливают между интервалом закачки водогазовой смеси и газовым пластом или газовой шапкой. Камеру низкого давления спущенного в скважину газожидкостного эжектора через полость, образованную между наружными стенками лифтовых труб и внутренними стенками эксплуатационной колонны – патрубка, сообщают с хвостовиком. Его нижний конец сообщают через перфорационные отверстия с газовым пластом. При этом эксплуатационную колонну-патрубок сверху сообщают с затрубным пространством. 2 н.п. ф-лы, 2 ил.
Изобретение относится к нефтедобывающей промышленности, в частности к способам разработки нефтяной залежи посредством нагнетания водогазовой смеси в водонасыщенный объем ниже водонефтяного контакта (ВНК).
Известны способы закачки в пласт водогазовой смеси, образованной в процессе эжекции: Пат. 2088752 Е21В 43/20 «Способ разработки нефтяного месторождения»; Пат. 2269646 Е21В 43/20 «Способ вытеснения нефти из пласта»; З. №93003931 Е21В 43/22 «Способ разработки нефтяного месторождения»; З. №94007734 Е21В 43/22 «Способ разработки нефтяного пласта», З. №99121601 Е21В 43/20 «Способ вытеснения нефти из пласта». При этом водогазовую смесь приготавливают либо на поверхности, либо в стволе скважины.
Для смешения воды и газа эжектированием на глубине в стволе скважины закачивают с устья одновременно по разным линиям воду и газ: Пат. 2269646 «Способ вытеснения нефти из пласта». Для этого необходим источник газа высокого давления внешний, а также коммуникации для подачи газа к устью скважины. В отдельных случаях может потребоваться очистка и компримирование газа. Кроме дополнительных капитальных затрат, обусловленных подачей внешнего газа, предназначенного для смешения с водой, возникают также дополнительные эксплуатационные расходы. Это является существенным недостатком способов, включающих подачу на эжектирование в скважину газа с устья.
Наиболее близким к предлагаемому является «Способ разработки нефтяного пласта» пат. №2060378, МПК 6 Е21В 43/24.
Предлагаемый способ разработки нефтяной залежи исключает необходимость в подаче на жидкостно-газовый эжектор газа с устья скважины. В качестве источника газа высокого давления используются имеющиеся в разрезе скважины ниже или выше интервала нагнетания водогазовой смеси газовые пласты или газовые шапки.
В предлагаемом способе газ отбирают из одного из указанных источников и без подъема на поверхность направляют в камеру низкого давления жидкостно-газового эжектора, установленного на колонне лифтовых труб в интервале нагнетания водогазовой смеси в пласт.
Технический результат, на достижение которого направлено изобретение, заключается в повышении нефтеотдачи, а также в снижении капитальных и эксплуатационных затрат.
Для достижения названного технического результата предлагается:
1. Способ разработки нефтяной залежи, включающий нагнетание в скважину с эксплуатационной колонной воды по колонне лифтовых труб, установку в скважине разобщающих устройств-пакеров, спуск в скважину на колонне лифтовых труб жидкостно-газового эжектора с камерой низкого давления для закачки водогазовой смеси, выкид которого гидравлически сообщают с водонасыщенным объемом, при наличии в залежи газового пласта или газовой шапки, расположенных ниже интервала закачки водогазовой смеси, одно из разобщающих устройств устанавливают выше интервала закачки водогазовой смеси, а второе – между интервалом закачки водогазовой смеси и газовым пластом или газовой шапкой, камеру низкого давления спущенного в скважину жидкостно-газового эжектора через полость, образованную между наружными стенками лифтовых труб и внутренними стенками эксплуатационной колонны-патрубка, сообщают с хвостовиком, нижний конец которого сообщают через перфорационные отверстия с газовым пластом, при этом эксплуатационную колонну-патрубок сверху сообщают с затрубным пространством.
2. Способ разработки нефтяной залежи, включающий нагнетание в скважину с эксплуатационной колонной воды по колонне лифтовых труб, установку в скважине разобщающего устройства-пакера, спуск в скважину на колонне лифтовых труб жидкостно-газового эжектора с камерой низкого давления для закачки водогазовой смеси, выкид которого гидравлически сообщают с водонасыщеным объемом, при наличии газового пласта или газовой шапки в залежи и расположении их выше интервала закачки водогазовой смеси, разобщающее устройство-пакер устанавливают между интервалом закачки водогазовой смеси и газовым пластом или газовой шапкой, камеру низкого давления спущенного в скважину жидкостно-газового эжектора размещают выше разобщающего устройства-пакера и сообщают через полость, образованную между наружными стенками лифтовых труб и внутренними стенками эксплуатационной колонны-патрубка через перфорационные отверстия с газовым пластом, при этом эксплуатационную колонну-патрубок сверху сообщают с затрубным пространством.
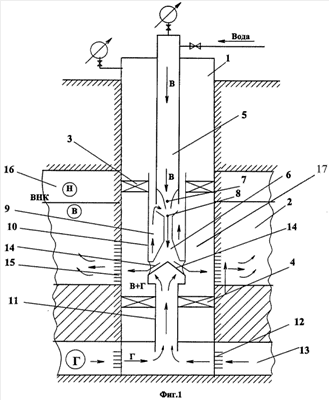
Предлагаемый способ поясняется чертежом. На фиг.1 представлен вариант предлагаемого способа применительно к расположению газового пласта в разрезе скважины ниже интервала нагнетания водогазовой смеси.
Согласно предлагаемому способу по данному варианту, в скважине 1, предназначенной для закачки водогазовой смеси в водонасыщенный объем 2, расположенный ниже ВНК, устанавливают разобщающие устройства-пакеры: верхнее 3 – выше интервала закачки водогазовой смеси, и нижнее 4 – ниже интервала закачки водогазовой смеси. В интервале между этими разобщающими устройствами-пакерами на колонне лифтовых труб 5 устанавливают жидкостно-газовый эжектор 6, рабочее высоконапорное – активное сопло 7 гидравлически сообщено с внутренней полостью колонны лифтовых труб 5, а камеру низкого давления 8 через полость 9, образованную между наружными стенками эжектора 6 и внутренними стенками патрубка 10, сообщают с хвостовиком 11, нижний конец которого сообщают через перфорационные отверстия 12 с газовым пластом 13. Жидкостно-газовый эжектор 6 снабжен двумя расположенными диаметрально-противоположно выкидами 14, имеющими гидравлическую связь через перфорационные отверстия 15 с водонасыщенным объемом 2, расположенным под нефтяной залежью 16.
Способ по данному варианту осуществляется следующим образом. Вода, подаваемая под напором с устья скважины в колонну лифтовых труб 5, поступает на рабочее высоконапорное – активное сопло 7 эжектора 6. За счет высокой скорости истечения воды из сопла 7 в камере низкого давления 8 создается пониженное давление, что способствует поступлению газа из газового пласта 13 через перфорационные отверстия 12, хвостовик 11, полость 9 в камеру низкого давления 8. Образующаяся в жидкостно-газовом эжекторе 6 водогазовая смесь через выкиды 14 и перфорационные отверстия 15 поступает в водонасыщенный объем 2.
Необходимым условием работы эжектора 6 в рассмотренном варианте является снижение в камере низкого давления 8 динамического давления Рн1 до величины, обеспечивающей переток газа из газового пласта 13 в камеру низкого давления с заданным расходом Q1. Необходимая величина Рн1 находится по формуле (I):



где Pг1 – пластовое давление в газовом пласте 13;
A1, B1 – коэффициенты фильтрационного сопротивления притоку газа в скважину из газового пласта 13;
D1, F1, 1 – соответственно внутренний диаметр, площадь живого сечения и коэффициент гидравлических сопротивлений хвостовика 11;
H1 – расстояние по вертикали от середины интервала перфорационных отверстий 12 до входа в камеру низкого давления 8;
T1, Z1 – соответственно средние значения температуры и коэффициента сверхсжимаемости газа по длине хвостовика 11;
Рст; Тст – соответственно давление и температура при стандартных условиях;
g – ускорение силы тяжести;
ст – плотность газа при стандартных условиях.
На фиг.2 представлен вариант предлагаемого способа применительно к расположению газового пласта в разрезе скважины выше интервала нагнетания водогазовой смеси.
Согласно предлагаемому способу по данному варианту в скважине 1, предназначенной для закачки водогазовой смеси в водонасыщенный объем 2, расположенный ниже ВНК, устанавливают разобщающее устройство-пакер 3 между газовым пластом 13 и интервалом закачки водогазовой смеси в водонасыщенный объем 2; на колонне лифтовых труб 5 устанавливают жидкостно-газовый эжектор 6. При этом располагают рабочее высоконапорное – активное сопло 7 и камеру низкого давления 8 эжектора выше пакера 3. Сообщают камеру низкого давления 8 через полость затрубного пространства 17, образованную между внутренними стенками эксплуатационной колонны скважины Dвэ и наружными стенками лифтовых труб Dнл, перфорационными отверстиями 12 с газовым пластом 13, а выкид 14 жидкостно-газового эжектора 6 через хвостовик 11 и перфорационные отверстия 15 сообщают с водонасыщенным объемом 2, расположенным под нефтяной залежью 16.
Способ по данному варианту осуществляется следующим образом. Вода, подаваемая под напором с устья скважины в колонну лифтовых труб 5, поступает на рабочее высоконапорное – активное сопло 7 эжектора 6. За счет высокой скорости истечения воды из сопла 7 в камере низкого давления 8 создается пониженное давление, что способствует поступлению газа из газового пласта 13 через перфорационные отверстия 12, полость затрубного пространства 17 в камеру низкого давления 8. Образующаяся в жидкостно-газовом эжекторе 6 водогазовая смесь через выкид 14 перфорационные отверстия 15 поступает в водонасыщенный объем 2.
Необходимым условием работы эжектора 6 в данном варианте является снижение в камере низкого давления 8 динамического давления Рн2 до величины, обеспечивающей переток газа из газового пласта 13 в камеру низкого давления с заданным расходом Q2. Величина Рн2 находится по формуле (4):




где Рг2 – пластовое давление в газовом пласте 13;
А2, В2 – коэффициенты фильтрационного сопротивления притоку газа из газового пласта 13;
D2, F2, 2 – соответственно, гидравлический диаметр, площадь живого сечения и коэффициент гидравлических сопротивлений полости затрубного пространства 17;
Н2 – расстояние по вертикали от середины интервала перфорационных отверстий 12 до входа в камеру низкого давления 8;
Т2, Z2 – соответственно, средние значения температуры и коэффициента сверхсжимаемости газа по длине полости затрубного пространства 17;
Рст, Тст – соответственно, давление и температура при стандартных условиях;
g – ускорение силы тяжести;
ст – плотность газа при стандартных условиях.
Режим работы жидкостно-газового эжектора: давление на входе в рабочее высоконапорное – активное сопло эжектора, расход подаваемой на эжектор с устья воды, расход перепускаемого в камеру низкого давления газа, давление водогазовой смеси на выходе из эжектора рассчитывают по известным методикам: Мищенко И.Т. и др. «Выбор способа эксплуатации скважин нефтяных месторождений с трудноизвлекаемыми запасами». – М., 2005.
Контроль давления в камере низкого давления можно осуществлять расчетным способом по замерам давления в полости затрубного пространства скважины – между внутренними стенками труб эксплуатационной колонны и наружными стенками колонны лифтовых труб, в том числе и на устье скважины.
При расположении газового пласта ниже интервала нагнетания водогазовой смеси, когда выше газового пласта установлено разобщающее устройство-пакер – для возможности контроля давления в камере низкого давления эжектора используется сообщенная с камерой низкого давления полость затрубного пространства выше разобщающего устройства-пакера.
При расположении газового пласта выше интервала нагнетания водогазовой смеси, когда отсутствует разобщающее устройство-пакер над газовым пластом, также можно использовать замеры давления в затрубном пространстве скважины, в том числе и на устье скважины.
Контроль расхода газа, поступающего в камеру низкого давления из газовых пластов или газовых шапок, осуществляется расчетным методом на основе предварительно проведенных исследований, при этом используются индикаторные линии – зависимости между дебитом газа и величиной разности квадратов давлений: пластового и в скважине в интервале поступления газа.
Формула изобретения
1. Способ разработки нефтяной залежи, включающий нагнетание в скважину с эксплуатационной колонной воды по колонне лифтовых труб, установку в скважине разобщающих устройств-пакеров, спуск в скважину на колонне лифтовых труб жидкостно-газового эжектора с камерой низкого давления для закачки водогазовой смеси, выкид которого гидравлически сообщают с водонасыщенным объемом, отличающийся тем, что при наличии в залежи газового пласта или газовой шапки, расположенных ниже интервала закачки водогазовой смеси, одно из разобщающих устройств устанавливают выше интервала закачки водогазовой смеси, а второе – между интервалом закачки водогазовой смеси и газовым пластом или газовой шапкой, камеру низкого давления спущенного в скважину газожидкостного эжектора через полость, образованную между наружными стенками лифтовых труб и внутренними стенками эксплуатационной колонны-патрубка, сообщают с хвостовиком, нижний конец которого сообщают через перфорационные отверстия с газовым пластом, при этом эксплуатационную колонну-патрубок сверху сообщают с затрубным пространством.
2. Способ разработки нефтяной залежи, включающий нагнетание в скважину с эксплуатационной колонной воды по колонне лифтовых труб, установку в скважине разобщающего устройства-пакера, спуск в скважину на колонне лифтовых труб жидкостно-газового эжектора с камерой низкого давления для закачки водогазовой смеси, выкид которого гидравлически сообщают с водонасыщенным объемом, отличающийся тем, что при наличии газового пласта или газовой шапки в залежи и расположении их выше интервала закачки водогазовой смеси разобщающее устройство-пакер устанавливают между интервалом закачки водогазовой смеси и газовым пластом или газовой шапкой, камеру низкого давления спущенного в скважину газожидкостного эжектора размещают выше разобщающего устройства-пакера и сообщают через полость, образованную между наружными стенками лифтовых труб и внутренними стенками эксплуатационной колонны-патрубка через перфорационные отверстия с газовым пластом, при этом эксплуатационную колонну-патрубок сверху сообщают с затрубным пространством.
РИСУНКИ
|