|
(21), (22) Заявка: 2006136647/03, 16.10.2006
(24) Дата начала отсчета срока действия патента:
16.10.2006
(46) Опубликовано: 10.04.2008
(56) Список документов, цитированных в отчете о поиске:
RU 46296 U1, 27.06.2005. SU 578438 A, 30.10.1977. RU 2074311 C1, 27.02.1997. RU 2173766 C2, 20.09.2001. RU 2283943 C1, 20.09.2006. US 4260017 A, 07.04.1981.
Адрес для переписки:
625031, г.Тюмень, а/я 2997, ул. Ветеранов труда, 58а, ЗАО НПП “СибБурМаш”
|
(72) Автор(ы):
Витязев Олег Леонидович (RU), Секисов Андрей Васильевич (RU), Хайруллин Булат Юсупович (RU)
(73) Патентообладатель(и):
Закрытое акционерное общество Научно-производственное предприятие “СибБурМаш” (RU)
|
(54) МУФТА ДЛЯ ЦЕМЕНТИРОВАНИЯ ОБСАДНЫХ КОЛОНН
(57) Реферат:
Изобретение относится к нефтедобывающей промышленности. Обеспечивает повышение эффективности устройства. Муфта содержит корпус с циркуляционными отверстиями. В расточке корпуса установлена подвижная дифференциальная втулка, соединенная с ним срезным штифтом и зафиксированная от вращения относительно корпуса посредством шпоночного соединения. Внутри дифференциальной втулки установлен клапан. Клапан выполнен в виде ступенчатой втулки из легко разбуриваемого материала и соединен в нижней части левой резьбой с дифференциальной втулкой. В стенке клапана выполнены циркуляционные отверстия, перекрываемые установленным в его проходном отверстии фильтром. Клапан снабжен уплотнительным элементом в виде рукава из эластичного материала, перекрывающего в исходном положении циркуляционные отверстия клапана. Дифференциальная втулка совместно с расточкой корпуса образует замкнутую кольцевую полость, гидравлически сообщающуюся со стволом скважины. Замкнутая кольцевая полость заполнена гелем с плотностью, превышающей плотность раствора в скважине. 2 ил.
Изобретение относится к нефтедобывающей промышленности и может использоваться при строительстве скважин для цементирования обсадных колонн или хвостовиков.
Известна муфта для ступенчатого цементирования (патент RU № 2 132 449 С1, МПК6 E21В 33/14, опубл. 27.06.1999), включающая:
– корпус с циркуляционными отверстиями,
– в котором установлена подвижная дифференциальная втулка, перекрывающая циркуляционные отверстия корпуса и зафиксированная относительно последнего срезным штифтом;
– соединенное левой резьбой с нижним концом дифференциальной втулки посадочное седло, на нижнем торце которого выполнены выступы, взаимодействующие с торцовыми пазами, выполненными в нижней части корпуса;
– и взаимодействующую с посадочным седлом цементировочную пробку, в полости которой выполнена воздушная камера, закрытая срезным днищем.
Недостатком известной цементировочной муфты является низкая надежность работы, обусловленная следующим:
– возможностью невозвращения дифференциальной втулки в исходное положение после посадки в ее седло цементировочной пробки. Это происходит вследствие того, что торцовые выступы седла при его перемещении вниз могут не войти в торцовые пазы корпуса из-за возможного проворота дифференциальной втулки и седла в процессе промывки цементного раствора первой ступени и прокачки цементного раствора второй ступени. Этот проворот на некоторый угол возможен завихрениями струй прокачиваемых жидкостей ввиду турбулентного режима их движения, возникающего вследствие нестационарности нагнетания жидкостей, при которой будут изменяться во времени плотность прокачиваемых жидкостей, производительность нагнетания, давление и скорость истечения. Поэтому в случае, если торцовые выступы седла при его перемещении вниз не войдут в торцовые пазы корпуса, возможна ситуация, когда дифференциальная втулка остановится выше. И, не дойдя до исходного нижнего положения, она не перекроет циркуляционные отверстия корпуса, что вызовет обратный переток цементного раствора в полость нижней ступени обсадной колонны, недоподъем цементного раствора и некачественное цементирование второй ступени обсадной колонны;
– возможностью потери герметичности и заполнения воздушной камеры цементировочной пробки жидкостью при ее спуске, что не позволит переместить дифференциальную втулку вниз в исходное положение после посадки цементировочной пробки в ее седло ввиду того, что жидкости практически несжимаемы. А заполненная жидкостью воздушная камера не сможет обеспечить переток жидкости из-под дифференциальной втулки в воздушную камеру, чтобы компенсировать объем ее перемещения вниз. Последствия такой ситуации аналогичны рассмотренной выше;
– в случае остановки или прерывания процесса продавки цементного раствора из-за неисправности насоса, отключения электроэнергии и т.п. цементный раствор из скважины ввиду перепада давлении из-за разницы удельных весов жидкостей в скважине и обсадной колонне будет перетекать обратно в обсадную колонну. Это при достаточно продолжительной остановке чревато возможной аварией в виде прихвата обсадной колонны или затвердевания раствора в обсадной колонне.
Известен гидравлический цементировочный клапан «СЕСМНЕК Valve» фирмы Baker Oil Tools (рекламный каталог «Baker Hughes Company»), включающий:
– цилиндрический корпус с циркуляционными отверстиями,
– в котором концентрично и неподвижно установлена цилиндрическая втулка с циркуляционными отверстиями, образующая своей наружной поверхностью с внутренней поверхностью корпуса кольцевую цилиндрическую полость;
– в которой установлен с возможностью перемещения кольцевой поршень, перекрывающий циркуляционные отверстия корпуса и соединенный с корпусом срезными штифтами,
– причем на втулке установлен рукав из эластичного материала, перекрывающий циркуляционные отверстия втулки,
– а поршень образует с корпусом и втулкой замкнутую кольцевую полость, гидравлически сообщающуюся со стволом скважины.
Недостатком известного цементировочного клапана является низкая надежность работы, обусловленная:
– возможностью заклинки кольцевого поршня в кольцевой полости ввиду попадания бурового раствора в эту полость и осадка твердой фазы под поршнем. Это приведет к невозможности перемещения последнего, вследствие чего не будут открыты циркуляционные отверстия корпуса и не будет осуществлена циркуляция цементного раствора, в результате чего процесс цементирования обсадной колонны не будет осуществлен;
– возможностью попадания и заклинивания достаточно больших кусков твердой фазы цементного раствора в зазоре между рукавом и наружной поверхностью втулки. Это будет препятствовать как возврату рукава в исходное положение, так и перекрытию циркуляционных отверстий втулки. В результате этого полость известного клапана по окончании прокачки цементного раствора будет гидравлически сообщаться со стволом скважины, из-за чего возможен обратный переток цементного раствора из скважины в полость клапана, а затем в колонну бурильных труб, вследствие чего процесс цементирования обсадной колонны не будет осуществлен в полной мере;
– возможностью прорыва стенки эластичного рукава усилием от перепада давления между затрубным пространством и полостью обсадной колонны после окончания процесса продавки цементного раствора в скважину, выключения насоса и возврата рукава в исходное положение. Учитывая, что средняя плотность нормального (не облегченного) цементного раствора составляет 2,2 г/см3, а средняя плотность продавочной жидкости, даже если в качестве ее используется буровой раствор, не превышает 1,2 г/см3, перепад давления на каждые 1000 метров обсадной колонны может составить 10,0 МПа (100 кгс/см2). Тогда на глубине 1000 метров на эластичный рукав толщиной около 5 мм (большая величина невозможна из-за конструктивных ограничений) в месте расположения циркуляционных отверстий диаметром не менее 15…20 мм будет воздействовать усилие не менее 2,0…3,0 кН или 200…300 кгс, а на глубине 3000 метров – 6,0…9,0 кН или 600…900 кгс. Возникающие при этом напряжения растяжения и среза могут превысить прочностные характеристики материала эластичного рукава, что может вызвать прорыв эластичного рукава, вследствие чего возможен обратный переток цементного раствора из скважины в полость клапана, а затем в колонну бурильных труб, вследствие чего процесс цементирования не будет осуществлен в полной мере.
Кроме того, известный цементировочный клапан обладает ограниченными эксплуатационными возможностями, так как величина диаметра внутреннего канала уменьшена по сравнению с обсадной колонной ввиду необходимости размещения в ограниченном диаметральном габарите корпуса следующих элементов деталей клапана:
– стенки корпуса,
– стенки эластичного рукава,
– зазора между наружной поверхностью эластичного рукава и внутренней поверхностью корпуса, необходимого для расширения эластичного рукава при прокачке цементного раствора,
– стенки цилиндрической втулки.
Тем самым, уменьшается внутренний канал клапана, что не обеспечивает равнопроходности обсадной колонны и ограничивает наружный диаметр скважинных инструментов, спускаемых при эксплуатации или ремонте.
Известна муфта для цементирования обсадных колонн (патент на полезную модель RU № 46296, МПК7 Е21В 33/14, опубл. 27.06.2005. Бюл. №18), включающая:
– корпус с циркуляционными отверстиями,
– в расточке которого установлена подвижная дифференциальная втулка, перекрывающая циркуляционные отверстия корпуса и соединенная с ним срезным штифтом;
– соединенный левой резьбой с нижним концом дифференциальной втулки и расположенный снаружи последней фиксатор, выполненный в виде ступенчатой втулки из легко разбуриваемого материала, соединенной с корпусом шлицевым соединением, длина которого больше величины перемещения дифференциальной втулки от ее исходного положения до крайнего верхнего положения;
– кольцевой уплотнительный элемент, неподвижно установленный на наружной поверхности фиксатора и выполненный в виде манжеты V-образного сечения из эластичного материала;
– причем дифференциальная втулка совместно с корпусом образует замкнутую кольцевую полость, гидравлически сообщающуюся со стволом скважины.
Недостатками известной муфты для цементирования обсадных колонн являются:
– повышенный габарит по длине, обусловленный тем, что фиксатор расположен вне дифференциальной втулки и, тем самым, для его размещения необходимо увеличение длины корпуса;
– повышенная трудоемкость в изготовлении, связанная с тем, что для исключения вращения фиксатора при разбуривании используется шлицевое соединение в виде пазов в корпусе и выступов на фиксаторе, механическая обработка которых требует значительных трудозатрат;
– возможностью заклинивания дифференциальной втулки при перемещении в расточке корпуса ввиду возможного попадания бурового раствора в замкнутую кольцевую полость и осадка твердой фазы в ней, что приведет к невозможности перемещения дифференциальной втулки. Вследствие этого не будут открыты циркуляционные отверстия корпуса и не будет осуществлена циркуляция цементного раствора, в результате чего процесс цементирования обсадной колонны не будет осуществлен;
– возможностью попадания и заклинивания достаточно больших кусков твердой фазы цементного раствора в кольцевом канале между эластичным манжетным уплотнением и нижней расточкой верхней секции, что будет препятствовать после прекращения циркуляции цементного раствора возврату эластичного манжетного уплотнения рукава в исходное положение. В результате этого полость известной муфты и ствол скважины будут гидравлически сообщены, и ввиду равенства давлений внутри и снаружи муфты дифференциальная втулка не будет возвращена в исходное положение и не перекроет циркуляционные отверстия в верхней секции. Это обстоятельство ввиду превышения удельного веса столба цементного раствора, находящегося в скважине, над удельным весом продавочной жидкости, находящейся в обсадной колонне, приведет к обратному перетоку цементного раствора из скважины в полость муфты, а затем в обсадную колонну, вследствие чего процесс цементирования обсадной колонны не будет осуществлен в полной мере.
Задачей изобретения является создание муфты для цементирования обсадных колонн, лишенной перечисленных недостатков.
Для обеспечения этих результатов в известной муфте для цементирования обсадных колонн, включающей:
– корпус с циркуляционными отверстиями,
– в расточке которого установлена подвижная дифференциальная втулка, перекрывающая в исходном положении циркуляционные отверстия корпуса и соединенная с ним срезным штифтом;
– соединенный левой резьбой с нижним концом дифференциальной втулки клапан, выполненный в виде ступенчатой втулки из легко разбуриваемого материала и снабженный кольцевым уплотнительным элементом из эластичного материала, неподвижно установленным на его наружной цилиндрической поверхности;
– причем дифференциальная втулка зафиксирована от вращения относительно корпуса подвижным относительно продольной оси корпуса соединением, длина которого больше величины перемещения дифференциальной втулки от ее исходного положения до крайнего верхнего положения;
– и образует совместно с расточкой корпуса замкнутую кольцевую полость, гидравлически сообщающуюся со стволом скважины.
СОГЛАСНО ИЗОБРЕТЕНИЮ
– клапан установлен внутри дифференциальной втулки,
– фиксация дифференциальной втулки от вращения относительно корпуса осуществлена посредством шпоночного соединения,
– в стенке клапана выполнены циркуляционные отверстия, перекрываемые фильтром, установленным в проходном отверстии клапана;
– уплотнительный элемент выполнен в виде рукава, перекрывающего в исходном положении циркуляционные отверстия клапана,
– причем замкнутая кольцевая полость заполнена гелем с плотностью, превышающей плотность раствора в скважине.
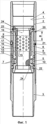
На фиг.1 изображена заявляемая муфта для цементирования обсадных колонн в исходном положении перед спуском в скважину (дифференциальная втулка с клапаном находится в крайнем нижнем положении), на фиг.2 изображена заявляемая цементировочная муфта в рабочем положении при прокачке цементного раствора (дифференциальная втулка с клапаном находится в крайнем верхнем положении).
Заявляемая муфта для цементирования обсадных колонн (фиг.1) содержит составной корпус 1, состоящий из верхней 2 и нижней 3 секций. В верхней секции 2 выполнены верхняя 4 и нижняя 5 расточки, в которых установлена с возможностью продольного перемещения дифференциальная втулка 6, в стенке которой выполнены сквозные циркуляционные отверстия 7. В исходном положении дифференциальная втулка 6 перекрывает сквозные циркуляционные отверстия 8, выполненные в стенке нижней расточки 5. Внутри дифференциальной втулки 6 установлен клапан 9 в виде ступенчатой втулки, выполненный из легко разбуриваемого материала и соединенный в нижней части левой резьбой 10 с дифференциальной втулкой 6.
Тем самым габарит по длине заявляемой муфты будет уменьшен по сравнению с прототипом, где аналогичный элемент (фиксатор) большей частью своей длины выступает за пределы дифференциальной втулки и увеличивает длину верхней секции корпуса. В результате уменьшается металлоемкость заявляемой муфты и ее стоимость по сравнению с прототипом.
В кольцевом зазоре 11, образуемом наружной поверхностью 12 клапана 9 и внутренней поверхностью 13 дифференциальной втулки 6, расположен уплотнительный элемент 14 из эластичного материала, упруго взаимодействующий с наружной поверхностью 12 клапана 9 и герметично перекрывающий в исходном положении сквозные циркуляционные отверстия 15, выполненные в стенке клапана 9. Фиксация дифференциальной втулки 6 от проворота в верхней секции 2 корпуса 1 осуществляется шпоночным соединением 16 в виде шпоночного паза 17, выполненного на наружной поверхности дифференциальной втулки 6, и шпонки 18, закрепленной в стенке корпуса 1. При этом длина А шпоночного паза 17 больше величины перемещения В дифференциальной втулки 6 из крайнего нижнего положения в крайнее верхнее положение.
Шпоночное соединение 16 дифференциальной втулки 6 с верхней секцией 2 корпуса 1 в отличие от прототипа, где это соединение выполнено шлицевым, более технологично и требует меньших трудозатрат при изготовлении. Это снижает стоимость заявляемой муфты по сравнению с прототипом.
В верхней части дифференциальная втулка 6 образует совместно с расточкой 5 верхней секции 2 замкнутую кольцевую полость 19, гидравлически сообщающуюся отверстием 20 со стволом скважины (не показан) и заполняемую перед спуском в скважину гелем с плотностью, превышающей плотность раствора в скважине. Фиксация дифференциальной втулки 6 в корпусе 1 в исходном положении осуществляется срезным штифтом 21. Циркуляционные отверстия 15 перекрыты фильтром 22, который выполнен, например, в виде сетчатого проволочного кольца, установленным в проходном отверстии 23 клапана 9, и закреплен гайками 24.
Заявляемая муфта для цементирования обсадных колонн (далее – муфта) работает следующим образом.
В положении, показанном на фиг.1, муфта устанавливается в нижней части компоновки цементируемой обсадной колонны (не показана) между расположенным выше стоп-кольцом (не показано), на которое устанавливается спускаемая разделительная продавочная пробка (не показана), и расположенным ниже посадочным седлом для сбросового шара (не показаны). При этом полость 19 заполняется гелем с плотностью, превышающей плотность жидкости, заполняющей ствол скважины.
В процессе спуска обсадной колонны жидкость из скважины заполняет полость обсадной колонны через отверстие посадочного седла, расположенного ниже муфты (не показано), полости нижней секции 3, проходное отверстие 23 клапана 9 и расточку 4 верхней секции 2. Поскольку в замкнутом кольцевом зазоре 11 перед спуском находился воздух при атмосферном давлении, то на некоторой глубине усилием от гидростатического давления уплотнительный элемент 14 из эластичного материала, герметично перекрывающий в исходном положении сквозные циркуляционные отверстия 15, начнет упруго расширяться, открывая сквозные циркуляционные отверстия 15 и сообщая полость кольцевого зазора 11 с проходным отверстием 23 клапана 9, в результате чего полость кольцевого зазора 11 будет заполнена скважинной жидкостью. Благодаря тому что замкнутая кольцевая полость 19 заполнена гелем с плотностью, превышающей плотность раствора в скважине, гель не сможет вытечь через отверстие 20 в ствол скважины. Вследствие этого в замкнутую кольцевую полость 19 через отверстие 20 не сможет проникнуть скважинная жидкость, содержащая твердую фазу, чем исключается выпадение последней в осадок и заполнение полости 19.
После спуска муфты в заданный интервал в обсадную колонну спускают сбросовый шар, и после посадки его в посадочное седло, установленное ниже заявляемой муфты, на поверхности включают насос (не показан), нагнетая в обсадную колонну буферную жидкость и необходимый объем цементного раствора. Поскольку отверстие посадочного седла перекрыто сбросовым шаром, в обсадной колонне, а следовательно, и внутри заявляемой муфты начнет возрастать давление. При некоторой его величине усилием, возникающим на дифференциальной втулке 6 за счет перепада давления между полостью обсадной колонны и стволом скважины, будет срезан штифт 21, и дифференциальная втулка 6 с клапаном 9 переместится вверх (фиг.2), вытесняя гель из полости 19, в результате чего будут открыты циркуляционные отверстия 7 в верхней секции 2 корпуса 1.
Поскольку полость 19 перед спуском муфты в скважину была заполнена гелем с плотностью, превышающей плотность раствора в скважине, и гель не имел возможности вытечь из полости 19 через отверстие 20 в ствол скважины, при спуске муфты в скважину в полость 19 через отверстие 20 не могла проникнуть скважинная жидкость, содержащая твердую фазу. В результате исключаются возможность проникновения скважинной жидкости в полость 19, возможное выпадение в осадок твердой фазы скважинной жидкости и заполнение этим осадком полости 19. Это предотвращает заклинивание дифференциальной втулки 6 и обеспечивает ее беспрепятственное перемещение, в результате чего повышается надежность заявляемой муфты по сравнению с аналогом (гидравлический цементировочный клапан «СЕСМНЕК Valve») и прототипом (муфта для цементирования обсадных колонн по патенту RU № 46296).
После перемещения дифференциальной втулки 6 с клапаном 9 вверх усилием от перепада давления между полостью заявляемой муфты и стволом скважины эластичное уплотнение 14, упруго деформируясь, расширяется в кольцевом зазоре 11, образует кольцевой канал, обеспечивающий циркуляцию жидкости из обсадной колонны в ствол скважины через отверстия фильтра 22, сквозные циркуляционные отверстия 15 в стенке клапана 9, кольцевой зазор 11, сквозные циркуляционные отверстия 7 дифференциальной втулки 6 и сквозные циркуляционные отверстия 8 в нижней расточке 5 верхней секции 2 корпуса 1.
При этом благодаря кольцевому фильтру 22, установленному в проходном отверстии 23 клапана 9, будет предотвращено перемещение через циркуляционные отверстия 15 достаточно больших кусков твердой фазы цементного раствора и исключена возможность их попадания и заклинивания в зазоре между уплотнительным элементом 14 и наружной поверхностью 12 клапана 9. Тем самым в случае вынужденного перерыва процесса цементирования при отказе насоса или отключения электроэнергии в результате выравнивания давлений внутри полости заявляемой муфты и стволом скважины эластичный уплотнительный элемент 14, упруго деформируясь, сможет беспрепятственно возвратиться в исходное положение (фиг.1) и герметично перекрыть циркуляционные отверстия 15 в стенке клапана 9. Благодаря этому будет исключена возможность гидравлического сообщения полости заявляемой муфты со стволом скважины и, следовательно, предотвращен обратный переток цементного раствора из скважины в полость клапана, а затем в обсадную колонну. В результате этого повышается надежность работы заявляемой муфты по сравнению с аналогом (гидравлический цементировочный клапан «СЕСМНЕК Valve») и прототипом (муфта для цементирования обсадных колонн по патенту RU № 46296).
Момент среза штифтов 21 и перемещения дифференциальной втулки 6 с клапаном 9 вверх с открытием циркуляционных отверстий 7 и начало циркуляции жидкости в скважину будет фиксироваться на поверхности скачком давления на манометре, установленном на нагнетательной линии (не показаны).
По окончании процесса цементирования, что будет фиксироваться скачком давления на поверхности в момент посадки разделительной продавочной пробки на стоп-кольцо, выключают насос, прекращая нагнетание жидкости в обсадную колонну и уменьшая давление внутри обсадной колонны до атмосферного. При этом эластичный уплотнительный элемент 14, упруго деформируясь, примет исходную форму и герметично перекроет циркуляционные отверстия 15 в стенке клапана 9. Усилием от разности давлений в скважине и полости обсадной колонны, а следовательно, и заявляемой муфте, обеспечиваемым превышением удельного веса столба цементного раствора, находящегося в скважине, над удельным весом продавочной жидкости, находящейся в обсадной колонне, произойдет перемещение дифференциальной втулки 6 с клапаном 9 в исходное положение. Вследствие этого циркуляционные отверстия 8 верхней секции 2 будут перекрыты (фиг.1).
При этом в отличие от аналога (гидравлический цементировочный клапан «СЕСМНЕК Valve») полость заявляемой муфты и цементируемой обсадной колонны будет отделена от ствола скважины стенкой дифференциальной втулки 6, выполненной из металла и, следовательно, более прочной по сравнению с материалом эластичного уплотнительного элемента 14, который отделяет полость гидравлического цементировочного клапана «СЕСМНЕК Valve» и цементируемой обсадной колонны от ствола скважины. Тем самым исключается возможность прорыва стенки эластичного уплотнительного элемента 14 усилием от перепада давления между затрубным пространством и полостью обсадной колонны после окончания процесса продавки цементного раствора в скважину, выключения насоса и возврата рукава в исходное положение и повышается надежность работы заявляемой муфты по сравнению с аналогом.
По окончании процесса ожидания затвердевания цемента клапан 9, изготовленный из легко разбуриваемого материала, разбуривается, что осуществляется благодаря его соединению левой резьбой с дифференциальной втулкой 6 и фиксацией последней от проворота в верхней секции 2 шпоночным соединением 16.
Таким образом, по сравнению с прототипом заявляемая муфта для цементирования обсадных колонн обладает большей надежностью работы благодаря тому, что:
– замкнутая кольцевая полость 19 заполнена гелем с плотностью, превышающей плотность раствора в скважине, вследствие чего гель не сможет вытечь через отверстие 20 в ствол скважины, и в полость 19 через отверстие 20 не сможет проникнуть скважинная жидкость, содержащая твердую фазу, чем исключается выпадение последней в осадок и заполнение полости 19. Тем самым предотвращается заклинивание дифференциальной втулки 6 и обеспечивается ее беспрепятственное перемещение, в результате чего будут открыты циркуляционные отверстия 8 и обеспечена циркуляция цементного раствора в ствол скважины;
– в проходном отверстии 23 клапана 9 установлен фильтр 22, препятствующий при циркуляции цементного раствора перемещению через циркуляционные отверстия 15 клапана 9 достаточно больших кусков твердой фазы цементного раствора, чем исключается возможность их попадания и заклинивания в зазоре между уплотнительным элементом 14 и наружной поверхностью 12 клапана 9. Тем самым в случае вынужденного перерыва процесса цементирования при отказе насоса или отключения электроэнергии в результате выравнивания давлений внутри полости заявляемой муфты и стволом скважины эластичный уплотнительный элемент 14, упруго деформируясь, сможет беспрепятственно возвратиться в исходное положение и герметично перекрыть циркуляционные отверстия 15 в стенке клапана 9. Благодаря этому будет исключена возможность гидравлического сообщения полости заявляемой муфты со стволом скважины и, следовательно, предотвращен обратный переток цементного раствора из скважины в полость муфты, а затем в обсадную колонну, вследствие чего процесс цементирования обсадной колонны не будет осуществлен в полной мере.
Кроме того, заявляемая муфта для цементирования обсадных колонн по сравнению с прототипом более технологична, менее трудоемка в изготовлении и обладает меньшей металлоемкостью и габаритами благодаря тому, что:
– в отличие от прототипа, где фиксатор большей частью своей длины расположен вне дифференциальной втулки и тем самым для его размещения необходимо увеличение длины верхней секции корпуса, в заявляемой муфте аналогичный элемент – клапан – расположен внутри дифференциальной втулки, что уменьшает габарит муфты по длине, уменьшает ее металлоемкость и снижает стоимость изготовления;
– в отличие от прототипа, где для исключения вращения фиксатора при разбуривании используется шлицевое соединение в виде пазов в корпусе и выступов на фиксаторе, механическая обработка которых требует значительных трудозатрат, в заявляемой муфте для фиксации дифференциальной втулки при разбуривании использовано шпоночное соединение, изготовление элементов которого требует меньших трудозатрат и, следовательно, снижает стоимость изготовления заявляемой муфты по сравнению с прототипом.
Формула изобретения
Муфта для цементирования обсадных колонн, включающая корпус с циркуляционными отверстиями, в расточке которого установлена подвижная дифференциальная втулка, перекрывающая в исходном положении циркуляционные отверстия корпуса и соединенная с ним срезным штифтом, соединенный левой резьбой с нижним концом дифференциальной втулки клапан, выполненный в виде ступенчатой втулки из легко разбуриваемого материала и снабженный кольцевым уплотнительным элементом из эластичного материала, неподвижно установленным на его наружной цилиндрической поверхности, причем дифференциальная втулка зафиксирована от вращения относительно корпуса подвижным относительно продольной оси корпуса соединением, длина которого больше величины перемещения дифференциальной втулки от ее исходного положения до крайнего верхнего положения, и образует совместно с расточкой корпуса замкнутую кольцевую полость, гидравлически сообщающуюся со стволом скважины, отличающаяся тем, что клапан установлен внутри дифференциальной втулки, фиксация которой от вращения относительно корпуса осуществлена посредством шпоночного соединения, в стенке клапана выполнены циркуляционные отверстия, перекрываемые фильтром, установленным в проходном отверстии клапана, уплотнительный элемент выполнен в виде рукава, перекрывающего в исходном положении циркуляционные отверстия клапана, причем замкнутая кольцевая полость заполнена гелем с плотностью, превышающей плотность раствора в скважине.
РИСУНКИ
|