|
|
(21), (22) Заявка: 2006117916/03, 24.05.2006
(24) Дата начала отсчета срока действия патента:
24.05.2006
(46) Опубликовано: 10.04.2008
(56) Список документов, цитированных в отчете о поиске:
SU 1804548 A3, 23.03.1993. SU 1774689 C, 10.01.1996. SU 1530764 A1, 23.12.1989. RU 2096584 C1, 20.11.1997. US 3448800 A, 10.06.1969. US 3727691 A, 17.04.1973. ПУСТОВОЙТЕНКО И.П. и др. Справочник мастера по сложным буровым работам. – М.: Недра, 1983, с.232, 233.
Адрес для переписки:
423236, Республика Татарстан, г. Бугульма, ул. М. Джалиля, 32, “ТатНИПИнефть”, Сектор создания и развития промышленной собственности
|
(72) Автор(ы):
Абдулмазитов Рафиль Гиниятуллович (RU), Рамазанов Рашит Газнавиевич (RU), Махмутов Ильгизар Хасимович (RU), Страхов Дмитрий Витальевич (RU), Зиятдинов Радик Зяузятович (RU), Оснос Владимир Борисович (RU)
(73) Патентообладатель(и):
Открытое акционерное общество “Татнефть” им. В.Д. Шашина (RU)
|
(54) УСТРОЙСТВО ДЛЯ ИЗОЛЯЦИИ ВОДОНОСНОГО ПЛАСТА В СКВАЖИНЕ
(57) Реферат:
Изобретение относится к нефтегазодобывающей промышленности. Обеспечивает повышение качества водоизоляционных работ и увеличение продолжительности их эффекта. Устройство включает технологическую колонну труб, спущенных в скважину, и узел подачи реагентов, установленный на устье скважины. Напротив вскрытого водоносного пласта технологическая колонна труб оснащена радиальными каналами, герметично перекрытыми изнутри полой втулкой, зафиксированной срезным элементом и выполненной с возможностью ограниченного осевого перемещения вниз относительно технологической колонны труб. Узел подачи реагентов выполнен в виде верхней и нижней продавочных пробок, установленных в технологической колонне труб и зафиксированных замковыми элементами с возможностью освобождения и осевого перемещения вниз. Технологическая колонна труб выше, ниже продавочных пробок и между продавочными пробками оснащена соответственно верхним, нижним и средним подающими патрубками. Нижняя продавочная пробка выполнена с возможностью взаимодействия с полой втулкой. 2 ил.
Изобретение относится к нефтегазодобывающей промышленности, в частности к устройствам для проведения водоизоляционных работ в скважине.
Известен «Способ водоизоляционных работ в скважине» (Технология водоизоляционных работ на основе двухстадийного физико-химического тампонирования зоны водопритока РД 153-39.0-376-05, стр.9-12), который осуществляется устройством, включающим колонну НКТ, спущенную в скважину, и узел подачи и смешения реагентов (тройник), аэратор, установленные на устье скважины.
Недостатком данного способа и устройства для его осуществления является сложность технологического процесса проведения водоизоляционных работ, связанного с необходимостью приготовления тампонажной смеси на устье скважины, а также большое количество узлов, необходимых для осуществления данного способа.
Наиболее близким является «Способ изоляции проницаемой пласта, сложенного терригенными породами» (патент SU № 1804548, Е21В 33/13, опубл. Бюл. № 11 от 23.03.1993 г.), который осуществляется устройством, включающим технологическую колонну труб, спущенных в скважину, и узел подачи реагентов, установленный на устье скважины.
Недостатками данного устройства являются:
во-первых, при приготовлении тампонирующей смеси на устье скважины количество компонентов в объемном соотношение берется исходя из предполагаемых сроков схватывания тампонажной смеси в зависимости от предполагаемого времени, необходимого для осуществления работ, начиная с момента приготовления тампонирующей смеси до вымыва излишек тампонирующей смеси из технологической колонны труб с учетом остановок при тампонировании (устранение возможных пропусков жидкости на устье скважины и напорных трубопроводах, повторная опрессовка нагнетательной линии, очистка выкидных задвижек автоцистерны и кислотовоза при их загрязнении и так далее), поэтому все просчитать невозможно, в связи с чем происходит, либо преждевременное схватывание, либо, наоборот, запаздалое схватывание тампонажной смеси, что снижает качество водоизоляционных работ.
во-вторых, согласно конструкции устройства необходимо производить обратную промывку после продавливания тампонажной смеси в изолируемую зону, что увеличивают продолжительность технологического процесса, связанную с открытием-закрытием скважины, подъемом технологической колонны труб.
Технической задачей изобретения является создание конструкции устройства, позволяющего исключить производить обратную промывку после продавливания тампонажной смеси в изолируемую зону, а также повышение качества водоизоляционных работ.
Поставленная техническая задача решается устройством для изоляции водоносного пласта в скважине, включающим технологическую колонну труб, спущенных в скважину, и узел подачи реагентов, установленный на устье скважины.
Новым является то, что напротив вскрытого водоносного пласта технологическая колонна труб оснащена радиальными каналами, герметично перекрытыми изнутри полой втулкой, зафиксированной срезным элементом и выполненной с возможностью ограниченного осевого перемещения вниз относительно технологической колонны труб, узел подачи реагентов выполнен в виде верхней и нижней продавочных пробок, установленных в технологической колонне труб и зафиксированных замковыми элементами с возможностью освобождения и осевого перемещения вниз, причем технологическая колонна труб выше, ниже продавочных пробок и между продавочными пробками оснащена соответственно верхним, нижним и средним подающими патрубками, при этом нижняя продавочная пробка выполнена с возможностью взаимодействия с полой втулкой.
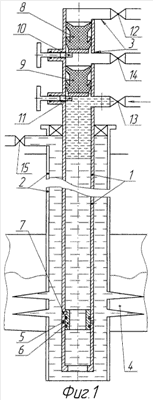
На фигуре 1 изображено предлагаемое устройство для изоляции водоносного пласта в скважине в начальном положении.
На фигуре 2 изображено предлагаемое устройство для изоляции водоносного пласта в скважине в рабочем положении.
Устройство для изоляции водоносного пласта в скважине включает технологическую колонну труб 1, спущенную в скважину 2, а также узел подачи реагентов 3, установленный на устье скважины 1. Напротив вскрытого водоносного пласта 4 технологическая колонна труб 1 оснащена радиальными каналами 5, герметично перекрытыми изнутри полой втулкой 6, зафиксированной срезным элементом 7 и выполненной с возможностью ограниченного осевого перемещения вниз относительно технологической колонны труб 1.
Узел подачи реагентов 3 выполнен в виде верхней 8 и нижней 9 продавочных пробок, установленных в технологической колонне труб 1 и зафиксированных замковыми элементами 10 и 11 соответственно с возможностью освобождения и осевого перемещения вниз. Технологическая колонна труб 1 выше и ниже продавочных пробок 8 и 9, а также между ними оснащена соответственно верхним 12, нижним 13 и средним 14 подающими патрубками, при этом нижняя продавочная пробка 9 выполнена с возможностью взаимодействия с полой втулкой 6.
Вспомогательные герметизирующие элементы на фигурах 1 и 2 не показаны.
Устройство для изоляции водоносного пласта в скважине работает следующим образом (см. фиг.1).
Спускают в скважину 2 технологическую колонну труб 1, снабженную снизу внутри полой втулкой 6, герметично установленной напротив радиальных каналов 5 технологической колонны труб 1 и зафиксированной в ней срезным винтом 7. Далее оборудуют устье скважины 2, то есть устанавливают продавочные пробки 8 и 9 и фиксируют их замковыми элементами 10 и 11 соответственно, а также крепят верхний 12, нижний 13, средний 14 подающие патрубки с запорными элементами (на фиг.1 и 2 не обозначено)
Открывают нижний подающий патрубок 13 и закачивают в технологическую колонну труб 1 необходимый объем тампонирующего состава в зависимости от приемистости водоносного пласта (зоны изоляции). Далее перекрывают нижний подающий патрубок 13, открывают средний подающий патрубок 14 и начинают через него закачку отверждающего состава в технологическую колонну труб 1, при этом в начале закачки под действием давления, воздействующего на верхний торец нижней продавочной пробки 9, последняя разрушает фиксирующий ее в начальном положении замковый элемент 11 и опускается вниз по технологической колонне труб 1. Закачав в технологическую колонну труб 1 необходимый объем отверждающего состава в зависимости от объема тампонирующего состава, перекрывают средний подающий патрубок 14 и открывают верхний подающий патрубок 12.
Далее через верхний подающий патрубок 12 закачивают в технологическую колонну труб 1 продавочную жидкость, при этом в начале закачки продавочной жидкости под действием давления воздействующего на верхний торец верхней продавочной пробки 8 она разрушает фиксирующий ее в начальном положении замковый элемент 10 и опускается вниз по технологической колонне труб 1, продавливая тампонирующую состав через нижний конец технологической колонны труб 1 в скважину 2 напротив водоносного пласта (зону изоляции), где по мере продавки тампонирующего и отверждающего составов вниз по колонне технологических труб 1 происходит перемещение вниз и продавочных пробок 8 и 9.
По мере достижения продавочной пробки 9 полой втулки 6 тампонирующий состав практически полностью продавливается через нижний конец технологической колонны труб 1 в скважину 2 напротив водоносного пласта (зону изоляции), при этом после контакта продавочной пробки 9 с полой втулкой 6 под действием давления продавки происходит разрушение срезного элемента 7, о чем свидетельствует рост и резкое падения давления на манометре насосного агрегата (на фиг. не показано), закачивающего продавочную жидкость в технологическую колонну труб 1. Полая втулка 6 смещается вниз до упора в нижний конец технологической колонны труб 1, в результате чего открываются радиальные каналы 5 технологической колонны труб 1
Далее начинают подъем технологической колонны труб 1 вверх на расчетную высоту, соответствующую высоте тампонажной смеси в скважине 2 напротив изолируемого водоносного пласта, при этом в процессе подъема технологической колонны труб 1 вверх отверждающий состав через радиальные каналы 5 попадает в скважину 2 напротив водоносного пласта (зону изоляции), так как нижний конец технологической колонны труб 1 герметично перекрыт посредством нижней продавочной пробки 9, где происходит его равномерное смешивание с тампонирующим составом, за счет более легкого веса отверждающего состава. В результате напротив водоносного пласта в скважине 2 образуется тамнонирующая смесь. Для более тщательно перемешивания двухкомпонетного состава тамнонирующей смеси необходимо произвести несколько СПО (3-4 раза) на расчетную высоту.
Далее перекрывают верхний подающий патрубок 12 и открывают колонный патрубок 15. Подачей продавочной жидкости в заколонное пространство 16 скважины 1 продавливают тампонирующую смесь в изолируемый водоносный пласт 4 сквозь перфорационные отверстия 17. Затем извлекают колонну технологических труб 1 из скважины 2 и оставляют скважину на ожидание затвердевания тампонирующего состава.
Предлагаемое устройство для изоляции водоносного пласта в скважине позволяет исключить проведение обратной промывки после продавливания тампонажной смеси в изолируемую зону. Кроме того, смешивание (приготовление) тампонирующей смеси непосредственно в зоне изоляции напротив изолируемого водоносного пласта позволяет повысить качество водоизоляционных работ и увеличить продолжительность эффекта водоизоляционных работ.
Формула изобретения
Устройство для изоляции водоносного пласта в скважине, включающее технологическую колонну труб, спущенных в скважину, и узел подачи реагентов, установленный на устье скважины, отличающееся тем, что напротив вскрытого водоносного пласта технологическая колонна труб оснащена радиальными каналами, герметично перекрытыми изнутри полой втулкой, зафиксированной срезным элементом и выполненной с возможностью ограниченного осевого перемещения вниз относительно технологической колонны труб, узел подачи реагентов выполнен в виде верхней и нижней продавочных пробок, установленных в технологической колонне труб и зафиксированных замковыми элементами с возможностью освобождения и осевого перемещения вниз, причем технологическая колонна труб выше, ниже продавочных пробок и между продавочными пробками оснащена соответственно верхним, нижним и средним подающими патрубками, при этом нижняя продавочная пробка выполнена с возможностью взаимодействия с полой втулкой.
РИСУНКИ
|
|