|
|
(21), (22) Заявка: 2006114885/12, 02.05.2006
(24) Дата начала отсчета срока действия патента:
02.05.2006
(43) Дата публикации заявки: 20.11.2007
(46) Опубликовано: 10.04.2008
(56) Список документов, цитированных в отчете о поиске:
ЕР 0372110 А1, 13.06.1990. SU 1776744 А1, 23.11.1992. RU 2159315 С1, 20.11.2000. JP 4041878 А, 12.02.1992. JP 2003213998 А, 30.07.2003. JP 8260782 А, 08.10.1996.
Адрес для переписки:
690001, Приморский край, г.Владивосток, ул. Пушкинская, 37, ДВГТУ, патентный отдел, М.И. Звонареву
|
(72) Автор(ы):
Кучма Олег Владимирович (RU)
(73) Патентообладатель(и):
Кучма Олег Владимирович (RU)
|
(54) УСТРОЙСТВО ДЛЯ ВВОДА КОДА ДОСТУПА В ИСПОЛНИТЕЛЬНЫЙ МЕХАНИЗМ ЗАМКА
(57) Реферат:
Изобретение относится к запирающим устройствам, в частности к электронным кодовым дверным замкам, и может быть использовано для защиты объектов от доступа посторонних лиц. Устройство для ввода кода доступа в исполнительный механизм замка включает средство ввода управляющего сигнала и контроллер исполнительного механизма замка. Средство ввода управляющего сигнала содержит индикатор, выполненный с возможностью последовательной демонстрации символов в заданном порядке с многократным повторением. Средство ввода управляющего сигнала выполнено в виде выключателя в цепи управления индикатором с возможностью остановки демонстрации символов при появлении на индикаторе символа, подлежащего вводу в совокупность символов, используемую как код доступа и ввода в контроллер сигнала, соответствующего выбранному символу, в качестве управляющего сигнала. Изобретение позволяет повысить секретность замка. 4 з.п. ф-лы, 2 ил.
Изобретение относится к запирающим устройствам, конкретно к электронным кодовым дверным замкам с сигнализацией, и может быть использовано для защиты различных объектов от доступа посторонних лиц.
Известно устройство для ввода кода доступа в исполнительный механизм замка, содержащее электромагнит, магнитоуправляемый стержень которого установлен с возможностью продольного перемещения в поперечной выемке ригеля замка, электронный блок управления электромагнитом, кодовый узел, содержащий закрепленный на несущей конструкции дверной коробки металлический кожух со скважиной под ключ, группу магнитов, расположенных в обойме в одной плоскости, поперечной плоскости скважины, и параллельно между собой и связанных с электронным блоком управления посредством размещенной на стороне скважины кожуха, противолежащей стороне расположения магнитов электроцепи считывающего узла, образованной последовательно расположенными напротив соответствующих магнитов потокочувствительными элементами, защитный шунт и плоский ключ с кодовыми отверстиями и размещенными в них магнитами в соответствии с расположением магнитов кожуха (см. пат. РФ №2027836, кл. Е05В 47/00, 1991).
Это устройство не является вандалоустойчивым, кроме того, при краже ключа обеспечивается возможность несанкционированного доступа (несанкционированного раскрытия замка).
Известно устройство для ввода кода доступа в исполнительный механизм замка, включающее средство ввода управляющего сигнала, контроллер исполнительного механизма замка (см. патент ФРГ № 3606620 Е05В 47/00, 1987). В качестве средства ввода управляющего сигнала использован кодовый ключ, выполненный по типу электронной карточки, а контроллер снабжен пазом для размещения в нем кодового ключа. В зависимости от ориентации ключа информация, считанная с него считывающим устройством, определяет направление вращения электродвигателя, который через реечную передачу вдвигает ригель замка в запорную планку или возвращает его в исходное положение.
Недостатками этого замка являются
а) выполнение блокировки ригеля в выдвинутом положении через зубчатую передачу, что вызывает снижение надежности конструкции замка из-за возможности повреждения механизма передачи и открывания замка после приложения силы к торцевой поверхности ригеля;
б) выполнение привода механизма запирания электрическим, что приводит к перегрузке или к повреждению двигателя и механизма запирания в процессе выдвижения ригеля при неполностью закрытой двери или наличии постороннего предмета в запорной планке;
в) кроме того, при краже ключа обеспечивается возможность несанкционированного доступа (несанкционированного раскрытия замка).
Задача, на решение которой направлено заявленное решение, выражается в повышении секретности замка при исключении возможности несанкционированного ввода кода доступа третьими лицами, завладевшими кодовым ключом.
Технический результат, проявляющийся при решении поставленной задачи, выражается в повышении надежности работы замка, взломостойкости и вандалоустойчивости конструкции, повышении удобства эксплуатации.
Результат достигается тем, что устройство для ввода кода доступа в исполнительный механизм замка, включающее средство ввода управляющего сигнала и контроллер исполнительного механизма замка, отличается тем, что средство ввода управляющего сигнала содержит индикатор, выполненный с возможностью последовательной демонстрации символов в заданном порядке с многократным повторением, при этом средство ввода управляющего сигнала выполнено в виде выключателя в цепи управления индикатором с возможностью остановки демонстрации символов при появлении на индикаторе символа, подлежащего вводу в совокупность символов, используемую как код доступа и ввода в контроллер сигнала, соответствующего выбранному символу, в качестве управляющего сигнала, кроме того, индикатор включен в цепь управления контроллером исполнительного механизма замка. Кроме того, индикатор выполнен с возможностью изменения темпа показа символов. Кроме того, в цепи управления индикатором использованы сенсоры для дистанционного приема управляющих сигналов, при этом выключатель в цепи управления индикатором выполнен с возможностью формирования управляющего сигнала и бесконтактной его передачи. Кроме того, выключатель снабжен средством кодирования управляющего сигнала, при этом контроллер исполнительного механизма дверного замка снабжен средством декодирования этого сигнала. Кроме того, выключатель в цепи управления индикатором выполнен в виде контактной кнопки.
Указанные особенности изобретения представляют его отличия от прототипа и обуславливают новизну предложения; эти отличия являются существенными, поскольку именно они обеспечивают достижение технического результата, отраженного в технической задаче, и отсутствуют в известных технических решениях с тем же эффектом.
Сопоставительный анализ совокупности существенных признаков заявляемого технического решения с существенными признаками аналогов и прототипа свидетельствует о его соответствии критерию “новизна”.
Признаки отличительной части формулы изобретения решают следующие функциональные задачи.
Признаки “… средство ввода управляющего сигнала содержит индикатор, выполненный с возможностью последовательной демонстрации символов в заданном порядке с многократным повторением” обеспечивают возможность ввода произвольной последовательности символов, составляющих кодовую последовательность символов, при этом при вводе символа его выбирают из совокупности символов, демонстрируемых в произвольном порядке, т.е. интерактивный режим работы устройства ввода кода доступа, при котором кодовый ключ (выключатель) не содержит никакой кодовой информации, а потому доступ к ним не обеспечивает возможности несанкционированного открытия замка.
Признаки “… средство ввода управляющего сигнала выполнено в виде выключателя в цепи управления индикатором с возможностью остановки демонстрации символов при появлении на индикаторе символа, подлежащего вводу в совокупность символов, используемую как код доступа и ввода в контроллер сигнала, соответствующего выбранному символу, в качестве управляющего сигнала” обеспечивают возможность последовательного ввода (набора) символов, составляющих кодовую совокупность символов, при кратковременном позиционировании (остановке) индикатора на выбранном символе.
Признаки “… индикатор включен в цепь управления контроллером исполнительного механизма замка” обеспечивают возможность соответствия каждого из символов, демонстрируемых индикатором, аналогичному символу, содержащемуся в совокупности символов, “зашитых” в память контроллера, каждому из которых соответствует отдельный сигнал (т.е. сигнал, отличающийся от любого другого выходного сигнала) контроллера, что позволяет после идентификации набранной кодовой совокупности символов использовать ее для инициирования соответствующей работы исполнительного механизма замка.
Признаки второго пункта формулы изобретения повышают защищенность управляющего сигнала, при попытке его перехвата.
Признаки третьего пункта формулы позволяют выполнить кодовый ключ съемным (носимым), т.е. исключить возможность преднамеренного разрушения кнопки управления третьими лицами.
Признаки четвертого пункта формулы изобретения повышают защищенность управляющего сигнала, усложняют возможность его использования в случае перехвата. Признаки пятого пункта формулы изобретения позволяют упростить конструкцию замка, хотя и снижают его вандалоустойчивость.
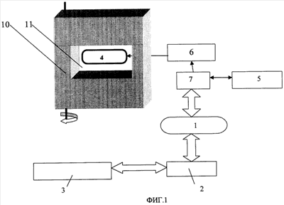
На фиг.1 изображена схема работы замка с контактной кнопкой; на фиг.2 – схема работы замка с кодовым ключом дистанционного действия.
На чертежах показаны контроллер 1 исполнительного механизма 2 дверного замка 3, индикатор 4, кнопочный выключатель 5 (контактная кнопка), цепь управления индикатором 6, цепь управления контроллером 7, сенсоры 8, дистанционный выключатель 9.
В качестве дверного замка 3 может быть использован электромеханический замок любого известного типа (в качестве привода исполнительного механизма 2 которого использован электродвигатель или электромагнит – на чертежах не показаны).
В качестве контроллера 1 может быть использован электронный блок, предпочтительно микроконтроллер (например, Microchip 16 F 684), функционально включающий в себя элементы, обеспечивающие решение следующих задач:
– ввод и хранение энергонезависимого кода доступа;
– преобразование входного сигнала, вводимого нажатием выключателя 5 или 9 при демонстрации индикатором 4 символа, подлежащего выбору, в сигнал, являющийся частью формируемой кодовой последовательности;
– формирование кодовой последовательности из последовательных сигналов, вводимых нажатием выключателя 5 или 9;
– сравнение кода доступа и сформированной кодовой последовательности;
– формирование сигнала управления исполнительным механизмом (соответственно его открывание или закрывание).
Названные функции реализуются в основном программным путем. Кроме этих функций, непосредственно связанных с обеспечением работы замка, контроллер 1 может обеспечивать подачу сигнала о неверно набранном коде и/или включение охранной сигнализации или выполнить иное действие, предусмотренное в перечне опций, выбираемых при покупке замка.
В качестве индикатора можно использовать жидко-кристаллические панели, на которых формируется изображение, или индикаторы, реализуемые на базе светодиодов, что предпочтительнее, поскольку обеспечивает возможность эксплуатации без дополнительных источников света в темноте или недостаточной освещенности. Кроме того, индикаторы могут быть выполнены в виде установленных с возможностью вращения дисков, по периметру которых размещены символы и выполнено окошко, позволяющее наблюдать часть диска (т.е. часть символов из их совокупности, присутствующей на диске).
В качестве символов могут быть использованы цифровые (арабские и/или римские) и/или буквенные символы (на основе различных алфавитов), а также пиктограммы и т.п.
В качестве сенсоров 8 (при использовании дистанционного выключателя) используют датчики с инфракрасным, оптическим, магнитным или радиопринципом работы (в соответствии с характером сигнала, формируемого посредством дистанционного выключателя 9). Дистанционный выключатель 9 может быть снабжен средством кодирования управляющего сигнала, при этом контроллер исполнительного механизма дверного замка должен быть снабжен средством декодирования этого сигнала (названные средства реализуются известным образом, с использованием известных решений и на чертежах не показаны).
Заявленное устройство работает следующим образом.
В дверное полотно 10 (или дверцу сейфа) монтируют защищенный бронестеклом 11 семи- или шестнадцатисегментный LED (светодиодный) цифровой или цифро-алфавитный индикатор 4, смонтированный с возможностью обзора его участка через конструкцию типа “глазок”, и кнопочный выключатель 5, нажатие на кнопку которого вызывает прерывание работы индикатора.
Пользователь подходит к двери и нажимает на кнопку кнопочного выключателя 5, что включает индикатор, который со случайного символа (т.е. первый демонстрируемый символ – буква – выбирается случайным образом) начинает по кругу показывать все отображенные на нем символы. После нажатия на кнопку символ, который в этот момент отображался на индикаторе, становится элементом кода доступа. “Показ” “по инерции” продолжается еще на 0, 1, 2 или 3 символа (тоже случайное количество). После этого процедура повторяется несколько раз. Она закончится, когда пользователь нажмет на кнопку и будет ее долго (более 3 с) удерживать или выберет символ окончания кода из демонстрируемой последовательности. Далее вступает в работу контроллер 1, который после сравнения набранной кодовой последовательности с кодом доступа, хранящимся в его памяти, либо дает команду на выполнение соответствующей операции замку (если кодовая последовательность соответствует коду доступа), либо дает сигнал о неверно набранном коде и/или включает охранную сигнализацию, или выполняет другое действие, предусмотренное функциями замка.
Описанная выше конструкция исключает основные способы взлома кодовой панели. Наличие единственного кнопочного выключателя делает бессмысленным любые попытки маркировки (или слежения) за кнопкой. Теряет смысл и демонтаж (разрушение) индикатора или кнопки.
В отличие от традиционных кодовых панелей, где используется 10-12 кнопок, в данной кодовой панели используется только одна кнопка. При помощи которой пользователь взаимодействует с контроллером замка. Это позволяет уменьшить стоимость и заметность кодовой панели. Сделать ее значительно более компактной и защищенной от проявлений вандализма.
При выполнении кнопки носимой (например, в виде инфракрасного или радиобрелка – дистанционного выключателя 9) дверь или часть стены дополнительно оборудуют сенсорами 8, выводы которых известным образом используют в цепи управления индикатором. Процедура пользования замком при этом соответствует вышеописанной (единственно, что дистанционный выключатель ориентируют излучающими элементами в сторону сенсоров, после чего его используют в работе).
Вышеприведенный пример осуществления настоящего изобретения допускает различные модификации и дополнения, которые являются очевидными для специалистов в области, к которой данное изобретение относится. То есть настоящее изобретение ни в коей мере нельзя ограничивать этим описанием предложенного устройства, и в него могут быть внесены изменения и дополнения, определяемые ниже пунктами формулы изобретения.
Формула изобретения
1. Устройство для ввода кода доступа в исполнительный механизм замка, включающее средство ввода управляющего сигнала и контроллер исполнительного механизма замка, отличающееся тем, что средство ввода управляющего сигнала содержит индикатор, выполненный с возможностью последовательной демонстрации символов в заданном порядке с многократным повторением, при этом средство ввода управляющего сигнала выполнено в виде выключателя в цепи управления индикатором с возможностью остановки демонстрации символов при появлении на индикаторе символа, подлежащего вводу в совокупность символов, используемую как код доступа и ввода в контроллер сигнала, соответствующего выбранному символу, в качестве управляющего сигнала, кроме того, индикатор включен в цепь управления контроллером исполнительного механизма замка.
2. Устройство по п.1, отличающееся тем, что индикатор выполнен с возможностью изменения темпа показа символов.
3. Устройство по п.1, отличающееся тем, что в цепи управления индикатором использованы сенсоры для дистанционного приема управляющих сигналов, при этом выключатель в цепи управления индикатором выполнен с возможностью формирования управляющего сигнала и бесконтактной его передачи.
4. Устройство по п.1, отличающееся тем, что выключатель снабжен средством кодирования управляющего сигнала, при этом контроллер исполнительного механизма дверного замка снабжен средством декодирования этого сигнала.
5. Устройство по п.1, отличающееся тем, что выключатель в цепи управления индикатором выполнен в виде контактной кнопки.
РИСУНКИ
MM4A – Досрочное прекращение действия патента СССР или патента Российской Федерации на изобретение из-за неуплаты в установленный срок пошлины за поддержание патента в силе
Дата прекращения действия патента: 03.05.2008
Извещение опубликовано: 20.09.2009 БИ: 26/2009
|
|