|
|
(21), (22) Заявка: 2006112244/12, 20.10.2004
(24) Дата начала отсчета срока действия патента:
20.10.2004
(30) Конвенционный приоритет:
21.10.2003 DE 10348837.5
(46) Опубликовано: 10.04.2008
(56) Список документов, цитированных в отчете о поиске:
JP 9327588 А1, 22.12.1997. DE 10014996 А1, 04.10.2001. JP 62231698 А1, 12.10.1987. SU 275996 А1, 13.10.1970.
(85) Дата перевода заявки PCT на национальную фазу:
22.05.2006
(86) Заявка PCT:
EP 2004/052592 (20.10.2004)
(87) Публикация PCT:
WO 2005/040485 (06.05.2005)
Адрес для переписки:
191186, Санкт-Петербург, а/я 230, “АРС-ПАТЕНТ”, пат.пов. В.М.Рыбакову, рег. № 90
|
(72) Автор(ы):
ГЭДКЕ Мартин (DE), КРАУШ Уве-Йенс (DE), МОШЮТЦ Харальд (DE), НИТШМАНН Кай (DE), НОБЕР Петер (DE)
(73) Патентообладатель(и):
БСХ БОШ УНД СИМЕНС ХАУСГЕРЕТЕ ГМБХ (DE)
|
(54) УСТРОЙСТВО ДЛЯ УДЕРЖИВАНИЯ МАТЕРИАЛА ПРИ СУШКЕ
(57) Реферат:
Изобретение относится к устройству для удерживания материала и изделий в неподвижном положении внутри сушильного устройства, предпочтительно с вращающимся барабаном. Просушиваемые изделия расположены так, чтобы их поверхность, на которую воздействует поток нагретого воздуха для сушки, была максимальна. Предусмотрен гибкий, по меньшей мере, на отдельных участках воздухопроницаемый держатель, на котором можно размещать просушиваемые изделия и которому вместе с просушиваемыми изделиями можно придавать такую форму, при которой перекрывающиеся участки просушиваемых изделий в радиальном направлении отстоят друг от друга. Держатель образован несколькими шарнирно соединенными друг с другом сегментами. Сегменты могут поворачиваться друг относительно друга таким образом, что держатель можно переводить из плоского положения в спиральное положение и обратно. 15 з.п. ф-лы, 5 ил.
Область техники
Изобретение относится к устройству для удерживания просушиваемого материала или изделий согласно ограничительной части пункта 1 формулы изобретения.
Уровень техники
Из DE 10103986 А1 известен каркас, предназначенный для удерживания в неподвижном положении просушиваемых изделий и материалов в барабане машины для сушки белья. Для этого сушильный каркас с помощью крепежных планок закрепляется на подшипниковом щите машины для сушки белья, так что сушильный каркас неподвижно покоится внутри вращающегося барабана.
Такой сушильный каркас позволяет сушить изделия, которые во время сушки должны оставаться неподвижными во избежание усадки, например трикотажные или шерстяные изделия, или во избежание возможного повреждения, например обувь.
Далее, предусматривается окружить сушильный каркас наружной оболочкой, замкнутой по окружности барабана. Это должно воспрепятствовать соприкосновению неподвижно расположенных в сушильном каркасе изделий с вращающимся барабаном и их повреждению.
Так как некоторые изделия, например шерстяная одежда, не обладают фитильным эффектом, иногда проходит очень много времени, пока подобные предметы достигнут требуемой степени сухости. Чтобы при таких изделиях получить желаемый результат сушки в приемлемое время, был предложен вставляемый в сушильный каркас внутренний каркас, устанавливаемый внутри наружной оболочки и оснащенный несколькими уровнями, на которых можно располагать несколько изделий для сушки или на которых можно расположить для сушки только одно изделие или предмет.
При этом, в частности, имеется возможность расположить отдельные части предмета одежды, например рукава и область груди пуловера, на разных уровнях внутреннего каркаса, разъединив эти части между собой, чтобы увеличить непосредственно продуваемую сухим воздухом поверхность просушиваемого предмета в сушильном каркасе.
При этом, однако, имеет место тот недостаток, что для способствующего сушке удерживания просушиваемых предметов одежды или одного просушиваемого предмета одежды на различных уровнях внутреннего каркаса требуется соблюдать сложные правила укладки. Эти правила укладки для специального расположения предметов одежды на внутреннем каркасе требуют, к сожалению, либо очень подробного изложения в руководстве, либо инструктирования лица, пользующегося машиной для сушки белья, специалистами, так что пользование внутренним каркасом без такой помощи оказывается для пользователя слишком сложным.
Раскрытие изобретения
Поэтому в основу настоящего изобретения положена задача предложить устройство для фиксации просушиваемых изделий в сушильном устройстве, так чтобы обдуваемая сухим воздухом поверхность просушиваемых предметов была максимальной, а обращение обслуживающего персонала с этим устройством было простым.
Согласно изобретению эта задача решается устройством для удерживания просушиваемого материала и изделий (далее для краткости называемых изделиями) с признаками согласно пункту 1 формулы изобретения.
В устройстве для удерживания просушиваемых изделий согласно ограничительной части пункта 1 формулы изобретения, содержащем держатель, по меньшей мере, частично, гибкий, на котором можно размещать просушиваемые изделия и которому вместе с просушиваемыми изделиями можно придавать такую, в основном искривленную, форму, благодаря этому держателю перекрывающиеся части просушиваемых изделий отстоят друг от друга, т.е. разделены промежутками таким образом, чтобы обдуваемая сушильным воздухом (т.е. сухим воздухом, предпочтительно нагретым для просушки) поверхность просушиваемых предметов, например шерстяных пуловеров, брюк или юбок, была максимальна, не требуя при этом трудоемких предварительных действий со стороны обслуживающего лица.
Простота обслуживания предлагаемого в изобретении устройства для удерживания достигается благодаря тому, что просушиваемые изделия перед их помещением в сушильное устройство нужно просто положить на держатель, а в основном искривленная форма, по меньшей мере, приближенно спиральная, в которой перекрывающиеся части просушиваемых изделий разделены промежутками, получается, например, путем свертывания, так что обслуживающему лицу не нужно приводить просушиваемые изделия в удобное для сушки положение, руководствуясь пространными инструкциями по складыванию, как это имеет место в устройствах, известных из уровня техники.
Предпочтительные модификации изобретения являются предметом зависимых пунктов формулы изобретения.
В предпочтительном и недорогом варианте исполнения предмета изобретения держатель изготавливается из такого гибкого материала, что держатель может устанавливаться как, по меньшей мере приблизительно, в плоское положение, в котором просушиваемые изделия кладутся на держатель, так и, по меньшей мере приблизительно, в положение свернутой спирали (спиральное положение), в котором просушиваемые изделия сушатся в сушильном устройстве, и в котором перекрывающиеся части просушиваемых изделий отстоят друг от друга.
В альтернативной предпочтительной модификации держателя может быть предусмотрено, чтобы держатель состоял из нескольких шарнирно соединенных между собой сегментов, которые могут так поворачиваться друг относительно друга, что держатель может из, по меньшей мере приблизительно, плоского положения, в котором просушиваемые изделия кладутся на держатель, обратимо переводиться в, по меньшей мере приблизительно, положение свернутой спирали (спиральное положение), в котором просушиваемые изделия сушатся в сушильном устройстве и в котором перекрывающиеся части просушиваемых изделий отстоят друг от друга. При этом сегменты могут быть жесткими и/или гибкими и иметь в продольном направлении держателя одинаковую или различную ширину.
При этом упомянутые последними особенности сегментов можно так комбинировать любыми способами между собой, чтобы зазор между перекрывающимися участками просушиваемых изделий, размещенных в держателе, приведенном, по меньшей мере приблизительно, в спиральное положение, был оптимальным в отношении процесса сушки.
Далее, сегменты с помощью шарнирных элементов могут соединяться между собой таким образом, чтобы возможный угол поворота между двумя сегментами, начиная с нулевого положения, был в одном направлении поворота больше, чем в противоположном направлении поворота. Благодаря этому свертывание держателя, по меньшей мере приблизительно, в спиральное положение, в котором производится сушка предметов, положенных на спиральный держатель, посредством поворота сегментов в сторону меньшего угла поворота обеспечивает достаточно большое расстояние между перекрывающимися участками просушиваемых изделий, при котором не происходит зажима просушиваемых изделий между двумя повернутыми друг относительно друга сегментами. Но одновременно при этом появляется также возможность, поворачивая отдельные сегменты без положенных на них просушиваемых изделий в сторону большего угла поворота, переводить держатель в такое спиральное положение, при котором расстояние между сегментами будет мало, и держатель будет занимать очень мало места, т.е. примет удобную для хранения форму.
С целью интенсификации процесса сушки держатель в одной из модификаций предмета изобретения может быть выполнен таким образом, чтобы через него проходил, по меньшей мере, на отдельных участках, поток нагретого сухого воздуха и предпочтительно насыщенный влагой отходящий воздух. В этом случае сухой воздух сушильной установки, выходя из держателя, будет поступать на просушиваемые изделия также в области прилегания просушиваемых изделий к держателю, а насыщенный влагой отходящий воздух будет также отводиться из сушильной установки сквозь держатель.
В одной простой и эффективной модификации предмета изобретения держатель, по меньшей мере, на отдельных участках выполнен из воздухопроницаемого материала, например из сетчатого пенополиуретана, холста с неориентированным расположением волокон или многослойного трикотажного полотна.
Если предлагаемое в изобретении устройство для удерживания просушиваемых изделий предназначено для применения в сушильной установке с вращающимся барабаном, вращение которого не прекращается при работе сушильной установки, то держатель можно класть на известную саму по себе сушильную корзину, которая предпочтительно закрепляется в области дверцы сушильной установки. Этим обеспечивается неподвижность просушиваемых изделий в процессе сушки. Это особенно важно при сушке трикотажных изделий и предметов одежды, которые при движении во время сушки подвергаются усадке. Это же относится к обуви или другим просушиваемым изделиям, которые при вращении в барабане могут быть повреждены.
Еще в одном предпочтительном исполнении используются пружинящие и демпфирующие свойства держателей, и держатель без применения сушильной корзины кладется прямо во вращающийся барабан. При этом держатель выполняется таким образом, что при свертывании он жестко фиксирует просушиваемый материал (текстильное изделие) между отдельными слоями и полностью охватывает его. Наружный слой держателя защищает просушиваемый материал (текстильное изделие) от толчков при вихревом движении во вращающемся барабане. Фиксация между отдельными слоями держателя надежно защищает просушиваемый материал (текстильное изделие) от перемещения.
Чтобы обеспечить особенно надежную установку держателя на сушильной корзине, можно предусмотреть закрепление держателя на сушильной корзине с помощью крепежных приспособлений, предпочтительно ремней или зажимов.
В одной особенно предпочтительной модификации предмета изобретения держатель удерживается в своем, по меньшей мере, приблизительно спиральном или свернутом, по меньшей мере, на отдельных участках положении с помощью фиксирующего устройства, причем фиксирующее устройство может представлять собой отдельную самостоятельную деталь или быть частью самого держателя.
Особенно простой и недорогой вариант фиксирующего устройства получается в том случае, если держатель в своем, по меньшей мере приблизительно, спиральном состоянии будет иметь на своем открытом наружном конце полосу ткани такой длины, чтобы этой полосой можно было обернуть свернутый держатель на определенном протяжении, предпочтительно на протяжении, равном полуторной длине его полного периметра и удерживать его в свернутом состоянии за счет трения сцепления. При этом лента ткани может быть выполнена наподобие махрового полотенца, так чтобы тканевая накладка и силы сцепления, действующие в области контакта между держателем и тканевой лентой, могли противодействовать упругой силе свернутого держателя и удерживали его в своем, по меньшей мере приблизительно, спиральном положении. Применение тканевой ленты особенно предпочтительно, если держатель расположен в сушильной корзине в спокойном лежачем положении.
Еще в одной полезной реализации предмета изобретения поверхность держателя, по меньшей мере, на стороне, обращенной к сохнущим изделиям, выполнена из мягкого материала, обеспечивающего сохранность текстильных изделий, и позволяющего избежать образования складок и смятия изделий, подвергающихся сушке.
Краткий перечень фигур чертежей
Прочие признаки и преимущества изобретения вытекают из следующего описания примера реализации со ссылками на приложенные чертежи. На них изображены:
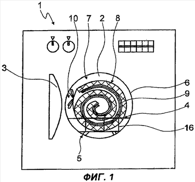
На Фиг.1 – схематическое изображение спереди сушильного устройства с расположенным в нем устройством для удерживания изделий, подвергающихся сушке, в соответствии с изобретением;
На Фиг.2 – сильно схематизированное изображение первого варианта устройства, предлагаемого в изобретении, с держателем, свернутым, по меньшей мере приблизительно, в спираль;
На Фиг.3 – устройство по фиг.2 с держателем, развернутым, по меньшей мере приблизительно, в плоское положение;
На Фиг.4 – сильно схематизированное изображение второго варианта устройства, предлагаемого в изобретении, с держателем, свернутым, по меньшей мере приблизительно, в спираль и состоящим из нескольких жестких, шарнирно связанных между собой сегментов; и
На Фиг.5 – трехмерное изображение держателя устройства по фиг.4, по меньшей мере, приблизительно в развернутом плоском положении.
Осуществление изобретения
Изображенное на фиг.1 сушильное устройство 1 выполнено с вращающимся вокруг горизонтальной оси барабаном 2, внутри которого имеются не рассматриваемые подробнее захваты для белья, передвигающие белье во время вращения барабана. Далее, сушильное устройство 1, представляющее собой машину для сушки белья, имеет, как обычно, вентилятор, нагревательное устройство и конденсатор, что позволяет создать образованный воздушным каналом замкнутый воздушный поток через барабан 2.
В процессе сушки нагретый нагревательным устройством воздух, т.е. поток сушильного воздуха, направляется через перфорированную обечайку барабана 2 внутрь барабана 2. Там высушиваемое белье подвергается воздействию потока сушильного воздуха, и при этом сушильный воздух насыщается влагой. После этого отработанный влажный нагретый воздух выводится к сетке для задержания отделившихся от ткани волокон, расположенной в дверце 3, закрывающей загрузочное отверстие сушильного устройства 1. Оттуда насыщенный влагой отработанный воздух через воздуховод направляется в конденсатор, в котором отработанный воздух охлаждается. При этом влага, выведенная из барабана в виде водяного пара, конденсируется и выводится в сборник или в окружающую среду. После того, как отработанный воздух пройдет конденсатор, воздушный поток вновь направляется вентилятором к нагревательному устройству и там нагревается до требуемой температуры сушки.
Внутри барабана 2 предусмотрена сушильная вставка 4 устройства 7 для удерживания высушиваемого материала или изделий в покоящемся положении внутри барабана 2, которая в данном случае выполнена в виде корзины, предпочтительно с большим количеством спиц или дужек 16. Эта сушильная вставка 4 закрепляется с помощью устройства 5 фиксации на стенке 6 сушильного устройства в районе дверцы сушильного устройства 1, так что сушильная вставка 4 даже при вращающемся барабане 2 остается в неподвижном состоянии внутри сушильного устройства 1, т.е. внутри барабана 2.
Далее, внутри барабана 2 расположен держатель 8 устройства 7 для удерживания высушиваемых изделий в покоящемся положении в барабане 2 сушильного устройства 1. Держатель 8 укладывается на сушильную вставку 4 и изготавливается из гибкого материала, так что держатель 8 можно переводить из, по меньшей мере приблизительно, плоского положения, изображенного на фиг.3 и фиг.5, в, по меньшей мере приблизительно, спиральное положение, изображенное на фиг.2 и фиг.4, и обратно, причем отдельно изображенные на фиг.2 и фиг.3, а также на фиг.4 и фиг.5 держатели 8 представляют собой два предпочтительных варианта исполнения предлагаемого изобретением устройства 7.
В качестве альтернативы этому можно предусмотреть также отключение вращения барабана на время сушки. В этом случае держатель 8 закладывается внутрь барабана 2 без сушильной вставки 4.
В качестве альтернативы этому в другом предпочтительном варианте используются пружинящие и демпфирующие свойства держателя 8, и держатель кладется непосредственно во вращающийся барабан 2 без выполненной в виде корзины сушильной вставки 4. При этом держатель 8 выполняется таким образом, что при свертывании он прочно зажимает высушиваемый материал 9 (текстильное изделие) между отдельными слоями и полностью охватывает его. Наружный слой держателя 8 защищает высушиваемый материал 9 (текстильное изделие) от толчков при вихревом движении во вращающемся барабане 2. Благодаря фиксации между отдельными слоями держателя 8 перемещение высушиваемого материала 9 (текстильного изделия) надежно предотвращается.
На изображенный на фиг.2 в свернутом состоянии держатель 8 предлагаемого изобретением устройства 7 для удерживания высушиваемого материала перед свертыванием кладется предназначенное для сушки текстильное изделие 9, например пуловер, брюки или юбка, и сворачивается вместе с держателем 8, так чтобы не образовывалось вмятин и складок.
В положении, изображенном на фиг.2, держатель 8 имеет такую в основном искривленную форму, что перекрывающиеся участки высушиваемого текстильного изделия 9 отстоят друг от друга в радиальном направлении, т.е. разделены между собой промежутками. Держатель 8 в данном случае может продуваться сушильным воздухом, а также насыщенным влагой отходящим воздухом, так что сушильный воздух, выходя из держателя 8, будет воздействовать на высушиваемый материал также в области прилегания высушиваемого материала 9 к держателю 8. Далее, при исполнении держателя 8, в котором он может пропускать воздух и влагу, имеется возможность, чтобы насыщенный влагой отходящий воздух направлялся от высушиваемого материала 9 к держателю 8 внутрь барабана 2, а оттуда через дверцу в направлении конденсатора.
Держатель 8 изготовляется в данном случае из сетчатого пенополиуретана, который может пропускать как нагретый воздух для сушки, так и отработанный влажный воздух. При изготовлении пенополиуретана параметры процесса подбираются так, чтобы внутренние воздушные пузыри в пене лопались, а сохранялись только угловые конструкции пенистой структуры. Благодаря этому получается пористый и эластично гнущийся в обе стороны материал, недорогой и неповреждающий ткань.
Разумеется, специалист может по своему усмотрению применить для изготовления держателя, делающегося в основном в виде коврика, и другие полимеры кроме полиуретана, позволяющие получить держатель с заданными свойствами и обладающие требуемой прочностью и теплостойкостью.
Далее, имеется также возможность изготовлять держатель в зависимости от конкретного назначения из холста с неориентированным расположением волокон или многослойного трикотажного полотна. Кроме того, специалист по своему усмотрению может изготовлять держатель, комбинируя сетчатый пенополиуретан с холстом с неориентированным расположением волокон и/или с многослойным трикотажным полотном. При этом держатель может быть образован, например, из нескольких расположенных друг над другом и прочно соединенных между собой слоев вышеназванных материалов, и/или из расположенных друг за другом по длине держателя 8 участков, состоящих из одного из вышеназванных материалов или из комбинации материалов.
Вполне можно сделать и так, чтобы участки, расположенные внутри спирали держателя 8 были выполнены с другой, предпочтительно более высокой пористостью, чем в наружных частях спирального держателя, чтобы таким путем обеспечить равномерное распределение нагретого воздушного потока по высушиваемому изделию.
В дополнение, предлагаемое изобретением устройство 7 имеет фиксирующее приспособление 10 для удерживания держателя 8 вместе с высушиваемым материалом 9 в его, по меньшей мере, приблизительно свернутом спиральном положении, причем фиксирующее приспособление 10 в изображенном на фиг.2 и фиг.3 примере исполнения представляет собой два прочно соединенных с держателем 8 шнура 17А, 17В, которые при изображенном на фиг.2 свернутом состоянии держателя 8 связываются между собой.
В другой, не изображенной подробнее, модификации держателя к одному концу держателя прикреплена тонкая ткань, например марля или другая сетчатая тонкая материя, образующая последний слой, который компактно окружает свернутый держатель наподобие сетки. Благодаря этому свернутый держатель не может самопроизвольно развернуться и, кроме того, верхний слой высушиваемого материала, расположенный на держателе, плотно прижимается к нему. Это позволяет надежно избежать контакта между высушиваемым изделием и вращающимся при работе сушильного устройства 1 барабаном 2, благодаря чему обеспечивается очень бережная сушка без повреждений чувствительных изделий из шерсти и других материалов.
Вместо изображенных на фиг.2 шнуров 17А, 17В фиксирующего приспособления 10 фиксирующее приспособление может быть реализовано с помощью соответствующих друг другу и предпочтительно соединенных с держателем фиксирующих устройств, например кнопок и пистонов, пуговиц и петель, магнитов, крючков, входящих в соответствующие отверстия на держателе, ремня с защелкой, входящего в приемное приспособление, зацепа, выполненного наподобие элемента мозаики, или шнура, закрепляемого в зажиме.
Далее, имеется возможность использовать зажимы для подтяжек для прикрепления наружного свободного конца держателя к лежащему под ним участку держателя или вдвигать скрепку между свободным концом держателя и лежащим под ним слоем, прикрепляя, таким образом, свободный конец держателя к расположенному под ним слою.
В качестве альтернативных форм реализации фиксирующего приспособления могут использоваться оболочки, например труба или мешок, в который вдвигается или вставляется держатель.
В другом альтернативном варианте исполнения держателя фиксирующее приспособление встроено в держатель в виде пружинящего элемента, который благодаря технологически обусловленным внутренним напряжениям придает держателю спиральную форму. При этом перед свертыванием просушиваемого изделия пользователь должен развернуть держатель в, по меньшей мере, приблизительно плоское положение, а после отпускания держатель сворачивается автоматически.
При этом можно также предусмотреть, чтобы держатель в самом процессе изготовления изготовлялся с такими внутренними напряжениями в продольном направлении, чтобы, по меньшей мере, приблизительно спиральное положение держателя устанавливалось автоматически под действием этих собственных напряжений без дополнительного пружинящего элемента, поскольку такое положение является состоянием равновесия держателя.
На фиг.4 и фиг.5 представлен другой пример реализации предлагаемого в изобретении устройства 7 с держателем 8, в котором держатель 8 состоит из многих шарнирно связанных между собой сегментов 11, также изготовленных из материала, пропускающего воздух и влагу. Держатель 8 согласно фиг.4 и фиг.5, так же как держатель 8 согласно фиг.2 и фиг.3, представляет собой конструкцию, которую можно переводить в улиткообразное или спиральное положение, позволяющее класть предметы одежды в сушильную корзину без образования на них вмятин и складок и сушить их в ней без движения и соприкосновения с вращающимся барабаном.
Отдельные шарнирно связанные между собой сегменты 11 устройства 7 согласно фиг.4 удерживают отдельные слои высушиваемого текстильного материала на расстоянии порядка 1-2 см. Сегменты 11 имеют боковые отверстия 12, через которые поток нагретого воздуха может проникать в сегменты 11 и вступать в контакт с внутренней поверхностью высушиваемого изделия через сегменты 11 держателя 8. Стенки сегментов 11, окружающие внутренние отверстия 12, делаются для этой цели из перфорированного материала или из описанного выше материала, пропускающего воздух и влагу.
Сегменты 11 в данном примере выполняются с шарнирными элементами 13, которые на одной стороне сегментов 11 имеют участок 14, перекрывающий соседний сегмент 11, и входящее в перекрывающий участок 14 и перекрываемый им сегмент 11 заклепочное соединение 15. Благодаря заклепочному соединению 15 отдельные сегменты 11 прочно соединяются между собой и в то же время могут поворачиваться друг относительно друга.
В одной из модификаций держателя по фиг.4 и фиг.5 отдельные сегменты разделяются между собой промежутками в продольном направлении держателя, а между сегментами устанавливаются так называемые промежуточные элементы, с помощью которых сегменты шарнирно соединяются между собой. При этом взаимный поворот сегментов может осуществляться с помощью известных шарнирных соединений, и/или за счет гибкости промежуточных элементов, и/или за счет гибкости самих сегментов.
Когда сушильное устройство 1 используется без предлагаемого в изобретении устройства 7 для удерживания просушиваемых изделий согласно фиг.2 или фиг.4, держатель 8 благодаря его конструкции можно хранить в компактном свернутом положении.
В одной из модификаций предлагаемого в изобретении устройства согласно фиг.4 фиксирующее приспособление 10 встроено в шарнирные элементы 13 в виде фиксаторов, удерживающих сегменты под определенным углом друг к другу, который устанавливается пользователем. Если требуется изменить угол между отдельными сегментами, то сегменты нужно с применением усилия перевести из одного фиксированного положения фиксатора в другое фиксированное положение фиксатора, соответствующее требуемому углу, причем фиксатор может иметь любое количество фиксированных положений.
При этом, разумеется, специалист может оснащать держатель 8 устройства 7 согласно фиг.4 любым из описанных выше фиксирующих приспособлений по своему усмотрению.
Держатели 8 устройств 7 по фиг.4 и фиг.2 имеют предпочтительно длину около 1,20 м и ширину около 0,3 м, так что с помощью держателя 8 можно успешно сушить в защищенном, компактном свернутом положении костюмные брюки.
Формула изобретения
1. Устройство (7) для удерживания просушиваемых изделий (9) в машине (1) для сушки белья, предпочтительно с вращающимся барабаном (2), причем просушиваемые изделия (9) расположены так, чтобы поверхность просушиваемых изделий (9), на которую воздействует поток сушильного воздуха, была максимальна, при этом предусмотрен гибкий, по меньшей мере, на отдельных участках воздухопроницаемый держатель (8), выполненный с возможностью размещения на нем просушиваемых изделий и с возможностью придания ему вместе с просушиваемыми изделиями (9) такой формы, при которой перекрывающиеся участки просушиваемых изделий (9) отстоят друг от друга, отличающееся тем, что держатель (8) образован несколькими шарнирно соединенными друг с другом сегментами (11), которые могут поворачиваться относительно друг друга таким образом, что держатель (8) можно переводить из, по меньшей мере, приблизительно плоского положения в, по меньшей мере, приблизительно спиральное положение и обратно.
2. Устройство по п.1, отличающееся тем, что держатель (8) выполнен из гибкого материала, так что держатель (8) можно переводить из, по меньшей мере, приблизительно плоского положения в, по меньшей мере, приблизительно спиральное положение и обратно.
3. Устройство по п.1, отличающееся тем, что сегменты (11) выполнены жесткими или гибкими.
4. Устройство по п.1, отличающееся тем, что ширина сегментов (11) одинакова или различна.
5. Устройство по одному из пп.1-4, отличающееся тем, что сегменты (11) соединены между собой шарнирными элементами (13), причем возможный угол между двумя сегментами, считая от нулевого положения, в одном направлении поворота больше, чем в противоположном направлении поворота.
6. Устройство по п.1, отличающееся тем, что держатель (8), по меньшей мере, на отдельных участках выполнен с возможностью пропускания сушильного воздуха и насыщенного влагой отходящего воздуха, так что выходящий из держателя (8) сушильный воздух воздействует на просушиваемые изделия (9) также и в области прилегания просушиваемого изделия (9) к держателю (8), а выходящий из области прилегания насыщенный влагой отходящий воздух отводится в направлении держателя.
7. Устройство по одному из пп.1-4, 6, отличающееся тем, что держатель (8), по меньшей мере, на отдельных участках изготовлен из материала, пропускающего воздух и влагу.
8. Устройство по п.7, отличающееся тем, что держатель (8), по меньшей мере, на отдельных участках изготовлен из сетчатого пенополиуретана.
9. Устройство по п.7, отличающееся тем, что держатель (8), по меньшей мере, на отдельных участках изготовлен из холста с неориентированным расположением волокон.
10. Устройство по п.7, отличающееся тем, что держатель (8), по меньшей мере, на отдельных участках изготовлен из многослойного трикотажного полотна.
11. Устройство по одному из пп.1-4, 6, 8-10, отличающееся тем, что держатель (8) выполнен с возможностью укладки на сушильную вставку (4).
12. Устройство по п.11, отличающееся тем, что держатель (8) выполнен с возможностью закрепления в сушильной вставке (4) с помощью крепежного приспособления.
13. Устройство по одному из пп.1-4, 6, 8-10, 12, отличающееся тем, что держатель (8) выполнен с возможностью укладывания непосредственно в неподвижный или вращающийся барабан.
14. Устройство по одному из пп 1-4, 6, 8-10, 12, отличающееся тем, что предусмотрено фиксирующее приспособление (10) для удерживания держателя (8) в его, по меньшей мере, приблизительно свернутом состоянии.
15. Устройство по п.14, отличающееся тем, что фиксирующее приспособление встроено в держатель.
16. Устройство по одному из пп.1-4, 6, 8-10, 12, отличающееся тем, что держатель (8), по меньшей мере, на стороне, обращенной к просушиваемому изделию, имеет мягкую поверхность, обеспечивающую сохранность текстильных изделий.
РИСУНКИ
|
|