|
(21), (22) Заявка: 2006106439/02, 01.03.2006
(24) Дата начала отсчета срока действия патента:
01.03.2006
(43) Дата публикации заявки: 20.09.2007
(46) Опубликовано: 10.04.2008
(56) Список документов, цитированных в отчете о поиске:
SU 466296 05.04.1975. RU 2093610 C1 20.10.1997. RU 2269610 C1 10.02.2006. RU 2157863 C2 20.10.2000. US 2526875 24.10.1950. FR 7911195 21.11.1980.
Адрес для переписки:
660111, г.Красноярске, ул. Пограничников, 37, стр.1, ИТЦ филиала ООО “РУС-Инжиниринг” в г.Красноярске, начальнику патентно-информационного отдела С.А. Пановой
|
(72) Автор(ы):
Сторожев Юрий Иванович (RU), Куликов Борис Петрович (RU), Бруер Геннадий Георгиевич (RU), Исаева Яна Игоревна (RU)
(73) Патентообладатель(и):
Общество с ограниченной ответственностью “Русская инжиниринговая компания” (RU)
|
(54) СПОСОБ ТЕРМИЧЕСКОГО ОБЕЗВРЕЖИВАНИЯ АНОДНЫХ ГАЗОВ АЛЮМИНИЕВОГО ЭЛЕКТРОЛИЗЕРА
(57) Реферат:
Изобретение относится к способам, применяемым для термического обезвреживания анодных газов электролизного производства алюминия. Способ термического обезвреживания анодных газов включает поступление анодных газов из газосборника каждого электролизера и подогретого в теплообменнике воздуха для дожигания в горелке за счет разрежения в системе газоотсоса, состоящей из инерционной пылеосадительной камеры, спусков и газохода для удаления образующихся дымовых газов, при этом перед подачей в горелочное устройство анодные газы из газосборника каждого электролизера подают в инерционные пылеосадительные камеры, установленные на секциях газосборников, затем анодные газы по теплоизолированным спускам направляют в теплоизолированный газоход и дожигают централизованно в горелке или топке, а образующиеся дымовые газы после дожигания анодных газов перед подачей в газоход направляют в теплообменник для утилизации тепла. Применение способа позволяет уменьшить вынос в систему организованного отсоса бенз(а)пирена на 1,4%. 1 з.п. ф-лы, 1 табл., 1 ил.
Изобретение относится к цветной металлургии, в частности, к электролитическому получению алюминия, а именно к термическому обезвреживанию анодных газов алюминиевого электролизера.
Известен способ дожигания анодных газов в газосборнике алюминиевого электролизера. Система газоотсоса создает в камере сгорания постоянное разрежение. Газы из подколокольного пространства постоянно поступают в камеру сгорания. Воздух нагревается за счет тепла, теряемого поверхностью анода, и поступает в камеру сгорания [авторское свидетельство СССР, №1023005, С25С 3/22, 1983].
Недостатком известного способа является невозможность чистки камеры сгорания газосборника от отложений пыли и смолистых веществ и уменьшение срока службы газосборника.
Наиболее близким по технической сущности и достигаемому результату является способ очистки анодных газов алюминиевого электролизера в горелочном устройстве [патент RU №466296, С22D 3/02, 1973].
Способ очистки анодных газов алюминиевого электролизера включает поступление анодных газов из газосборника каждого электролизера и предварительно подогретого в теплообменнике воздуха из окружающей среды в горелочное устройство посредством разрежения в системе газоотсоса для дожигания. Воздух подают в горелочное устройство предварительно подогретым в теплообменнике за счет утилизации тепла от стенок камеры сгорания. Система газоотсоса включает инерционную пылеосадительную камеру, спуски и газоход для удаления образующихся дымовых газов.
Недостатками известного способа являются нестабильность процесса горения и соответственно термического обезвреживания из-за неравномерного поступления анодных газов в горелки при забивании подколокольного пространства пылесмолистыми отложениями, из-за затухания факела при обработке электролизной ванны, отсутствия регулирования расхода воздуха, что снижает температурный уровень в объеме горелки, поскольку каждая горелка работает при разном разрежении, зависящем от ее удаленности от источника разрежения и, следовательно, при разных расходах воздуха.
При переходе алюминиевых заводов на “сухие” аноды в анодном газе резко сократилось содержание горючих компонентов. Содержание угарного газа и смолистых веществ в анодном газе уменьшилось практически в 2 раза. Теплота горения анодного газа уменьшилась в 1,5 раза. В этих условиях работа горелочных устройств крайне нестабильна, сопровождается частыми затуханиями, температурный уровень в горелке невысокий. Эффективность дожигания вредных составляющих анодного газа резко снижается при больших и малых коэффициентах расхода воздуха.
Задача изобретения заключается в повышении эффективности термического обезвреживания анодных газов и стабильности процесса горения за счет более полного дожигания угарного газа, смолистых веществ и бенз(а)пирена.
Технический результат заключается в повышении стабильности работы горелок путем повышения температурного уровня при обеспечении непрерывной централизованной подачи анодных газов от группы электролизеров в горелки большой производительности или топку.
Указанная задача достигается тем, что в способе термического обезвреживания анодных газов алюминиевого электролизера, включающем поступление анодных газов из газосборника каждого электролизера и подогретого в теплообменнике воздуха для дожигания в горелке за счет разрежения в системе газоотсоса, состоящей из инерционной пылеосадительной камеры, спусков и газохода для удаления образующихся дымовых газов, согласно заявляемому способу перед подачей в горелку анодные газы из газосборника каждого электролизера подают в инерционные пылеосадительные камеры, установленные на секциях газосборников, затем анодные газы по теплоизолированным спускам направляют в теплоизолированный газоход и дожигают централизованно в горелке или топке, а образующиеся дымовые газы после дожигания анодных газов перед подачей в газоход направляют в теплообменник для утилизации тепла.
Заявляемый способ дополняет частный отличительный признак, направленный также на достижение поставленной задачи.
Поступление анодных газов от каждого электролизера регулируют с помощью дроссельной заслонки, что позволяет работать электролизерам при одинаковых объемах газоотсоса.
Анализ, проведенный заявителем, показал, что совокупность существенных признаков является новой, а сам способ удовлетворяет условию изобретательского уровня ввиду новизны причинно-следственной связи «отличительные признаки – технический результат».
Анодные газы транспортируют при температуре ниже температуры их воспламенения. Основной проблемой при транспортировке анодных газов электролизеров к устройству для централизованного термического обезвреживания является отложение сконденсировавшихся смолистых веществ на стенках газоходов при понижении температуры газового потока.
Исследование возгоняемости смолистых веществ, уловленных на “холодном” зонде на выходе из газосборника алюминиевого электролизера, показало, что основная масса отложений возгоняется в диапазоне температур 300-400°С. Следовательно, и конденсация смолистых веществ и соответственно их отложение на стенках газоходов наиболее интенсивно происходит в этом же диапазоне температур.
Для предотвращения или минимизации зарастания газоходов смолистыми отложениями необходимо обеспечить температуру анодных газов на входе в горелку или топку для централизованного термического обезвреживания выше 400°С или менее 300°С. В связи с этим необходима теплоизоляция спусков и газохода.
Расчеты показывают, что с учетом теплопотерь с поверхности теплоизолированного газохода анодные газы можно транспортировать на 90 м, т.е. в пределах бригады электролизеров. В связи с ограниченностью размеров подкорпусного пространства на нулевой отметке дожигание анодных газов целесообразно централизованно осуществлять в межкорпусном дворике. После термического обезвреживания анодных газов тепло отходящих дымовых газов утилизируют в теплообменниках.
В заявляемом способе термического обезвреживания анодных газов газы собирают одновременно от всех электролизеров в подкорпусной газоход, что обеспечивает непрерывность централизованной подачи анодного газа в топку или горелку и стабильность их работы независимо от технологических обработок электролизных ванн. При этом исключается тепловое воздействие устройства на углы анода, поскольку все горелки заменяются топкой или одной горелкой большой производительности, устанавливаемыми в установке термического обезвреживания анодных газов, располагаемой между электролизным корпусом и системой газоочистки.
Термическое обезвреживание осуществляется при максимально возможных температурах, поскольку в горелке или топке предусмотрено принудительное регулирование расхода подогретого воздуха.
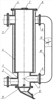
На чертеже показан вариант устройства для осуществления способа. Устройство состоит из камеры смешения и частичного дожигания 1 с патрубками тангенциального подвода анодного газа 2 и воздуха 3, камеры дожигания 4 с патрубком отвода дымовых газов 5. Камера дожигания 4 сверху закрыта съемной крышкой 6 с лючком для чистки 7. Камера дожигания 4 охвачена с зазором воздушной коробкой 8. Воздушная коробка 8 и камера смешения и частичного дожигания 1 с помощью фланцев 9 соединены стояком 10, внутри которого установлена дроссельная заслонка 11 для регулирования расхода подогретого воздуха. Камера 1 снизу снабжена лючком для удаления смолистых отложений и пыли 12. В нижней части камеры 1 выполнено отверстие 13 для визуального контроля процесса горения и поджигания газовоздушной смеси.
Результаты термического обезвреживания анодных газов по заявляемому способу приведены в таблице.
| Таблица |
| Показатели |
Предлагаемый способ |
Прототип |
Коэффициент расхода воздуха,  |
2-4 |
2-4 |
| Температура подогрева воздуха, °С |
180 |
180 |
| Максимальная температура факела, °С |
1020 |
870 |
Эффективность термического обезвреживания бенз(а)пирена , % |
99,2 |
97,8 |
Данные таблицы показывают, что при одинаковых коэффициентах расхода воздуха, температуре подогрева воздуха предлагаемый способ термического обезвреживания анодных газов позволяет повысить эффективность термического обезвреживания анодных газов по бенз(а)пирену на 1,4% за счет регулирования расхода подогретого воздуха, обеспечения качественного смешения газа и воздуха, повышения стабильности процесса горения.
Формула изобретения
1. Способ термического обезвреживания анодных газов алюминиевого электролизера, включающий поступление анодных газов из газосборника каждого электролизера и подогретого в теплообменнике воздуха для дожигания в горелке за счет разрежения в системе газоотсоса, состоящей из инерционной пылеосадительной камеры, спусков и газохода для удаления образующихся дымовых газов, отличающийся тем, что перед подачей в горелочное устройство анодные газы из газосборника каждого электролизера подают в инерционные пылеосадительные камеры, установленные на секциях газосборников, затем анодные газы по теплоизолированным спускам направляют в теплоизолированный газоход и дожигают централизованно в горелке или топке, а образующиеся дымовые газы после дожигания анодных газов перед подачей в газоход направляют в теплообменник для утилизации тепла.
2. Способ по п.1, отличающийся тем, что регулируют поступление анодных газов от каждого электролизера с помощью дроссельной заслонки.
РИСУНКИ
|