|
|
(21), (22) Заявка: 2006117717/02, 23.05.2006
(24) Дата начала отсчета срока действия патента:
23.05.2006
(43) Дата публикации заявки: 27.11.2007
(46) Опубликовано: 10.04.2008
(56) Список документов, цитированных в отчете о поиске:
SU 783367 30.11.1980. RU 2224824 C2 27.02.2004. RU 2214480 C1 20.10.2003. RU 2229541 C2 27.05.2004. GB 1543025 28.03.1979. US 4322282 30.03.1982.
Адрес для переписки:
660111, г.Красноярск, ул. Пограничников, 37, стр.1, ИТЦ филиала ООО “РУС-Инжиниринг”, в г.Красноярске, начальнику патентно-информационного отдела С.А. Пановой
|
(72) Автор(ы):
Пак Михаил Александрович (RU), Гиберт Евгений Яковлевич (RU), Архипов Геннадий Викторович (RU), Пингин Виталий Валерьевич (RU), Савинов Владимир Иванович (RU), Соболев Василий Васильевич (RU)
(73) Патентообладатель(и):
Общество с ограниченной ответственностью “Русская инжиниринговая компания” (RU)
|
(54) КАТОДНОЕ УСТРОЙСТВО ЭЛЕКТРОЛИЗЕРА ДЛЯ ПОЛУЧЕНИЯ АЛЮМИНИЯ
(57) Реферат:
Изобретение относится к катодному устройству электролизера для получения алюминия. Катодное устройство содержит футерованный катодный кожух, опирающийся на фундамент через промежуточную опорную раму, состящую из отдельных секций, причем на концах крайних секций выполнено не менее четырех опорных площадок, и крайние секции установлены с возможностью контакта опорных площадок с фундаментом, а средняя секция жестко закреплена к катодному кожуху и выполнена в виде отдельных балок. Обеспечивается снижение расхода материалов на изготовление промежуточной опорной рамы, фундаментов и деформации катодного устройства. 2 з.п. ф-лы, 3 ил.
Изобретение относится к цветной металлургии и может быть использовано в электролизерах для получения алюминия электролитическим способом.
Известно катодное устройство электролизера для получения алюминия, включающее футерованный кожух, опирающийся на железобетонные ригели через промежуточную опорную раму. Промежуточная опорная рама выполнена из поперечных балок, связанных расположенными между ними продольными балками, при этом поперечные балки снабжены строповочными отверстиями и совмещены с ригелями. Количество поперечных балок равно количеству ригелей (авторское свидетельство СССР №783367, М. кл. С25С 3/08, 1980). Устройство принято за аналог и прототип.
Современные электролизеры оснащаются катодными устройствами, катодные кожуха которых имеют значительные прочностные характеристики. Неравномерный нагрев металлического кожуха в процессе пуска электролизера ведет к температурным деформациям последнего, его средняя часть выгибается вверх, при этом катодный кожух опирается на промежуточную опорную раму только крайними точками опоры. Так как промежуточная опорная рама, в свою очередь, лежит на нескольких опорах, при такой нагрузке ее средняя часть также выгибается вверх, но меньше, чем катодный кожух. В результате чего всю нагрузку от электролизера воспринимают только крайние ригели или четыре их стойки и концы промежуточной опорной рамы. Это ведет к их значительному упрочнению, что, в свою очередь, связано с повышенным расходом материалов.
Задачей заявляемого изобретения является снижение расхода материалов на изготовление промежуточной опорной рамы, фундаментов и снижение деформации катодного устройства.
Для решения поставленной задачи в катодном устройстве электролизера для получения алюминия, включающем футерованный катодный кожух, опирающийся на фундамент через промежуточную опорную раму, согласно заявляемому изобретению, промежуточная опорная рама состоит из отдельных секций, причем на концах крайних секций выполнены опорные площадки, и крайние секции установлены с возможностью контакта опорных площадок с фундаментом, а средняя секция жестко закреплена к катодному кожуху.
Изобретение дополняют частные отличительные признаки, направленные также на решение поставленной задачи.
На крайних секциях выполнены не менее четырех опорных площадок.
Средняя секция выполнена в виде отдельных балок.
Заявляемое изобретение отличается от прототипа тем, что промежуточная опорная рама выполняется из нескольких отдельных секций, устанавливаемых с разрывом относительно друг друга, при этом крайние секции опираются на фундамент не менее чем на четыре точки опоры на фундамент, а среднюю секцию крепят жестко к катодному кожуху. Такое исполнение позволяет распределить всю нагрузку на восемь точек опоры на фундамент, при этом средняя секция в пусковой период, закрепленная к кожуху, снижает размеры деформации.
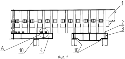
На чертежах приводится предлагаемое катодное устройство, где на фиг.1 изображена половина катодного кожуха, установленная на промежуточные опорные рамы, на фиг.2 – вид сверху промежуточных опорных рам, на фиг.3 – узел крепления средней секции.
Катодное устройство состоит из футерованного металлического катодного кожуха 1 с опорными элементами 2, крайних секций 3 и средних секций 4. Крайние секции состоят из продольных балок 5 и поперечин 6, а средние – из балок 7 и поперечин 8. Поперечины 6 и 8 придают устойчивость продольным балкам секций. На верхних поясах продольных балок 5, под опорные элементы 2, установлены платики 9. Для установки секций на фундамент они снабжены опорными площадками 10. Балки 7 средней секции снабжены узлами крепления, состоящими из планок 11 и креплений 12, поэтому возможно их использование и без поперечин 8. Узлами крепления средние секции крепятся к опорным элементам 2 металлического катодного кожуха 1.
Монтаж катодного устройства осуществляется следующим образом.
На точки опоры фундамента, выставленные по высоте, устанавливают крайнюю секцию 3. При этом между площадками 10 и фундаментом не должно быть зазора. Аналогично устанавливается другая крайняя секция. Затем на средние точки опоры фундамента устанавливают среднюю секцию 4. Разрыв между секциями и количество средних секций зависят от длины катодного устройства. На крайние секции 3 и среднюю 4 монтируется катодный кожух металлический 1 так, чтоб совпали места узлов крепления средней секции с опорными элементами 2. Катодный кожух металлический может быть зафутерован до монтажа или после монтажа на секции. Зазоры между опорными элементами и секциями устраняются металлическими прокладками после футеровочных работ. По окончании устранения зазоров устанавливают узлы крепления средней секции планки 11 и крепление 12.
Выполнение промежуточной опорной рамы из отдельных секций позволяет осуществить между секциями разрывы. В результате чего при деформации катодного кожуха в пусковой период всю нагрузку воспринимают крайние секции, опирающиеся на восемь опорных точек фундамента, что позволяет уменьшить размеры фундамента и его массу. При этом снижается масса и трудоемкость изготовления промежуточной опорной рамы. Кроме того, закрепление средней секции жестко к катодному кожуху позволяет снизить деформацию пускового периода, что снижает вероятность разрушения футеровки.
В настоящее время опытное катодное устройство проходит стадию испытания.
Формула изобретения
1. Катодное устройство электролизера для получения алюминия, содержащее футерованный катодный кожух, опирающийся на фундамент через промежуточную опорную раму, отличающееся тем, что промежуточная опорная рама состоит из отдельных секций, причем на концах крайних секций выполнены опорные площадки, установленные с возможностью контакта с фундаментом, а средняя секция жестко закреплена к катодному кожуху.
2. Катодное устройство по п.1, отличающееся тем, что на крайних секциях выполнено не менее четырех опорных площадок.
3. Катодное устройство по п.1, отличающееся тем, что средняя секция выполнена в виде отдельных балок.
РИСУНКИ
|
|