|
(21), (22) Заявка: 2006117720/02, 23.05.2006
(24) Дата начала отсчета срока действия патента:
23.05.2006
(43) Дата публикации заявки: 27.11.2007
(46) Опубликовано: 10.04.2008
(56) Список документов, цитированных в отчете о поиске:
RU 2230834 C1 20.06.2004. RU 2191225 C1 20.10.2002. RU 2051204 C1 27.12.1995. RU 2082831 C1 27.06.1997. SU 1560634 A1 30.04.1990. US 4087345 A 02.05.1978.
Адрес для переписки:
660111, г.Красноярск, ул. Пограничников, 37, стр.1, ИТЦ филиала ООО “РУС-Инжиниринг”, начальнику патентно-информационного отдела С.А. Пановой
|
(72) Автор(ы):
Бурцев Алексей Геннадьевич (RU), Гусев Александр Олегович (RU), Деревянко Валерий Александрович (RU)
(73) Патентообладатель(и):
Общество с ограниченной ответственностью “Русская инжиниринговая компания” (RU)
|
(54) КАТОДНОЕ УСТРОЙСТВО АЛЮМИНИЕВОГО ЭЛЕКТРОЛИЗЕРА
(57) Реферат:
Изобретение относится к электролитическому получению алюминия, а именно к конструкции катодного устройства алюминиевого электролизера. Устройство содержит металлическую ванну с днищем и силовыми элементами, охватывающими стенки и днище ванны, образующими катодный кожух. Внутри катодного кожуха заключена футеровка и катодные блоки с катодными стержнями, образующие катод электролизера. На продольных и торцевых стенках металлической ванны в промежутках между силовыми элементами закреплены пластинчатые ребра из материала с высокой теплопроводностью. Площадь одного пластинчатого ребра равна 0,03-0,3 м2. Крепление пластинчатых ребер к металлической ванне осуществляется с помощью биметаллических переходников алюминий-сталь или медь-сталь, изготовленных сваркой взрывом. Стальная часть биметаллического переходника приваривается к стенкам металлической ванны, а к алюминиевой или медной части привариваются пластинчатые ребра алюминиевые или из алюминиевого сплава или медные или медного сплава соответственно. В верхней части силовых элементов размещены регуляторы эффективности отвода тепла от стен ванны в виде поворотных створок. В промежутке между силовыми элементами установлено устройство принудительного охлаждения пластинчатых ребер в виде вентилятора и воздуходувки. Устройство позволяет интенсифицировать процесс электролитического производства алюминия в алюминиевом электролизере регулирования эффективности теплоотвода, обеспечить условия для стабильного технологического процесса и увеличить срок службы катодного устройства алюминиевого электролизера. 9 з.п. ф-лы, 5 ил.
Изобретение относится к цветной металлургии, в частности к электролитическому получению алюминия, а именно к конструкции катодного устройства алюминиевого электролизера.
Катодное устройство электролизера для производства алюминия включает катодный кожух, состоящий из продольных и торцевых стенок и днища, образующих металлическую ванну, и силовых элементов, охватывающих стенки и днище ванны; теплоизоляционную огнеупорную футеровку; бортовую футеровку, выполняемую из блоков; катодные блоки с катодными стержнями, являющиеся катодом электролизера.
Катодное устройство предназначено для создания условий протекания процесса электролиза в криолит-глиноземном расплаве, кроме того, катодное устройство обеспечивает рассеивание излишков тепла в окружающую среду. Это способствует образованию слоя застывшего электролита (гарнисажа) на бортовых стенках футерованный ванны, что позволяет защитить их от воздействия крайне агрессивной среды и высокой температуры (950-970°C), позволяя тем самым увеличить срок службы катодного устройства.
Известен электролизер для получения алюминия, включающий металлический катодный кожух, футерованный изнутри, установленный на железобетонные опоры, днища и борта которого снабжены коробчатыми секциями выполненных в виде герметичных полостей, в которых установлены тепловые экраны составленных из отдельных пластин и к герметичным полостям подведены воздушные магистрали с воздухораспределительными клапанами, в которые при помощи вентилятора или компрессора нагнетается воздух (патент SU №605865, 1978, МПК С25С 3/08).
Известен также алюминиевый электролизер, содержащий анодный и катодные кожухи снабженные герметичными полостями, которые размещены на наружных поверхностях кожухов и соединены с нагнетательной воздушной магистралью (патент SU №633937, 1978, МПК С25С 3/08).
Известен электролизер, содержащий футеруемый изнутри металлический катодный кожух и элементы охлаждения стенок кожуха с помощью подачи сжатого воздуха локализованными струями со скоростью 10-100 м/с, распределенными вокруг металлической ванны (патент RU 2201476 С2).
Общими недостатками данных изобретений являются необходимость создания сложной и громоздкой сети воздушных магистралей, которые существенно загромождают пространство вокруг электролизера, высокий уровень шума создаваемый сбрасываемым воздухом в герметичные полости или в атмосферу корпуса создает неблагоприятные условия для обслуживающего персонала. Кроме того, из-за низкой теплоемкости воздуха для эффективного отвода тепла потребуется существенный расход воздуха, в связи с чем требуется наличие компрессорной станции или мощных вентиляторов и поэтому экономически не выгодно.
В катодном устройстве с использованием конвективного потока воздуха (патент US 4087345), охлаждающие поверхности образованы боковой стенкой электролизера и поддерживающими и ограждающими элементами конструкции, имеющими тепловой контакт со стенкой.
Наиболее близким к предлагаемому изобретению по технической сущности и достигаемому результату является катодное устройство алюминиевого электролизера, содержащее футеруемую изнутри металлическую ванну с продольными и торцевыми стенками, днищем, установленную внутри жесткого каркаса, образованного поперечными шпангоутами (силовыми элементами), торцы ванны усилены поясами жесткости, образованных вертикальными и горизонтальными ребрами жесткости, связанными между собой обвязочным листом с образованием зоны разрыва между торцевой стенкой и горизонтальными ребрами жесткости, а между вертикальными ребрами дополнительно установлены вертикальные стальные ребра охлаждения толщиной 6-8 мм и размером 640×650×120 мм в количестве 1-4 шт. (патент РФ №2230834, 2004, МПК С25С 3/08).
Недостатком данного катодного устройства является то, что ребра охлаждения установлены только на торцевой стенке ванны, при этом теплоотвод от торцевой стенки кожуха увеличивается незначительно из-за невысокой теплопроводности стали Ст3 (при 300°C – 50 Вт/м·К). Кроме того, указанная конструкция катодного кожуха со сплошным фланцевым листом препятствует похождению воздуха по высоте ванны за счет разности температур, и характеризуется плохим конвективным теплообменом, и ухудшает охлаждение стенок ванны.
Цель изобретения – повышение интенсификации процесса электролитического производства алюминия в алюминиевом электролизере за счет конструкции катодного устройства, способного отводить и рассеивать тепловую энергию, выделяемую в электролизере.
Технической задачей заявляемого изобретения является разработка конструкции катодного устройства с увеличенным отводом тепла от бортов металлической ванны и оснащенного возможностью его регулирования.
Поставленная задача достигается тем, что в катодном устройстве алюминиевого электролизера, включающем металлическую ванну с днищем и силовыми элементами, охватывающими стенки и днище ванны, образующими катодный кожух с заключенной внутри нее футеровкой и катодными блоками с катодными стержнями, образующими катод электролизера, на продольных и торцевых стенках металлической ванны в промежутках между силовыми элементами закреплены пластинчатые ребра из материала с высокой теплопроводностью, при этом площадь одного пластинчатого ребра равна 0,03-0,3 м2. Это позволяет увеличить охлаждаемую поверхность в зависимости от количества ребер (3-10 шт.) больше чем в 10 раз.
Данная конструкция катодного устройства позволяет обеспечить эффективный отвод тепла из электролизера к бортовым стенкам ванны и далее к пластинчатым ребрам, которые охлаждаются за счет конвективного теплообмена при протекании воздуха, обусловленном его нагревом в межреберном пространстве и разностью температур по высоте стенок ванны. Это позволяет в условиях интенсифицированной работы алюминиевого электролизера обеспечить образование устойчивого слоя застывшего электролита (гарнисажа) на внутренней поверхности бортовой футеровки катодного устройства, тем самым увеличить срок службы катодного устройства алюминиевого электролизера.
Изобретение дополняют частные отличительные признаки, направленные также на решение поставленной задачи.
В конструкции катодного устройства, в частности в промежутках между силовыми элементами, охватывающими стенки и днище ванны, на стенках металлической ванны закреплены пластинчатые ребра в количестве от 3-10 шт.
При использовании пластинчатых ребер менее 3 шт. не обеспечивается необходимый отвод тепла из электролизера, что приводит к повышению температуры в ванне и расплавлению защитного слоя. При установке пластинчатых ребер более 10 шт. усложняется монтаж вышеупомянутых ребер, так как промежуток между ними существенно уменьшается и вследствие этого затрудняется прохождение потока воздуха между ребрами (в межреберном пространстве) и снижается отвод тепла от бортов ванны.
Для обеспечения хорошей теплопередачи пластинчатые ребра изготавливаются из материалов с высокой теплопроводностью, например алюминия марок А0-А85 ( =210-230 Вт/м·К) или алюминиевого сплава (АД**, Д**, АК*, АМц*, АМг*, В** и т.д.) с коэффициентами теплопроводности порядка =110-230 Вт/м·К; меди ( =360-390 Вт/м·К) или медного сплава (бронза, латунь и т.д.) с коэффициентом теплопроводности порядка от 70 до 380 Вт/м·К; специальной стали (55, 60, 65, 70, 20Г, 30Г, 40Г и т.д.) с коэффициентом теплопроводности порядка 50-80 Вт/м·К. Изготовление пластинчатых ребер из материалов с низкой теплопроводностью не приводит к существенному увеличению теплоотвода от стен электролизера и соответственно не обеспечивается образование устойчивого слоя защитного гарнисажа на внутренней поверхности бортовой футеровки и что приводит к повышению температуры стенок металлической ванны и интенсивному разрушению бортовой футеровки.
Крепление пластинчатых ребер к металлической ванне можно осуществить с помощью биметаллических переходников алюминий-сталь или медь-сталь, изготовленных сваркой взрывом. Стальная часть биметаллического переходника приваривается к стенкам металлической ванны, а к алюминиевой или медной части привариваются пластинчатые ребра алюминиевые или из алюминиевого сплава или медные или медного сплава соответственно. Сварной контакт через биметаллический переходник обеспечивает минимальный перепад температуры порядка 30°С и соответственно эффективный теплоотвод от стенок ванны к пластинчатым ребрам.
Закрепить пластинчатые ребра можно через основание, приваренное взрывом непосредственно к стенке металлической ванны, выполненное соответственно из того материала, что и пластинчатые ребра.
Также пластинчатые ребра можно закрепить на металлической ванне с помощью болтового и/или заклепочного соединения, предварительно выровняв поверхность, на которую будет производиться установка, например специальной пастой.
Размещение в верхней части силовых элементов регуляторов эффективности отвода тепла от стен ванны в виде поворотных створок позволяет регулировать толщину гарнисажа или формировать его форму в зависимости от сезонного изменения температуры окружающей среды.
Для увеличения интенсивности отвода тепла от катодного устройства и снижения температуры продольных и торцевых стенок, пластинчатых ребер возможна установка в промежутке между силовыми элементами устройства принудительного охлаждения пластинчатых ребер в виде вентилятора и воздуходувки.
Сущность изобретения поясняется следующими чертежами.
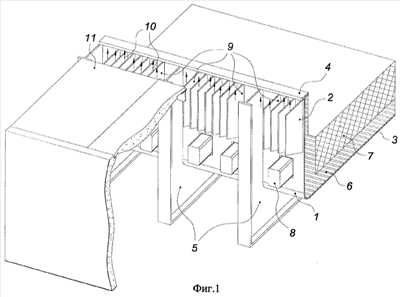
На фиг.1 изображено предлагаемое катодное устройство алюминиевого электролизера; на фиг.2 представлено катодное устройство с креплением пластинчатых ребер через биметаллический переходник; на фиг.3 показано катодное устройство с креплением пластинчатых ребер с помощью болтового и/или заклепочного соединения; на фиг.4 изображено катодное устройство алюминиевого электролизера с установкой регуляторов эффективности теплоотвода; на фиг.5 изображено катодное устройство алюминиевого электролизера с установкой устройства принудительного охлаждения пластинчатых ребер.
Катодное устройство алюминиевого электролизера включает металлическую ванну 1, имеющую продольные и торцевые стенки 2, днище 3 и фланцевый лист 4; силовые элементы 5, охватывающие стенки и днище ванны; футеровку 6, заключенную внутри ванны 1, катодные блоки 7 с катодными стержнями 8, образующие катод электролизера; пластинчатые ребра 9, установленные на продольных и торцевых стенках 2.
Поток воздуха 10 в промежутке ограниченном силовыми элементами 5, продольными и торцевыми стенками 2 и плитами перекрытия 11 проходит через пластинчатые ребра 9, обеспечивается подъемной (Архимедовой) силой из-за нагрева его в межреберном пространстве, а также перетеканием воздуха за счет разности его температуры по высоте стенок ванны 2. Как и в прототипе, составляющие катодное устройство металлическая ванна 1 с продольными и торцевыми стенками 2, днищем 3 и фланцевым листом 4 и силовыми элементами 5 также участвуют в теплообмене.
Для крепления пластинчатых ребер 9, выполненных из алюминия, алюминиевого сплава, меди или медного сплава, используются биметаллический переходник 12 (сталь-алюминий или сталь-медь), полученный сваркой взрывом, который приваривается к стенкам 2 ванны 1,
Для сохранения тепловых и механических характеристик биметаллического переходника 12 в условиях работы повышенных температурах при его изготовлении на границе раздела (плоской или «по типу ласточкин хвост») алюминий-сталь или медь-сталь помещается барьерный слой титана толщиной 1 мм. Таким образом осуществляется эффективный теплоотвод от стенок ванны к пластинчатым ребрам 9, которые в свою очередь и обеспечивают рассеивание тепловой энергии.
Крепление пластинчатых ребер к продольным и торцевым стенкам 2 металлической ванны можно реализовать с помощью болтового и/или заклепочного соединения 13, предварительно обеспечив ровную поверхность стенки металлической ванны путем фрезеровки или установки прокладки, например из легкоплавкого теплопроводящего материала, термопасты на основе графита или серебра, алюминиевой фольги, огнеупорного цемента и т.д., которые позволят выровнять неровную поверхность стенки.
Для регулирования отвода тепла от стен ванны 2 в верхней части силовых элементов 5 над пластинчатыми ребрами 9 могут быть установлены регуляторами теплоотвода 14 в виде поворотных створок, с помощью которых может изменяться открытая площадь промежутка, ограниченного силовыми элементами 5, продольными и торцевыми стенками 2 и плитами перекрытия 11. Тем самым становится возможным регулирование толщины гарнисажа в зависимости от сезонного изменения температуры окружающей среды и изменения силы тока на электролизере.
С целью увеличения интенсивности отвода тепла от катодного устройства и снижения температур поверхности стенок металлической ванны 2 и пластинчатых ребер 9, в промежутке между силовыми элементами может быть установлено 5 устройство принудительного охлаждения 15 пластинчатых ребер 9. Устройство представляет собой центробежный вентилятор производительностью 1-2 т/м3. Тем самым отвод тепла можно увеличить еще на 30-50%.
Монтаж и демонтаж катодного устройства алюминиевого электролизера осуществляется следующим образом.
При изготовлении катодного устройства предлагаемой конструкции интенсивный отвод тепла, рассеивание его пластинчатыми ребрами и образование устойчивого слоя гарнисажа возможно при следующем конструктивном исполнении.
Днище 3, фланцевый лист 4 металлической ванны 1 изготавливают из листовой стали толщиной 12-20 мм, обладающей достаточной пластичностью и качеством. Внутрь металлической ванны 1 помещают футеровку 6, состоящую из огнеупорных и теплоизоляционных материалов, катодные блоки 7 с установленными в них катодными стержнями 8. Силовые элементы 5, охватывающие стенки и днище ванны 1, выполняют в виде либо шпангоутов (тавровых или двутавровых балок), либо в виде шарнирно установленных контрфорсов (коробчатого сечения конструкция или сваренных вместе две двутавровых балок). В верхней части продольных и торцевых стенок 2 устанавливаются пластинчатые ребра 9, выполненные из высокотеплопроводного материала, например специальной стали, алюминия или алюминиевого сплава, меди или медного сплава. Пластинчатое ребро выполняется в виде прямоугольника или трапеции высотой 300-600 мм, шириной 100-500 мм и толщиной 6-10 мм. При этом количество ребер выбирают в зависимости от необходимо коэффициента теплоотдачи. Так, например, установка 7-ми штук ребер из стали Ст3 толщиной 6 мм с площадью 0,3 м2 с расстоянием между ребрами 55 мм позволило в режиме свободной конвекции получить коэффициент теплоотдачи n=75 Вт/м2·К. Для сравнения без установки пластинчатых ребер максимально возможный коэффициент теплоотдачи равен т=30 Вт/м2·К. При установке 7 шт. пластинчатых ребер из алюминия марки А5 толщиной 10 мм и площадью 0,3 м2 с расстоянием между ребрами 55 мм позволило получить коэффициент теплоотдачи порядка n=150 Вт/м2·К.
Данные значения коэффициентов теплоотдачи были получены на тепловом стенде, имитирующем стенку металлической ванны катодного устройства электролизера при экспериментальных исследованиях различных вариации пластинчатых ребер.
Предлагаемое изобретение позволяет интенсифицировать процесс электролитического производства алюминия в алюминиевом электролизере за счет интенсивного отвода тепла от катодного устройства и рассеивания его пластинчатыми ребрами с возможностью регулирования эффективности теплоотвода.
При этом обеспечиваются условия для стабильного технологического процесса за счет образования устойчивого слоя застывшего электролита (гарнисажа) на внутренней поверхности бортовой футеровки катодного устройства, что помимо всего позволяет увеличить срок службы катодного устройства алюминиевого электролизера.
Формула изобретения
1. Катодное устройство электролизера для производства алюминия, содержащее металлическую ванну с днищем, силовые элементы, охватывающие стенки и днище ванны, с заключенной внутри него футеровкой и катодными блоками с катодными стержнями, образующие катод электролизера, отличающееся тем, что на продольных и торцевых стенках металлической ванны в промежутках между силовыми элементами закреплены пластинчатые ребра из материала с высокой теплопроводностью, при этом площадь одного пластинчатого ребра равна 0,03-0,3 м2.
2. Катодное устройство по п.1, отличающееся тем, что количество пластинчатых ребер в одном промежутке между силовыми элементами составляет 3-10 шт.
3. Катодное устройство по п.1, отличающееся тем, что пластинчатые ребра выполнены из алюминия или алюминиевого сплава.
4. Катодное устройство по п.1, отличающееся тем, что пластинчатые ребра выполнены из меди или медного сплава.
5. Катодное устройство по п.1, отличающееся тем, что пластинчатые ребра выполнены из специальной стали.
6. Катодное устройство по п.1, отличающееся тем, что пластинчатые ребра прикреплены к металлической ванне через биметаллический переходник, изготовленный сваркой взрывом.
7. Катодное устройство по п.1, отличающееся тем, что пластинчатые ребра прикреплены к основанию из алюминия или алюминиевого сплава или меди или медного сплава, приваренному взрывом к металлической ванне.
8. Катодное устройство по п.1, отличающееся тем, что пластинчатые ребра прикреплены к металлической ванне с помощью болтового и/или заклепочного соединения.
9. Катодное устройство по п.1, отличающееся тем, что в верхней части силовых элементов установлены регуляторы эффективности теплоотвода со стен металлической ванны в виде поворотных створок.
10. Катодное устройство по п.1, отличающееся тем, что в промежутке между силовыми элементами расположено устройство принудительного охлаждения пластинчатых ребер.
РИСУНКИ
|