|
| На основании пункта 3 статьи 13 Патентного закона Российской Федерации от 23 сентября 1992 г. № 3517-I патентообладатель обязуется передать исключительное право на изобретение (уступить патент) на условиях, соответствующих установившейся практике, лицу, первому изъявившему такое желание и уведомившему об этом патентообладателя и федеральный орган исполнительной власти по интеллектуальной собственности, – гражданину РФ или российскому юридическому лицу. |
|
(21), (22) Заявка: 2006131236/15, 31.08.2006
(24) Дата начала отсчета срока действия патента:
31.08.2006
(46) Опубликовано: 10.04.2008
(56) Список документов, цитированных в отчете о поиске:
RU 2280102 C1, 20.07.2006. RU 2240381 C1, 20.11.2004. SU 1011730 A1, 15.04.1983. RU 2034934 C1, 10.05.1995. US 4530744 A, 23.07.1985.
Адрес для переписки:
129515, Москва, ул. Акад. Королева, 5, кв.234, М.И. Весенгириеву
|
(72) Автор(ы):
Весенгириев Михаил Иванович (RU)
(73) Патентообладатель(и):
Весенгириев Михаил Иванович (RU)
|
(54) ГЕНЕРАТОР ВОДОРОДНО-КИСЛОРОДНОЙ СМЕСИ
(57) Реферат:
Изобретение относится к технологии электрохимических производств, в частности к устройствам для электролиза воды. Генератор водородно-кислородной смеси содержит корпус и герметизирующую вход в корпус крышку, размещенный в корпусе вал компрессора, связанный с приводом, форсунку с кавитатором подачи водного раствора электролита, патрубок для вывода газовой смеси, электролизер и отсекатель. Герметизирующая вход в корпус крышка выполнена с возможностью регулируемого забора воздуха в корпус через кавитатор. Причем форсунка с кавитатором выполнена с возможностью подачи и распыления электролита в поток забираемого в корпус воздуха. Электролизер выполнен в виде кавитатора с центральным телом путем подводки питания от источника постоянного электрического тока к его элементам и установлен в патрубке для вывода газовой смеси с возможностью подачи газовой смеси через электролизер и через отсекатель к потребителю. При этом кавитатор для регулируемого забора воздуха в корпус может быть выполнен либо в виде кольцевого канала с кольцевым кавитатором, либо в виде патрубка с кавитаторами. Технический эффект – повышение производительности и экономичности генератора. 1 з.п. ф-лы, 4 ил.
Изобретение относится к технологии электрохимических производств, в частности к устройствам для электролиза воды, и может быть использовано для выработки экологически чистого топлива, преимущественно для котельных установок.
Известен генератор водородно-кислородной смеси, содержащий цилиндр, поршень, связанный с приводом, и головку цилиндра, образующие замкнутый объем цилиндра, где установлен электролизер, форсунку с кавитатором подачи водного раствора электролита и нагнетательный клапан вывода газовой смеси. (Патент РФ №2240381, С25В 1/04, 20.11.2004 г. [1]).
Недостатком известного генератора является сложность конструкции, малая производительность и низкий КПД электролизера.
Наиболее близким к предлагаемому изобретению является генератор водородно-кислородной смеси, содержащий корпус и герметизирующую вход в корпус крышку, размещенный в корпусе вал компрессора, связанный с приводом, форсунку с кавитатором подачи и распыления водного раствора электролита, патрубок для вывода газовой смеси, электролизер и отсекатель (Патент РФ №2280102, С25В 1/04, 20.07.2006 г. [2]).
Недостатком ближайшего аналога является высокий расход электроэнергии на электролизере и низкий его КПД.
Техническая задача решаемая предлагаемым изобретением заключается в повышении эффективных показателей генератора.
Поставленная задача решается тем, что в генераторе водородно-кислородной смеси, содержащем корпус и герметизирующую вход в корпус крышку, размещенный в корпусе вал компрессора, например осевого, связанный с приводом, например с электромотором, форсунку с кавитаторам, например местное сужение канала, подачи и распыления водного раствора электролита, патрубок для вывода газовой смеси, электролизер и отсекатель, герметизирующая вход в корпус крышка выполнена с возможностью регулируемого, например жалюзи, забора атмосферного воздуха в корпус через кавитатор, например местное сужение канала. Причем форсунка с кавитатором выполнена с возможностью подачи и распыления электролита в поток забираемого в корпус воздуха. Электролизер при этом выполнен в виде кавитатора с центральным телом, например местное сужение канала с центральным телом путем подводки питания от источника постоянного электрического тока, например от аккумулятора, к элементам кавитатора, например к местному сужению канала и к центральному телу, и установлен в патрубке для вывода газовой смеси с возможностью подачи газовой смеси через электролизер с центральным телом и через отсекатель, например обратный клапан, к потребителю, например в топочную камеру котельной установки. При этом кавитатор для регулируемого забора воздуха в корпус может быть выполнен либо в виде кольцевого канала с кольцевым кавитатором, например кольцевое местное сужение канала, либо в виде патрубка с кавитаторами, например местные сужения каналов патрубков.
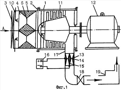
Сущность изобретения схематично показана на чертеже, где:
фиг.1 – разрез генератора; фиг.2 – вид по стрелке А на фиг.1; фиг.3 – вариант забора воздуха через патрубки с кавитаторами; фиг.4 – вид по стрелке Б на фиг.3.
Пример выполнения предлагаемого решения.
Генератор водородно-кислородной смеси содержит корпус 1 (фиг.1-4), герметизирующую вход в корпус крышку 2, выполненную с возможностью регулируемого, например, жалюзи 3, забора воздуха в корпус, через либо кольцевой канал 4 с кольцевым же кавитатором 5, например местное кольцевое сужение 6 канала, либо через патрубки 7 с кавитаторами 8, например местные сужения 9 каналов патрубков. Форсунку 10 с кавитатором, например местное сужение ее канала (не показано), подачи и распыления электролита в поток забираемого в корпус воздуха, размещенный в корпусе на подшипниковых опорах вал компрессора 11, например, осевого, связанного с приводом 12, например электромотор. Электролизер, выполненный в виде кавитатора 13, например местное сужение 14 канала с центральным телом 15, путем подводки постоянного электрического тока, например, от аккумулятора 16 к элементам кавитатора, например к его местному сужению и к центральному телу, установлен в патрубке 17 для вывода газовой смеси с возможностью подачи газовой смеси через электролизер с центральным телом и через отсекатель 18, например обратный клапан, к потребителю 19, например в топку котла.
Генератор водородно-кислородной смеси работает следующим образом.
Для пуска генератора в работу включают привод 12, который вращает вал компрессора 11, и на электроды 14 и 15 электролизера 13 подают постоянный электрический ток от источника питания 16. Работой компрессора 11 на его герметизированном крышкой 2 входе создается разрежение, благодаря чему производится регулируемый жалюзи 3 забор атмосферного воздуха в корпус 1 через выполненный на крышке 2, например кольцевой канал 4 с кольцевым кавитатором 5, например местное кольцевое сужение 6. В поток забираемого воздуха форсункой 10 с кавитатором (не показано) подают и распыляют электролит, например водный раствор едкого калия. За счет кавитации в кавитаторе форсунки 10 электролит частично диссоциирует, ионизируется, капельки его тончайше распыляются и смешиваются с воздухом. Затем эта смесь проходит через кольцевой кавитатор 5 и опять же за счет кавитации происходит дальнейшее до неопасного для работы компрессора 11 предела разложение воды, ее ионизация и распыление капелек. Далее за счет разрежения в корпусе 1 электролит превращается в пар. Затем эта смесь компрессором 11 сжимается и подается в патрубок 17 для вывода газовой смеси и прогоняется через местное кольцевое сужение 14, образованное центральным телом 15 электролизера 13, где за счет кавитации и за счет протекания постоянного тока через электролит, частично уже диссоциированный в кавитаторе форсунки 10 и в кавитаторе 5, водяной пар полностью разлагается на водород и кислород, чем достигается высокая экономичность и производительность устройства. Затем газовая смесь через отсекатель 18, например обратный клапан, подается к потребителю 19, например в топочную камеру котельной установки.и сжигается.
Предлагаемый генератор водородно-кислородной смеси в эксплуатации высокопроизводителен и высокоэкономичен. Найдет широкое применение для выработки экологически чистого топлива для котельных установок различного назначения.
Источники информации
1. Патент РФ №2240381, С25В 1/04, 20.11.2004 г.
2. Патент РФ №2280102, С25В 1/04, 20.07.2006 г. – Прототип.
Формула изобретения
1. Генератор водородно-кислородной смеси, содержащий корпус и герметизирующую вход в корпус крышку, размещенный в корпусе вал компрессора, связанный с приводом, форсунку с кавитатором подачи и распыления водного раствора электролита, патрубок для вывода газовой смеси, электролизер и отсекатель, отличающийся тем, что крышка выполнена с возможностью регулируемого забора воздуха в корпус через кавитатор, форсунка с кавитатором выполнена с возможностью подачи и распыления электролита в поток забираемого в корпус воздуха, электролизер выполнен в виде кавитатора с центральным телом путем подводки питания от источника постоянного электрического тока к элементам кавитатора и установлен в патрубке для вывода газовой смеси с возможностью подачи газовой смеси через электролизер и далее через отсекатель потребителю.
2. Генератор по п.1, отличающийся тем, что кавитатор для регулируемого забора воздуха в корпус выполнен либо в виде кольцевого канала с кольцевым кавитатором, либо в виде патрубков с кавитаторами.
РИСУНКИ
|
|