|
(21), (22) Заявка: 2006130230/09, 21.08.2006
(24) Дата начала отсчета срока действия патента:
21.08.2006
(46) Опубликовано: 27.03.2008
(56) Список документов, цитированных в отчете о поиске:
МАЛЫШЕВ В.А., Бортовые активные устройства СВЧ, Ленинград, Судостроение, 1990, с.256. SU 1646010 А1, 30.04.1991. RU 2003210 C1, 15.11.1993. US 6252474 А, 26.06.2001. JP 1305601 А, 08.12.1989.
Адрес для переписки:
141190, Московская обл., г. Фрязино, ул. Вокзальная, 2А, ФГУП “Научно-производственное предприятие “Исток”, Патентный отдел
|
(72) Автор(ы):
Балыко Александр Карпович (RU), Королев Александр Николаевич (RU), Мальцев Валентин Алексеевич (RU), Самсонова Ирина Валерьевна (RU), Щербаков Федор Евгеньевич (RU)
(73) Патентообладатель(и):
Федеральное государственное унитарное предприятие “Научно-производственное предприятие “Исток” (ФГУП НПП “Исток”) (RU)
|
(54) ФАЗОВРАЩАТЕЛЬ СВЧ
(57) Реферат:
Изобретение относится к электронной технике, а именно к фазовращателям СВЧ на полупроводниковых приборах. Техническим результатом изобретения является снижение неравномерности изменения фазы в рабочей полосе частот, снижение величины модуля коэффициента отражения и величины прямых потерь при упрощении конструкции и снижении массогабаритных характеристик фазовращателя СВЧ. Фазовращатель СВЧ содержит две линии передачи с одинаковыми волновыми сопротивлениями, одна предназначена для входа СВЧ-сигнала, другая – для выхода, два полевых транзистора с барьером Шотки, индуктивности одинаковой величины и емкости либо разной, либо одинаковой величины. Исток первого полевого транзистора с барьером Шотки соединен с линией передачи на входе и с одним из концов первой индуктивности, а сток – через первую емкость соединен с линией передачи на выходе и с одним из концов второй индуктивности. Сток второго полевого транзистора с барьером Шотки соединен с другими концами обеих индуктивностей и с одним из концов второй емкости, а исток и другой конец второй емкости заземлены. Затворы полевых транзисторов с барьером Шотки соединены между собой и соединены с одним источником постоянного управляющего напряжения. 1 з.п. ф-лы, 5 ил.
Изобретение относится к электронной технике, а именно к фазовращателям СВЧ на полупроводниковых приборах.
Фазовращатели СВЧ характеризуют:
– величина изменения фазы сигнала СВЧ, значение которой задается;
– величина неравномерности изменения фазы в рабочей полосе частот, которая должна быть как можно меньше;
– величина прямых потерь Ап, значение которой должно быть как можно меньше;
– величина модуля коэффициента отражения, которая должна быть как можно меньше;
– наличие числа источников постоянного управляющего напряжения, которое должно быть как можно меньше;
– величина постоянного управляющего напряжения.
Фазовращатели СВЧ, выполненные на основе полупроводниковых приборов, широко используются в технике СВЧ.
Особенно многоразрядные фазовращатели СВЧ с дискретным изменением фазы, которые представляют собой каскадное соединение нескольких, по крайней мере, двух разрядов, содержащие в каждом разряде, в том числе индуктивности и емкости.
Подключение и отключение емкостей и индуктивностей в каждом разряде осуществляют электронными ключами, в качестве которых используют полупроводниковые диоды и транзисторы. Это позволяет получать требуемые комбинации дискретного изменения фазы фазовращателя СВЧ.
Известен многоразрядный фазовращатель СВЧ, содержащий в каждом разряде соединение индуктивностей и емкостей. В качестве электронных ключей использованы полупроводниковые pin-диоды, на которые подают постоянные управляющие напряжения. Полупроводниковые pin-диоды осуществляют переключение соединения индуктивностей и емкостей в виде фильтра высоких частот на их соединение в виде фильтра нижних частот [1].
Недостатком данного многоразрядного фазовращателя является наличие в каждом разряде двух источников постоянного управляющего напряжения, что усложняет конструкцию и увеличивает массогабаритные характеристики фазовращателя СВЧ.
Кроме того, поскольку pin-диоды являются двухполюсными приборами, то для развязки цепи по постоянному току и сигналу СВЧ необходимо использовать фильтры питания, что также усложняет конструкцию и увеличивает массогабаритные характеристики фазовращателя СВЧ.
Известен многоразрядный фазовращатель СВЧ, содержащий в каждом разряде также соединение индуктивностей и емкостей. В качестве электронных ключей в данном фазовращателе СВЧ использованы полупроводниковые транзисторы – полевые транзисторы с барьером Шотки. Фазовращатель СВЧ содержит две линии передачи с одинаковыми волновыми сопротивлениями, одна предназначена для входа сигнала СВЧ, другая – для выхода, два полевых транзистора с барьером Шотки, индуктивности и емкости, при этом одни из электродов истока и стока обоих полевых транзисторов с барьером Шотки соединены с линиями передачи на входе и на выходе, а на затворы подают постоянные управляющие напряжения [2] – прототип.
По сравнению с аналогом в данном фазовращателе СВЧ исключена необходимость использования фильтров питания, поскольку полевые транзисторы с барьером Шотки являются трехполюсными приборами и, следовательно, обладают внутренней развязкой цепи по постоянному току и сигналу СВЧ.
Однако наличие в данном фазовращателе СВЧ, как и в аналоге, двух источников постоянного управляющего напряжения усложняет конструкцию и увеличивает массогабаритные характеристики фазовращателя СВЧ.
Более того, данный фазовращатель СВЧ не позволяет осуществлять оптимальный выбор параметров элементов фазовращателя СВЧ и тем самым обеспечить высокие его характеристики, например снижение неравномерности изменения фазы в рабочей полосе частот, снижение величины модуля коэффициента отражения и величины прямых потерь.
Техническим результатом изобретения является снижение неравномерности изменения фазы в рабочей полосе частот, снижение величины модуля коэффициента отражения и величины прямых потерь при упрощении конструкции и снижении массогабаритных характеристик фазовращателя СВЧ.
Указанный технический результат достигается тем, что в известном фазовращателе СВЧ, содержащем две линии передачи с одинаковыми волновыми сопротивлениями, одна предназначена для входа СВЧ-сигнала, другая – для выхода, два полевых транзистора с барьером Шотки, индуктивности одинаковой величины и емкости либо разной, либо одинаковой величины. При этом исток первого полевого транзистора с барьером Шотки соединен с линией передачи на входе и с одним из концов первой индуктивности, а сток – через первую емкость соединен с линией передачи на выходе и с одним из концов второй индуктивности, сток второго полевого транзистора с барьером Шотки соединен с другими концами обеих индуктивностей и с одним из концов второй емкости, а исток и другой конец второй емкости заземлены, а затворы полевых транзисторов с барьером Шотки соединены между собой и соединены с одним источником постоянного управляющего напряжения.
Величины индуктивностей и емкостей выбирают исходя из требуемого значения сдвига фаз сигнала СВЧ.
Предложенное соединение элементов фазовращателя СВЧ, а именно исток первого полевого транзистора с барьером Шотки соединен с линией передачи на входе и с одним из концов первой индуктивности, а сток – через первую емкость соединен с линией передачи на выходе и с одним из концов второй индуктивности, сток второго полевого транзистора с барьером Шотки соединен с другими концами обеих индуктивностей и с одним из концов второй емкости, а исток и другой конец второй емкости заземлены в совокупности с другими указанными существенными признаками, обеспечивает возможность реализации оптимальных величин параметров элементов фазовращателя СВЧ и тем самым позволит снизить неравномерность изменения фазы в рабочей полосе частот, снизить величину модуля коэффициента отражения и величину прямых потерь.
Предложенное соединение элементов фазовращателя СВЧ позволило вдвое уменьшить число индуктивностей, поскольку они могут реализовать и фильтр нижних частот, и фильтр верхних частот в зависимости от постоянного управляющего напряжения.
Соединение первого полевого транзистора с барьером Шотки с первой емкостью, а второго – со второй емкостью позволит в первом случае снизить, а во втором увеличить суммарную емкость и тем самым улучшить характеристики фильтра нижних частот и фильтра верхних частот, а именно снизить неравномерность изменения фазы в рабочей полосе частот, снизить величину модуля коэффициента отражения и величину прямых потерь при реализации оптимальных величин параметров элементов фазовращателя СВЧ
Соединение между собой затворов обоих полевых транзисторов с барьером Шотки и соединение их с одним источником постоянного управляющего напряжения позволит уменьшить массогабаритные характеристики фазовращателя СВЧ, что особенно актуально при исполнении фазовращателя в составе монолитно интегральных схем СВЧ.
Кроме того, как сказано выше, предложенное соединение элементов фазовращателя СВЧ позволило вдвое уменьшить число индуктивностей и тем самым упростить конструкцию и дополнительно уменьшить массогабаритные характеристики фазовращателя СВЧ.
Как видно из вышесказанного, предложенная совокупность существенных признаков позволит обеспечить указанный выше технический результат.
Изобретение поясняется чертежами.
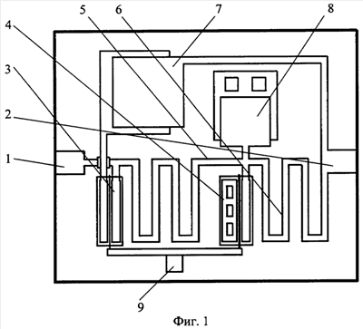
На фиг.1 дана топология предлагаемого фазовращателя СВЧ, где
– две линии передачи: одна предназначена для входа сигнала СВЧ – 1, другая – для выхода – 2,
– два полевых транзистора с барьером Шотки – 3 и 4 соответственно,
– индуктивности – 5 и 6 соответственно,
– емкости – 7 и 8 соответственно,
– источник постоянного управляющего напряжения – 9.
На фиг.2 дана электрическая схема фазовращателя СВЧ.
На фиг.3 дана зависимость величины изменения фазы сигнала от частоты сигнала СВЧ,
На фиг.4 дана зависимость величины модуля коэффициента отражения от частоты сигнала СВЧ.
На фиг.5 дана зависимость величины прямых потерь – Ап от частоты сигнала СВЧ.
При этом кривые 1 указанных зависимостей измерены при подаче на затворы обоих полевых транзисторов с барьером Шотки постоянного управляющего напряжения, равного нулю, а кривые 2 – равному напряжению отсечки Uотс.
Пример конкретного выполнения 1.
Фазовращатель СВЧ выполнен в монолитно интегральном исполнении на полупроводниковой подложке из арсенида галлия толщиной, равной 0,1 мм, с использованием классической тонкопленочной технологии.
Две линии передачи, предназначенные для входа сигнала СВЧ 1 и для выхода 2, выполнены с одинаковыми волновыми сопротивлениями, равными 50 Ом, что соответствует ширине проводников 0,08 мм.
Полевые транзисторы с барьером Шотки 3 и 4 соответственно имеют напряжение отсечки Uотс., равное -2,5 В.
Индуктивности 5 и 6 выполнены одинаковыми в виде прямоугольных спиралей из металлического проводника, выполненного напылением золота толщиной 4 мкм и шириной 20 мкм.
Емкости 7 и 8 выполнены в виде плоскопараллельных конденсаторов с диэлектрическим слоем из оксида кремния толщиной 5 мкм.
При требуемом сдвиге фаз, равным 90 градусов, величины индуктивностей 5 и 6 равны 10 нГн, величины емкостей 7 и 8 равны 1 пФ – одинаковой величины.
При этом исток первого полевого транзистора с барьером Шотки 3 соединен с линией передачи на входе 1 и с одним из концов первой индуктивности 5, а сток – через первую емкость 7 соединен с линией передачи на выходе 2 и с одним из концов второй индуктивности 6. Сток второго полевого транзистора с барьером Шотки 4 соединен с другими концами обеих индуктивностей 5 и 6 и с одним из концов второй емкости 8, а исток и другой конец второй емкости 8 заземлены. Затворы обоих полевых транзисторов с барьером Шотки 3 и 4 соединены между собой и соединены с одним источником постоянного управляющего напряжения 9.
Пример 2.
Фазовращатель СВЧ выполнен аналогично примеру 1, но величины индуктивностей равны 7,5 нГн, а емкости 7 и 8 выполнены разной величины 1 и 1,5 пФ соответственно.
Это соответствует требуемому сдвигу фаз, равному 180 градусов.
Работа устройства
При подаче на затворы обоих полевых транзисторов с барьером Шотки 3 и 4 постоянного управляющего напряжения величиной, равной 0 В, от одного источника постоянного управляющего напряжения 9 становятся открытыми оба полевых транзистора с барьером Шотки.
В результате этого первый полевой транзистор с барьером Шотки 3 имеет малое сопротивление Zоткр.
Второй полевой транзистор с барьером Шотки 4 также имеет малое сопротивление Zоткр., но поскольку его исток заземлен, то другие концы индуктивностей 5 и 6 соединены с землей через малое сопротивление Zоткр.
В результате получается П-образное соединение первой емкости 7 и двух индуктивностей 5 и 6, расположенных по обе стороны указанной емкости 7.
Такое соединение в виде фильтра верхних частот реализует в фазовращателе СВЧ величину фазы сигнала СВЧ Ф1.
При подаче на затворы обоих полевых транзисторов с барьером Шотки 3 и 4 отрицательного управляющего напряжения, превышающего по абсолютной величине напряжение отсечки полевого транзистора с барьером Шотки Uотс., оба полевых транзистора с барьером Шотки будут закрыты.
При этом первый полевой транзистор с барьером Шотки 3 имеет большое сопротивление Zзакр., что равносильно разрыву цепи с первой емкостью 7.
Второй полевой транзистор с барьером Шотки 4 также имеет большое сопротивление Zзакр. и, следовательно, будет мало влиять на величину второй емкости 8, другой конец которой заземлен.
В результате получается Т-образное соединение второй емкости 8 и двух индуктивностей 5 и 6, расположенных по обе стороны указанной емкости 8.
Такое соединение в виде фильтра нижних частот реализует в фазовращателе СВЧ величину фазы сигнала СВЧ Ф2.
Таким образом, в предложенном фазовращателе СВЧ реализуется заданная величина изменения фазы сигнала СВЧ, равная разности Ф2 и Ф1 при подаче на затворы обоих полевых транзисторов с барьером Шотки отрицательного и нулевого постоянного управляющего напряжения соответственно от одного источника постоянного управляющего напряжения.
На образцах фазовращателя СВЧ были измерены величины изменения фазы сигнала, величины модуля коэффициента отражения и величины прямых потерь от частоты сигнала СВЧ.
Результаты изображены на фиг.3-5.
Как видно:
из фиг.3 фаза сигнала в фазовращателе СВЧ на частоте 10 ГГц составляет -10 градусов при постоянном управляющем напряжении, равном 0, и – 170 градусов при постоянном управляющем напряжении, равном – 2,5 В, так что величина изменения фазы сигнала СВЧ составляет 180 градусов. При этом неравномерность изменения фазы сигнала СВЧ составляет 10 градусов, что примерно вдвое меньше, чем у прототипа;
из фиг.4 величины модуля коэффициента отражения в фазовращателе СВЧ на частоте 10 ГГц составляют 0,07 при постоянном управляющем напряжении, равном 0, и – 0,05 при постоянном управляющем напряжении, равном -5 В, что в 1,5 раза меньше, чем у прототипа;
из фиг.5 прямые потери в фазовращателе СВЧ на частоте 10 ГГц составляют -1 дБ при постоянном управляющем напряжении, равном 0, и -1,2 дБ при постоянном управляющем напряжении, равном -2,5 В, что на 0,2 дБ ниже, чем у прототипа,
Таким образом, предложенный фазовращатель СВЧ позволит по сравнению с прототипом:
во-первых, улучшить характеристики фазовращателя СВЧ, а, именно
– снизить неравномерность изменения фазы сигнала СВЧ в рабочей полосе частот примерно вдвое,
– снизить величины модуля коэффициента отражения в 1,5 раза,
– снизить величины прямых потерь на 0,2 дБ;
во-вторых, упростить конструкцию и снизить массогабаритные характеристики.
Указанные преимущества фазовращателя СВЧ особенно актуальны при создании миниатюрных как отдельных приборов СВЧ и, особенно в монолитно интегральном исполнении, так и радиоэлектронных устройств СВЧ различного назначения.
Источники информации
1. Гассанов Л.Г., Липатов А.А., Марков В.В. Твердотельные устройства СВЧ в технике связи. – М., Радио и связь, 1998 г., стр.149.
2. Малышев В.А. Бортовые активные устройства сверхвысоких частот. – Ленинград, Судостроение, 1990 г., стр.256.
Формула изобретения
1. Фазовращатель СВЧ, содержащий две линии передачи с одинаковыми волновыми сопротивлениями, одна предназначена для входа СВЧ-сигнала, другая – для выхода, два полевых транзистора с барьером Шотки, индуктивности одинаковой величины и емкости либо разной, либо одинаковой величины, при этом одни из электродов истока и стока обоих полевых транзисторов с барьером Шотки соединены с линиями передачи либо на входе, либо на выходе, а на затворы подают постоянные управляющие напряжения, отличающийся тем, что исток первого полевого транзистора с барьером Шотки соединен с линией передачи на входе и с одним из концов первой индуктивности, а сток через первую емкость соединен с линией передачи на выходе и с одним из концов второй индуктивности, сток второго полевого транзистора с барьером Шотки соединен с другими концами обеих индуктивностей и с одним из концов второй емкости, а исток и другой конец второй емкости заземлены, а затворы полевых транзисторов с барьером Шотки соединены между собой и соединены с одним источником постоянного управляющего напряжения.
2. Фазовращатель СВЧ по п.1, отличающийся тем, что величины индуктивностей и емкостей выбирают исходя из требуемого значения сдвига фаз сигнала СВЧ.
РИСУНКИ
|