|
|
(21), (22) Заявка: 2007103392/09, 30.01.2007
(24) Дата начала отсчета срока действия патента:
30.01.2007
(46) Опубликовано: 27.03.2008
(56) Список документов, цитированных в отчете о поиске:
RU 2011241 C1, 15.04.1994. RU 2027248 C1, 20.01.1995. US 3384798 A, 21.05.1968. US 4146831 A, 23.03.1979. US 4757236 A, 12.07.1988.
Адрес для переписки:
117463, Москва, 1-й пр-д Карамзина, 1, корп.1, кв.485, В.И. Цаю
|
(72) Автор(ы):
Цай Виктор Иванович (RU), Минаев Иван Федорович (RU), Ермошин Вячеслав Анатольевич (RU)
(73) Патентообладатель(и):
Цай Виктор Иванович (RU)
|
(54) БЕЗРТУТНАЯ НАТРИЕВАЯ ЛАМПА ВЫСОКОГО ДАВЛЕНИЯ
(57) Реферат:
Изобретение относится к электротехнической промышленности, в частности, усовершенствует конструкцию газоразрядных натриевых ламп для целей общего и специального освещения. Техническим результатом является увеличение световой отдачи лампы. Безртутная натриевая лампа высокого давления содержит горелку из оптически прозрачного материала, наполненную инертным газом, натрием и цинком. Состав наполнения лампы подобран так, что для него выполняется следующее соотношение:

где – молярное отношение атомов цинка к атомам натрия в составе компонентов наполнения;
Ркс– давление ксенона в составе наполнения, кПа;
K – коэффициент пропорциональности, равный единице и имеющий размерность 1/кПа,
состав компонентов наполнения выбран следующий:
цинк от 0,23 до 92,00 мг/см3;
натрий от 0,16 до 65,40 мг/см3,
а давление ксенона составляет от 10,0 до 500,0 кПа. 1 ил., 1 табл.
Изобретение относится к электротехнической промышленности, в частности, усовершенствует конструкцию газоразрядных натриевых ламп для целей общего и специального освещения.
Известна натриевая лампа высокого давления, содержащая горелку из оптически прозрачного материала, наполненную инертным газом и амальгамой натрия, содержащую ртуть (пат. США №3384798, кл Н01j 61/00, 1971 г.).
В процессе разгорания включенная параллельно с балластным сопротивлением указанная лампа быстро нагревается, в разряд входят атомы ксенона и натрия, которые в условиях дугового разряда генерируют излучение оранжевого света. Описываемые лампы характеризуются высокой световой отдачей – до 110 лм/Вт и оранжевым цветом излучения.
Недостатком технического решения, взятого за аналог, является наличие ртути, являющейся одним из наиболее токсичных металлов.
Наиболее близкой по технической сущности является безртутная натриевая лампа высокого давления, содержащая горелку из оптически прозрачного материала, наполненную ксеноном, натрием и цинком (пат. РФ №2011241, кл Н01j 61/22, 91 г.).
Данное техническое решение, взятое за прототип, позволяет включать лампу в сеть последовательно с балластом, в горелке формируется дуговой разряд в среде инертного газа цинка и натрия, в результате чего лампа излучает оранжевый свет со световой отдачей порядка 70-80 лм/Вт.
Недостатком прототипа является то, что напряжение на лампе не поднимается достаточно высоко, что не позволяет добиться высокого уровня световой отдачи. Что же касается высокого значения напряжения на лампе, то оно пропорционально молярному отношению атомов цинка к атомам натрия, помноженному на давление ксенона, что стало известно из анализа результатов многочисленных экспериментов.
Целью предлагаемого изобретения является увеличение световой отдачи лампы.

где – молярное отношение атомов цинка к атомам натрия в составе компонентов наполнения;
Ркс – давление ксенона в кПа;
К – коэффициент пропорциональности, равный единице и имеющий размерность 1/кПа,
компоненты взяты в следующих соотношениях:
цинк – 0,23-92,00 мг/см3;
натрий – 0,16-65,40 мг/см,3
а давление ксенона выбрано от 10,0 до 500 кПа
Важным является нахождение соотношения (1) в пределах от 40,0 до 500,0.
При нахождении этого соотношения в пределах меньших, чем 40,0, снижается световая отдача ламп, что подтверждается результатами испытаний.
При нахождении этого соотношения в пределах выше, чем 500,0, резко снижается зажигание ламп в традиционной схеме, что также подтверждено результатами экспериментов.
Удельную дозировку натрия целесообразно выбирать в пределах 0,23-92,00 мг/см3.
Нижнее значение дозировки натрия определяется необходимостью иметь определенный его избыток в жидкой фазе для компенсации потерь натрия со сроком службы из-за диффузии через стенку разрядной трубки.
Верхнее значение дозировки натрия определяется отрицательным влиянием на характеристики ламп увеличенного количества загрязнения, вносимых в разрядную трубку вместе с натрием, количество которых пропорционально вводимому количеству добавок.
Удельную дозировку цинка целесообразно выбирать в пределах 0,16-65,40 мг/см3.
Дозировка цинка ниже 0,16 мг/см3 не обеспечивает существенное повышение градиента потенциала, не позволяет получить оптимальные параметры лампы и снизить напряжение зажигания до эксплуатации лампы со стандартным зажигающим устройством.
При дозировке цинка в разрядную трубку выше 65,40 мг/см3 в спектре излучения разряда появляются достаточно интенсивные линии цинка в ультрафиолетовой и синей области спектра. Что резко снижает световую отдачу.
Давление инертного газа целесообразно выбирать в пределах 10,0 до 500 кПа, т.к. при давлении меньше 10,0 кПа начинается интенсивное распыление электродов в пусковой период, а при давлении выше 500 кПа лампы трудно зажечь даже при использовании специальных зажигающих устройств с повышенной амплитудой зажигания.
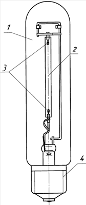
На чертеже приведена безртутная натриевая лампа высокого давления, включающая заключенную во внешнюю колбу разрядную трубку 2, на противоположных концах которой установлены электроды 3. Разрядная трубка заполнена натрием, цинком и инертным газом-ксеноном. К горлу колбы прикреплен цоколь 4.
Лампа работает следующим образом.
При включении лампы в сеть питания последовательно с балластным сопротивлением, между электродами 3 зажигается дуговой разряд. По мере вхождения в рабочий режим лампы через 5-12 мин натрий и цинк испаряются. В этих условиях генерируется излучение линий натрия и тем оно выше, чем выше молярное отношение атомов цинка к атомам натрия. Излучение цинка, при дозировке согласно заявке, незначительно. Излучают в основном атомы натрия.
Примеры конкретных исполнений ламп.
| № п/п |
Молярное отношение Zn/Na |
Количество Na и Zn |
Р, кПа |
 |
Н, лм/Вт |
| 1. |
1,0 |
Na – 11,50 мг/см3 – 23,00 мг/см3 |
150 |
150 |
60 |
| Zn – 32,70 мг/см3 – 65,40 мг/см3 |
| 2. |
0,25 |
Na – 11,50 мг/см3 – 23,00 мг/см3 |
200 |
50 |
55 |
| Zn – 16.35 мг/см3 – 32,70 мг/см3 |
| 3. |
2,0 |
Na – 11,50 мг/см3 – 23,00 мг/см3 |
500 |
1000 |
90 |
| Zn – 32,70 мг/см3 – 65,40 мг/см3 |
| 4. |
4,0 |
Na – 5,75 мг/см3 – 11,50 мг/см3 |
10 |
40 |
50 |
| Zn – 32,70 мг/см3 – 65,40 мг/см3 |
| 5. |
1,0 |
Na – 0,23-92,00 мг/см3 |
100 |
100 |
55 |
| Zn – 0,16-65,40 мг/см3 |
На практике изготовленные при этом натриевые лампы высокого давления имели весьма высокую для таких случаев световую отдачу, до 90 лм/Вт, при этом они устойчиво зажигались в традиционных схемах зажигания.
Предлагаемая лампа с горелкой от лампы ДНаТ мощностью 250 выполнена в цилиндрической колбе диаметром 48 мм из стекла марки СЛ 40-1, разрядная трубка из поликристаллической окиси алюминия.
Применение предлагаемого изобретения в производстве натриевых ламп высокого давления позволит повысить световую отдачу ламп при сохранении себестоимости лампы, что позволит увеличить спрос на лампы и при цене ламп 210 руб./шт. и годовом производстве 200 тыс. шт. получить экономический эффект в размере 1 млн. 200 тыс. руб.
Формула изобретения
Безртутная натриевая лампа высокого давления, содержащая горелку из оптически прозрачного материала, наполненную инертным газом, натрием и цинком, отличающаяся тем, что состав наполнения лампы подобран так, что для него выполняется следующее соотношение:

где – молярное отношение атомов цинка к атомам натрия в составе компонентов наполнения;
Ркс – давление ксенона в составе наполнения, кПа;
K – коэффициент пропорциональности, равный единице и имеющий размерность 1/кПа,
состав компонентов наполнения выбран следующий, мг/см3:
Цинк 0,23 – 92,00
Натрий 0,16 – 65,40,
а давление ксенона составляет от 10,0 до 500,0 кПа.
РИСУНКИ
|
|