|
|
(21), (22) Заявка: 2006108491/09, 17.03.2006
(24) Дата начала отсчета срока действия патента:
17.03.2006
(43) Дата публикации заявки: 20.10.2007
(46) Опубликовано: 27.03.2008
(56) Список документов, цитированных в отчете о поиске:
«РАДИОТЕХНИКА И ЭЛЕКТРОНИКА», обзор Виркаторы, Москва, 1922, т.2, №3, с.385-395. RU 2260870 C1, 20.09.2005. RU 2040064 C1, 20.07.1995. US 5164634 А, 17.11.1992. US 4150340 А, 17.04.1979.
Адрес для переписки:
634050, г.Томск, пр-кт Ленина, 30, Томский политехнический университет, отдел интеллектуальной собственности
|
(72) Автор(ы):
Фурман Эдвин Гугович (RU), Фурман Нагима Жанновна (RU), Степанов Андрей Владимирович (RU)
(73) Патентообладатель(и):
Государственное образовательное учреждение высшего профессионального образования “Томский политехнический университет” (RU)
|
(54) СВЧ-ГЕНЕРАТОР
(57) Реферат:
Изобретение относится к импульсной технике больших мощностей и предназначено для генерации СВЧ-колебаний гигаватного уровня мощности. Техническим результатом является повышение к.п.д. СВЧ-генератора, частоты следования импульсов и плотности энергии СВЧ-импульсов за счет фокусировки энергии в заданном объеме. СВЧ-генератор содержит вакуумную камеру-резонатор, в которой расположен анод, подключенный к положительному потенциалу импульсного источника питания, и антенну. Анод выполнен в виде плоского кольца из немагнитного материала с высокой проводимостью. Напротив анода помещен цилиндрический катод, выполненный из тонкого немагнитного материала с низкой проводимостью, под которым помещены витки плоской кольцевой катушки с плотностью укладки витков, обратно пропорциональной радиусу. Витки катушки закрыты экранами-коллекторами электронного пучка, выполненными из тонкого немагнитного материала с невысокой проводимостью. На боковой поверхности вакуумной камеры-резонатора напротив катода помещено выходное окно антенны пирамидального типа. Заземленный катод и кольцевая катушка снабжены механизмом перемещения вдоль оси симметрии СВЧ-генератора и дополнительной внутренней катушкой, запитываемой от отдельного источника питания. 1 з.п. ф-лы, 6 ил.
Изобретение относится к импульсной технике больших мощностей и предназначено для генерации СВЧ-колебаний гигаватного уровня мощности.
Известны схемы генерации СВЧ-мощности на основе приборов с виртуальным катодом (ВК) [Рухадзе А.А., Столбцов С.Д., Тараканов В.П. Виркаторы (обзор). РиЭ. 1992, вып.3, с.385-395], в которых СВЧ-излучение возникает за счет колебаний электронов пучка относительно сетки с положительным потенциалом и колебаний плотности заряда в ВК. Такие генераторы содержат импульсный источник питания, заземленный катод, анод-сетку, вакуумную камеру, одновременно выполняющую роль резонатора, антенну, геометрическая ось которой расположена перпендикулярно оси пучка электронов, так называемые отражательные триоды с ВК. Некоторые схемы виркаторов содержат соленоиды, создающие продольное магнитное поле вдоль движения электронов пучка.
Наиболее близким к предложенному решению является отражательный триод с виртуальным катодом [Рухадзе А.А., Столбцов С.Д., Тараканов В.П. Виркаторы (обзор). РиЭ. 1992, вып.3, с.385-395], в котором энергия СВЧ-колебаний накапливается в резонаторе, образует обратную связь с пучком электронов, усиливая колебания заряда в ВК и тока в пучке электронов. Энергия СВЧ-колебаний с помощью антенны выводится наружу. Длина волны СВЧ-излучения связана с периодом колебаний электронов относительно сетки. Вектор Пойтинга электромагнитной волны перпендикулярен вектору скорости электронов пучка, а электрическая составляющая СВЧ-волны поляризована по вектору скорости электронов в пучке.
Недостатком таких схем генерации является низкий к.п.д. Это связанно с тем, что электронный пучок, стартуя с заземленного катода, ускоряется в промежутке катод-анод (сетка), за сеткой тормозится, образуя ВК. В области ВК вектор скорости электронов изменит знак, они вновь ускоряются к сетке, входят в ускоряющий промежуток анод-катод и т.д. В области ВК образуется область отрицательного заряда, электронное облако (ЭО) с повышенной плотностью заряда по отношению к плотности заряда пучка электронов, образующих ЭО. Потери электронов на сетке, компенсация заряда пучка и ЭО ионами материала сетки вызывают большие потери, и к.п.д. генерации значительно меньше 50% от энергии, расходуемой на создание пучка, так как генератор является однотактным, работающим на вольтамперной характеристике электронного диода. Кроме того, такая схема генерации при больших мощностях не может работать в частотном режиме из-за разрушения анода – сетки.
Основным техническим результатом предложенного изобретения является повышение к.п.д. СВЧ-генератора, частоты следования импульсов, и плотности энергии СВЧ-импульсов (вектора Пойтинга) за счет увеличения плотности энергии в заданном объеме.
Это достигается за счет того, что излучающий контур СВЧ-генератора содержит анод, выполненный в виде плоского кольца из немагнитного материала с высокой проводимостью, под которым помещены витки плоской кольцевой катушки с плотностью укладки витков, обратно пропорциональной радиусу, причем витки катушки как снаружи, так и внутри катода закрыты экранами-коллекторами электронного пучка, выполненными из тонкого немагнитного материала с невысокой проводимостью, а на боковой поверхности вакуумной камеры-резонатора напротив катода помещены выходные окна антенн пирамидального типа. Кроме того, заземленный катод и кольцевая катушка снабжены механизмом перемещения вдоль оси симметрии СВЧ-генератора и дополнительной внутренней катушкой, запитываемой от отдельного источника питания.
Пример конкретного выполнения.
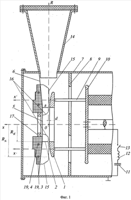
Сущность изобретения поясняется на фиг.1-6. На фиг.1 показано устройство генератора, где: 1 – кольцевой анод; 2 – катод цилиндрического типа, 3, 4 – центры ампервитков относительно оси Х‘, проходящей по центру поверхности кольцевого анода; 5, 6 – экраны-коллекторы электронного пучка; 7 – вакуумная камера-резонатор; 8 – диск с отверстиями, сквозь которые пропущены шпильки 9, удерживающие анод 1 и подключенные к защитному экрану 10 изолятора источника питания: емкостной накопитель 11, индуктивность 12, коммутатор 13; 14 – вакуумно-плотная антенна пирамидального типа с оптической осью R, которых по азимуту вакуумной камеры-резонатора 7 может быть несколько; 15, 16 – траектории электронов в ЭО; дополнительно показано RA, внешний радиус анода; RK – радиус эмиссионной кромки “а” катода, 17 – подстроечная катушка.
На фиг.2 приведено распределение магнитных полей, где 18÷18n±1 – ход силовых линий магнитного поля относительно кромки катода “а”; 19 – центры ампервитков катушек 3, 4; 20 – индуцированный катушками 3, 4 ток в материале анода 1 при их импульсном питании. На фиг.3 показаны траектории движения электронов, где 21 – траектория электрона в скрещенных электрическом Е и магнитном В (E B) полях – циклоида; 22 – линия центра тяжести заряда ЭО, дрейфующего со скоростью V=E/B и образующего ток; а 23+ – его отображение в теле анода. На фиг.4 приведены циклоиды и ларморовая окружность, где 24 – ларморовая окружность с радиусом rе; дополнительно показано Vemax – максимальная скорость электронов на вершинах циклойд VEm=2V; Be – магнитное поле дрейфующих электронов. На фиг.5 приведена кривая 25, относительно которой указан ход силовых линий На фиг.6 приведены эпюры напряжения и токов в СВЧ-генераторе: 26 – импульсное напряжение в анод-катодном промежутке; 27 – изменение заряда межэлектродной емкости анод – ЭО, пунктиром показаны эти же зависимости при холостом ходе, 28 – ток заряда ЭО (ток катода 2); 29 – импульс СВЧ-излучения (продетектированный); 30 – зона модуляции анодного напряжения (заштрихованная часть), 31 – вершина импульса тока в катушках 3, 4 создающего магнитное поле. Дополнительно указана глубина напряжения модуляции U=U1-U2.
В технике широко применяется дрейф пучка электронов в скрещенных электрическом и магнитном полях (E B), например в магнетронах, где ЭО образуется вокруг катода, находящегося под отрицательным потенциалом, а анод заземлен. При генерации СВЧ-энергии происходит преобразование потенциальной энергии eU электрона у катода за счет взаимодействия с СВЧ-волной анодных резонаторов и движения по раскручивающейся спирали в E B поле в энергию СВЧ-колебаний.
В ионном диоде с внешним магнитным полем [Фурман Э.Г., Степанов А.В., Фурман Н.Ж. Ионный диод. ЖТФ, 2007, №5, с.86-95] электронное облако образуется у радиально расположенной поверхности анода за счет замкнутого дрейфа электронов в E B, образуя катодную поверхность с электронным зарядом, имитирующим катод ионного диода. Магнитное поле у анода имеет, в основном, только радиальную составляющую. В таком ионном диоде можно накапливать плотность заряда в ЭО, не ускоряя ионы, режим холостого хода (XX). Накопленный заряд в ЭО в режиме XX при определенных условиях можно заставить колебаться и получить СВЧ-излучение. Такие условия возникают на спадающей части импульса напряжения, когда требуется выполнение условия “плоского конденсатора” C·U(t)=Q. Но из-за инерционности электронного облака с накопленным зарядом Q в магнитном поле при уменьшении U(t) должна увеличиваться емкость системы С для выполнения условия Q=const, что должно сопровождаться уменьшением расстояния между зарядами на обкладках конденсаторов, а в магнитных полях это вызывает колебания зарядов и СВЧ-излучение.
Принцип работы СВЧ-генератора основан на одновременном выполнении следующих условий. При выполнении условия, что ход силовых линий магнитного поля относительно поверхности анода с учетом всех наведенных вихревых токов при импульсном питании катушек 3, 4, 17 спадает медленнее, чем зависимость 24, например по 18, фиг.5, то при подаче импульса напряжения на анод от источника питания 11, 12, 13 электроны из взрывоэмиссионной плазмы начнут образовывать ЭО, двигаясь по разворачивающейся спирали вдоль поверхности анода. При выполнении другого условия: плотность энергии магнитного поля в три раза больше плотности энергии электростатического поля , которое связано с тем, что площадь ларморовской окружности электрона с энергией eU=2erе·Еmax, где re – ларморовый радиус, в три раза меньше площади циклоиды, описываемой этой окружностью, фиг.4, электроны начнут образовывать электронное облако, так как будут “замагничены” магнитным потоком между поверхностями магнитных линий (линий равного магнитного потенциала), например, 18n-1÷18n+1, при этом поверхность силовых линий магнитного поля 18n будет совмещена с линией центра тяжести объемного заряда ЭО (22), фиг.3, вектора средней дрейфовой скорости ЭО по азимуту вдоль поверхности анода (21) и вектора плотности тока циркулирующего облака je= e·V, где е – плотность заряда в ЭО. Циклоида разомкнутая кривая, следовательно, результирующий ток Ie=S·je, где S – площадь сечения ЭО по радиусу – виток с током у поверхности хорошо проводящего анода, образует заряд отображения и ток отображения 21+ согласно закону электростатической индукции. Заряд ЭО локализует электростатическое поле анода 1 в области: поверхность анода 1 с плотностью заряда на поверхности Ga=E· 0, где 0=8,85·10-12 Ф/м, а Е стремится к /d, где – потенциал анода, d – расстояние между поверхностной плотностью заряда на аноде и центром тяжести поверхностной плотности заряда ЭО, расположенной тоже на поверхности силовых линий 18n.
Циркулирующий в ЭО ток I создает магнитное поле Be, которое у поверхности анода совпадает с основным В и создает суммарное поле В =В+Ве. Электронное облако с зарядом Qэ=Ga·2re как бы лежит на “магнитной подушке”, которая уравновешивает силу Кулона – сила F=Q·Е. Магнитная подушка обеспечивает силу Ампера F=I×В .
С момента времени t0, фиг.6, напряжение катод-анодного промежутка изменяется по закону режима холостого хода, пунктирные кривые. До момента времени t1 в цепи источника питания протекает только емкостной ток, связанный с накоплением заряда 27 в ЭО. Затрат энергии на ускорение электронов практически нет, так как, родившись в точке “а” на катоде, где =0, фиг.1, он снова попадает по траекториям 15, 16 на коллекторы 6, 5 имеющие тот же потенциал, что и катод.
До момента времени t1 в емкости анод – электронное облако накапливается энергия в электростатическом и магнитном полях электронного резонатора (ЭР). Понятие ЭР введено [Фурман Э.Г. СВЧ приборы с виртуальным катодом. – Томск: Изд. ТПУ, 1999. – 52 с.] для объяснения принципа работы симметричного отражательного триода (СОТ) с ВК. В рассматриваемом случае ЭР тороидального типа с емкостью

и индуктивностью

с собственной частотой

где с – скорость света.
Электроны, уходящие в дрейфовое движение с эмиссионных кромок катода 2, совершают много оборотов у поверхности анода с дрейфовой скоростью V=Е/В, углубляясь в сторону анода на расстояние

где ±V0 – начальная скорость электрона в момент рождения. Считая имеем ларморовский радиус

Дрейфовая скорость электронов по радиусу определяется градиентом магнитного поля, кривой изменения индукции 18 и значительно на 102÷103 раз меньше V, так что образование электронного облака и накопление заряда требует времени (длительности фронта), а ЭО достаточно “инерционно”.
В момент времени t1, близкий к максимуму напряжения U(t), (25) рис.3, имеем “плоский” конденсатор с емкостью (1), в котором должно выполняться условие

где QЭ – накопленный в ЭО заряд. При уменьшении напряжения =U(t) на некоторую величину U для выполнения условия “плоского конденсатора” (6) при QЭ=const должна увеличиваться емкость С (1) за счет сокращения расстояния d, т.е. ЭО должно приблизиться к аноду на расстояние d. Появляются колебания заряда отображения в металле анода (конвекционные токи в резонаторах СВЧ-приборов) и за счет искажения траектории в ЭО, при этом величина заряда в ЭО не изменяется.
Возникают колебания заряда ЭО у поверхности анода на расстоянии d U/QЭ при среднем расстоянии d, которое уменьшается со временем пропорционально U(t). Колебания заряда ЭО в созданном им же электрическом потенциальном поле и наложенным на него переменным электромагнитным полем стоячей СВЧ-волны камеры резонатора 7, возбуждаемой ЭР, приводит к раскачке СВЧ-колебаний, усилению радиальных конвекционных токов на поверхности анода и в ЭО. Радиальные конвекционные токи в ЭО резко увеличивают радиальный дрейф электронов. Скорость радиального дрейфа становится сравнимой со скоростью E/V, увеличивается потребляемый ЭР ток 28 до величины, определяемой волновым сопротивлением ЭР (нагрузка)

где первый член Ом – волновое сопротивление вакуума. Соответственно, появляется мощность СВЧ-излучения, пропорциональная

Мощность СВЧ-излучения, в первую очередь, определяется глубиной модуляции анодного напряжения, которая с уменьшением абсолютного значения анодного напряжения должна возрастать. Длительность формируемого СВЧ-импульса определяется соотношением накопленной энергии в емкости 11 источника питания и излучаемой энергии, т.е. QC Р·t, естественно с учетом к.п.д. преобразования энергии. По электродинамическим характеристикам это двухтактный генератор, имеющий теоретический к.п.д. 1.
Принцип работы рассмотренного СВЧ-генератора заключается в преобразовании потенциальной энергии (Q· /2) накапливаемого (восполняемого) заряда через кинетическую энергию его движения в Е В полях в СВЧ-излучение, т.е. это прибор М-типа, как и магнетрон.
Для изменения геометрии ЭР и подстройки частот в камере-резонаторе 7 используется подстроечная катушка 17, фиг.1. Величиной тока в ней можно регулировать ход зависимости индукции от радиуса фиг.5, а следовательно, скорость радиального дрейфа движущихся в E B полях электронов ЭО, т.е. регулировать плотность заряда ЭО и его геометрию за счет значения ларморовых радиусов, фиг.4. Это возможно, так как влияние объемного заряда и вызываемых им полей сравнимо с действующими стационарными.
С помощью выходного окна и пирамидальной антенны 14, выполняющих согласующую роль между волновым сопротивлением ЭР и свободным пространством, излучение СВЧ-мощности выводится в пространство. Учитывая, что излучение ЭР в камере имеет круговую направленность СВЧ-излучения из ЭО и круговую симметрию устройства относительно оси X, выходных окон, а следовательно, антенн может быть несколько, симметрично расположенных на боковых поверхностях резонатора.
Таким образом, поставленная выше цель – повышение к.п.д., мощности, частоты следования импульсов СВЧ-излучения и повышение плотности энергии СВЧ, достигнута. Диапазон максимальных длин волн и минимальных частот легко определить из (3), а мощность СВЧ-излучения из (8) как PU2/Z. Как любой генератор, он может генерировать СВЧ-излучение в многомодовом режиме с резким понижением общего к.п.д.
Формула изобретения
1. СВЧ-генератор, содержащий вакуумную камеру-резонатор, в которой расположен анод, подключенный к положительному потенциалу импульсного источника питания, антенну, отличающийся тем, что анод выполнен в виде плоского кольца из немагнитного материала с высокой проводимостью, напротив анода у внутреннего радиуса помещен цилиндрический катод, выполненный из тонкого немагнитного материала с низкой проводимостью, под которым помещены витки плоской кольцевой катушки с плотностью укладки витков, обратно пропорциональной радиусу, причем витки катушки как снаружи, так и внутри катода, закрыты экранами-коллекторами электронного пучка, выполненными из тонкого немагнитного материала с невысокой проводимостью, а на боковой поверхности вакуумной камеры-резонатора напротив катода помещены выходные окна антенн пирамидального типа.
2. СВЧ-генератор по п.1, отличающийся тем, что заземленный катод и кольцевая катушка снабжены механизмом перемещения вдоль оси симметрии СВЧ-генератора и дополнительной внутренней катушкой, запитываемой от отдельного источника питания.
РИСУНКИ
|
|