|
|
(21), (22) Заявка: 2006137398/09, 23.10.2006
(24) Дата начала отсчета срока действия патента:
23.10.2006
(46) Опубликовано: 27.03.2008
(56) Список документов, цитированных в отчете о поиске:
RU 2260870 C1, 20.09.2005. RU 2239257 C1, 27.10.2004. RU 2168234 C1, 10.05.2000. WO 9009674 A1, 23.08.1990. WO 2006037918 A1, 13.04.2006. US 2004245932 A1, 09.12.2004.
Адрес для переписки:
607188, Нижегородская обл., г. Саров, пр. Мира, 37, ФГУП “РФЯЦ-ВНИИЭФ”, начальнику ОПИНТИ
|
(72) Автор(ы):
Птицын Борис Глебович (RU), Селемир Виктор Дмитриевич (RU), Шилин Константин Семенович (RU)
(73) Патентообладатель(и):
Российская Федерация в лице Федерального агентства по атомной энергии (RU), Федеральное государственное унитарное предприятие “Российский федеральный ядерный центр – Всероссийский научно-исследовательский институт экспериментальной физики” – ФГУП “РФЯЦ-ВНИИЭФ” (RU)
|
(54) СВЕРХВЫСОКОЧАСТОТНЫЙ ГЕНЕРАТОР НА ОСНОВЕ ВИРТУАЛЬНОГО КАТОДА
(57) Реферат:
Область техники – генерирование электромагнитных волн. Область использования – создание генераторов мощного сверхвысокочастотного (СВЧ) излучения. Сверхвысокочастотный генератор на основе виртуального катода содержит вакуумированную систему, состоящую из корпуса с установленными в нем, подключенными к внешнему источнику питания катодом и анодной сеткой, образующих диодное пространство, за которым следует секция формирования виртуального катода со средством вывода излучения. В диодном пространстве до анодной сетки, за которой формируется виртуальный катод, установлена полая диэлектрическая вставка, имеющая контакт с анодной сеткой. При распространении пучка происходит укорочение фронта импульса тока и фокусировка пучка, что ведет к повышению КПД генерации. Технический результат заключается в повышении КПД генерации СВЧ-излучения за счет усиления эффективности использования энергии электронного пучка. 1 ил.
Изобретение относится к генерации электромагнитного излучения на основе колебаний виртуального катода (ВК) и может быть использовано при создании генераторов мощного сверхвысокочастотного (СВЧ) излучения.
Известно устройство формирования сильноточного пучка электронов [1] (Крастелев Е.Г., Яблоков Б.Н. «Прохождение и фокусировка сильноточного электронного пучка в вакуумной камере с диэлектрическими стенками». Письма в ЖТФ, том 3, выпуск 15, 12 августа 1977, с.775). Устройство представляет собой вакуумную камеру, в которой установлены катод и сетчатый анод, электрически связанные с внешним источником питания. За сетчатым анодом установлена цилиндрическая металлическая камера, выполняющая функцию трубы дрейфа, внутри которой в непосредственном контакте со стенками расположена диэлектрическая трубка. При подаче на анодно-катодный промежуток импульса напряжения электроны, выходящие с катода, ускоряются в этом промежутке и инжектируются через сетчатый анод в расположенную за ним металлическую секцию с диэлектрической трубкой вдоль ее оси, формируя в трубе дрейфа сильноточный электронный пучок.
Устройство использовалось для исследования влияния диэлектрической трубки на параметры формируемого сильноточного пучка электронов. Возможности приложения установленного влияния в системах генерации сверхвысокочастотного излучения не изучались.
Наиболее близким по конструкции к заявляемому устройству является устройство генерации мощного СВЧ-излучения (СВЧ-генератор на основе ВК, называемый виркатором) [2] (Han S. Uhm, Eun H. Choi, Myung С. Choi. Forward current propagation beyond the virtual cathode formed by a high injection current. Applied Physics Letters, v.79, №7, p.913), содержащее вакуумированную систему, состоящую из корпуса с установленными в нем, подключенными к внешнему источнику питания катодом и анодной сеткой. Высоковольтное импульсное напряжение от внешнего источника питания прикладывается к анодно-катодному промежутку, образующему диодное пространство. Электронный пучок с катода ускоряется в этом промежутке, в результате инжекции электронного пучка в область за анодной сеткой (секции формирования ВК со средством вывода СВЧ-излучения) образуется виртуальный катод (ВК). В результате колебаний электронов между катодом и ВК, а также осцилляции самого ВК возникает СВЧ-излучение, выходящее через средство вывода СВЧ-излучения.
Основной недостаток данной конструкции заключается в малом КПД, связанном с неэффективным преобразованием энергии пучка электронов в энергию СВЧ-излучения.
Задачей предлагаемого изобретения является создание усовершенствованного СВЧ-генератора с повышенным КПД генерации излучения.
Техническим результатом данного решения является усиление эффективности использования энергии электронного пучка, следствием чего является повышение КПД генерации СВЧ-излучения.
Данный результат достигается тем, что в сверхвысокочастотном генераторе на основе виртуального катода, включающем вакуумированную систему, состоящую из корпуса с установленными в нем, подключенными к внешнему источнику питания катодом и анодной сеткой, образующими диодное пространство, за которым следует секция формирования виртуального катода со средством вывода излучения, новым является то, что в диодном пространстве до анодной сетки, за которой формируется виртуальный катод, установлена полая диэлектрическая вставка, имеющая контакт с анодной сеткой.
При введении полой диэлектрической вставки в диодное пространство устройства и обеспечении ее контакта с анодной сеткой, в результате взаимодействия передней части пучка с диэлектрической вставкой, электроны покидают пучок, производя ионизацию материала диэлектрика. При этом положительно заряженные ионы втягиваются в область пучка, нейтрализуя его заряд, а электроны стекают на анодную сетку. Как результат, собственное азимутальное поле пучка способствует его сжатию. Таким образом, происходит фокусировка пучка, приводящая к понижению стартового тока вследствие увеличения плотности электронов пучка и, тем самым, к увеличению длительности СВЧ-импульса. Кроме этого, на диэлектрическую поверхность попадают низкоэнергетические электроны из переднего фронта, вследствие чего фронт укорачивается. Все это способствует усилению эффективности использования энергии электронного пучка, а следовательно, КПД генерации устройства увеличивается.
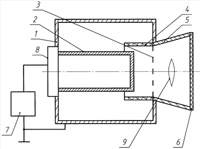
На чертеже схематически изображен СВЧ-генератор на основе виртуального катода, работающий в режиме виркатора.
Заявляемый генератор представляет собой вакуумированную систему, содержащую корпус (1), внутри которого, образуя диодное пространство, размещены катод (2) и анодная сетка (3). В диодном пространстве размещена полая диэлектрическая вставка (4), контактирующая с анодной сеткой (3). Секция формирования ВК со средством вывода излучения, следующая за анодной сеткой, ограничивающей диодное пространство, выполнена в виде рупорной антенны (5) с диэлектрическим окном (6). К катодно-анодному промежутку через высоковольтный ввод (8) прикладывается высоковольтное напряжение от внешнего источника питания (7).
В качестве источника питания (7) возможно использование генератора импульсного напряжения, выполненного, например, по схеме Аркадьева-Маркса [3] (Месяц Г.А. Генерирование мощных наносекундных импульсов. М.: Атомиздат, 1972), либо взрывомагнитного генератора с обострителем напряжения на основе электрически взрываемых проводников [4] (Асиновский Э.И., Лебедев Е.Ф., Леонтьев А.А. и др. Взрывные генераторы мощных импульсов электрического тока. М.: Наука, 2002).
Виркатор работает следующим образом. В виркаторе анодная сетка (3) заземлена. При подаче отрицательного напряжения от источника питания (7) через ввод (8) на катод (2) создается электронный пучок, инжектируемый через диодное пространство в секцию формирования ВК с образованием за анодной сеткой виртуального катода (9). СВЧ-излучение образовано колебаниями электронов в потенциальной яме между катодом (2) и виртуальным катодом (9), а также колебаниями самого виртуального катода (9). Излучение выводится через окно (6) рупорной антенны (5). Механизм взаимодействия электронного пучка с диэлектрической вставкой (4) описан выше.
В примере выполнения предложенного СВЧ-генератора на основе виртуального катода корпус, рупорная антенна выполнены из стали, анодная сетка выполнена из нихрома, катод может быть выполнен из стали (графита), диэлектрическое окно средства вывода излучения выполнено из оргстекла. Диэлектрическая вставка изготовлена из капролона и выполнена в виде полого цилиндра. Внутренние полости виркатора вакуумируются до давления остаточного газа не более 10-4 Торр.
Таким образом, благодаря усовершенствованию конструкции, позволившему добиться укорочения фронта тока и фокусировки электронного пучка, приводящей к понижению стартового тока и увеличению длительности СВЧ-импульса, удалось обеспечить усиление эффективности использования энергии электронного пучка и тем самым поднять КПД генерации СВЧ-излучения.
Формула изобретения
Сверхвысокочастотный генератор на основе виртуального катода, включающий вакуумированную систему, состоящую из корпуса с установленными в нем, подключенными к внешнему источнику питания катодом и анодной сеткой, образующими диодное пространство, за которым следует секция формирования виртуального катода со средством вывода излучения, отличающийся тем, что в диодном пространстве до анодной сетки, за которой формируется виртуальный катод, установлена полая диэлектрическая вставка, имеющая контакт с сеткой.
РИСУНКИ
|
|