|
|
(21), (22) Заявка: 2006139249/09, 07.11.2006
(24) Дата начала отсчета срока действия патента:
07.11.2006
(46) Опубликовано: 27.03.2008
(56) Список документов, цитированных в отчете о поиске:
ГОЛУБЕВ А.И. Быстродействующие автоматические выключатели, М.-Л., Энергия, 1964, с.208-211. SU 121497 А1, 01.01.1959. DE 1077309 А, 10.03.1960.
Адрес для переписки:
620017, г.Екатеринбург, Д-17, а/я 696, ООО “Технос”
|
(72) Автор(ы):
Мурадов Эльхан Шахбаба оглы (RU), Пузан Андрей Васильевич (RU), Середко Роман Евгеньевич (RU)
(73) Патентообладатель(и):
Общество с ограниченной ответственностью “Технос” (RU)
|
(54) ЭЛЕКТРОМАГНИТНЫЙ ПРИВОД ВЫКЛЮЧАТЕЛЯ АВТОМАТИЧЕСКОГО БЫСТРОДЕЙСТВУЮЩЕГО
(57) Реферат:
Изобретение относится к электротехнике, к защитной коммутационной аппаратуре. Техническим результатом является повышение быстродействия электромагнитного привода выключателя при отключении аварийных токов. Электромагнитный привод содержит магнитопровод с якорем, катушку управления, токоведущую шину и постоянный магнит для удержания якоря. Привод снабжен дополнительной токоведущей шиной с индуктивным сопротивлением, которая подключена параллельно основной токоведущей шине и расположена вне магнитного контура магнитопровода с якорем или экранирована от него. 2 ил.
Изобретение относится к электротехнике, в частности к защитной коммутационной аппаратуре, и может применяться для защиты от перегрузок и коротких замыканий электроустановок и линий постоянного тока.
Выключатели автоматические быстродействующие постоянного тока, отключающиеся при изменении магнитного потока в магнитопроводе электромагнитного привода, известны, например, из следующих источников: В.Н.Яковлев Автоматические быстродействующие выключатели. Учебно-методическое пособие для студентов специальности 101800 – Электроснабжение железных дорог, Самара, 2001 г., стр.27-30. Голубев А.И. Быстродействующие автоматические выключатели, М. – Л., Энергия, 1964 г., стр.208-211.
Наиболее близким по технической сущности к патентуемому электромагнитнитному приводу является электромагнитный привод по второму источнику.
Электромагнитный привод автоматического быстродействующего выключателя по этому источнику содержит магнитопровод с якорем, на одном сердечнике (левом) которого закреплена катушка управления, а на другом (правом) – токоведущая шина. Для удержания якоря во включенном положении служит постоянный магнит. Контактный блок содержит подвижный контакт, связанный с якорем рычагом, и неподвижный контакт. Во включенном положении магнитный поток замыкается через левую часть сердечника магнитопровода. При протекании тока короткого замыкания по шине главного тока в правом сердечнике магнитопровода создается магнитный поток, за счет которого якорь притягивается к правому сердечнику и контакты выключателя размыкаются.
Недостатком данной конструкции выключателя является то, что при отключении аварийного тока необходимо дополнительное время для создания магнитного потока, определяемого током уставки выключателя, что ограничивает быстродействие привода.
Изобретение решает задачу повышения технико-экономических показателей автоматического быстродействующего выключателя.
Технический результат, который достигается изобретением, состоит в повышении быстродействия электромагнитного привода выключателя при отключении аварийных токов.
Это достигается тем, что электромагнитный привод снабжен дополнительной токоведущей шиной с индуктивным сопротивлением, которая подключена параллельно основной токоведущей шине, при этом дополнительная токоведущая шина расположена вне магнитного контура магнитопровода с якорем или расположена в этом магнитном контуре, но экранирована от него.
Сущность изобретения состоит в том, что благодаря установке дополнительной токоведущей шины с индуктивным сопротивлением параллельно основной токоведущей шине якорь начнет движение раньше, чем аварийный ток достигнет тока уставки выключателя.
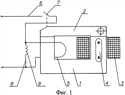
На фиг.1 показан патентуемый электромагнитный привод с дополнительной токоведущей шиной с индуктивным сопротивлением, расположенной вне магнитного контура магнитопровода с якорем; на фиг.2 – то же, с расположением дополнительной токоведущей шины с индуктивным сопротивлением в этом магнитном контуре, но экранирована от него.
Электромагнитный привод автоматического быстродействующего выключателя содержит магнитопровод 1 с якорем 2. На правом сердечнике магнитопровода расположены катушка управления 3 и постоянный магнит 4 для удержания якоря. На левом сердечнике магнитопровода расположена основная токоведуща шина 5. Основная токоведущая шина соединена последовательно с неподвижным 6 и подвижным 7 контактами автоматического быстродействующего выключателя. Якорь 2 связан с подвижным контактом 7 через узел свободного расцепления (не показан).
Электромагнитный привод снабжен дополнительной токоведущей шиной 8 с индуктивным сопротивлением 9, которая подключена параллельно основной токоведущей шине 5. На фиг.1 дополнительная токоведущая шина расположена вне магнитного контура магнитопровода 1. На фиг.2 показан вариант электромагнитного привода с расположением дополнительной токоведущей шины на левом сердечнике магнитопровода 1, то есть дополнительная токоведущая шина расположена на том же (левом) сердечнике магнитопровода 1, что и основная токоведуща шина 5. В этом случае дополнительная шина экранирована от магнитного контура магнитопровода 1 посредством магнитного экрана 10. Это исключает влияние дополнительной токоведущей шины на магнитный поток, образованный основной токоведущей шиной.
Электромагнитный привод работает следующим образом.
Для включения электромагнитного привода подается напряжение на катушку управления 3. Якорь 2 притягивается к магнитопроводу 1, неподвижный 6 и подвижный 7 контакты замыкаются, по основной и дополнительной токоведущих шинах протекает ток нагрузки, распределяясь при этом обратно пропорционально электрическому сопротивлению шин. После снятия напряжения с катушки управления 3 якорь 2 удерживается в притянутом положении посредством постоянного магнита 4.
При аварийном режиме происходит резкое увеличение тока. При этом индуктивное сопротивление 9 препятствует резкому увеличению тока в дополнительной токоведущей шине. Так как основная и дополнительная токоведущие шины соединены параллельно, происходит перераспределение тока нагрузки между шинами, а именно увеличение тока, протекающего через основную токоведущую шину, и соответственно уменьшение тока, протекающего через дополнительную токоведущую шину. Следовательно, на момент резкого возрастания тока в нагрузке происходит снижение тока уставки выключателя, что приводит к более раннему отрыву якоря от магнитопровода, раньше, чем ток в нагрузке достигнет значения тока уставки выключателя.
Таким образом, благодаря указанной установке дополнительной токоведущей шины с индуктивным сопротивлением создан электромагнитный привод с повышенным быстродействием.
Формула изобретения
Электромагнитный привод автоматического быстродействующего выключателя, содержащий магнитопровод с якорем, на котором расположена катушка управления и токоведущая шина, и постоянный магнит для удержания якоря, отличающийся тем, что электромагнитный привод снабжен дополнительной токоведущей шиной с индуктивным сопротивлением, которая подключена параллельно основной токоведущей шине, при этом дополнительная токоведущая шина расположена вне магнитного контура магнитопровода с якорем или экранирована от него.
РИСУНКИ
|
|