|
|
(21), (22) Заявка: 2006123892/06, 03.07.2006
(24) Дата начала отсчета срока действия патента:
03.07.2006
(46) Опубликовано: 27.03.2008
(56) Список документов, цитированных в отчете о поиске:
RU 2225050 C1, 27.02.2004. RU 2140108 C1, 20.10.1999. RU 2132096 C1, 20.06.1999. DE 4005805 A1, 29.08.1991.
Адрес для переписки:
164509, Архангельская обл., г. Северодвинск, пр. Машиностроителей, 12, ФГУП “НИПТБ “Онега”
|
(72) Автор(ы):
Добровенко Сергей Вячеславович (RU), Куликов Константин Николаевич (RU), Лазарев Алексей Леонидович (RU), Мишнев Александр Михайлович (RU), Низамутдинов Ринат Айратович (RU)
(73) Патентообладатель(и):
Федеральное государственное унитарное предприятие “Научно-исследовательское проектно-технологическое бюро “Онега” (RU)
|
(54) СПОСОБ ФОРМИРОВАНИЯ ТРАНСПОРТНОЙ УПАКОВКИ
(57) Реферат:
Изобретение относится к области утилизации радиоактивных объектов и может быть использовано для временного хранения и транспортировки твердых радиоактивных отходов (ТРО). Объект устанавливают на стапель, вырезают радиоактивный блок, производят перемещение незагрязненных (носового и кормового) блоков для последующей утилизации, устанавливают вертикальные защитные переборки и готовят радиоактивный блок к транспортировке и длительному хранению, в районе расположения радиоактивного блока на стапеле устанавливают основание упаковки, закрепляют на нем вертикальные переборки, производят их закрепление между собой и устанавливают крышку. Заявленное изобретение позволяет сформировать транспортную упаковку без использования специальных подъемных средств и обеспечивает безопасность при работе с радиоактивными объектами. 2 ил.
Изобретение относится к области утилизации радиоактивных объектов и может быть использовано для временного хранения и транспортировки твердых радиоактивных отходов (ТРО).
Известен способ формирования транспортной упаковки реакторного блока (патент RU 2225050, опубл 27.02.2004, кл. G21F 9/34), используемый при утилизации атомных подводных лодок (АПЛ), при котором АПЛ устанавливают на стапель, вырезают радиоактивный блок (реакторный отсек), производят перемещение незагрязненных (носового и кормового) блоков для последующей утилизации, устанавливают на радиоактивном блоке вертикальные защитные переборки и готовят радиоактивный блок к транспортировке и длительному хранению.
Этот способ наиболее близок к заявляемому изобретению и поэтому принят в качестве прототипа.
Недостатком прототипа является то, что он может применяться только для упаковки реакторного отсека АПЛ, в котором прочный корпус уже является защитой от радиоактивных излучений.
Суть заявляемого изобретения заключается в том, что в известном способе, при котором объект устанавливают на стапель, вырезают радиоактивный блок, производят перемещение незагрязненных (носового и кормового) блоков для последующей утилизации, устанавливают вертикальные защитные переборки и готовят радиоактивный блок к транспортировке и длительному хранению, в районе расположения радиоактивного блока на стапеле устанавливают основание упаковки, закрепляют на нем вертикальные переборки, производят их закрепление между собой и устанавливают крышку.
Предварительная установка защитного основания на стапеле с последующим формированием транспортной упаковки позволяет значительно уменьшить излучение радиоактивного блока, обеспечивает размещение радиоактивного блока внутри транспортной упаковки без применения специального подъемного оборудования, снижает общие трудозатраты на изолирование радиоактивного блока и обеспечивает возможность перемещения транспортной упаковки с размещенным внутри нее радиоактивным блоком с использованием стандартного оборудования (судовозного поезда).
Таким образом, можно сделать вывод о соответствии заявляемого технического решения критерию «изобретательский уровень».
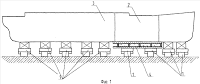
На фиг.1 изображены доковые опорные устройства 1 стапеля, на которых в районе расположения радиоактивного блока 2 объекта 3 установлено основание 4 транспортной упаковки.
На фиг.2 изображен объект после вырезки радиоактивного блока 2 и установки под незагрязненными носовым 5 и кормовым 6 блоками тележек 7.
На фиг.3 изображена установленная на тележки 7 сформированная транспортная упаковка с основанием 4, вертикальными переборками 8 и крышкой 9, с размещенным внутри нее радиоактивным блоком 2.
Способ осуществляется следующим образом:
На стапельной плите устанавливают доковые опорные устройства (ДОУ) 1. На участке стапеля в районе расположения радиоактивного блока 2 объекта 3 монтируют основание 4 транспортной упаковки. Конструкция основания выполняет функцию дополнительного барьера безопасности, (пространство между платформами основания при изготовлении заполняют наполнителями дополнительной биологической защиты). Производят установку объекта 3 на ДОУ 1, с учетом размещения радиоактивного блока на основании 4 транспортной упаковки. После установки судна на стапельную плиту вырезают радиоактивный блок 2, закатывают стапельные тележки 7, производят перемещение носового 5 и кормового 6 блоков для последующей утилизации. Затем устанавливают вертикальные переборки 8 транспортной упаковки на основании 2 и раскрепляют их между собой, устанавливают крышу 9 и подготавливают упаковку к транспортировке в объект длительного хранения.
Заявляемый способ прост в осуществлении, позволяет сформировать транспортную упаковку без использования специальных подъемных средств и обеспечивает безопасность при работе с радиоактивными объектами.
Формула изобретения
Способ формирования транспортной упаковки, при котором объект устанавливают на стапель, вырезают радиоактивный блок, производят перемещение незагрязненных (носового и кормового) блоков для последующей утилизации, устанавливают вертикальные защитные переборки и готовят радиоактивный блок к транспортировке и длительному хранению, в районе расположения радиоактивного блока на стапеле устанавливают основание упаковки, закрепляют на нем вертикальные переборки, производят их закрепление между собой и устанавливают крышку.
РИСУНКИ
PD4A – Изменение наименования обладателя патента СССР или патента Российской Федерации на изобретение
(73) Новое наименование патентообладателя:
Открытое акционерное общество «Научно-исследовательское проектно-технологическое бюро «Онега» (RU)
Адрес для переписки:
164509, Архангельская обл., г. Северодвинск, Машиностроителей пр.,12, ОАО “НИПТБ ”Онега”
Извещение опубликовано: 10.06.2008 БИ: 16/2008
|
|