|
|
(21), (22) Заявка: 2006120604/06, 13.06.2006
(24) Дата начала отсчета срока действия патента:
13.06.2006
(46) Опубликовано: 27.03.2008
(56) Список документов, цитированных в отчете о поиске:
КУЛАНДИН А.А. и др. Основы теории, конструкции и эксплуатации космических ЯЭУ, Энергоатомиздат, Ленинградское отделение, 1987, с.180. RU 2248312 С2, 20.03.2005. RU 2187156 С2, 10.08.2002. RU 2140675 C1, 27.10.1999. DE 3045421 A1, 27.08.1981.
Адрес для переписки:
115230, Москва, Электролитный пр., 1А, ФГУП “Красная Звезда”, Начальнику научно-исследовательского отдела перспективных разработок В.К. Сасиновскому
|
(72) Автор(ы):
Еремин Андрей Георгиевич (RU), Матвеев Александр Викторович (RU), Горшков Максим Александрович (RU), Солонин Виталий Евгеньевич (RU)
(73) Патентообладатель(и):
Федеральное государственное унитарное предприятие “Красная Звезда” (RU), Российская Федерация в лице Федерального агентства по атомной энергии (RU)
|
(54) КОСМИЧЕСКАЯ ЯДЕРНАЯ ЭНЕРГЕТИЧЕСКАЯ УСТАНОВКА
(57) Реферат:
Изобретение относится к ядерным энергетическим установкам и предназначено для использования в качестве источника электрической энергии космических аппаратов. Космическая ядерная энергетическая установка содержит реактор-преобразователь, радиационную защиту, раскладывающийся холодильник-излучатель с агрегатами системы теплоотвода и литием в качестве теплоносителя. Космическая ядерная энергетическая установка снабжена теплообменником. Теплоносителем в теплообменнике реактора-преобразователя служит литий, а для холодильника-излучателя – эвтектический сплав натрия-калия. Изобретение позволяет ввести с помощью теплообменника в контур раскладывающегося холодильника-излучателя теплоносителя с низкой температурой плавления, обеспечивающего с минимальными энергетическими затратами перевод его из стартового (сложенного) положения в орбитальное (разложенное) положение. 2 з.п. ф-лы, 2 ил.
Изобретение относится к ядерным энергетическим установкам (ЯЭУ), используемым в качестве источников электрической энергии космических аппаратов (КА).
Известен ряд конструкций, подобных КЯЭУ, в которых теплоносителем, отводящим тепло от реактора к холодильнику-излучателю, служат металлы, например, натрий либо эвтектические сплавы Na-K, приведенных в книге “Основы теории космических электро-реактивных двигательных установок”, О.Н.Фаворский, В.В.Фишгойт, Е.И.Янтовский. Учеб. пособие для вузов. М., «Высш. школа», 1970.
Наиболее близким техническим решением к заявленному является КЯЭУ, содержащая реактор-преобразователь, радиационную защиту, изменяющий свою геометрию перед началом функционирования холодильник-излучатель с агрегатами системы теплоотвода, в которой в качестве теплоотводящей среды используется литий – «Основы теории, конструкции и эксплуатации космических ЯЭУ» / А.А.Куландин, С.В.Тимашев, В.Д.Атамасов и др. Л.: Энергоатомиздат. Ленингр. отд-ние, 1987, 180 с.
Недостатком такой КЯЭУ является использование в контуре холодильника-излучателя лития с температурой плавления порядка 180°С, вызывающего появление в его конструкции системы разогрева для перевода лития в жидкую фазу перед развертыванием холодильника-излучателя из стартового в орбитальное положение.
Задача, на выполнение которой направлено заявленное изобретение, – обеспечить в космической ЯЭУ с литиевым теплоносителем в реакторном контуре развертывание холодильника-излучателя из стартового (сложенного) положения в орбитальное (разложенное) с минимальными энергетическими затратами и минимальными массогабаритными характеристиками.
Технический результат – нахождение теплоносителя в жидком состоянии, не препятствующем развертыванию холодильника-излучателя из стартового (сложенного) положения в орбитальное (разложенное).
Этот результат достигается тем, что КЯЭУ снабжена теплообменником, в котором теплообменной средой для реактора-преобразователя является литий, а для холодильника-излучателя – эвтектический сплав натрия-калия. Теплообменник содержит герметичный корпус, в котом расположен пакет пластин, выполненных в виде дисков с расположенными на периферии и в центре, за исключением крайнего диска, отверстиями. По торцам и контуру отверстий диски соединены попарно, формируя герметичную полость, а каналы, образованные отверстиями соединенных пластин на периферии и в центре через сильфоны, соединены с патрубками в корпусе теплообменника для подключения к трубопроводам для подачи теплообменной среды от реактора-преобразователя. Герметичный корпус теплообменника снабжен на периферии и в центральной зоне патрубками для подключения к трубопроводам для подачи Na-K к холодильнику излучателю, который снаружи омывает пакет пластин с протекающим в них литием. Теплообменник размещен в плоскости, перпендикулярной оси ЯЭУ, вблизи легкого компонента радиационной защиты, например, на заднем днище радиационной защиты из гидрида лития. Теплообменник на периферии снабжен фланцем, герметично соединенным с задним днищем защиты, образуя между ним и плоской стенкой теплообменника герметичную емкость, соединенную трубопроводом с газовой полостью компенсационного бака контура эвтектического сплава Na-K.
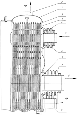
Заявленное изобретение поясняется чертежами. На фиг.1 приведена конструктивная схема теплообменника ЯЭУ, на фиг.2 изображено его размещение на ЯЭУ.
Предлагаемая ЯЭУ содержит теплообменник пластинчатого типа, в котором тепло от прошедшего реактор-преобразователь лития передается эвтектическому сплаву Na-K, сбрасывающему далее тепло через холодильник-излучатель. Теплообменник (фиг.1) содержит герметичный корпус 1 с расположенным в нем пакетом пластин 2, на которых происходит передача тепла от лития к сплаву Na-K. Они выполнены в виде дисков 3 с отверстиями 4 и 5, расположенными на периферии и в центре, за исключением одного из них – крайнего. Диски посредством сварки соединены попарно торцами и по контуру отверстий, формируя герметичную полость, а каналы, образованные отверстиями соединенных пластин на периферии и в центре через сильфоны 6 и 7, состыкованы с патрубками в корпусе теплообменника для подключения к трубопроводам для подачи теплообменной среды от реактора-преобразователя. Герметичный корпус теплообменника снабжен на периферии и в центральной зоне патрубками 8 и 9 для подсоединения к трубопроводам контура холодильника-излучателя с Na-K, который снаружи омывает пакет пластин с протекающим в них литием. Таким образом, в теплообменнике создан противоток теплоносителей, обеспечивающий максимальный между ними теплообмен. Корпус теплообменника 1 (фиг.2) размещен в плоскости, перпендикулярной оси КЯЭУ, вблизи легкого компонента радиационной защиты 10, например, на заднем днище радиационной защиты из гидрида лития. На периферии теплообменника выполнен фланец 11, герметично соединенный с фланцем 12 защиты, образуя между задним днищем радиационной защиты и плоской стенкой теплообменника замкнутую емкость. Трубопроводом 13 она соединена с газовой полостью компенсационного бака контура холодильника-излучателя. Тем самым выравнивается давление в контуре Na-K и сформированной газовой емкости между теплообменником и радиационной защитой. Этим достигается разгрузка плоской стенки теплообменника и соответственно снижение его массы.
Представленная КЯЭУ функционирует следующим образом. Введенный вместо Li в контур холодильника-излучателя Na-K с низкой температурой плавления – 11°С позволяет сохранить теплоноситель в жидкой фазе без специальной системы разогрева с минимальными энергетическими затратами и тем самым обеспечить функционирование шарнирно-сильфонных узлов, предназначенных для герметичного соединения коллекторов разворачивающихся панелей холодильника-излучателя. Одновременно круговая форма теплопередающих пластин и ориентация их перпендикулярно потоку ионизирующего излучения снижает поток энергии гамма-квантов, идущих с реактора-преобразователя на космический аппарат.
Формула изобретения
1. Космическая ядерная энергетическая установка, содержащая реактор-преобразователь, радиационную защиту, раскладывающийся холодильник-излучатель с агрегатами системы теплоотвода и литием в качестве теплоносителя, отличающаяся тем, что она снабжена теплообменником, в котором теплоносителем для реактора-преобразователя служит литий, а для холодильника-излучателя – эвтектический сплав натрия-калия.
2. Установка по п.1, отличающаяся тем, что теплообменник содержит герметичный корпус, в котором расположен пакет пластин, выполненных в виде дисков с расположенными на периферии и в центре, за исключением крайнего диска, отверстиями, причем диски по торцам и контуру отверстий соединены попарно, формируя герметичную полость,
а каналы, образованные отверстиями соединенных пластин на периферии и в центре, через сильфоны соединены с патрубками в корпусе теплообменника для подключения к трубопроводам для подачи лития от реактора-преобразователя,
при этом герметичный корпус теплообменника снабжен на периферии и в центральной зоне патрубками для подключения к трубопроводам для подачи сплава Na-K к холодильнику излучателю, который снаружи омывает пакет пластин с протекающим в них литием.
3. Установка по п.1, отличающаяся тем, что теплообменник размещен в плоскости, перпендикулярной оси установки вблизи легкого компонента радиационной защиты, например, на заднем днище радиационной защиты из гидрида лития, при этом на периферии установлен фланец, соединенный с фланцем защиты посредством сварки, образуя между задним днищем радиационной защиты и плоской стенкой теплообменника герметичную емкость, соединенную трубопроводом с газовой полостью компенсационного бака контура холодильника-излучателя.
РИСУНКИ
|
|