|
(21), (22) Заявка: 2006105198/28, 06.08.2004
(24) Дата начала отсчета срока действия патента:
06.08.2004
(30) Конвенционный приоритет:
11.08.2003 (пп.1-9) JP 2003-290989
(43) Дата публикации заявки: 27.08.2007
(46) Опубликовано: 27.03.2008
(56) Список документов, цитированных в отчете о поиске:
JP 6-267408 А, 22.09.1994. JP 2002-005810 А, 09.01.2002. US 5811017 А, 22.09.1998. RU 2180726 С1, 20.03.2002.
(85) Дата перевода заявки PCT на национальную фазу:
20.02.2006
(86) Заявка PCT:
JP 2004/011351 (06.08.2004)
(87) Публикация PCT:
WO 2005/015570 (17.02.2005)
Адрес для переписки:
129010, Москва, ул. Б. Спасская, 25, стр.3, ООО “Юридическая фирма Городисский и Партнеры”, пат.пов. Ю.Д.Кузнецову, рег.№ 595
|
(72) Автор(ы):
КОБАЯСИ Даи (JP), КАВАКАЦУ Хидеки (JP)
(73) Патентообладатель(и):
ДЖАПАН САЙЕНС ЭНД ТЕКНОЛОДЖИ ЭЙДЖЕНСИ (JP)
|
(54) ЗОНД ДЛЯ ЗОНДОВОГО МИКРОСКОПА С ИСПОЛЬЗОВАНИЕМ ПРОЗРАЧНОЙ ПОДЛОЖКИ, СПОСОБ ИЗГОТОВЛЕНИЯ ЗОНДА И УСТРОЙСТВО ЗОНДОВОГО МИКРОСКОПА
(57) Реферат:
Изобретение относится к зонду для зондового микроскопа с использованием прозрачной подложки, в котором кантилевер может быть оптически возбужден и измерен, и к способу изготовления зонда, и к зондовому устройству микроскопа. Зондовый микроскоп имеет зонд, снабженный одним или несколькими кантилеверами (1202, 1204) на одной поверхности каждой из прозрачных подложек (1201, 1203), при этом прозрачные подложки образованы из материала, прозрачного для видимого света или света ближнего инфракрасного диапазона, кантилеверы поддерживаются на предварительно определенных расстояниях от поверхностей и сформированы из тонкой пленки. Прозрачная подложка (1201) разобщает среды внутренней стороны и наружной стороны контейнера и выполняет функцию смотрового окна, обеспечивающего возможность оптического наблюдения и измерения. Кантилеверы (1202, 1204) могут оптически наблюдаться или измеряться со стороны задних поверхностей прозрачных подложек (1201, 1203) и могут быть оптически возбуждены. Прозрачная подложка (1201) содержит оптическую линзу как часть подложки. 3 н. и 6 з.п. ф-лы, 29 ил.
Область техники, к которой относится изобретение
Настоящее изобретение относится к зонду для зондового микроскопа с использованием прозрачной подложки, в котором кантилевер может быть оптически возбужден и измерен, к способу изготовления зонда и к зондовому устройству микроскопа.
Уровень техники
Атомно-силовой микроскоп, сканирующий туннельный микроскоп и аналогичные собирательно называют зондовым микроскопом. Хотя имеется такой зондовый микроскоп, как сканирующий туннельный микроскоп, в котором туннельный ток обнаруживается непосредственно, без использования кантилевера, устройство зондового микроскопа согласно настоящему изобретению относится к зондовому микроскопу, в котором использован зонд, имеющий кантилевер.
На фиг.1 содержатся перспективные виды, на каждом из которых показан традиционный зонд зондового микроскопа. На фиг.1(А) показан зонд, имеющий треугольный кантилевер, а на фиг.1(В) показан зонд, имеющий прямоугольный кантилевер.
На фиг.1(А) треугольный кантилевер 2302 выступает от основания 2301 зонда, а на свободном конце кантилевера предусмотрен наконечник 2303 зонда. На фиг.1(В) прямоугольный кантилевер 2305 выступает от основания 2304 зонда, а на свободном конце кантилевера предусмотрен наконечник 2306 зонда.
Основание зонда используют для манипулирования с зондом или для прикрепления зонда к устройству зондового микроскопа, и длина основания составляет приблизительно несколько миллиметров. Длина кантилевера составляет приблизительно от 100 до нескольких сотен микрометров, а толщина его составляет приблизительно несколько микрометров.
Ниже в качестве примера будет кратко описана работа атомно-силового микроскопа.
В атомно-силовом микроскопе величина атомной силы может быть получена путем обнаружения изгиба кантилевера, которая вызывается механическим взаимодействием (атомной силой) между наконечником зонда и образцом, или изменения резонансной частоты кантилевера. Атомно-силовой микроскоп представляет собой устройство, посредством которого отображается увеличенное изображение поверхности образца, исследуемой с использованием атомной силы, которая регистрируется при сканировании поверхности образца.
Кроме того, когда, например, наконечник зонда вышеупомянутого атомно-силового микроскопа заменяют на наконечник зонда, выполненный из ферромагнитного материала, может быть измерено состояние намагниченности образца. Поэтому путем замены наконечника зонда или аналогичного элемента может быть получен зондовый микроскоп, которым измеряют различные физические величины.
Для обнаружения силы путем использования кантилевера наиболее часто используют оптический рычаг.
На фиг.2 показано применение зонда при использовании оптического рычага, изображенного выше.
На этой фиг. основание 2401 зонда прикреплено к устройству зондового микроскопа. Наконечник 2403 зонда предусмотрен на свободном конце кантилевера 2402, который выдается от основания 2401 зонда, а образец 2404 размещен в устройстве зондового микроскопа. Когда кантилевер 2402 изгибается под действием силы, действующей между наконечником 2403 зонда и образцом 2404, оптический рычаг используют для обнаружения изменения угла кантилевера, вызванного этим изгибом. Лазерное излучение 2405 падает на заднюю поверхность кантилевера 2402, а направление лазерного излучения 2406, отраженного от указанной поверхности, обнаруживается фотодиодом 2407. В фотодиоде 2407 предусмотрены два чипа, прилегающих друг к другу, и поскольку отношение выходных токов двух чипов изменяется в соответствии с положением лазерного пятна, положение лазерного пятна может быть обнаружено. В тех случаях, когда расстояние от кантилевера 2402 до фотодиода 2407 увеличивают до приблизительно нескольких сантиметров, небольшое изменение угла кантилевера 2402 может быть увеличено и обнаружено.
На фиг.3 представлен вид в поперечном сечении, который иллюстрирует взаимное расположение образца и зонда.
На указанной фиг. позицией 2501 обозначено основание зонда, а позицией 2502 обозначен кантилевер зонда. Когда образец 2503 имеет волнистую форму или расположен наклонным образом, зонд 2501 и образец 2503 могут, что является недостатком, приходить в соприкосновение друг с другом даже при ином положении, чем положение наконечника 2505 зонда. Для исключения этого неблагоприятного соприкосновения установочный угол 2504 зонда 2501 часто задают с отклонением приблизительно на 10° относительно образца 2503.
Когда сила, действующая между наконечником зонда и образцом, имеет нелинейный характер, происходит изменение резонансной частоты кантилевера. Для обнаружения этого изменения необходимо обнаружить изменение резонансной частоты с помощью вибрации кантилевера. В случае, описанном выше, помимо способа с использованием оптического рычага также может быть применен способ, которым скорость отраженного света обнаруживают путем использования доплеровского сдвига.
На фиг.4 показано применение традиционного зонда при использовании лазерного доплеровского измерителя скорости.
На этой фиг. лазерный свет 2603, проходящий через оптическую систему 2602, отражается от задней поверхности кантилевера 2601 и возвращается в лазерный доплеровский измеритель скорости (непоказанный) снова через оптическую систему 2602.
Патентный документ 1: публикация №6-267408 заявки на патент Японии (стр.3 и 4 и фиг.1).
Непатентный документ 1: Andres M.V., Foulds K.W.H. and Tudor J., “Optical activation of a silicon vibrating sensor”, Electronics Letters 9th October, 1986, vol. 22, №21.
Непатентный документ 2: Hane K., Suzuki K., “Self-excited vibration of self-supporting thin film caused by laser irradiation”, Sensors and Actuators, A51 (1996), 176-182.
Сущность изобретения
Однако в соответствии со структурой известного зонда, описанного выше, когда образец помещают в вакуум, жидкость или в среду токсичного газа или в среду с высокой температурой или со сверхнизкой температурой (в дальнейшем эти упомянутые выше среды собирательно называются специфической средой), то необходимо, чтобы оптическая система была помещена в ту же самую специфическую среду, что и образец, или чтобы оптическая система была размещена в воздухе, тогда как зонд помещен в ту же самую специфическую среду, что и образец, и чтобы оптические измерения выполнялись через смотровое окно.
На фиг.5 показан схематический разрез устройства, используемого в случае, когда оптический рычаг помещен в вакуумную среду.
На этой фиг. позицией 2705 обозначены вакуумный контейнер и уплотнительные прокладки, а во внутренней части 2704 контейнера создано разрежение. Образец 2702 и зонд 2701 помещены в вакуумную среду, и образец 2702 расположен на механизме 2703 трехмерного сканирования. Источник 2707 лазерного света и фотодиод 2708, которые образуют оптический рычаг, помещены в вакуумную среду. Регулирование оптического рычага осуществляют путем регулирования положения источника 2707 лазерного света. В этом случае источник 2707 лазерного света установлен так, что его можно плавно и точно перемещать посредством точного механизма 2709 трехмерного привода. Поскольку источник 2707 лазерного света и точный механизм 2709 трехмерного привода помещены в вакуумную среду, для регулирования отраженного света лазерного пятна так, чтобы он падал на центр фотодиода 2708, то направление источника 2707 лазерного света регулируют путем приведения в действие точного механизма 2709 трехмерного привода, используя механическое или электрическое средство 2710, при контроле выходного тока фотодиода 2708 с помощью измерительного устройства (устройства отображения) 2711. На этом этапе положение лазерного пятна в некоторых случаях можно наблюдать визуально незащищенными глазами через смотровое окно 2706; однако по сравнению со случаем, когда вся оптическая система размещена в воздухе, регулировка является трудной. В частности, когда лазерное пятно не падает на зонд 2701 или фотодиод 2708 и когда эта ситуация не может контролироваться незащищенными глазами, измерительное устройство (устройство отображения) 2711 не может быть использовано, и в результате затрачивается значительно большее время на регулировку.
Как описано выше, хотя вся оптическая система может быть помещена в вакуумную или газовую среду, но предпочтительно не помещать оптические компоненты в жидкую среду, в высокотемпературную среду и т.п. Далее со ссылками на фиг.6 и 7 будут описаны два примера, в которых оптические компоненты размещены в воздухе.
На фиг.6 представлен схематический вид в поперечном разрезе устройства, в котором оптический рычаг образован через смотровое окно.
На этой фиг. позицией 2805 обозначены контейнер и уплотнительные прокладки, а внутренняя сторона 2804 контейнера находится в специфической среде, такой как вакуум, токсичный газ, жидкость, среда при сверхнизкой температуре или при высокой температуре.
Образец 2802 и зонд 2801 помещены в вышеупомянутую специфическую среду, а образец 2802 расположен на механизме 2803 трехмерного сканирования. С другой стороны, источник 2807 лазерного света и фотодиод 2808 расположены в воздухе и образуют оптический рычаг через смотровое окно 2806. Поскольку в описанной выше структуре свет преломляется смотровым окном 2806, то, когда смотровое окно 2806 деформируется вследствие разности давлений или температур между внутренней стороной и наружной стороной устройства, оптическим рычагом также неблагоприятно обнаруживается эта деформация. Вышеупомянутая проблема может быть устранена при уменьшении площади смотрового окна 2806 и увеличении его толщины; однако становится трудно осуществлять наблюдение за внутренней стороной 2804 устройства и в дополнение к этому также становится трудно заменять зонд 2801 через открытый участок, образующийся, когда стеклянную пластину смотрового окна 2806 удаляют.
На фиг.7 представлен схематический разрез устройства, в котором оптический элемент доплеровского измерителя скорости предусмотрен в воздухе.
На этой фиг. позицией 2905 обозначены контейнер и уплотнительные прокладки, а внутренняя сторона 2904 контейнера находится в специфической окружающей среде, такой как вакуум, токсичный газ, жидкость, среда при сверхнизкой температуре или при высокой температуре. Образец 2902 и зонд 2901 помещены в специфическую среду, а зонд 2902 расположен на механизме 2903 трехмерного сканирования. Через смотровое окно 2906 фокус объектива 2907 оптического микроскопа наводят на заднюю поверхность кантилевера зонда 2901 и с помощью этого объектива 2907 определяют скорость кантилевера, используя доплеровский измеритель скорости (непоказанный). Поскольку фокусное расстояние уменьшается при использовании объектива 2907, имеющего большее увеличение, то для повышения увеличения необходимо, чтобы расстояние 2908 между задней поверхностью кантилевера и объективом 2907 было как можно меньшим. Однако если принять во внимание механизм установки зонда 2901, то окажется, что нелегко уменьшить расстояние 2908 до 5 мм или меньше. В частности, когда внутренняя сторона находится в вакуумной среде, к смотровому окну 2906 прикладывается давление, и поэтому требуется, чтобы толщина окна была увеличена или чтобы площадь его была уменьшена. Однако при уменьшении площади становится трудно осуществлять наблюдение за внутренней стороной 2904 устройства и в дополнение к этому также становится трудно заменять зонд 2901 через образующееся отверстие, когда стеклянную пластину смотрового окна 2906 удаляют. Кроме того, при использовании толстого материала нельзя уменьшить расстояние 2908.
Если суммировать проблемы, описанные выше, то с зондовым микроскопом, предназначенным для наблюдения в соответствии с традиционной технологией образца, помещаемого в специфическую среду, связаны следующие проблемы:
(1) При помещении оптической системы в специфическую среду вместе с образцом устройство неизбежно становится сложным, а его размеры также неизбежно возрастают; следовательно, юстировка оптической системы становится трудной.
(2) В устройстве, в котором оптическая система размещена в воздухе и в котором образец и зонд помещены в специфическую среду, смотровое окно, предусмотренное между зондом и оптической системой, может уменьшать степень свободы при проектировании оптической системы или в некоторых случаях может обуславливать оптическую деформацию.
(3) Зонд, помещенный в специфическую среду, нелегко заменять.
(4) Нелегко осуществлять оптическое наблюдение или измерение большого числа кантилеверов.
С учетом ситуаций, описанных выше, задача настоящего изобретения заключается в создании зонда для зондового микроскопа, способа изготовления зонда и устройства зондового микроскопа, при этом в зондовом микроскопе используется зонд, имеющий кантилевер, сформированный на поверхности оптически прозрачной подложки, которая является небольшой по размеру и которая характеризуется повышенной точностью в добавление к функции смотрового окна.
Для решения задач, описанных выше, в настоящем изобретении предусматривается следующее.
[1] Зонд для зондового микроскопа с использованием прозрачной подложки содержит по меньшей мере один кантилевер, который выполнен из тонкой пленки и который поддерживается на одной поверхности (передней поверхности) прозрачной подложки с предварительно определенным зазором от нее, при этом прозрачная подложка образована из материала, прозрачного для видимого света или света ближнего инфракрасного диапазона, и несет функцию смотрового окна, которое обеспечивает возможность оптического наблюдения и измерения и в то же время разобщение сред внутренней стороны и наружной стороны контейнера. Поэтому через заднюю поверхность прозрачной подложки кантилевер может оптически наблюдаться или измеряться или может быть оптически возбужден.
[2] В зонде для зондового микроскопа с использованием прозрачной подложки, описанной выше [1], микролинза может быть образована как часть прозрачной подложки, так что свету, используемому для оптического наблюдения или измерения кантилевера или для оптического возбуждения его, обеспечивается возможность конвергирования на задней поверхности кантилевера посредством микролинзы.
[3] В зонде для зондового микроскопа с использованием прозрачной подложки, описанной выше [1], передняя поверхность прозрачной подложки может быть слегка наклонена по отношению к ее задней поверхности, чтобы предотвратить интерференцию между светом, отражаемым от передней поверхности прозрачной подложки, и светом, отражаемым от ее задней поверхности.
[4] В зонде для зондового микроскопа с использованием прозрачной подложки, описанной выше [1], прозрачная подложка может быть также использована в качестве четвертьволновой пластинки.
[5] В зонде для зондового микроскопа с использованием прозрачной подложки, описанной выше [1], кантилеверу может быть предоставлена возможность иметь внутреннее напряжение, так что зазор между кантилевером и прозрачной подложкой постепенно увеличивается от неподвижного участка кантилевера к свободному его концу.
[6] Способ изготовления зонда для зондового микроскопа с использованием прозрачной подложки содержит этапы, при выполнении которых формируют кантилевер из тонкой пленки монокристаллического кремния КНД-подложки (со структурой типа «кремний на диэлектрике»), соединяют заднюю поверхность КНД-подложки со стеклянной подложкой и удаляют технологическую пластину и скрытую оксидную пленку КНД-подложки.
[7] В способе изготовления зонда для зондового микроскопа с использованием прозрачной подложки, описанном выше [6], может дополнительно содержаться этап, на котором формируют наконечник зонда на свободном конце кантилевера путем жидкостного травления.
[8] Устройство зондового микроскопа содержит зонд для зондового микроскопа с использованием прозрачной подложки согласно одному из пунктов с [1] по [5] выше, а в устройстве зондового микроскопа деформация или вибрационная характеристика кантилевера, которая обусловлена взаимодействием с образцом, измеряется оптически через заднюю поверхность прозрачной подложки.
[9] В устройстве зондового микроскопа согласно пункту [8] выше деформация или вибрационная характеристика кантилевера может быть определена по изменению интенсивности отраженного света, вызванному оптической интерференцией, которая возникает между кантилевером и прозрачной подложкой.
[10] В устройстве зондового микроскопа согласно пункту [8] выше для создания вибрации кантилевер может облучаться через заднюю поверхность прозрачной подложки светом, имеющим интенсивность, изменяющуюся на частоте, которая совпадает с резонансной частотой кантилевера.
[11] В устройстве зондового микроскопа согласно пункту [8] выше кантилевер может облучаться светом, имеющим постоянную интенсивность, через заднюю поверхность прозрачной подложки с тем, чтобы создать самовозбуждающуюся вибрацию в кантилевере.
Чтобы реализовать по обычной технологии устройство зондового микроскопа, используемое для наблюдения и измерения образца, помещенного в специфическую среду, для выполнения оптического наблюдения или измерения во внутренней части контейнера, которая находится в специфической среде, обязательно предусматривают смотровое окно, выполненное из прозрачного материала, и в то же время разобщают среды внутренней стороны и наружной стороны контейнера. Наблюдение или измерение зонда или образца должно выполняться через смотровое окно, описанное выше. Кроме того, когда оптические свойства являются первоочередными, необходимо, чтобы оптический компонент, источник лазерного света, фотодиод или аналогичные элементы были помещены в специфическую среду.
В отличие от этого,
(1) согласно изобретению, охарактеризованному в пункте 1 формулы изобретения, поскольку зонд несет функцию смотрового окна, в котором кантилевер может оптически наблюдаться или измеряться через заднюю поверхность оптической подложки, могут быть выполнены оптическое наблюдение и измерение, тогда как среды внутренней стороны и наружной стороны контейнера разобщены самим зондом. В результате структура устройства упрощается и достигается его миниатюризация.
Кроме того, поскольку кантилевер непосредственно установлен на передней поверхности прозрачной подложки, расстояние от задней поверхности прозрачной подложки до кантилевера и образца может быть минимизировано, так что для оптического микроскопа может быть использован объектив с большим увеличением по сравнению с объективом устройства зондового микроскопа согласно известной технологии.
В дополнение к этому, поскольку положение кантилевера на прозрачной подложке четко определено, юстировка оптической системы может быть легко выполнена. Кроме того, в результате этого площадь прозрачной подложки может быть уменьшена до минимально необходимой. Даже в случае, когда смотровое окно устройства согласно известной технологии уменьшают насколько возможно, диаметр его все же составляет приблизительно 2 см; однако при прозрачной подложке зонда согласно настоящему изобретению диаметр может быть уменьшен до нескольких миллиметров. Поэтому, когда давление внутри контейнера такое же, как давление с наружной стороны, толщину прозрачной подложки можно уменьшить по сравнению с толщиной прозрачной подложки известного смотрового окна и, следовательно, для микроскопа может быть использован объектив, имеющий большее увеличение.
Поскольку площадь прозрачной подложки уменьшается, деформация ее, вызванная разностью давлений и/или разностью температур между наружной стороной и внутренней стороной контейнера, снижается, а поскольку толщина прозрачной подложки уменьшается, то влияние деформации на свет, проходящий через прозрачную подложку, может быть снижено.
Кроме того, зонд может быть заменен вместе с прозрачной подложкой, следовательно, по сравнению с известной технологией замена может быть выполнена легко. В дополнение к этому может быть использован зонд, имеющий большое число кантилеверов, поскольку дополнительные кантилеверы получены с минимизированном допуском, и в этом случае, поскольку углы всех кантилеверов выставлены определенным образом, повторная юстировка оптической системы может быть легко выполнена.
В дополнение к этому, поскольку положения и углы всех кантилеверов выставлены определенным образом, то даже в случае зонда, имеющего очень большое число кантилеверов, легко создать устройство зондового микроскопа, в котором измерения выполняются одновременно при использовании всех кантилеверов или в котором измерения выполняются при использовании выбранного кантилевера. К тому же устройство зондового микроскопа настоящего изобретения, в котором измерение выполняется при выборе кантилевера путем использования оптического сканера, не может быть легко образовано с помощью известной технологии.
(2) В соответствии с изобретением, охарактеризованным в пункте 2 формулы изобретения, такая деталь оптической системы, как объектив, может быть опущена, поскольку используется зонд, имеющий микролинзу.
(3) Когда прозрачная подложка имеет две поверхности, параллельные друг другу, в некоторых случаях может происходить интерференция. То есть поскольку падающий свет, отраженный на передней поверхности прозрачной подложки, и падающий свет, отраженный на ее задней поверхности, проходят в одном и том направлении, то может происходить интерференция. Интерференция может вызывать погрешности результатов оптических измерений.
С другой стороны, согласно пункту 3 формулы изобретения, поскольку передняя поверхность прозрачной подложки слегка наклонена по отношению к ее задней поверхности, падающий свет, отраженный от передней поверхности прозрачной подложки, и падающий свет, отраженный от ее задней поверхности, проходят в различных направлениях, и, следовательно, интерференция не происходит.
(4) В соответствии с пунктом 4 формулы изобретения в оптическом способе, в котором падающий свет и выходящий свет направляются по различным световым путям посредством расщепителя луча, нет необходимости включать в оптическую систему четвертьволновую пластинку. В частности, когда используют зонд, выполняющий функции микролинзы, охарактеризованной в пункте 4 формулы изобретения, и четвертьволновой пластинки, охарактеризованной в пункте 4 формулы изобретения, оптическая система может быть существенно упрощена по сравнению с оптической системой устройства зондового микроскопа согласно известной технологии, а размеры устройства зондового микроскопа могут быть значительно уменьшены.
(5) Когда кантилевер, который параллелен подложке, используют для измерения наклонного образца или образца с шероховатой поверхностью, угловой участок образца в некоторых случаях может приходить в соприкосновение с подложкой. С другой стороны, согласно пункту 5 формулы изобретения, поскольку кантилевер искривляется вниз относительно подложки, то невероятно, что иная часть, чем наконечник зонда, будет приходить в соприкосновение с подложкой при измерении наклонного образца или образца с шероховатой поверхностью.
(6) В соответствии с пунктом 6 формулы изобретения процесс можно упростить, используя соединение. Кроме того, чтобы после соединения образовался зазор между кантилевером и прозрачной подложкой, монокристаллический кремний КНД-подложки заранее обрабатывают с тем, чтобы она имела различные толщины, или заранее образуют выемку в подложке, так что вышеупомянутый процесс может быть облегчен. Когда соединение не используют, необходимо тем же самым способом обработать нижнюю сторону кантилевера или сформировать временный слой, и, следовательно, процесс становится сложным. Когда прозрачную подложку под кантилевером протравливают фтористоводородной или аналогичной кислотой, протравленная поверхность не может быть изготовлена плоской, и это вызывает затруднения, когда кантилевер оптически наблюдается или измеряется через заднюю поверхность прозрачной подложки.
Кроме того, кантилевер, выполненный из монокристаллического кремния, имеет преимущества в том, что число дефектов небольшое, а значение добротности высокое; однако способ предварительного образования временного слоя под кантилевером нелегко осуществлять, когда монокристаллический кремний используют в качестве материала для кантилевера. Причина этого заключается в том, что кремний должен быть выращен эпитаксией на временном слое.
(7) Согласно пункту 7 формулы изобретения вследствие анизотропии кристаллической структуры тонкой пленки монокристаллического кремния наконечника зонда может быть без повреждения сформирована на свободном конце кантилевера, а острота свободного конца наконечника мало зависит от точности литографии.
(8) Поскольку в способе измерения деформации кантилевера используется интерференция света, то он включает в себя традиционную технологию, при которой может происходить интерференция между кантилевером и торцевой поверхностью оптического волокна. Однако в соответствии со способом должны осуществляться позиционирование оптического волокна и кантилевера и регулировка зазора между ними. С другой стороны, согласно изобретению, охарактеризованному в пункте 9 формулы изобретения, регулировка не требуется, поскольку зазор между кантилевером и прозрачной подложкой задается при формировании зонда.
(9) Согласно изобретению, охарактеризованному в пункте 10 формулы изобретения, когда атомная или аналогичная сила, действующая на кантилевер, измеряется по изменению резонансной частоты, кантилевер может быть оптически возбужден путем модуляции интенсивности облучающего света, и пьезоэлектрический элемент для возбуждения не требуется.
Кроме того, когда пьезоэлектрический элемент помещается в очень низкотемпературную или высокотемпературную среду, свойства его могут изменяться, или в некоторых случаях пьезоэлектрический элемент не может быть использован. Однако в соответствии с изобретением, охарактеризованным в пункте 10 формулы изобретения, вышеупомянутая проблема вообще не возникает, поскольку может быть выполнено оптическое возбуждение. Следовательно, для возбуждения, создаваемого светом, не нужны провода, а размер устройства может быть значительно снижен. Кроме того, когда используется зонд, имеющий большое число кантилеверов, то при использовании их трудно избирательно возбудить пьезоэлектрическим элементом только один кантилевер, а весь зонд будет возбужден неэффективно. И наоборот, при использовании возбуждения светом в сочетании с оптическим сканером, может быть возбужден только кантилевер, используемый на данный момент.
(10) В соответствии с изобретением, охарактеризованным в пункте 11 формулы изобретения, в случае, когда возбуждение осуществляют облучением светом, имеющим постоянную интенсивность, могут быть достигнуты следующие преимущества в дополнение к эффекту, эквивалентному эффекту, относящемуся к устройству зондового микроскопа по пункту 10 формулы изобретения.
Даже если резонансная частота каждого кантилевера неизвестна, вибрационные характеристики могут быть получены просто путем анализа оптически обнаруженной вибрации, которая создается путем самовозбуждения. Кроме того, в случае, когда используется зонд, имеющий очень большое число кантилеверов, все кантилеверы могут быть возбуждены на соответствующих резонансных частотах путем облучения всего зонда светом для возбуждения. Далее свет, возвращающийся от всего зонда, принимается фотодетектором и преобразуется в электрические сигналы, за которым следует простой анализ с использованием анализатора спектра, в результате которого могут быть получены вибрационные характеристики всех кантилеверов.
Краткое описание чертежей
На чертежах:
фиг.1 – перспективные виды, каждый из которых иллюстрирует известный из уровня техники зонд зондового микроскопа;
фиг.2 – вид, иллюстрирующий применение зонда при использовании известного из уровня техники оптического рычага;
фиг.3 – вид в поперечном сечении, иллюстрирующий известное из уровня техники взаимное расположение образца и зонда;
фиг.4 – вид, иллюстрирующий применение зонда при использовании известного из уровня техники лазерного доплеровского измерителя скорости;
фиг.5 – вид, иллюстрирующий один пример структуры зондового микроскопа согласно известной из уровня техники технологии;
фиг.6 – вид, иллюстрирующий один пример структуры зондового микроскопа согласно известной из уровня техники технологии;
фиг.7 – вид, иллюстрирующий один пример структуры зондового микроскопа согласно известной из уровня техники технологии;
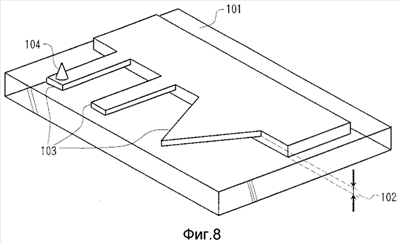
фиг.8 – перспективный вид, иллюстрирующий зонд из первого варианта осуществления согласно настоящему изобретению;
фиг.9 – перспективный вид зонда из первого варианта осуществления настоящего изобретения, при этом зонд имеет очень большое число кантилеверов;
фиг.10 – перспективный вид с местным разрезом, иллюстрирующий зонд из второго варианта осуществления согласно настоящему изобретению;
фиг.11 – перспективный вид с местным разрезом, иллюстрирующий другой пример зонда из второго варианта осуществления согласно настоящему изобретению;
фиг.12 – виды в поперечном сечении, иллюстрирующие структуру зонда из третьего варианта осуществления согласно настоящему изобретению;
фиг.13 – виды в поперечном сечении, каждый из которых иллюстрирует структуру зонда из четвертого варианта осуществления согласно настоящему изобретению;
фиг.14 – виды в поперечном сечении, иллюстрирующие структуру зонда из пятого варианта осуществления согласно настоящему изобретению;
фиг.15 – виды в поперечном сечении, каждый из которых иллюстрирует состояние, в котором образец исследуется кантилевером, показанным на фиг.14;
фиг.16 – иллюстрация этапов (часть 1) изготовления зонда из шестого варианта осуществления согласно настоящему изобретению;
фиг.17 – иллюстрация этапов (часть 2) изготовления зонда из шестого варианта осуществления согласно настоящему изобретению;
фиг.18 – перспективные виды, каждый из которых иллюстрирует этап формирования наконечника зонда, принадлежащий зонду из седьмого варианта осуществления согласно настоящему изобретению;
фиг.19 – виды структур, каждый из которых иллюстрирует зонд из восьмого варианта осуществления согласно настоящему изобретению;
фиг.20 – схематический вид (часть 1), иллюстрирующий устройство зондового микроскопа из девятого варианта осуществления согласно настоящему изобретению;
фиг.21 – схематический вид (часть 2), иллюстрирующий устройство зондового микроскопа из девятого варианта осуществления согласно настоящему изобретению;
фиг.22 – виды, каждый из которых иллюстрирует принцип работы зондового микроскопа из девятого варианта осуществления согласно настоящему изобретению;
фиг.23 – схематический вид (часть 3), иллюстрирующий устройство зондового микроскопа из девятого варианта осуществления согласно настоящему изобретению;
фиг.24 – перспективные виды, каждый из которых иллюстрирует зонд, имеющий очень большое число кантилеверов, согласно примеру осуществления;
фиг.25 – схематический вид (часть 4), иллюстрирующий устройство зондового микроскопа из девятого варианта осуществления согласно настоящему изобретению;
фиг.26 – схематический вид (часть 5), иллюстрирующий устройство зондового микроскопа из девятого варианта осуществления согласно настоящему изобретению;
фиг.27 – виды для иллюстрации принципа возбуждения вибрации кантилевера устройства зондового микроскопа из десятого варианта осуществления согласно настоящему изобретению;
фиг.28 – схематический вид, иллюстрирующий устройство зондового микроскопа из десятого варианта осуществления согласно настоящему изобретению; и
фиг.29 – вид для иллюстрации способа возбуждения кантилевера устройства зондового микроскопа из одиннадцатого варианта осуществления согласно настоящему изобретению.
Предпочтительный вариант осуществления изобретения
Зонд для зондового микроскопа с использованием прозрачной подложки имеет по меньшей мере один кантилевер, который выполнен из тонкой пленки и который поддерживается на одной поверхности (передней поверхности) прозрачной подложки с предварительно определенным зазором относительно нее, при этом прозрачная подложка выполнена из материала, прозрачного для видимого света или света ближнего инфракрасного диапазона, зонд выполняет функцию смотрового окна, обеспечивающего возможность выполнения оптического наблюдения и измерения и в то же время разобщение сред внутренней стороны и наружной стороны контейнера, в результате чего кантилевер может быть оптически наблюдаемым или измеряемым или может быть оптически возбуждаемым через заднюю поверхность прозрачной подложки.
Первый вариант осуществления изобретения
Ниже будет подробно описан вариант осуществления настоящего изобретения.
На фиг.8 представлен перспективный вид, иллюстрирующий зонд из первого варианта осуществления согласно настоящему изобретению (соответствующий пункту 1 формулы изобретения). Для удобства при последующем описании вариантов осуществления поверхность подложки, на которой предусматривается кантилевер, называется передней поверхностью, а поверхность подложки, на которой кантилевер не предусматривается, называется задней поверхностью.
Как показано на этой фиг., на передней поверхности подложки, выполненной из материала, прозрачного для видимого света или света ближнего инфракрасного диапазона, то есть оптически прозрачной подложки (в дальнейшем называемой просто «прозрачной подложкой») 101, на предварительно определенном расстоянии 102 от передней поверхности прозрачной подложки 101 поддерживаются кантилеверы 103, выполненные из тонкой пленки. При необходимости на свободном конце кантилевера 103 расположен наконечник 104 зонда, выполненный из соответствующего материала. Например, в случае атомно-силового микроскопа материал для этого наконечника 104 зонда включает в себя такой материал, как кремний, оксид кремния или нитрид кремния, а в случае магнитно-силового микроскопа такой материал, как железо, никель, кобальт или сплав. Как показано на фиг., кантилевер 103 может иметь различные формы, например прямоугольную или треугольную.
В некоторых случаях число кантилеверов 103 на одну подложку может быть равно одному, а в других случаях может быть равно более чем одному.
На фиг.9 представлен перспективный вид зонда из первого варианта осуществления согласно настоящему изобретению, имеющего очень большое число кантилеверов. На передней поверхности подложки 201, выполненной из материала, прозрачного для видимого света или света ближнего инфракрасного диапазона, очень большое число кантилеверов 202 поддерживается на предварительно определенном расстоянии от передней поверхности подложки 201.
В соответствии с зондами, показанными на фиг.8 и 9, через заднюю поверхность прозрачной подложки 101 или 201 можно осуществлять оптическое наблюдение кантилеверов, можно определять степень деформации или резонансную частоту кантилеверов или можно возбуждать кантилеверы, используя оптическое возбуждение.
Второй вариант осуществления изобретения
На фиг.10 представлен перспективный вид с местным разрезом, иллюстрирующий зонд из второго варианта осуществления согласно настоящему изобретению (соответствующий пункту 2 формулы изобретения).
Как показано на этой фиг., на задней поверхности прозрачной подложки 301 предусмотрены микролинзы 302, и каждая оптическая ось 303 совпадает с задней поверхностью (поверхностью, которая не снабжена наконечником зонда) кантилевера 304. С помощью этих микролинз 302 световые лучи, используемые для оптического наблюдения, измерения и возбуждения кантилевера 304, могут быть конвергированы на его заднюю поверхность. Микролинзы 302 могут быть образованы путем обработки того же самого материала, что и материал для прозрачной подложки 301, или могут быть образованы путем использования фоторезиста или прозрачного полимера.
На фиг.11 представлен перспективный вид с местным разрезом, иллюстрирующий другой пример зонда из второго варианта осуществления согласно настоящему изобретению.
На этой фиг. на передней поверхности прозрачной подложки 401 предусмотрены микролинзы 402, и каждая оптическая ось 403 совпадает с задней поверхностью кантилевера 404. С помощью этих микролинз 402 световые лучи, используемые для оптического наблюдения, измерения и возбуждения кантилевера 404, могут быть конвергированы на его заднюю поверхность.
Благодаря структуре, описанной выше, часть оптической системы зондового микроскопного устройства может быть опущена.
Третий вариант осуществления изобретения
Фиг.12 включает в себя сечения, иллюстрирующие структуру зонда из примера 3 согласно настоящему изобретению (соответствующего пункту 3 формулы изобретения). На фиг.12(А) показан вариант, когда передняя поверхность и задняя поверхность прозрачной подложки не параллельны друг другу, а на фиг.12(В) показан вариант, когда две поверхности прозрачной подложки параллельны друг другу, и это представлено с целью сравнения.
Как описано выше, на фиг.12(А) на передней поверхности 503 прозрачной подложки 501 предусмотрен кантилевер 502. Передняя поверхность 503 прозрачной подложки 501 не является параллельной ее задней поверхности 504, а слегка отклонена. То есть, задняя поверхность 504 имеет угол (относительно передней поверхности 503 (относительно горизонтальной плоскости).
С другой стороны, на фиг.12(В) кантилевер 509 предусмотрен на передней поверхности 510 прозрачной подложки 508. Передняя поверхность 510 прозрачной подложки 508 параллельна ее задней поверхности 511. На этих фиг. позициями 505 и 512 обозначен падающий свет, позициями 506 и 513 обозначен отраженный свет, который отражается от передних поверхностей 503 и 510 соответственно, и позициями 507 и 514 обозначен отраженный свет, который отражается от задних поверхностей 504 и 511 соответственно.
Как показано на фиг.12(В), когда передняя поверхность 510 прозрачной подложки 508 и ее задняя поверхность 511 параллельны друг другу, направления прохождения отраженного света 513 и 514 в результате падающего света 512 являются одинаковыми, следовательно, между ними возникает интерференция.
С другой стороны, как показано на фиг.12(А), когда передняя поверхность 503 прозрачной подложки 501 и ее задняя поверхность 504 не являются параллельными друг другу, направление прохождения отраженного света 506 в результате падающего света 505, отражаемого от передней поверхности 503 прозрачной подложки 501, отличается от направления прохождения света отраженного света 507 в результате падающего света 505, отражаемого от задней поверхности 504, следовательно, между ними интерференция не возникает.
Четвертый вариант осуществления изобретения
Фиг.13 включает в себя сечения, каждое из которых иллюстрирует структуру зонда из четвертого варианта осуществления согласно настоящему изобретению (соответствующего пункту 4 формулы изобретения). На фиг.13(А) показан вариант, когда четвертьволновая пластинка 601 для света, имеющего предварительно определенную длину волны, используется в качестве прозрачной подложки, а на фиг.13(В) показан случай, когда четвертьволновая пластинка 606 для света, имеющего предварительно определенную длину волны, приклеена к прозрачной подложке 605.
В этом варианте осуществления из-за свойств четвертьволновой пластинки, связанных с направлением поляризации (которое предполагается перпендикулярным к плоскости бумаги) падающего света 603 или 608, имеющего вышеупомянутую предварительно определенную длину волны и линейно поляризованного, направление поляризации света 604 или 609, отраженного на кантилевере 602 или 607 соответственно, поворачивается на 90° (параллельно плоскости бумаги).
Пятый вариант осуществления изобретения
Фиг.14 включает в себя сечения, иллюстрирующие структуру зонда из пятого варианта осуществления согласно настоящему изобретению (соответствующего пункту 5 формулы изобретения). На фиг.14(А) представлено сечение зонда из пятого варианта осуществления согласно настоящему изобретению, а на фиг.14(В) представлено сечение, иллюстрирующее зонд, в котором отсутствует внутреннее напряжение, этот зонд показан для сравнения.
Как показано на фиг.14(В), кантилевер 708, не имеющий внутреннего напряжения, параллелен передней поверхности 707А прозрачной подложки. Что касается зазора между передней поверхностью 707А и кантилевером 708, то зазор 709 в окрестности основания кантилевера 708 равен зазору 710 в окрестности свободного его конца. С другой стороны, как показано на фиг.14(А), в зонде, снабженном кантилевером 702, который имеет внутреннее напряжение и который предусмотрен на передней поверхности 701А прозрачной подложки 701, растягивающее напряжение действует на переднюю поверхность 705 кантилевера 702 относительно его задней поверхности 706. Следовательно, кантилевер 702 отклоняется кверху, а зазор между передней поверхностью 701А прозрачной подложки 701 и кантилевером 702 постепенно возрастает от зазора 703 в окрестности основания кантилевера до зазора 704 в окрестности свободного его конца.
Способ изготовления кантилевера, имеющего внутреннее напряжение, включает в себя, например, способ, включающий в себя этапы формирования кантилевера, имеющего двухслойную структуру, выполненную из кремния или нитрида кремния, и затем удаление временного слоя с тем, чтобы кантилевер отклонился посредством формирования внутреннего напряжения в нитриде кремния, или способ, в котором материал осаждают на кантилевер, показанный на фиг.14(В), который уже сформирован, при этом материал способен создавать внутреннее напряжение в кантилевере. В качестве альтернативы примеси, создающие внутреннее напряжение, могут быть введены в кантилевер с его передней поверхности.
Фиг.15 включает в себя виды в сечении для иллюстрации состояний, в каждом из которых образец исследуется с помощью кантилевера, показанного на фиг.14. На фиг.15(А) показано состояние, в котором существенно волнистый и наклонный образец исследуется с помощью кантилевера, показанного на фиг.14(А), имеющего внутреннее напряжение, а на фиг.15(В) показано состояние, в котором существенно волнистый и наклонный образец исследуется с помощью кантилевера, показанного на фиг.14(В), не имеющего внутреннего напряжения.
На вышеупомянутых фиг. каждой из позиций 803 и 807 обозначен существенно волнистый и наклонный образец, каждой из позиций 801 и 805 обозначена прозрачная подложка, позицией 802 обозначен кантилевер, не имеющий внутреннего напряжения, и позицией 806 обозначен кантилевер, имеющий внутреннее напряжение.
Как можно видеть из фиг., в соответствии со структурой, показанной на фиг.15(В), в случае, когда наконечник зонда сканирует по образцу 803, прозрачная подложка 801 может войти в соприкосновение с угловым участком 804 образца 803. В противоположность этому в соответствии со структурой, показанной на фиг.15(А), невероятно, что прозрачная подложка войдет в соприкосновение с образцом 807.
Шестой вариант осуществления изобретения
На фиг.16 показаны этапы (часть 1) изготовления зонда из шестого варианта осуществления согласно настоящему изобретению (соответствующие пункту 6 формулы изобретения). В этом варианте осуществления для обеспечения зазора между кантилевером и подложкой обработку осуществляют на стороне кантилевера.
(1) Сначала, как показано на фиг.16(А), изготавливают КНД-подложку 901 (со структурой типа «кремний на диэлектрике»). На этой фиг. позицией 904 обозначена технологическая пластина, позицией 903 обозначена скрытая оксидная пленка и позицией 902 обозначен тонкопленочный слой монокристаллического кремния.
(2) Далее, как показано на фиг. 16(В-1) и 16(В-2: перспективный вид), выполняют обработку тонкопленочного слоя 902 монокристаллического кремния для уменьшения толщины части слоя 902, и вышеупомянутую часть дополнительно обрабатывают для сформирования кантилеверов 905 и 906. Другую часть тонкопленочного слоя 902 монокристаллического кремния, которая не была обработана и имеет первоначальную толщину, используют в качестве крепежного участка 907 для прикрепления кантилеверов к прозрачной подложке.
(3) Далее, как показано на фиг.16(С), после поворота «вверх дном» КНД-подложку 901 присоединяют на крепежном участке 907 к прозрачной подложке 909. Например, когда боросиликатное стекло (стекло пирекс (зарегистрированная торговая марка)) используют в качестве материала для прозрачной подложки 909, присоединение может быть выполнено с помощью анодной сварки.
(4) Далее, как показано на фиг.16(D-1) и 16(D-2: перспективный вид), скрытую оксидную пленку 903 и технологическую пластину 904 КНД-подложки 901 удаляют травлением, так что получают зонд, в котором кантилеверы 905 и 906, выполненные из тонкопленочного слоя 902 монокристаллического кремния, поддерживаются с зазором 910 относительно передней поверхности прозрачной подложки 909.
На фиг.17 показаны этапы (часть 2) изготовления зонда из шестого варианта осуществления согласно настоящему изобретению (соответствующего пункту 6 формулы изобретения). В этом варианте осуществления для получения зазора между кантилеверами и подложкой обработку выполняют как на стороне кантилеверов, так и на стороне подложки.
(1) Сначала, как показано на фиг.17(А), изготавливают КНД-подложку 1001. На этой фиг. позицией 1004 обозначена технологическая пластина, позицией 1003 обозначена скрытая оксидная пленка и позицией 1002 обозначен тонкопленочный слой монокристаллического кремния.
(2) Далее, как показано на фиг. 17(В-1) и 17(В-2: перспективный вид), часть тонкопленочного слоя 1002 монокристаллического кремния обрабатывают с тем, чтобы сформировать кантилеверы 1005 и 1006. Другую часть тонкопленочного слоя 1002 монокристаллического кремния, которая не была обработана, используют в качестве крепежного участка 1007 для прикрепления кантилеверов к прозрачной подложке.
(3) Далее, как показано на фиг.17(С), после поворота «вверх дном» КНД-подложку 1001 присоединяют на крепежном участке 1007 к прозрачной подложке 1009. Например, когда боросиликатное стекло (стекло пирекс (зарегистрированная торговая марка)) используют в качестве материала для прозрачной подложки 1009, присоединение может быть выполнено с помощью анодной сварки. Предварительно в этой прозрачной подложке 1009 образуют выемку 1010.
(4) Далее, как показано на фиг. 17(D-1) и 17(D-2: перспективный вид), скрытую оксидную пленку 1003 и технологическую пластину 1004 КНД-подложки 1001 удаляют травлением, так что получают зонд, в котором кантилеверы 1005 и 1006, выполненные из тонкопленочного слоя 1002 монокристаллического кремния, поддерживаются с зазором 1010 относительно передней поверхности прозрачной подложки 1009, при этом зазор 1010 соответствует глубине выемки 1010.
Седьмой вариант осуществления изобретения
Фиг.18 включает в себя перспективные виды, иллюстрирующие этапы формирования наконечника зонда, относящегося к зонду из седьмого варианта осуществления согласно настоящему изобретению (соответствующие пункту 7 формулы изобретения). На каждом из этих увеличенных видов показан только свободный конец треугольного кантилевера (такого, как кантилевер 906 или 1006) или выступающий свободный конец кантилевера.
(1) Сначала, как показано на фиг.18(А), свободный конец 1101 кантилевера выполняют из тонкой пленки монокристаллического кремния и формирование его осуществляют способом изготовления из шестого варианта осуществления. Необходимо, чтобы эта тонкая пленка монокристаллического кремния было образована из плоскости (100) и чтобы свободный конец 1101 кантилевера был ориентирован в направлении <110>. Боковые поверхности 1102 и заднюю поверхность (соответствующую задней плоскости бумаги) этого кантилевера защищают пленкой нитрида кремния или пленкой оксида кремния. Для образования указанной пленки можно осадить пленку на весь кантилевер, после чего протравить верхнюю поверхность, или может быть использована пленка, осажденная после этапов, показанных на фиг.16(В) или 17(В).
(2) Далее, как показано на фиг.18(В), осуществляют жидкостное травление, используя водный щелочной раствор, и толщину кантилевера уменьшают до получения заданной толщины. Благодаря этому этапу возникает плоскость (111) 1103, начинающаяся от свободного конца 1101 кантилевера.
(3) Далее, как показано на фиг.18(С), удаляют пленку оксида кремния или пленку нитрида кремния, защищающую боковые поверхности и заднюю поверхность, и получают наконечник зонда, имеющий острый свободный конец 1104.
После выполнения вышеупомянутых этапов путем низкотемпературного термического оксидирования на поверхности формируют оксид кремния, после чего удаляют его, используя фтористоводородную кислоту, в результате чего свободный конец наконечника зонда может быть выполнен более острым.
Восьмой вариант осуществления изобретения
Фиг.19 включает в себя виды, на каждом из которых показана структура зонда из восьмого варианта осуществления согласно настоящему изобретению (соответствующего пункту 8 формулы изобретения). На фиг.19(А) представлен перспективный вид зонда, имеющего один кантилевер, на фиг.19(В) представлен перспективный вид зонда, имеющего несколько кантилеверов, и на фиг.19(С) представлен вид сбоку зондов, упомянутых выше.
Этот зонд используется в качестве зонда для устройства зондового микроскопа, показанного на фиг.20 и 21, который будет описан позднее.
На фиг.19(А) позицией 1201 обозначена дисковидная прозрачная подложка и позицией 1202 обозначен один кантилевер, предусмотренный на передней поверхности прозрачной подложки 1201.
На фиг.19(В) позицией 1203 обозначена дисковидная прозрачная подложка и позицией 1204 обозначены несколько кантилеверов 1204, предусмотренных на передней поверхности прозрачной подложки 1203.
Зонды, изображенные на фиг.19(А) и 19(В), представляют собой зонды, описанные в одном из вышеупомянутых вариантов осуществления, с первого по пятый.
В соответствии со структурой, показанной выше, сам зонд может быть использован в качестве смотрового окна, и хотя среды с наружной стороны и внутри контейнера разобщены самим зондом, может быть осуществлено оптическое наблюдение и измерение кантилевера. В результате структура устройства упрощается, и может быть достигнута его миниатюризация.
В дополнение к этому, поскольку кантилевер установлен непосредственно на передней поверхности прозрачной подложки, расстояние от задней поверхности ее до кантилевера и до образца может быть уменьшено до минимально необходимого. В результате для оптического микроскопа может быть использован объектив, имеющий высокое увеличение по сравнению с объективом для устройства зондового микроскопа в соответствии с известной технологией.
Девятый вариант осуществления изобретения
На фиг.20 представлен схематический вид (часть 1) устройства зондового микроскопа из девятого варианта осуществления согласно настоящему изобретению (соответствующего пункту 9 формулы изобретения).
В зависимости от физической величины, подлежащей определению (такой, как атомная сила или магнитная сила), и от свойств образца (например, очень мягкого или имеющего значительную шероховатость) кантилевер и наконечник зонда, используемых в этом варианте осуществления, образуют из соответствующего материала с соответствующими размерами.
В этом варианте осуществления показан зондовый микроскоп, в котором деформацию или вибрационную характеристику кантилевера определяют оптически через заднюю поверхность зонда с помощью оптического рычага. В некоторых случаях зонд 1305, используемый в этом варианте осуществления, может иметь один кантилевер, показанный на фиг.19(А), а в других случаях может иметь несколько кантилеверов, показанных на фиг.19(В). Позицией 1301 обозначены контейнер и уплотнительные прокладки, и в некоторых случаях внутренняя часть 1302 контейнера может быть в специфической среде. Образец 1303 расположен на механизме 1304 трехмерного точного перемещения. После прохождения через прозрачную подложку зонда 1305 лазерный свет 1315, исходящий от источника 1314 лазерного света, отражается на задней поверхности кантилевера 1307, и отраженный свет 1317 снова проходит через прозрачную подложку с тем, чтобы образовать лазерное пятно на двухэлементном фотодиоде 1316.
Кроме того, при наличии устройства индикации изображений кантилевера 1307 и образца 1303 на мониторе 1309 изображений с помощью отображающего элемента 1308 и оптической линзы 1313 на мониторе 1309 изображений можно контролировать изображение 1312 кантилевера 1307, изображение 1310 образца 1303 и изображение 1311 лазерного пятна.
При использовании зонда, описанного в примере 4, четвертьволновая пластинка (непоказанная) не является необходимой. Чтобы кантилевер 1307 вибрировал, на зонде 1305 могут быть закреплены пьезоэлектрический элемент, электрод или аналогичные элементы или при необходимости зонд 1305 может быть установлен на пьезоэлектрическом элементе или на аналогичном элементе.
На фиг.21 представлен схематический вид (часть 2), иллюстрирующий устройство зондового микроскопа из девятого варианта осуществления согласно настоящему изобретению (соответствующее пункту 9 формулы изобретения).
Будет описан один пример варианта осуществления зондового микроскопа, в котором используется зонд, описанный в первом или втором варианте осуществления, и в котором деформация или вибрационная характеристика кантилевера измеряется оптически лазерным доплеровским измерителем скорости через заднюю поверхность этого зонда.
Зонд 1405, используемый в этом варианте осуществления, в некоторых случаях может иметь один кантилевер, показанный на фиг.19(А), а в других случаях может иметь несколько кантилеверов, показанных на фиг.19(В). Позицией 1401 обозначены контейнер и уплотнительные прокладки, и в некоторых случаях во внутренней части 1402 контейнера может быть специфическая среда. Образец 1403 расположен на механизме 1404 трехмерного точного перемещения. После прохождения через расщепитель 1414 луча, четвертьволновую пластинку 1416 и оптическую линзу 1413 лазерный свет, исходящий от лазерного доплеровского измерителя 1415 скорости, отражается на задней поверхности кантилевера 1407 и после прохождения через оптическую линзу 1413, четвертьволновую пластинку 1416 и расщепитель 1414 луча лазерный свет тем самым снова возвращается в лазерный доплеровский измеритель 1415 скорости.
Кроме того, при наличии устройства индикации изображений кантилевера 1407 и образца 1403 на мониторе 1409 изображений с помощью отображающего элемента 1408 можно контролировать изображение 1412 кантилевера 1407, изображение 1410 образца 1403 и изображение 1411 лазерного пятна посредством монитора 1409 изображений.
При использовании зонда, описанного во втором варианте осуществления, в некоторых случаях оптическая линза 1413 может не быть необходимой. При использовании зонда, описанного в четвертом варианте осуществления, четвертьволновая пластинка 1416 не является необходимой.
Чтобы кантилевер 1407 вибрировал, на зонде 1405 могут быть закреплены пьезоэлектрический элемент, электроды или аналогичные элементы или при необходимости зонд 1405 может быть установлен на пьезоэлектрическом элементе или на аналогичном элементе.
Фиг.22 включает в себя виды, иллюстрирующие принцип работы зондового микроскопа из девятого варианта осуществления согласно настоящему изобретению (соответствующего пункту 9 формулы изобретения).
На фиг.22(А) представлено сечение зонда зондового микроскопа, упомянутого выше, и на передней поверхности прозрачной подложки 1501 предусмотрен кантилевер 1502. При падении на заднюю поверхность прозрачной подложки 1501 лазерный свет 1503 отражается от передней поверхности 1507 прозрачной подложки 1501 с формированием света 1505, возвращающегося вверх, и он также отражается от задней поверхности кантилевера 1502 с формированием света 1504, возвращающегося вверх. Поскольку происходит интерференция света этих двух видов, интенсивность реального света, возвращающегося вверх, изменяется в соответствии с зазором 1506 между кантилевером 1502 и прозрачной подложкой 1501. Один пример взаимосвязи между зазором 1506 и интенсивностью обратного света показан на фиг.22(В). Когда взаимосвязь между зазором 1506 и длиной волны выбирают так, чтобы максимизировать (1508) скорость изменения интенсивности обратного света, интенсивность обратного света становится приблизительно пропорциональной деформации кантилевера.
В устройстве зондового микроскопа, описываемом в девятом варианте осуществления, деформация и вибрационная характеристика кантилевера определяются путем определения вышеупомянутой интенсивности обратного света путем использования светоприемного элемента.
На фиг.23 представлен схематический вид (часть 3) устройства зондового микроскопа из девятого варианта осуществления согласно настоящему изобретению (соответствующего пункту 9 формулы изобретения).
Зонд 1605, используемый в этом варианте осуществления, в некоторых случаях может иметь один кантилевер, показанный на фиг.19(А), а в других случаях может иметь несколько кантилеверов, показанных на фиг.19(В). Позицией 1601 обозначены контейнер и уплотнительные прокладки, и в некоторых случаях внутренняя часть 1602 контейнера может быть в специфической среде. Образец 1603 расположен на механизме 1604 трехмерного точного перемещения. После того как лазерный свет, исходящий от источника 1615 лазерного света, проходит через два расщепителя 1614 луча, четвертьволновую пластинку 1617 и оптическую линзу 1613, интерференция возникает на месте между задней поверхностью кантилевера 1607 и прозрачной подложкой. Затем после прохождения снова через оптическую линзу 1613, четвертьволновую пластинку 1617 и расщепители 1614 луча обратный свет достигает светоприемного элемента 1616.
Кроме того, при наличии устройства индикации изображений кантилевера 1607 и образца 1603 на мониторе 1609 изображений с помощью отображающего элемента 1608 можно контролировать изображение 1612 кантилевера 1607, изображение 1610 образца 1603 и изображение 1611 лазерного пятна посредством монитора 1609 изображений.
Чтобы кантилевер 1607 вибрировал, на зонде 1605 могут быть закреплены пьезоэлектрический элемент, электроды или аналогичные элементы или при необходимости зонд 1605 может быть установлен на пьезоэлектрическом элементе или на аналогичном элементе.
При использовании зонда, описанного во втором варианте осуществления, в некоторых случаях оптическая линза 1613 может не быть необходимой. При использовании зонда, описанного в четвертом варианте осуществления, четвертьволновая пластинка 1617 не является необходимой.
Фиг.24 включает в себя виды, иллюстрирующие пример варианта осуществления зонда, имеющего множество кантилеверов, при этом на фиг.24(А) представлен перспективный вид зонда, имеющего множество кантилеверов, а на фиг.24(В) представлен вид сбоку зонда, имеющего очень большое число кантилеверов. Множество (например 10000) кантилеверов 1702 предусмотрено на оптически прозрачной подложке 1701.
Далее со ссылками на фиг.25 и 26 будет описан пример варианта осуществления зондового микроскопа с использованием зонда, который имеет множество кантилеверов, изображенных выше.
На фиг.25 представлен схематический вид (часть 4) устройства зондового микроскопа из девятого варианта осуществления согласно настоящему изобретению.
В этом варианте осуществления зонд 1805, показанный на фиг.24, используется в устройстве, показанном на фиг.23, и дополнительно предусмотрен оптический сканер 1817. Позицией 1801 обозначены контейнер и уплотнительные прокладки, и в некоторых случаях внутренняя часть 1802 контейнера может находиться в специфической среде. Образец 1803 расположен на механизме 1804 трехмерного точного перемещения. После прохождения через два расщепителя 1814 луча и четвертьволновую пластинку 1818 лазерный свет, исходящий от источника 1815 лазерного света, направляется в предварительно определенном направлении оптическим сканером 1817 и затем подводится через оптическую линзу 1813 к заданному кантилеверу из множества кантилеверов. Далее после прохождения снова через оптическую линзу 1813, оптический сканер 1817 и четвертьволновую пластинку 1818 лазерный свет, отраженный от вышеупомянутого кантилевера, подводится к фотодетектору 1816 через расщепители 1814 луча.
В соответствии с работой, описанной выше, может быть определена деформация или вибрационная характеристика выбранного одного кантилевера.
Кроме того, может быть предусмотрено устройство для индикации изображений кантилевера и образца 1803 на мониторе 1809 изображений с помощью отображающего элемента 1808.
Чтобы кантилевер вибрировал, на зонде 1805 могут быть закреплены пьезоэлектрический элемент, электроды или аналогичные элементы или при необходимости зонд 1805 может быть установлен на пьезоэлектрическом элементе или на аналогичном элементе.
При использовании зонда, описанного во втором варианте осуществления, в некоторых случаях оптическая линза может не быть необходимой. При использовании зонда, описанного в четвертом варианте осуществления, четвертьволновая пластинка 1818 не является необходимой.
На фиг.26 представлен схематический вид (часть 5) устройства зондового микроскопа из девятого варианта осуществления согласно настоящему изобретению.
В этом варианте осуществления зонд 1905, показанный на фиг.24, используется в устройстве, показанном на фиг.21, и дополнительно предусмотрен оптический сканер 1915. Позицией 1901 обозначены контейнер и уплотнительные прокладки, и в некоторых случаях внутренняя часть 1902 контейнера может находится в специфической среде. Образец 1903 расположен на механизме 1904 трехмерного точного перемещения. После прохождения через расщепитель 1914 луча и четвертьволновую пластинку 1916 лазерный свет, исходящий от лазерного доплеровского измерителя 1906 скорости, направляется в предварительно определенном направлении оптическим сканером 1915 и затем он подводится через оптическую линзу 1913 к заданному кантилеверу из множества кантилеверов. Далее после прохождения снова через оптическую линзу 1913, оптический сканер 1915 и четвертьволновую пластинку 1916 лазерный свет, отраженный от вышеупомянутого кантилевера, подводится к лазерному доплеровскому измерителю 1906 скорости через расщепитель 1914 луча.
В соответствии с работой, описанной выше, может быть определена деформация или вибрационная характеристика выбранного одного кантилевера.
Кроме того, может быть предусмотрено устройство для индикации изображений кантилевера и образца 1903 на мониторе 1909 изображений с помощью отображающего элемента 1908.
Чтобы кантилевер вибрировал, на зонде 1905 могут быть закреплены пьезоэлектрический элемент, электроды или аналогичные элементы или при необходимости зонд 1905 может быть установлен на пьезоэлектрическом элементе или на аналогичном элементе.
При использовании зонда, описанного во втором варианте осуществления, в некоторых случаях оптическая линза 1913 может не быть необходимой. При использовании зонда, описанного в четвертом варианте осуществления, четвертьволновая пластинка 1916 не является необходимой.
Десятый вариант осуществления изобретения
Фиг.27 включает в себя виды для иллюстрации принципа возбуждения вибрации кантилевера устройства зондового микроскопа из десятого варианта осуществления согласно настоящему изобретению (соответствующего пункту 10 формулы изобретения).
На этой фиг. позицией 2001 обозначена прозрачная подложка, а состояние показано сечением, на котором кантилевер 2002 предусмотрен на передней поверхности подложки. Как показано на фиг.27(А), когда лазерный свет 2005 направляется к кантилеверу 2002 через прозрачную подложку 2001, кантилевер 2002 нагревается и подвергается тепловому расширению при поглощении энергии этого лазерного света 2005; однако поскольку теплота, образующаяся на верхней поверхности 2003 кантилевера больше, чем теплота на нижней поверхности 2004 его, создается изгибающий момент 2006 и в результате кантилевер 2002 искривляется вниз.
Когда излучение лазерного света 2005 прекращается, как показано на фиг.27(В), кантилевер 2002 восстанавливается к исходной неизогнутой форме. Хотя искривление, описанное выше, является небольшим, можно возбудить вибрацию, включая и выключая лазерный свет 2005 так, чтобы обеспечивалась возможность совпадения его частоты с резонансной частотой кантилевера 2002. Возбуждение механической вибрации с помощью мигающего света раскрыто в непатентном документе 1, указанном выше.
На фиг.28 представлен схематический вид, иллюстрирующий устройство зондового микроскопа из десятого варианта осуществления согласно настоящему изобретению (соответствующее пункту 10 формулы изобретения).
Зонд 2105, используемый в этом варианте осуществления, в некоторых случаях может иметь один кантилевер, показанный на фиг.19(А), а в других случаях может иметь множество кантилеверов, показанных на фиг.19(В). Позицией 2101 обозначены контейнер и уплотнительные прокладки, и в некоторых случаях внутренняя часть 2102 контейнера может находиться в специфической среде. Образец 2103 расположен на механизме 2104 трехмерного точного перемещения. После прохождения через два расщепителя 2114 луча, четвертьволновую пластинку 2118 и оптическую линзу 2113, лазерный свет, исходящий от лазерного доплеровского измерителя 2115 скорости, отражается от задней поверхности кантилевера 2107 и снова проходит через оптическую линзу 2113, четвертьволновую пластинку 2118 и расщепители 2114 луча, так что лазерный свет возвращается в лазерный доплеровский измеритель 2115 скорости.
Лазерный свет, исходящий от источника 2116 лазерного света, интенсивность которого можно модулировать, используя электрический сигнал, также облучает кантилевер 2107 после прохождения через два расщепителя 2114 луча, четвертьволновую пластинку 2118 и оптическую линзу 2113. Место облучения и диаметр пятна возбуждающего лазерного света и эти же параметры для вышеупомянутого лазерного света, исходящего от лазерного доплеровского измерителя 2115 скорости, можно независимо регулировать.
Кроме того, при наличии устройства индикации изображений кантилевера 2107 и образца 2103 на мониторе 2109 изображений с помощью отображающего элемента 2108 на мониторе 2109 изображений можно контролировать изображение 2112 кантилевера 2107, изображение 2110 образца 2103, изображение 2111 лазерного пятна от лазерного доплеровского измерителя 2115 скорости и изображение 2106 лазерного пятна от возбуждающего лазерного света.
При использовании зонда, описанного во втором варианте осуществления, в некоторых случаях оптическая линза 2113 может не быть необходимой. При использовании зонда, описанного в четвертом варианте осуществления, четвертьволновая пластинка 2118 не является необходимой.
Частота модуляции интенсивности возбуждающего лазерного света определяется частотой генератора 2117 возбуждающего сигнала с частотным кодированием. При установке частоты, совпадающей с резонансной частотой кантилевера 2107, в определенной точке амплитуда вибрации снижается, поскольку резонансная частота кантилевера 2107 изменяется, и получают изменение резонансной частоты. Кроме того, используя вместо генератора 2117 возбуждающего сигнала с частотным кодированием выходной сигнал лазерного доплеровского измерителя 2115 скорости, усиленный и пропущенный через фильтр, можно сделать возможной самовозбуждающуюся вибрацию, и путем обнаружения изменения этой частоты вибрации также можно определить изменение резонансной частоты.
В варианте осуществления, описанном выше, устройство зондового микроскопа описано путем примера, в котором способ формирования вибрации кантилевера с помощью импульсного излучения осуществляется в сочетании с лазерным доплеровским измерителем скорости. В качестве альтернативы также может быть сконфигурировано устройство зондового микроскопа, в котором способ формирования вибрации кантилевера с помощью импульсного излучения сочетается с оптическим рычагом или со способом, описанным в девятом варианте осуществления.
Одиннадцатый вариант осуществления изобретения
Далее будет описан способ возбуждения кантилевера устройства зондового микроскопа из одиннадцатого варианта осуществления согласно настоящему изобретению.
Как показано на фиг.29, на подложке 2201 образована тонкопленочная структура (кантилевер) 2202, параллельная указанной подложке 2201. Когда сверху излучается лазерный свет 2204, тонкопленочная структура (кантилевер) 2202 поглощает часть света. Остальной свет проходит через тонкопленочную структуру 2202 и достигает поверхности подложки 2201. Вследствие зазора между тонкопленочной структурой 2202 и подложкой 2201 образуется структура, подобная резонатору Фабри-Перо одного типа, и формируется стоячая световая волна 2203.
Количество энергии, поглощаемой из света в тонкой пленке 2202, пропорционально амплитуде стоячей волны 2203. Когда количество света, поглощаемого в тонкой пленке 2203 на верхней стороне, отличается от количества света, поглощаемого на нижней стороне, создается изгибающий момент, так что тонкая пленка изгибается; однако поскольку имеется стоячая волна 2203, то в результате вышеупомянутого изгиба степень поглощения света также изменяется. Известно, что, когда амплитуда и положение стоячей волны 2203 удовлетворяют определенным условиям, в тонкопленочной структуре 2202 возникает самовозбуждающаяся вибрация. Это явление раскрыто в непатентном документе 2, указанном выше.
Поскольку в зонде согласно настоящему изобретению используется прозрачная подложка, то обеспечивается возможность прохождения лазерного света 2205 через прозрачную подложку с нижней стороны, показанной на фиг.29, и может возникать самовозбуждающаяся вибрация, подобная описанной выше.
Вариант осуществления устройства зондового микроскопа, в котором самовозбуждающаяся вибрация кантилевера создается путем использования этого явления, может быть получен с помощью, например, точно такого же устройства, как в варианте осуществления, показанном на фиг.23, и при соответствующем подборе интенсивности и длины волны источника 1615 лазерного света и зазора между кантилевером 1607 и прозрачной подложкой. В качестве альтернативы его можно получить с помощью варианта осуществления, примерно эквивалентного варианту осуществления изобретения, показанному на фиг.28, дополнительно заменив источник 2116 возбуждающего лазерного света на источник лазерного света, имеющего постоянную интенсивность, и подобрав соответствующим образом интенсивность и длину волну его и зазор между кантилевером 2107 и подложкой. В сочетании также может быть использован оптический рычаг.
Настоящее изобретение не ограничено вариантами осуществления, описанными выше, и в рамках сущности и объема настоящего объема могут быть осуществлены различные модификации, не выходящие за пределы настоящего изобретения.
Промышленная применимость
Настоящее изобретение может быть соответствующим образом применено в зондовом микроскопе, имеющем зонд высокой точности.
Формула изобретения
1. Зонд для зондового микроскопа с использованием прозрачной подложки, содержащий: по меньшей мере один кантилевер, который выполнен из тонкой пленки и который поддерживается на одной поверхности прозрачной подложки с предварительно определенным зазором от нее, при этом прозрачная подложка сформирована из материала, прозрачного для видимого света или света ближнего инфракрасного диапазона, выполняет функцию смотрового окна, которое обеспечивает возможность оптического наблюдения и измерения и в то же время разобщение сред внутренней стороны и наружной стороны контейнера, и имеющая оптическую линзу как часть прозрачной подложки, так что свету, используемому для оптического наблюдения, измерения или возбуждения кантилевера, обеспечивается возможность схождения на задней поверхности кантилевера, в результате чего кантилевер является оптически наблюдаемым или измеряемым или оптически возбуждаемым через заднюю поверхность прозрачной подложки.
2. Зонд для зондового микроскопа с использованием прозрачной подложки по п.1, в котором передняя поверхность прозрачной подложки слегка наклонена по отношению к ее задней поверхности, чтобы предотвратить интерференцию между светом, отражаемым от передней поверхности прозрачной подложки, и светом, отражаемым от ее задней поверхности.
3. Зонд для зондового микроскопа с использованием прозрачной подложки по п.1, в котором прозрачная подложка также использована в качестве четвертьволновой пластинки.
4. Зонд для зондового микроскопа с использованием прозрачной подложки по п.1, в котором кантилевер имеет внутреннее напряжение, в результате чего зазор между кантилевером и прозрачной подложкой постепенно увеличивается от неподвижного участка кантилевера к свободному его концу.
5. Способ изготовления зонда для зондового микроскопа с использованием прозрачной подложки, содержащий этапы, при выполнении которых
(a) формируют кантилевер из тонкой пленки монокристаллического кремния КНД-подложки;
(b) соединяют заднюю поверхность КНД-подложки со стеклянной подложкой;
(c) удаляют технологическую пластину и скрытую оксидную пленку КНД-подложки с тем, чтобы образовать кантилевер на стеклянной подложке; и
(d) формируют наконечник зонда на свободном конце кантилевера путем осуществления жидкостного травления самого кантилевера.
6. Устройство зондового микроскопа, содержащее: зонд для зондового микроскопа с использованием прозрачной подложки по одному из пп.1-4, в котором деформация или вибрационная характеристика кантилевера, которая обусловлена взаимодействием с образцом, измеряется оптически через заднюю поверхность прозрачной подложки.
7. Устройство зондового микроскопа по п.6, в котором деформация или вибрационная характеристика кантилевера определяется по изменению интенсивности отражаемого света, вызванной оптической интерференцией, которая происходит между кантилевером и прозрачной подложкой.
8. Устройство зондового микроскопа по п.6, в котором для создания вибрации кантилевер облучается через заднюю поверхность прозрачной подложки светом, интенсивность которого изменяется с частотой, равной резонансной частоте кантилевера.
9. Устройство зондового микроскопа по п.6, в котором кантилевер облучается светом, имеющим постоянную интенсивность, через заднюю поверхность прозрачной подложки с тем, чтобы формировать самовозбуждающуюся вибрацию в кантилевере.
РИСУНКИ
MM4A – Досрочное прекращение действия патента СССР или патента Российской Федерации на изобретение из-за неуплаты в установленный срок пошлины за поддержание патента в силе
Дата прекращения действия патента: 07.08.2008
Извещение опубликовано: 27.07.2010 БИ: 21/2010
|